Розрахунок вагон-цистерни
1.
Вибір основних параметрів вагона
Визначення оптимальних параметрів
конструкції вагона являється першим етапом при проектуванні, тому саме
вірний вибір основних геометричних параметрів вагона впливає на основні
показники: тару вагона, об’єм кузова, вантажопідйомність, середнє статичне
навантаження, середнє динамічне навантаження, середнє погонне навантаження,
середній навантажувальний коефіцієнт тари та середнє
фактичне навантаження на вісь брутто.
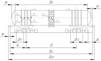
1.1 Розрахункова схема вагона і визначення
параметрів вагона по довжині
Керуючись досвідом конструкторів, при проектуванні
вагон-цистерн вибираю схему вагона у якого відстань по горизонталі між полюсом
днища і торцем кінцевої балки рами ∆3 = 0,015м; схематична
модель проектного вагону зображена на рисунку 1.1
Рисунок 1.1 – Розрахункова схема
вагон-цистерни
Довжина вагон-цистерни по осям зчеплення автозчепів
визначається за наступною формулою:
, (1.1)
де
- норма осьового навантаження;
- кількість осей;
- норма погонного
навантаження.
Довжина рами вагон-цистерни розраховується за
формулою:
, (1.2)
де
- виліт автозчепу.
Мінімально допустима внутрішня довжина котла
вагон-цистерни розраховується за наступною формулою:
, (1.3)
де
- відстань між зовнішньою лінією горизонтальної
проекції торцевої стіни і торцем кінцевої балки рами.
Мінімально можливий виліт днища визначається з виразу:
, (1.4)
де
- ширина габариту;
-
максимально можливе огородження на півширини кузова;
-
коефіцієнт вильоту днища.
максимально допустима база вагон-цистерни буде
обчислюватись за формулою:
, (1.5)
де
- номінальний діаметр колеса за вершинами
гребнів;
-
база двохосьового візка;
-
база чотиривісного візка;
-
відстань по горизонталі між гребнем зовнішнього колеса і торцем кінцевої балки
рами.
Мінімальна допустима база вагон-цистерни визначається
з наступного виразу:
, (1.6)
Для визначення оптимального значення бази
та відповідного їй
оптимального значення обмеження радіусу циліндричної частини котла
вагон-цистерни Еопт використовуємо програму GABARIT, в якій виконується розрахунок для десяти груп з
рівним інтервалом розрахункового діапазону в одинадцять значень, при умові поступового
збільшення мінімальної бази проектного вагона 2lmin на певний крок. В таблиці 1.1 наведені вхідні дані для розрахунку на ПК.
Результат розрахунку, графіки визначення оптимального
значення баз вагона та оптимального обмеження Еопт наведений
в додатку А.
Радіус циліндричної частини котла визначається за
формулою:
, (1.7)
де В0 – напівширина габариту;
Еопт - оптимальне значення обмеження радіусу циліндричної
частини котла;
-
технологічний допуск на ширину кузова;
-
висота виступаючих частин відносно внутрішньої лінії горизонтальної прекції
обшивки в і-му поперечному перетині.
Результат розрахунку основних параметрів вагону зводжу
до таблиці 1.2
Таблиця 1.1 – Вхідні дані для розрахунку в програмі GABARIT
|
Показник
|
Величина або найменування
|
Розмірність
|
|
Мінімальна допустима база вагон-цистерни
|
3,66
|
м
|
|
Максимально допустима база вагон-цистерни
|
4,024
|
м
|
|
Довжина рами вагон-цистерни
|
7,02
|
м
|
|
Габарит
|
1-Т
|
-
|
|
База двохосьового візка
|
1,85
|
м
|
|
База чотиривісного візка
|
3,2
|
м
|
|
Горизонтальне поперечне зміщення кузова відносно
колісної пари
|
3+28=31
|
мм
|
Таблиця 1.2 – Результати розрахунку параметрів вагон-цистерни
|
Параметр,
розмірність
|
Варіант
|
|
1
|
2
|
3
|
4
|
5
|
6
|
7
|
8
|
9
|
10
|
|
, м
|
3,66
|
3,66
|
3,66
|
3,66
|
3,66
|
3,66
|
3,66
|
3,66
|
3,66
|
3,66
|
|
, м
|
4,024
|
5,024
|
6,024
|
7,024
|
8,024
|
9,024
|
10,024
|
11,024
|
12,024
|
13,024
|
|
, м
|
4,024
|
5,024
|
6,024
|
7,024
|
8,024
|
9,024
|
10,024
|
11,024
|
12,024
|
13,024
|
|
, м
|
6,46
|
7,46
|
8,46
|
9,46
|
10,46
|
11,46
|
12,46
|
13,46
|
14,46
|
15,46
|
|
, м
|
7,02
|
8,02
|
9,02
|
10,02
|
11,02
|
12,02
|
13,02
|
14,02
|
15,02
|
16,02
|
|
, м
|
8,24
|
9,24
|
10,24
|
11,24
|
12,24
|
13,24
|
14,24
|
15,24
|
16,24
|
17,24
|
|
, мм
|
1560
|
1570
|
1570
|
1573
|
1580
|
1581
|
1583
|
1584
|
1590
|
1590
|
|
Еопт, мм
|
89,93
|
82,28
|
72,16
|
73,51
|
70,76
|
68,63
|
66,92
|
65,52
|
64,35
|
63,37
|
1.2 Визначення внутрішньої ширини вагона
Радіус циліндричної частини котла (показаний на рисунку 2.1) визначається за формулою:
, (1.7)
де В0 – напівширина габариту;
Еопт - оптимальне значення обмеження радіусу циліндричної частини
котла;
-
технологічний допуск на ширину кузова;
-
висота виступаючих частин відносно внутрішньої лінії горизонтальної проекції
обшивки в і-му поперечному перетині.
Рисунок 1.2
Величини обмежень
,
та
(поперечних зміщень вагон-цистерни при
вписуванні в криву розрахункового радіуса з урахуванням найбільш допустимих
розбігів і зношень деталей його ходових частин), визначаються по формулам
- обмеження
направляючих поперечних перетинів
вагон-цистерни:
, (1.8)
внутрішнє
обмеження
поперечних
перетинів вагон-цистерни, розташованих між його направляючими перетинами:
, (1.9)
зовнішнє обмеження
поперечних перетинів вагон-цистерни,
розташованих зовні його направляючих перетинів:
, (1.10)
де
- максимальна ширина колії в кривій
розрахункового радіусу;
-
мінімальна відстань зовнішніми гранями гранично зношених гребнів коліс;
-
горизонтальне поперечне зміщення рами візка відносно колісної пари;
-
горизонтальне поперечне зміщення котла відносно рами;
-
відстань від розглянутого поперечного перетину вагон-цистерни до його направляючого
перетину;
-
величина додаткового поперечного зміщення в кривих ділянках колії
розрахункового радіусу візкового рухомого складу;
-
коефіцієнт розмірності, що залежить від величини розрахункового радіусу кривої;
-
Величина, на яку допускається вихід рухомого складу, що проектується по
габаритам Т, 1 – Т, Тц, Тпр та 1 – ВМ (в верхній частині
за окреслення цих габаритів в кривих ділянках колії
=250 м ;
-
Величина, на яку дозволяється вихід рухомого складу, що проектується по
габаритам 0 – ВМ, 02 – ВМ, 03 – ВМ та 1 – ВМ (в
нижній частині) за обриси цих габаритів в кривих ділянках колії
=250 м
-
Додаткові обмеження внутрішніх перетинів рухомого складу, що мають місце лише у
значно подовженого рухомого складу, що визначаються з умови вписування в криву
радіусу
=150 м;
-
Додаткові обмеження зовнішніх перетинів рухомого складу, що мають місце лише у
значно подовженого рухомого складу, що визначаються з умови вписування в криву
радіусу
=150 м.
Значення коефіцієнтів
,
,
,
, що входять до формул (1.8), (1.9) та (1.10)
потрібно приймати згідно табл. 1.3 :
Таблиця 1.3
|
Габарит
|
Точки габариту
|
Значення коефіцієнтів
|
|
k, мм
|
k1, мм
|
k1, мм/м2
|
k3, мм
|
|
Т, Тц, Тпр, 1-Т
|
Усі точки
|
0
|
0,625 p2
|
2,5
|
180
|
|
1-ВМ
|
1-11
|
|
Інші точки
|
25
|
0,5 p2
|
2
|
0
|
|
0-ВМ
|
1-11
|
75
|
|
Інші точки
|
25
|
|
02-ВМ
|
1-4
|
75
|
|
Інші точки
|
25
|
|
03-ВМ
|
1-5
|
75
|
|
Інші точки
|
25
|
В табл. 1.3 за базу візка
приймають:
у трьохосних візків — відстань між крайніми осями;
у рухомого складу з зчленованими візками
, (1.11)
де
- база ходового візка;
- відстань між опорними точками першої,
другої, третьої та
- ої з’єднувальних балок.
мм
3,803*10-3мм
мм
Оскільки дані величин обмежень дорівнюють від’ємним
значенням, то їх значення не враховуються, а величини обмежень розраховуються з
умови вписування в габарит на прямій ділянці колії по наступним формулам:
(1.12)
мм
(1.13)
мм
де
- максимальна ширина колії на прямій ділянці.
1.3 Обчислення основних геометричних параметрів
вагона
Розрахунок основних технічних параметрів
вагон-цистерни виконую після машинного обчислення на ПК програмою «Розрахунок
ТЕП вагонів» в середовищі Excel та визначення оптимального варіанту вагона, що
проектується. Результати розрахунку з графіком залежності основних
техніко-економічних показників від напівдовжини циліндричної частини котла
вагон-цистерни наведені в додатку Б.
До основних розрахункових технічних параметрів
вагон-цистерни належать:
Тара циліндричної частини котла:
, (1.14)
де
- погонна маса хребтової балки рами;
- усереднена товщина
оболонки циліндра котла.
Маса днища:
, (1.15)
, (1.16)
, (1.17)
, (1.18)
, (1.19)
, (1.20)
де
- коефіцієнт вильоту днища.

Маса хребтової балки визначається наступним чином:
, (1.21)
де
- погонна маса хребтової балки рами.
Маса котла визначається як:
, (1.22)
Тара вагон-цистерни обчислюється за формулою:
, (1.23)
де
- маса уніфікованих елементів вагона;
-
маса додаткових елементів кузова.
Об’єм котла вагон-цистерни розраховується за формулою:
(1.24)
м3
Вантажопідйомність вагон-цистерни визначається за
формулою:
(1.25)
1.4 Визначення
основних техніко-економічних параметрів вагона
Середнє статичне навантаження визначається за
формулою:
, (1.26)
де
- доля i-го
вантажу в загальному об’ємі перевезень.
Знаходимо статичне навантаження
за наступною формулою:
, (1.27)
, (1.28)
де
- коефіцієнт заповнення котла цистерни;
-
Питомий об’єм i – го вантажу.
,
,
Оскільки
,
,
,
,
, то
,
,
,
,
.

Середнє динамічне навантаження вираховується за
формулою:
, (1.29)
де
- дальність перевезень i – го вантажу.
Середня дальність перевезення вантажу розраховується
за формулою:
, (1.30)
Середня дальність вантажного рейсу становитиме:
, (1.31)

Середнє погонне навантаження обчислюється за формулою:
, (1.32)
т/м
Середній навантажувальний коефіцієнт тари
розраховується за формулою:
, (1.33)
Середнє фактичне навантаження на вісь брутто
визначається за формулою:
, (1.34)
1.5 Аналіз
результатів обчислення основних техніко-економічних параметрів
Враховуючи результати розрахунку, графік залежності
техніко-економічних показників вагон-цистерни від напівдовжини циліндричної
частини котла, уніфікацію деяких деталей обираю наступні параметри
вагон-цистерни та порівнюю їх з відповідними параметрами вагон прототипа, дані
для порівняння зводжу до таблиці 1.4.
Таблиця 1.4
|
Параметр, розмірність
|
Вагон-прототип
|
Проектний вагон
|
|
Вантажопідйомність, т
|
68
|
61,45
|
|
Тара (маса),т
|
24,8
|
24,193
|
|
Навантаження
|
|
|
|
- від осі на рейку, кН
|
229
|
229
|
|
- погонне, кН/м
|
75,66
|
75,66
|
|
Об’єм котла цистерни, м3
|
85,6
|
|
Довжина, мм
|
|
|
|
- по осям зчеплення автозчепів
|
12020
|
12260
|
|
- по кінцевим балкам рами
|
11480
|
11400
|
|
База вагона, мм
|
7800
|
8820
|
|
Габарит
|
1-ВМ
|
1-Т
|
|
Внутрішній діаметр котла цистерни, мм
|
3000
|
3000
|
2.
Технічне описання конструкції вагона
2.1 Конструкція
кузова і рами
Спроектований
мною вагон це - вагон-цистерна загального призначення для перевезення нафтопродуктів.
Чотирьохвісна цистерна вантажопідємністю 66 тонн має котел з корисним об’ємом 76,2 м3 та загальним 77.57 м3. Внутрішній діаметр котла рівний 3000мм. Товщина
броньового листа складає 12 мм, верхніх та бокових - 9мм, днищ – 10 мм. Всі листи з’єднані стиковими швами. Тара цистерни складає 25,65 т.
Кріплення котла на рамі виконано в середині та по
кінцевим його частинам. Фасонні лапи приварені до середньої частини броньового
листа з’єднані болтами, які приточені до отворів з опорними планками, котрі
приварені до хребтової балки. Такий зв’язок запобігає зсуву котла відносно
рами. Болтлве з’єднання передбачене для зручності ремонту, коли необхідно
відділити котел від рами.
По кінцям котел опирається на дерев’яні бруски, які
закріплені за допомогою жолобів, болтів з гайками, діафрагм на шкворневій та
хребтовій балках рами.
До крайніх опор котел притягнутий стягуючими хомутами,
призначеними для запобігання вертикальних та поперечних переміщень котла
відносно рами. Довжину стягуючих хомутів регулюють винтовими муфтами. Натягом
хомутів бажають запобігти вібрації котлаю.
Для забезпечення міцності місць опирання котла
необхідно рівномірне розподілення навантаженняна, для цього збільшуємо площу
опори та кут обхвату опорою циліндричної частини котла. Особливістю конструкції
рами даної цистерни являється те, що поздовжні балки майже не беруть участь в
сприйманні основних вертикальних навантажень. Це пояснюється великою жорсткістю
котла в порівнянні з жорсткістю поздовжніх балок, внаслідок чого майже все
навантаження від котла передається на крайні опори, а від них на візки.
Шкворневі балки завантажені вертикальними силами і при
прикладенні до їх кінців зусиль, необхідних, наприклад, для підйому котла, в
цих балках виникають значні напруження. Саме тому в даному курсовому проекті
буде проведений розрухунок її на міцність.
Хребтова балка рами піддається дії в основному
поздовжніх зусиль, саме для забезпечення міцності та покращення технології
виготовлення вона виконана із двох підсилени “Z”
подібних профілів висотою 310 мм.
Оскільки основні навантаження сприймаються переважно
хребтовою балкою, то в рамі цистерни відсутні проміжні поперечні балки та
оболегшені поздовжні та кінцеві балки.
Цистерна обладнана зовнішніми та внутрішніми драбинами
та площадкою біля люка, універсальним зливним пристроєм та запобіжно-впускним
клапаном. Для забезпечення повного зливу вантажу броньовий лист вигнутий так,
що утворюється ухил до зливного пристрою.
2.2 Ходові частини
В мною спроектованому вагоні використовується візок
моделі 18-100, котрий розрахований на конструктивну швидкість руху 120 км/год. Він складається з двох колісних пар з буксовими вузлами, двох литих
рам, надресорної балки, двох комплектів центрального підвішування з фрикційними
гасниками коливань та гальмівної важілевої передачі.
Бокова рама відлита з низьколегованої сталі марки
20ФЛ. Вона має об’єднавчі пояси та колонки, які утворюють в середній частині
вікно для розміщення комплекту центрального ресорного підвішування, а по кінцям
буксові вікна.
Надресорна балка лита з сталі 20ФЛ має порожнинну
конструкцію замкнутого поперечного перерізу і форму, близьку до брусу рівного
опору згину. Вона відлита разом із п’ятником, який служить опорою кузова та
опорами для ковзунів. На кожній з двох опор розміщені ковпаки ковзунів з
регулюючими прокладками
Ресорне підвішування складається з двох комплектів,
кожний із яких має сім двохрядний пружин та два фрикційні клинові гасники коливань.
Кожна двохрядна пружина складається з зовнішньої та внутрішньої пружин, що
мають різну завивку – праву та ліву.
2.3 Автозчепний
пристрій
На даному проектному вагоні встановлений автозчепний
пристрій
СА-3 (рисунок 2.1), який забезпечує
автоматичне зчеплення рухомого складу без участі людини. Розчеплення
проводиться без заходу людини в міжвагоний простір, що створює безпечні умови
праці обслуговуючому персоналу. При цьому до розведення рухомого складу
зберігається розщеплене положення деталей механізму автозчепу, а після
розведення механізми автоматично приводяться до готовності зчеплення. В випадку
помилкового розчеплення передбачена можливість відновлення зчеплення без
розведення рухомого складу. Передбачено також положення деталей механізму “на буфер”,
при якому автозчепи не зчіпляються.
Автозчепний пристрій вагону складається із корпусу
автозчепу з деталями механізму, розчіпного приводу, ударно-центруючого прибору,
упряжного пристрою з поглинальним апаратом та опорних частин. Основні частини
автозчепного пристрою розміщені в консольній частині хребтової балки рами
кузова вагону. Корпус автозчепу з деталями механізму встановлений в вікно
ударної розетки і своїм хвостовиком з’єднаний з тяговим хомутом за допомогою
клина, котрий вставляється знизу і опирається на болти, закріплені запірними
шайбами та гайками.
Розчіпний привід закріплений на кінцевій балці рами.
Він складається із двохплечного важіля, кронштейну з поличкою, державки та
ціпка для з’єднання важіля з приводом механізму автозчепу.
Ударно-центруючий пристрій складається із ударної
розетки, закріпленої в середній частині до кінцевої балки, двох маятникових
підвісок і центруючої балочки на яку опирається корпус автозчепу.
Упряжний пристрій включає в себе тяговий хомут, клин,
упорну плиту та два болта з планкою, запірними шайбами і шплінтом. В середині
тягового хомута находиться поглинальний апарат, котрий розміщений між задніми
упорами та упорною плитою, взаємодіючою з передніми упорами. Задні упори
об’єднані між собою перемичкою і прикріплені до вертикальних стінок хребтової
балки. Передні упори об’єднані між собою ударною розетку і також жорстко
прикріплені к вертикальним стінкам хребтової балки. Упряжний пристрій
запобігається від падіння підтримальною планкою, прикріпленою знизу до горизонтальних
полок хребтової балки вісьмома болтами. В середині корпусу автозчепу
розміщуються деталі механізму, які служать для виконання процесів зчеплення і
розчеплення рухомого складую.
Рисунок 2.1 – Автозчепний пристрій СА-3: 1- задні
упорні кутники; 2 – фіксуючий кронштейн; 3 – розчіпний ричав; 4 – підтримуюча
планка; 5 – поглинальний апарат; 6 – тяговий хомут; 7 – упорна плита; 8 –
тяговий клин; 9 – ударна розетка; 10 – державка; 11 – маятникові болти; 12 –
центруючи балочка; 13 – головка автозчепу; 14 – ціпок розчіпного приводу.
2.4 Гальмівне
обладнання
Гальмівним обладнанням називаються пристрої, що
дозволяють створювати опір руху вагону, тобто забезпечувати регулювання
швидкості руху та зупинку вагона.
Гальмівне обладнання вагон-цистерни встановлено на
кронштейнах рами і складається з гальмівного циліндра №188Б і
повітророзподілювача №483, запасного резервуару Р7–78, автоматичного регулятора
гальмівної важілевої передачі №574Б, важелів, тяг, повітропроводу,
розподільного клапану та стояночного гальма. На рамі кріплять також підтримуючі
і запобіжні скоби. Головний повітропровід обладнаний кінцевими клапанами і
з’єднувальними рукавами типу Р-17Б. Для регулювання важілево-гальмівної передачі
використовують важільний привід безкулісного регулятора, який включає в себе
важіль-упор, регулюючий гвинт, розпірку.
Відрегульована важілево-гальмівна передача забезпечує
зазор між гальмівною колодкою і колесом в межах 5-8 мм в не гальмуючому стані і вихід штоку гальмівного циліндру в межах 50–125 мм в гальмуючому положенні.
Стояночне гальмо призначене для гальмування
вагон-цистерни при завантаженні і розвантаженні. Він складається з тяг, з’єднаних
з горизонтальними важелями автогальма, черв’ячного сектора, черв’ячного вала,
зі штурвалом і ручки-фіксатора. Стояночне гальмо приводиться в робоче (ліве) і
неробоче (праве) положення переміщенням валу зі штурвалом. Фіксує черв’ячний
вал в робоче чи неробоче положення ручка фіксатора, вагон-цистерну гальмується
обертом штурвала по годинниковій стрілці.
3. Розрахунок осі колісної пари умовним методом
При спрощеному методі розрахунку осі колісної пари на
міцність ось роздивляються в статичному стані і на неї діють такі сили: вертикальне,
горизонтальне і реакція від рейки. Схема наведена на рисунку 3.1. Розрахунки
зроблені за методикою викладеною в
.
Рисунок 3.1- Схема дії сил при розрахунку колісної
пари при умовному методі
Для розрахунку приймають наступні значення:
-
відстань між точками прикладання навантаження на шийку осі,
=2036 мм;
-
відстань між кругами кочення,
=1580 мм;
-
довжина шийки вісі РУ1Ш-950,
= 176 мм;
-
радіус кола катання,
= 475 мм;
-
довжина підматичинної частини вісі,
= 228 мм;
-
допустимий знос по довжині шийки,
= 0 мм.
3.1 Визначаємо
вертикальне навантаження
( 3.1 )
де
- маса вагону брутто,
= 86,7 т;
-
маса колісної пари (без букс),
= 1,2 т;
=
9,81
.
кН.
3.2 Вертикаль
навантаження
(
3.2 )
кН.
3.3 Визначаємо
горизонтальне навантаження
(
3.3 )
кН.
3.4 Вертикальне
навантаження, яке діє на шийку осі
( 3.4 )
( 3.5 )
де
- відстань від осьової лінії колісної пари до
точки прикладання навантаження,
= 1,45 м.
кН,
кН.
3.5 Визначаємо
реакції рейки
( 3.6 )
( 3.7 )
кН,
кН.
3.6
Визначаємо моменти в небезпечних перерізах
( 3.8 )
кНм.
( 3.9 )
кНм.
( 3.10 )
кНм.
3.7
Визначаємо діаметри шийки осі (
), підматичинної частини (
) і середньої частини осі (
)
( 3.11 )
де
- припустиме навантаження для кожного перерізу,
МПа (
= 120 МПа,
= 165 МПа,
= 155 МПа).
м = 110 мм,
м = 180 мм,
м = 150 мм.
Отримані значення розрахованих діаметрів осі і
фактичні діаметри прийнятої осі приведені в таблиці 3.1.
Таблиця 3.1 – порівняння
розрахункових і стандартних діаметрів осі
|
Діаметри, мм
|
Розрахунковий
|
Стандартний
|
|
Шийки ( )
|
110
|
130
|
|
Підматочинної частини ( )
|
180
|
194
|
|
Середньої частини ( )
|
150
|
165
|
Отже даний тип осі задовольняє умовам міцності і буде
використаний у конструюванні вагону.
4. Розрахунок
підшипника кочення на довговічність
Розрахунок підшипника кочення на довговічність полягає
у визначенні терміну служби, виміряного кілометрами пробігу, за час якого не
повинні з’явитися ознаки утоми метала роликів і доріжки кочення не менше, ніж
90% підшипників.
Розрахункова довговічність роликових підшипників
типової букси повинна бути для вантажних вагонів не менше 1,5 млн.км. Розрахунки
зроблені за методикою викладеною в
.
4.1 Визначаємо
діючі навантаження на вісь за формулою
( 4.1 )
кН,
Для роликового підшипника ( циліндричного на гарячій
посадці ) з діаметром роликів d = 36 мм, довжині ролика l
= 58 мм, кількості роликів z = 13.
Відношення l/d
дорівнює
.
4.2 Визначаємо
довговічність
( 4.2 )
.
4.4 Визначаємо
розрахункове навантаження
(
4.3 )
кН.
4.5 Визначаємо
кількість обертів підшипника до руйнування
( 4.4 )
млн.об.
4.6 Визначаємо
пробіг
( 4.5 )
де
- при діаметрі колеса 950 мм, (
=0,9 ).
млн.км.
В результаті розрахунків ми отримали довговічність
підшипника, що перевищує мінімально допустиму для вантажних вагонів
(Lmin=1,5 млн.км.),тому в буксових вузлах можна
використовувати підшипники марок : 42726Л , ЦКБ-1521, 42726Л1, 42726Е.[5]
5.
Розрахунок пружини
ресорного підвішування на міцність
Розрахуємо на міцність двохрядну пружину центрального
підвішування візка вантажного вагона. Геометричні характеристики зовнішньої і
внутрішньої пружини приведені в таблиці 5.1.
Таблиця 5.1. Розрахунки зроблені за методикою викладеною в
[1].
|
Параметр пружини
|
Позначення
|
Значення
|
|
Зовнішня
|
Внутрішня
|
|
Діаметр прутка, мм
|
d
|
30
|
21
|
|
Середній діаметр, мм
|
|
170
|
111
|
|
Число робочих витків
|
n
|
4,2
|
6,45
|
|
Висота у вільному стані, мм
|
|
249
|
249
|
|
Направлення навивки
|
-
|
праве
|
ліве
|
|
Індекс пружини
|
m
|
5,7
|
5,95
|
5.1 Жорсткість
пружини
( 5.1 )
де
- діаметр витку пружини, таблицю 5.1;
-
коефіцієнт який залежить від індексу пружини, (
=1);
-
середній діаметр пружини, див. таблицю 5.1;
-
кількість робочих витків пружини, таблицю 5.1;
.
5.2 Жорсткість
двохрядної пружини
(
5.2 )
5.3 Навантаження,
що приходиться на одну двохрядну пружину
( 5.3 )
де
- маса необресорених частин,
=71,22 кН;
-
кількість одно іменних паралельно навантажених частин вагона,
= 28.
кН.
5.4 Коефіцієнт, що
залежить від осності візка
(
5.4 )
де n- кількість осей у візку, n=2.
.
5.5 Середнє
значення коефіцієнта вертикальної динаміки

( 5.5 )
де
- коефіцієнт,
= 0,1;
- конструкційна швидкість вагона,
= 33
;
- статичний прогин під вагою вагона брутто,
= 0,05 м.
.
5.6 Коефіцієнт
вертикальної динаміки
( 5.6 )
де
- параметр розподілення,
= 1,13;
- довірювальна імовірність,
=0,95.
5.5 Еквівалентне
навантаження
( 5.7 )
кН.
5.6 Навантаження,
що діє на одну з двохрядних пружин
(
5.8 )
(
5.9 )
кН,
кН.
5.7 Припустимі
напруження пружини
( 5.10 )
де
- коефіцієнт враховуючий кривизну витків,
( 5.11 )
( 5.12 )
,
;
МПа,
МПа.
Отже пружини мають значення менше допустимих напружень
МПа для сталей 55C2,55С2А і 60С2 [5]
6.
Розрахунок елементів
кузова на міцність
6.1
Розрахунок шворневої балки
В даному розділі всі розрахунки проводжу згідно
методичних вказівок [4].
Особливістю конструкції рами даної цистерни являється
те, що поздовжні балки майже не беруть участь в сприйманні основних
вертикальних навантажень. Це пояснюється великою жорсткістю котла в порівнянні
з жорсткістю поздовжніх балок, внаслідок чого майже все навантаження від котла
передається на крайні опори, а від них на візки. Шворневі балки завантажені
вертикальними силами і при прикладенні до їх кінців зусиль, необхідних,
наприклад, для підйому котла, в цих балках виникають значні напруження. Саме
тому в проводимо розрахунок її на міцність.
Найбільш невдалими варіантами завантаження шворневої
балки являється: рух цистерни з максимальною швидкістю при різкому гальмуванні
її, а також піднімання завантаженої цистерни домкратами, підведеними під кінці
шворневих балок.
Експлуатаційний режим навантаження:
Рух з мінімальної швидкістю при торганні поїзду з
місця, осаджування або гальмування поїзду, при малих швидкостях руху. В цьому
випадку котел з рамою опирається на підп’ятник візка і схема навантаження
шворневої балки буде мати вигляд:
Рисунок 3.1 – Схема навантаження шкворневої балки
Навантаження на шворневу балку становить:
а) від ваги шворневої балки
(6.1)
т/м
б) від ваги котла з вантажем
, (6.2)
де Gш – маса шворневої балки;
Gк – маса котла з всіма закріпленими на
ньому вузлами;
Gж – маса вантажу;
- напівширина рами по шворневим балкам;
-
половина проекції опори котла.
в) від сили інерції при екстреному гальмуванні
Сила інерції котла з вантажом при І режимі
навантаження складе:
(6.3)
Додаткове вертикальне навантаження на шворневу балку
при цьому буде становити:
, (6.4)
де
– поздовжня сила розтягу, стиснення;
-
маса вагона брутто;
-
база цистерни;
-
відстань від поздовжньої осі котла до осі автозчепу.
Інтенсивність
- рівномірно розподіленого навантаження на
шворневу балку становитиме.
(6.5)
Згинальний момент в розрахунковому перерізі на
відстані х від середини шворневої балки.
(6.6)
Розрахуємо значення згинального моменту в характерних
перерізах (х1=1415, х2=1350, х3=520, х4=180,
х5=0).
Найбільші напруження виникатимуть в п’ятому перерізі і
становитимуть:
, (6.7)
де W – момент опору волокон перерізу шкворневої балки
Ремонтний режим навантаження шворневої балки:
В даному випадку навантаження домкрату прикладаються
на відстані
300 мм від вертикальної вісі поперечного перерізу шворневої балки, середина під
домкратної планки зміщена від осі шворневої балки в сторону поздовжньої
бокової. Розрахункова схема наведена на рис. 3.2
Рисунок 3.2 – Розрахункова схема навантаження
Визначаємо навантаження які діють на балку:
а) від ваги шворневої балки
(6.8)
т/м
б) від ваги котла з вантажем
, (6.9)
де Gш – маса шворневої балки;
Gк – маса котла з всіма закріпленими на
ньому вузлами;
Gж – маса вантажу;
-
напівширина рами по шворневим балкам;
-
половина проекції опори котла.
Реакції опор (домкратів) становитиме:
, (6.10)
де
– маса цистерни без візків.
Згинальний момент в розрахункових перерізах
становитиме:
(6.11)
Напруження від згинального моменту становитимуть:
(6.12)
Ексцентричне прикладання навантаження домкрату до
кінця шворневої балки створює крутний момент. Жорстке з’єднання її з хребтовою
балкою призводить до появи в ній напружень від стиснутого кручення. Зазвичай
таке кручення враховується лише при крученні брусів з відкритим перерізом і
досить великими полками. Зважаючи на те, що шворнева балка
має замкнутий профіль стиснення не враховується і дотичні напруження будемо
визначати за формулами вільного кручення.
З метою спрощення розрахунків та забезпечення
додаткового запасу міцності при обрахунках моменту опору враховуємо лише
прямокутна коробчата частина перерізу шкворневої балки зображеної на рис. 3.3.
Рисунок 3.3 – Схема перерізу шворневої балки
Крутний момент від сили Rb, прикладеної на відстані 30 см від середини піддомкратної планки
дорівнює:
Мк= Rb*30 (6.13)
Мк= 19*0,3=55,917кН/м
Дотичні напруження складають:
(6.14)
Тоді, еквівалентне навантаження в розрахунковому
перерізі дорівнюватиме:
(6.15)
Оскільки
для О9Г2С
– міцність шворневої балки забезпечена.
6.2 Розрахунок котла на внутрішній тиск
При розрахунку котла цистерни на внутрішній тиск
використовуємо формули безмоментної теорії оболонок, визначимо напруження в
металі в різних частинах котла, керуючись розрахунковою схемою котла цистерни:
Рисунок 6.1 – Розрахункова схема котла цистерни
Розрахунковий тиск в середині котла визначається як
сума тисків парів рідини і тиску, утвореним при торганні з місця або при
гальмуванні:
Р=Рр+Рд , (6.16)
де Рр – тиск парів рідини (0,15МПа);
Рд – тиск рідини, виникаючий при торганні з місця або в
процесі гальмування поїзду при максимальній допустимій швидкості (ІІІ режим)
Величина Рд визначається по формулі:
,
(3.17)
де Тін – сила інерції рідини;
R1
– внутрішній радіус котла цистерни.
Сила інерції рідини при навантаженні цистерни по І
режиму може бути визначена з формули:
, (6.18)
де Gван – масса вантажу в котлі цистерни;
Qбр – масса цистерни брутто.
Розрахунковий тиск в середині котла становить:
Р=0,25+0,15=0,399МПа
Напруження в оболочках
котрі не підлягають
згину називаються мембранними і можуть бути визначені по наступним формулам:
а) в поперечному перетині
(6.19)
б) в поздовжньому перетині
, (6.20)
де
- товщина стінки циліндричної частини котла.
в) напруження в оболонці
сферичного днища
, (6.21)
де
- товщина днища;
R2 – радіус сферичної
частини днища.
г) в місцях з’єднання циліндричної частини котла до
днища виникають додаткові напруження, величину яких можна вирахувати за
емпіричними формулами С.В. Вершинского. Оскільки
, то напруження будуть розраховуватися за
формулою:
(6.22)
Міцність котла цистерни забезпечена, тому що
(
,
для
сталі О9Г2С ) за І та ІІІ
розрахунковими режимами.