Технологический расчет комплексного автотранспортного предприятия на 180 автомобилей ПАЗ - 3206

  • Вид работы:
    Курсовая работа (т)
  • Предмет:
    Транспорт, грузоперевозки
  • Язык:
    Русский
    ,
    Формат файла:
    MS Word
    2,50 Mb
  • Опубликовано:
    2010-09-18
Вы можете узнать стоимость помощи в написании студенческой работы.
Помощь в написании работы, которую точно примут!

Технологический расчет комплексного автотранспортного предприятия на 180 автомобилей ПАЗ - 3206

Белорусский национальный технический университет

Автотракторный факультет

Кафедра "Коммерческая деятельность и бухгалтерский учет на транспорте"





Курсовая работа

по дисциплине: "Производственные технологии"

Тема: "Технологический расчет комплексного автотранспортного предприятия на 180 автомобилей ПАЗ - 3206"



Исполнитель:

ст. 2 курса гр. 101954

Водичева И. В.

Руководитель: к. т. н., доцент

Флерко И. М.



Минск 2008

Содержание

Введение

1. Назначение и структура проектируемого предприятия

2. Технологический расчет предприятия

2.1 Расчет производственной программы по техническому обслуживанию и ремонту автомобилей

2.2 Расчет годовой трудоемкости работ по техническому обслуживанию, ремонту и диагностированию автомобилей

2.3 Расчет трудоемкости вспомогательных и подсобных работ

2.4 Распределение трудоемкости текущего ремонта по видам работ

2.5 Расчет численности производственных рабочих

2.6 Расчет численности водителей

2.7 Определение численности ИТР и служащих

2.8 Расчет линий и постов технического обслуживания, диагностирования и текущего ремонта

2.9 Расчет площадей производственных помещений

2.10 Расчет площадей складских помещений

2.11 Расчет площадей административно- бытовых помещений

3. Техническое обслуживание системы охлаждения автомобиля ПАЗ-3206

3.1 Назначение, устройство и принцип работы системы охлаждения автомобиля ПАЗ-3206

3.2 Неисправности системы охлаждения и их влияние на работу автомобиля

3.3 Оборудование, применяемое при диагностировании, техническом обслуживании и ремонте системы охлаждения автомобиля ПАЗ-3206

Заключение

Список использованных источников

Введение

Повышение производительности, эффективности использования подвижного состава автотранспорта в значительной степени зависит от уровня развития и условий функционирования производственно-технической базы (ПТБ). Предприятий автотранспорта, основной задачей которой является обеспечение требуемого уровня технической готовности подвижного состава. Уровень развития ПТБ существенно влияет на показатели работы автотранспорта: повышается коэффициент технической готовности, уменьшаются расходы на техобслуживание и текущий ремонт автомобилей в 1 единицу пробега.

Анализ состояния ПТБ предприятий автотранспорта показывает, что ее состояние во многих случаях не соответствует нормативному уровню: низок уровень обеспеченности АТП производственными площадями, уровень механизации технологических процессов ТО и ремонта. ПТБ автотранспортных предприятий в своем развитии отстает от требований, определяемых изменениями в структуре парка подвижного состава.

В решении проблемы улучшения ПТБ, приведения ее в соответствие с потребностями динамично развивающегося автотранспорта важное место занимают вопросы совершенствования проектирования предприятий. Проектирование должно обеспечивать высокий технический уровень и экономическая эффективность проектируемых объектов, притом не на сегодняшний день, а к моменту ввода их в действие.

Транспорт перевозит сырье, топливо, стройматериалы и другие грузы и таким образом обеспечивает производственную деятельность всех предприятий и организаций и доставляет их продукцию потребителям. При этом продукция одних предприятий может служить сырьем для других. Так возникают производственные связи между отдельными предприятиями и целыми отраслями, осуществляемые при непременном участии транспорта.

Основной задачей транспорта является более полное и своевременное удовлетворение потребностей народного хозяйства и населения в перевозках, ускорение доставки грузов и передвижения пассажиров. Транспорт активно воздействует на весь процесс расширенного воспроизводства и особенно на продолжительность воспроизводственного цикла, на формирование запасов сырья, топлива и продукции, емкость складов, объем товаров, находящихся в процессе перемещения и т.д. Таким образом в настоящее время транспорт решает сложные и крупномасштабные задачи, способствуя экономическому и социальному прогрессу общества.

Значительная роль в транспортной системе принадлежит автомобильному транспорту. По темпам развития он опережал и опережает все другие виды транспорта. В настоящее время в наиболее развитых странах 75-80% от всего объема перевозок грузов и пассажиров выполняется автомобильным транспортом. Это обусловлено следующими преимуществами:

1.   Возможность доставки грузов или пассажиров непосредственно от пункта отправления до пункта назначения, что сокращает время доставки, обеспечивает сохранность грузов и удобство пассажиров.

2.   Автотранспорт начинает и завершает перевозки, осуществляемые другими видами транспорта.

3.   Большая экономичность при перевозке грузов на небольшие расстояния (до 400 км).

4.   Простая и доступная в любых климатических и географических условиях организация техобслуживания и ремонта автомобилей.

5.   Возможность доставки грузов небольшими партиями, что уменьшает складские запасы и следовательно потребность в складских помещениях.

Развитие автотранспорта сопровождается и негативными последствиями: он является одним из крупнейших загрязнителей окружающей среды. Его доля в суммарных выбросах загрязняющих веществ в атмосферу всеми техногенными источниками достигает около 45%.

Величина экологического ущерба от функционирования автотранспорта достигает 1,5-2% от ВВП и продолжает возрастать.

Целью данной курсовой работы является технологический расчет комплексного автотранспортного предприятия на 180 автомобилей ПАЗ-3206. При этом решаются следующие задачи:

1.   Расчет производственной программы и трудоемкости работ по их видам.

2.   Расчет численности работающих.

3.   Расчет линий и постов для техобслуживания, диагностирования и ремонта.

4.   Расчет площадей помещений автотранспортного предприятия.

Кроме того, в соответствие с заданием проектирования рассматриваются вопросы техобслуживания системы охлаждения.

1. Назначение и структура проектируемого предприятия

Предприятия автотранспорта подразделяются на: автотранспортные предприятия (обеспечивают перевозку грузов или пассажиров, а также работоспособность подвижного состава в процессе его эксплуатации), автообслуживающие предприятия (обеспечивающие производственные функции по ТО и ремонту автомобилей, могут временно хранить автомобили, заправлять их эксплуатационными материалами), авторемонтные предприятия (обеспечивающие восстановление полностью или частично утраченной работоспособности подвижного состава).

Автотранспортные предприятия могут быть специализированными по видам перевозок, смешанными, специальными.

По принадлежности они подразделяются на предприятия общего пользования, агропромышленного комплекса, ведомственные, колхозов и совхозов.

По организации производственной деятельности они делятся на

1. комплексные, осуществляющие функции перевозочного процесса, хранения, ТО и ремонта подвижного состава

2. кооперированные, то есть такие предприятия, которые входят в состав более крупных формирований (автокомбината, автообъединения).

Автообслуживающие предприятия характеризуются количеством постов для ТО и ремонта и специализируются на выполнении лишь функций по обеспечению работоспособного состояния тех автомобилей, которые закреплены за ними. К ним относятся:

1. предприятия централизованного технического обслуживания (ПЦТО). ПЦТО предназначены для выполнения сложного и трудоемкого ремонта подвижного состава, который принадлежит мелким АТП, не имеющим своей развитой производственной базы.

2. базы централизованного технического обслуживания (БЦТО). БЦТО предназначены для централизованного систематического выполнения сложных видов периодического технического обслуживания и крупного текущего ремонта подвижного состава, принадлежащего мелким АТП и другим автохозяйствам, расположенным в районе тяготения базы. На базах может быть организован централизованный ремонт отдельных механизмов, узлов, агрегатов и приборов автомобилей, а также централизованная техническая помощь на линии.

3. производственно-технические комбинаты (ПТК). ПТК предназначен для централизованного обслуживания автомобилей семейства КамАЗ и ремонта их агрегатов и других составных частей, то есть это тоже автообслуживающее предприятие, находящееся в подчинении территориального объединения автомобильного транспорта.

4. станции технического обслуживания (СТО). СТО предназначены для обеспечения работоспособности легковых автомобилей индивидуальных владельцев. Кроме того, они занимаются продажей автомобилей, осуществляют снабжение запчастями, эксплуатационными материалами и другое.

5. автозаправочные станции (АЗС). АЗС служат для снабжения автомобилей эксплуатационными материалами и являются торговыми предприятиями. На АЗС заправляют автомобили топливом, дозаправляют маслом, доливают воду в радиатор и подкачивают шины воздухом. Кроме того, на АЗС обычно продают различные смазочные материалы, тормозную и амортизаторную жидкости, мелкие автомобильные детали и принадлежности. АЗС, как и СТО, подразделяются на городские и придорожные и отличаются друг от друга количеством заправок в сутки.

6. другие.

Авторемонтные предприятия предназначены для восстановления полнокомплектного автомобиля или отдельных агрегатов. К ним относятся авторемонтные мастерские, мастерские или заводы по ремонту шин, аккумуляторов, электротехнического оборудования автомобиля и другое. Их главное назначение состоит в обеспечении капитального отремонтированного автомобиля или агрегата моторесурсом, который был не ниже 80% моторесурса новых базовых изделий.

Управление автотранспортным предприятием складывается из следующих функций: общее руководство, технико-экономическое планирование, организация труда и заработной платы, бухгалтерский учет и финансовая деятельность, материально-техническое снабжение, комплектование и подготовка кадров, общее делопроизводство и хозяйственное обслуживание, эксплуатационная, производственно-техническая и контрольно-ревизорская службы.

В целях совершенствования организации и структуры управления технической службой на современных крупных АТП внедряется централизованная система управления процессами ТО и ТР. Централизованная система управления производством базируется на технологическом принципе, сущность которого заключается в том, что в основе формирования производственных подразделений АТП лежат законченные технологические процессы технических воздействия на подвижной состав. Управление производственными процессами осуществляется центром управления производством (ЦУП) предприятия. Подразделения, выполняющие однородные виды воздействий, для удобства управления объединяются в производственные комплексы. Обмен информацией между центром управления и всеми производственными подразделениями может осуществляться комплексом технических средств связи: автоматической телефонной связью; производственной диспетчерской; распорядительно-поисковой; директорской связью.

Техническая служба АТП (рисунок 1.1) состоит из следующих основных комплексов:

· Подразделения, выполняющие диагностику технического состояния автомобилей, их агрегатов и узлов (комплекс Д);

· Подразделения, выполняющие ТО, регламентированный ремонт, а также сопутствующие ремонтные работы (комплекс ТО);

· Подразделения, выполняющие работы по замене неисправных агрегатов, узлов и деталей на исправные, а также крепежно-регулировочные и другие работы по ТР непосредственно на автомобилях (комплекс ТР);

· Подразделения, выполняющие обслуживание и ремонт агрегатов, узлов и деталей, снятых с автомобилей, и изготавливающие новые детали, а также другие работы, не связанные с непосредственным выполнением их на автомобилях (комплекс ремонтных участков РУ);

· Подразделения, обеспечивающие подготовку производства, - комплектование оборотного фонда, доставка агрегатов, узлов и деталей перед отправкой и ремонт, обеспечение рабочих инструментами, а также перемещение автомобилей из зоны в зону, осуществляющиеся централизованно комплексом подготовки производства (комплекс ПП);

· Производственно-технический отдел (ПТО), обеспечивающий разработку и внедрение новой техники и технологии производственных процессов, организацию рационализаторской и изобретательской работы, составление технических нормативов и инструкций, а также мероприятия по подготовке и повышению квалификации кадров, охране труда и др.;

· Отдел главного механика (ОГМ), обеспечивающий технически исправное состояние зданий, сооружений, энергосилового и санитарно-технического хозяйства, производственного оборудования и инструментальной оснастки;

· Отдел снабжения (ОС), обеспечивающий материально-техническое снабжение предприятия и правильную организацию складского хозяйства;

· Отдел технического контроля (ОТК), осуществляющий контроль качества производства, технического состояния подвижного состава, его приема и выпуска на линию.

Оперативное руководство работой производственных комплексов осуществляет центр управления производством (ЦУП), который состоит из двух групп: диспетчерской и обработки и анализа информации.

Рисунок 1.1 - Схема метода комплексов

Диспетчерская группа через начальников комплексов осуществляет оперативное руководство производством всех работ на постах обслуживания и ремонта автомобилей, обеспечивает подготовку автомобилей к выпуску на линию путем своевременного выполнения ежедневного плана ТО-1, ТО-2, заявочных ремонтов, устанавливает очередность выполнения работ различными производственными подразделениями, координирует работу производственных комплексов. После окончания смены диспетчер производства на основании оперативной карты составляет рапорт главному инженеру об итогах работы.

Группа обработки и анализа информации осуществляет планирование ТО и регламентных работ, сбор, систематизацию и обработку информации, по результатам которой производится анализ деятельности технической службы предприятия. На основании этого анализа вырабатываются и осуществляются мероприятия по совершенствованию работы технической службы.

Внедрение централизованной системы управления производством ТО и ТР подвижного состава позволяет обеспечить правильную, рациональную организацию труда ремонтных рабочих, добиться четкой технологической дисциплины и исполнительности на участках, улучшить ряд технико-эксплуатационных показателей.

Схема организационной структуры управления АТП разрабатывается с учетом местных условий. Типовая структура управления при централизованной службе эксплуатации приведена на рисунке 1.2.

Рисунок 1.2 – Организационная структура управления при централизованной службе эксплуатации.

В случае нецентрализованной службы эксплуатации в структуре управления автотранспортного предприятия предусматривается должность заместителя начальника по экономическим вопросам и эксплуатации, которому подчинен отдел эксплуатации, находящийся на предприятии (рисунок 1.3).

Рисунок 1.3 – Организационная структура управления при нецентрализованной службе эксплуатации

Организационная структура управления дана для предприятия со списочным количеством автомобилей 200—300 ед.

Директор АТП является руководителем предприятия. Он распоряжается всеми средствами предприятия, осуществляет подбор и расстановку кадров, контролирует деятельность подразделений, несет ответственность за выполнение государственного плана и соблюдение финансовой дисциплины.

Главный инженер автотранспортного предприятия возглавляет техническую службу и несет ответственность за техническое состояние подвижного состава, состояние и развитие технической базы, материально-техническое снабжение. Для выполнения возложенных обязанностей главный инженер имеет два основных производственных подразделения: мастерские, возглавляемые начальником мастерских, и гараж, возглавляемый начальником гаража. В мастерских имеются зоны технического обслуживания и ремонта и выполняется соответствующий комплекс работ. В большинстве случаев в зоне технического обслуживания проводится ежедневное обслуживание (ЕО) и ТО-1 на специально оборудованных линиях технического обслуживания. В зоне ремонта располагается разборочно-сборочный цех, в котором осуществляются ТО-2 и текущие ремонты, и производственно-вспомогательные цехи, в которых ремонтируются агрегаты, узлы или отдельные детали. Кроме главных производственных звеньев (мастерских и гаража), главному инженеру подчинен ряд подразделений и служб, занимающихся технической подготовкой производства, эксплуатацией и ремонтом зданий, сооружений и технических средств, материально-техническим снабжением.

Это структурное подразделение называется производственным участком. Руководит участком мастер или бригадир. За подготовку всего парка к выпуску на линию отвечает диспетчер производства, которому подчинены мастера производственных участков, а диспетчер подчинен начальнику производства (мастерских).

На автотранспортном предприятии службу эксплуатации возглавляет заместитель начальника предприятия по экономическим вопросам и эксплуатации. При централизованной службе эксплуатации (служба эксплуатации находится при управлении) на АТП имеется только диспетчерский аппарат во главе со старшим диспетчером. Должность заместителя начальника по экономике и эксплуатации в этом случае упраздняется; линейный персонал (линейные диспетчеры и контролеры) со всеми его функциями передается в ведение центральной службы эксплуатации управления.

При нецентрализованной службе эксплуатации в непосредственном подчинении начальника предприятия находится заместитель начальника по экономическим вопросам и эксплуатации, в ведении которого находится отдел эксплуатации, возглавляемый начальником отдела. Кроме того, заместителю начальника по экономическим вопросам и эксплуатации могут подчиняться начальники автоколонн.

Интенсивное развитие автомобильного транспорта требует дальнейшего повышения эффективности работы аппарата управления, совершенствования его структуры, внедрения экономико-математических методов и автоматизированных систем управления (АСУ). Управление представляет собой сложный процесс, связанный с производственными, техническими, экономическими и социальными явлениями, возникающими в производстве, основанный на совместном труде многих людей, занятых созданием материальных ценностей.

По своей сущности управление предназначено для обеспечения единства в работе всех звеньев производства, для организации четкой согласованности всех видов производственно-финансовой деятельности, чтобы эта деятельность имела бесперебойный и целенаправленный характер и давала наибольший результат при наименьших затратах.

По функциональным признакам АСУ делятся на автоматизированные системы управления предприятиями (АСУП), отраслями (ОАСУ) и общегосударственную автоматизированную систему управления (ОГАС).

Проектируемое предприятие является по принадлежности предприятием общего пользования, осуществляющее перевозки пассажиров; по организации производственной деятельности – комплексное. Подвижной состав АТП однотипен - 180 автомобилей ПАЗ-3206. Основные характеристики этих автомобилей представлены в таблице 1.1, а их внешний вид на рисунке 1.4.

Таблица 1.1 Основные характеристики автобуса ПАЗ-3206

Технические характеристики

Тип

ПАЗ-3206

Масса снаряженного автобуса, кг

5165

Полная масса автомобиля, кг

11725

Габаритные размеры, мм:


Длина

7000

Ширина

2520

Высота

2960

База

3600

Число пассажиров, чел:

- мест для сидения

28

- номинальная

28

Колея передних колес

1940

Колея задних колес

1690

Дорожный просвет

264

Ширина проема двери

770

Расстояние от пола до потолка салона

2011

Топливный бак

105

Рулевой механизм

МАЗ – 5336 с гидроусилителем руля

Система отопления

Калориферная от системы охлаждения двигателя

Сцепление

1-дисковое, сухое с гасителем крутильных колебаний

Максимальная скорость движения при полной массе автомобиля, км/ч

90

Расход топлива при 60 км/ч, л/100 км

26,5

ДВИГАТЕЛЬ

Модель

ЗМЗ-5112-10

Тип

бензиновый

Охлаждение

жидкостное

Максимальный крутящий момент Нм (кгс)

294(30)

Мощность, кВт (лс)

92 (125)


Рисунок 1.4 Внешний вид автобуса ПАЗ-3206

2. Технологический расчет предприятия

2.1 Расчет производственной программы по техническому обслуживанию и ремонту автомобилей

Этот расчет, как и весь технологический расчет выполнен в соответствие с методикой, изложенной в [1,2].

Рассчитываются годовые и суточные программы. При разнотипном подвижном составе ведется раздельно по каждой модели автомобилей.

Расчет годовой производственной программы производится на основании годового пробега подвижного состава и периодичностей технических воздействий.

Годовой пробег рассчитывается по формуле:

Lг=Aи*lсс*Dрг*т, (2.1)

где Lг – годовой пробег автомобилей данной модели, км;

Aи – списочное количество автомобилей данной модели;

lсс – среднесуточный пробег одного автомобиля, км;

Dрг – количество дней работы подвижного состава на линии в год;

т – коэффициент технической готовности парка.

В работе принято, что капитальный ремонт полнокомплектного подвижного состава не предусматривается. В этом случае коэффициент технической готовности рассчитывается по формуле:

, (2.2)

где Dто тр – скорректированная продолжительность простоя автомобиля в ТО-2 и текущем ремонте на 1000 км пробега, дней.

В этом случае годовое количество технических воздействий по их видам рассчитывается по формулам:

, (2.3)

, (2.4)

, (2.5)

, (2.6)

где  , , , N1г, – годовое количество соответственно списаний, ТО-2,ТО-1 и ЕО;

Lр – скорректированный ресурс пробега подвижного состава до списания, км;

L2, L1 – скорректированные периодичности соответственно ТО-2 и ТО-1.

Величины Dто.тр, L1, L2, Lр определяются следующим образом:

L1=L1н*K1*K3, (2.7)

L2=L2н*K1*K3, (2.8)

Lр=Lрн*K1*K2*K3, (2.9)

Dто.тр=Dто.трн*K2 (2.10)

где L1н , L2н , Lрн , Dто.трн – нормативные значения соответственно периодичности ТО-1, ТО-2, ресурса до списания и продолжительности простоя автомобиля в ТО-2 и текущем ремонте на 1000 км пробега;

К1 – коэффициент корректирования, учитывающий категорию условия эксплуатации подвижного состава;

К2 – коэффициент корректирования, учитывающий модификацию подвижного состава и организацию его работы;

К3 – коэффициент корректирования, учитывающий природно-климатические условия эксплуатации подвижного состава.

Величины L1н , L2н принимаются по таблице 1.3 [2], величины Lрн , Dто.трн принимаются по таблице 1.4 [2], а коэффициенты К1, К2 , К3 – по таблице 1.5 [2].

Суточная программа:

, (2.11)

, (2.12)

, (2.13)

где N2с, N1с, NЕОс – суточное количество соответственно ТО-2, ТО-1 и ЕО;

, ,  - продолжительность работы в год зоны соответствующего вида ТО, дней.

Расчеты по формулам (2.1) – (2.13) приведены в таблицах 2.1 и 2.2.






Таблица 2.1 – Корректирование нормативов

Исходные значения нормативов

Коэффициенты корректирования

Скорректированные значения нормативов

L1н, км

L2н, км

Lрн, км

Dто.трн, дн/1000км

 К1

К2

К3

L1, км

L2, км

Lр, км

Dто.тр, дн/1000км

5000

20000

400000

0,25

0,8

1,0

0,9

3600

14400

288000

0,25


Таблица 2.2 – Расчет количества технических воздействий

т

Lг, км

Nспг

N2г

N1г

Nеог

Dрг ео, дн.

Dрг 1, дн.

Dрг 2, дн.

Nеос

N1с

N2с

0,955

11921265

41

787

2483

62744

365

365

365

171,9

6,8

2,2


2.2 Расчет годовой трудоемкости работ по ТО, ремонту и диагностированию автомобилей


Годовой объем по ТО определяется исходя из годовой производственной программы (количество ТО по видам) и трудоемкости ТО данного вида, а по ТР – исходя из годового пробега парка и удельной трудоемкости ТР на 1000 км пробега.

, (2.14)

, (2.15)

, (2.16)

, (2.17)

где , , ,  – годовой объем работ соответственно по ЕО, ТО-1, ТО-2, ТР, чел.-ч; , ,  – скорректированная трудоемкость одного соответственно ЕО, ТО-1, ТО-2;  – скорректированная удельная трудоемкость ТР на 1000 км пробега.

Величины , ,  и  определяются следующим образом:

, (2.18)

, (2.19)

, (2.20)

, (2.21)

где , , ,  – нормативные значения удельных трудоемкостей соответственно ЕО, ТО-1, ТО-2 и ТР, чел.-ч;

 – коэффициент корректирования, учитывающий количество единиц технологически совместимого подвижного состава;

 – коэффициент корректирования, учитывающий способность хранения подвижного состава.

Величины , , ,  определяются из таблицы 1.4 [2], коэффициенты К4 и К5 – из таблицы 1.5 [2].

Годовая трудоемкость работ по диагностированию автомобилей может быть определена следующим образом:

, (2.22)

, (2.23)

где ,  – годовая трудоемкость работ диагностирования соответственно вида Д-1 и вида Д-2, чел.-ч;

, ,  – годовая трудоемкость контрольно-диагностических работ в общем объеме работ соответственно ТО-1,ТО-2, ТР, чел.-ч.

Величины , ,  можно определить следующим образом:

, (2.24)

, (2.25)

, (2.26)

где , ,  – доля контрольно-диагностических работ в общем объеме работ соответственно ТО-1, ТО-2 и ТР.

Величины a, b, c определяются по таблице 2.2 [2] и равны:

a=0,08,

b=0,07,

c=0,02.

Годовая трудоемкость ТО-1, ТО-2 и ТР без учета диагностических работ будет равна:

, (2.27)

, (2.28)

, (2.29)

где , ,  – скорректированные годовые трудоемкости соответственно ТО-1, ТО-2 и ТР, чел.-ч.

Расчеты трудоемкости работ по ТО, ТР и диагностированию приведены в таблице 2.3.







Таблица 2.3 - Расчет трудоемкости работ по ТО, ТР и диагностированию автомобилей

Вид технического воздействия

Lт, км

Niг

tеон, чел.-ч

t1н, чел.-ч

t2н, чел.-ч

tтрн, чел.-ч

К1

К2

К3

К4

К5

tео, чел.-ч

t1, чел.-ч

t2, чел.-ч

tтр, чел.-ч

Тiг, чел.-ч

ТiI. чел.-ч

ЕО

11921265

62744

0,3

-

-

-

-

1,0

-

-

-

0,3

-

-

-

18823

-

ТО-1

2483

-

6,0

-

-

-

1,0

-

1,05

-

-

6,3

-

-

15643

14392

ТО-2

787

-

-

24,0

-

-

1,0

-

1,05

-

-

25,2

-

19832

18444

ТР

-

-

-

-

3,0

1,2

1,0

1,1

1,05

1,0

-

-

-

4,2

50069

49068

Д-1

-

-

-

-

-

-

-

-

-

-

-

-

-

-

1752

-

Д-2

-

-

-

-

-

-

-

-

-

-

-

-

-

-

1889

-

2.3 Расчет трудоемкости вспомогательных и подсобных работ

К этим работам относятся работы по самообслуживанию предприятия, транспортные, перегон автомобилей, приемка, хранение и выдача материальных ценностей, уборка помещений и территории.

Годовая трудоемкость вспомогательных и подсобных работ равна:

, (2.30)

где Твсп – годовая трудоемкость вспомогательных и подсобных работ, чел.-ч.;

Квсп – доля вспомогательных и подсобных работ на автотранспортных предприятиях; Квсп = 0,2-0,3; принято Квсп=0,25.

Тогда

Твсп=(18823+15643+19832+50069)*0,25=26092, чел.-ч.

Распределение трудоемкости вспомогательных и подсобных работ по видам приведено в таблицах 2.4 и 2.5.

Таблица 2.4 - Распределение вспомогательных и подсобных работ по видам

Виды работ

Твсп, чел.-ч.

Относительный объем работ, %

Твсп i,чел.-ч.

По самообслуживанию предприятия

26092

45

11742

Транспортные

26092

9

2348

Перегон автомобилей

26092

20

5218

Приемка, хранение и выдача материальных ценностей

26092

9

2348

Уборка помещений и территории

26092

17

4436


Таблица 2.5 - Распределение трудоемкости работ по самообслуживанию по видам

Вид работ

Тсам, чел.-ч.

Относительный объем, %

Тсам i, чел.-ч.

Электромеханические

11742

25

2935

Механические

11742

10

1174

Слесарные

11742

16

1879

Кузнечные

11742

2

235

Сварочные

11742

4

470

Жестяницкие

11742

4

470

Медницкие

11742

1

117

Слесарные по трубопроводам

11742

22

2583

Ремонтно-строительные и деревообрабатывающие

11742

16

1879


2.4 Распределение трудоемкости текущего ремонта по видам работ

Это распределение сделано в соответствие с таблицей 2.2 [2] и приведено в таблице 2.6.

Таблица 2.6 - Распределение трудоемкости текущего ремонта по видам работ

Виды работ

, чел.-ч.

Относительный объем работ, %

, чел.-ч.

Постовые работы

Диагностирование общее (Д-1)

50069

1

501

Диагностирование углубленное (Д-2)

50069

1

501

Регулировочные и разборочно-сборочные работы

50069

27

13519

Сварочные работы

50069

5

2503

Жестяницкие работы

50069

2

1000

Окрасочные работы

50069

8

4006

Деревообрабатывающие работы

50069

-

-

Итого


44

22030

Участковые работы

Агрегатные работы

50069

17

8513

Слесарно-механические работы

50069

8

4006

Электротехнические работы

50069

7

3505

Аккумуляторные работы

50069

2

1001

Ремонт приборов системы питания

50069

3

1502

Шиномонтажные работы

50069

2

1001

Вулканизационные работы

50069

1

501

Кузнечно-рессорные работы

50069

3

1502

Медницкие работы

50069

2

1001

Сварочные работы

50069

3

1502

Жестяницкие работы

50069

2

1001

Арматурные работы

50069

3

1502

Обойные работы

50069

3

1502

Таксометровые работы

50069

-

-

Итого


56

28039

всего


100

50069


2.5 Расчет численности производственных рабочих

Численность производственных рабочих определяется по каждому из видов технических воздействий, по производственным участкам и зонам. Расчет ведется на основании трудоемкости работ и фондов времени рабочих. Рассчитывают технологически необходимое (явочное) Рт и штатное (списочное) Рш число рабочих.

=, (2.31)

=, (2.32)

где ТГ – годовой объем работ по данной зоне, участку, чел.-ч.;

Фт, Фш – годовой фонд времени соответственно явочного и штатного рабочего, ч.

Годовой фонд времени рабочих принимается в соответствие с таблицей 2.4 [2] и приведен в таблице 2.7.

Таблица 2.7 - Годовые фонды времени производственного персонала

Наименование профессий работающих

Годовой фонд времени, ч

Фт

Фш

Маляр

1830

1610

Все прочие профессии, включая водителей автомобилей и автобусов

2070

1820


Расчет численности производственных рабочих приведен в таблице 2.8.

Таблица 2.8 - Расчет численности производственных рабочих

Подразделение

Тiг, чел.-ч

Фт, ч

Фш, ч

Рт, чел

Рш, чел

Распределение по сменам

расч

прин

расч

прин

расч

прин

Зоны

ЕО

18823

2070

1820

9,1

9

10,3

10

6

3

ТО-1

14392

2070

1820

7,0

7

7,9

8

-

7

ТО-2

18444

2070

1820

8,9

9

10,1

10

9

-

ТР

49068

2070

1820

23,7

24

27,0

27

16

8

Д-1, Д-2

1752

2070

1820

1,7

1

2,0

2

1

-

Участки

Агрегатный

8513

2070

1820

4,1

4

4,7

5

4

-

Слесарно-механический

4006

2070

1820

1,9

2

2,2

2

2

-

Электротехнический

3505

2070

1820

1,7

2

1,9

2

2

-

Аккумуляторный

1001

1820

0,5

1

0,6

1

1

-

Ремонт приборов системы питания

1502

2070

1820

0,7

1

0,8

1

1

-

Шиномонтажный, вулканизационный

1001

2070

1820

0,7

1

0,9

1

1

-

Кузнечно-рессорный, медницкий

1502

2070

1820

1,2

1

1,4

1

1

-

Сварочный, жестяницкий

1502

2070

1820

1,2

1

1,4

1

1

-

Арматурный, обойный

1502

2070

1820

1,4

1

1,6

2

1

-

Таксометровый

-

2070

1820

-

-

-

-

-

-

Всего

-

-

-

63,8

64

72,8

73

46

18

 

2.6 Расчет численности водителей


Численность водителей определяется из выражений

, (2.33)

, (2.34)

где  – продолжительность работы автомобиля на линии в течение суток, ч;

 – количество дней работы парка в году.

Принято:

=9,5,

=365,

=180,

=0,955,

=2070 ч,

=1820 ч,

Тогда:

=9,5*365*180*0,955/2070=287,95 чел.;

=9,5*365*180*0,955/1820=327,51 чел.

Принято: =288 чел, =328 чел.

2.7 Определение численности ИТР и служащих


Численность ИТР и служащих принимается согласно НТП. Численность персонала управления предприятием (кроме эксплуатационной и производственно-технической служб), численность младшего обслуживающего персонала и пожарно-сторожевой охраны принимается в зависимости от мощности предприятия и типа подвижного состава (таблица 2.5 [2]).

Численность персонала эксплуатационной службы принимается в зависимости от списочного количества автомобилей и коэффициента выпуска на линию (таблица 2.6 [2]).

Численность персонала производственно-технологической службы принимается в зависимости от списочного количества автомобилей и численности производственных рабочих (таблица 2.7 [2]).

Численность ИТР и служащих для рассматриваемого предприятия приведена в таблице 2.9.

Таблица 2.9 – Численность ИТР и служащих

Наименования функций управления АТП

Численность персонала

Общее руководство

2

Технико-экономическое планирование, маркетинг

2

Материально-техническое снабжение

1

Организация труда и заработной платы

2

Бухгалтерский учет и финансовая деятельность

5

Комплектование и подготовка кадров

1

Общее делопроизводство и хозяйственное обслуживание

1

Младший обслуживающий персонал

1

Пожарная и сторожевая охрана

4

Эксплуатационная служба

6

Производственно-техническая служба

5

Итого

30


2.8 Расчет линий и постов технического обслуживания, диагностирования и текущего ремонта автомобиля.

2.8.1 Расчет линий ЕО

ЕО (УМР) на небольших АТП производится на тупиковых или проездных постах, при наличии в парке более 50 автомобилей мойка их осуществляется механизированным способом.

На средних и крупных АТП уборочно-моечные работы выполняются, как правило, на поточных линиях, с применением механизированных установок для мойки и сушки автомобилей.

В работе принято, что на линии, наряду с работами, выполняемыми с помощью механизированных установок, предусматриваются и работы, выполняемые вручную. В этом случае количество линий определяется по выражению:

, (2.35)

где  – такт работы линии, мин;

 – ритм производства ЕО, мин.

Ритм, в свою очередь, определяется из выражения:

, (2.36)

где  – продолжительность работы зоны в течение смены, ч.

Такт для рассматриваемого варианта рассчитывается по формуле:

, (2.37)

где  – габаритная длина автомобиля, м;

 – расстояние между автомобилями на постах по поточной линии, м;

 – скорость конвейера, которая назначается с таким расчетом, чтобы обеспечить возможность выполнения работ вручную на движущемся автомобиле ( м/мин).

Принято:

 ч;

 2 смены;

=171,9;

=7,000 м;

=1,2 м;

=2,5 м/мин.

Тогда:

τ =(7,000+1,2)/2,5=3,28 мин;

=60*7*2/171,9= 4,887 мин;

= 3,28/4,887 = 0,671

Принято: одна линия ЕО на три рабочих поста: уборки, мойки и сушки.

2.8.2 Расчет постов и линий ТО и диагностирования

Первое и второе техническое обслуживания и общее диагностирование, могут проводиться на индивидуальных специализированных постах, углубленное диагностирование должно проводиться на индивидуальных специализированных постах.

Количество постов ТО-1, ТО-2, Д-1 и Д-2 определяется из выражения

, (2.38)

где  – годовой объем по видам ТО и диагностирования, чел. ч. ;

 – коэффициент резервирования постов для компенсации неравномерной загрузки;

 – число рабочих дней в году;

 – продолжительность рабочей смены, ч;

 – число смен;

 – численность рабочих, одновременно работающих на одном посту, чел.;

 – коэффициент использования рабочего времени.

Расчёт постов ТО и диагностирования приведен в таблице 2.10.

Таблица 2.10 – Расчёт количества постов ТО и диагностирования

Вид ТО или Д

,

чел.-ч

, ч

,

чел

ТО-1

14392

1,25

365

7

1

2

0,98

3,592

ТО-2

18444

1,25

365

7

1

2

0,98

4,604

Д-1

1752

1,25

365

7

1

2

0,90

0,476

Д-2

1889

1,25

365

7

1

2

0,90

0,513


После определения количества постов решается вопрос о выборе метода производства ТО-1, Д-1 и ТО-2: на отдельных постах или поточных линиях.

При этом руководствуются следующими рекомендациями: поточный метод для ТО-1 и Д-1 рекомендуется при расчётном количестве постов 3 и более для одиночных автомобилей , 2 и более для автопоездов, для ТО-2 соответственно 4 и более и 3 и более.

На основании изложенного и данных таблицы 2.10 принято:

- Д-1 и Д-2 выполняются на одном универсальном посту, то есть =1;

- ТО-1 и ТО-2 выполняются на поточных линиях. Их количество рассчитывается по формуле (2.35). При этом ритм производства определяется из выражения:

 (2.39)

Такт работы линии определяется из выражения:

, (2.40)

где  – общее число явочных рабочих, работающих на линии, чел;

– среднее число рабочих на посту линии, чел;

 – число постов на линии устанавливается исходя из объема и содержания работ, их технологической последовательности, возможной специализации постов;  – скорректированная трудоемкость ТО-1 и ТО-2;  – время передвижения автомобиля с поста на пост, мин. Оно определяется из выражения:

, (2.41)

где  – скорость конвейера, м/мин,

Lа – габаритная длина автомобиля, м;

а – расстояние между автомобилями на постах, м.

Принято:

=7ч,

С=1 смена,

=6,8,

=2,2,

=6,3 чел.-ч.,

=25,2 чел.-ч.,

=7 чел,

=9 чел,

=4,

=4,

=1,75 чел,

=2,25 чел,

=7 м,

а=1,2 м,

=12,5 м/мин.

Тогда:

= (7+12)/12,5=0,656; τ1 = 60*6,3/7 + 0,656=54,656;

τ2 = 60*25,2/90 + 0,656=168,656; R1 = 7*1*60/6,8 = 61,76;

R2 = 7*1*60/2,2 = 190,91; = 54,656/61,76 = 0,885;

= 168,656/190,91 = 0,883.

Принято: =1, =2.

2.8.3 Расчет количества постов текущего ремонта

Постовые работы текущего ремонта выполняется на отдельных универсальных или специализированных постах. Расчет количества постов ТР по видам работ, выполняемых на них, производится по формуле

, (2.42)

где  - годовая трудоемкость постовых работ данного вида, чел.-ч.;

 – коэффициент, учитывающий долю работ ТР, выполняемых в наиболее загруженную смену (принимается равным 0,55).

По приведённому выражению рассчитывается число постов для выполнения разборочно-сборочных и регулировочных работ, а также сварочных, жестяницких, малярных и деревообрабатывающих. Расчет количества постов ТР приведен в таблице 2.11.

Таблица 2.11 – Расчет количества постов ТР

Назначение поста

, чел.-ч.

, дней

Разборочно-сборочный и регулировочный

13519

1,25

0,67

365

7

1

0,97

4,57

Сварочный

2503

1,13

0,67

365

7

1,5

0,97

0,51

Жестяницкий

1000

1,13

0,67

365

7

1,5

0,97

0,20

Малярный

4006

1,25

0,67

365

7

2

0,88

0,75

Итого:

6,03


Принято значение количества постов ТР =6.

2.9 Расчет площадей производственных помещений

Площади производственных зон можно рассчитать по формуле:

, (2.43)

где  – площадь, занимаемая автомобилем в плане, м2;

 – число постов в зоне;

 – коэффициент плотности расстановки оборудования постов.

Расчет площадей производственных зон приведен в таблице 2.12.

Таблица 2.12 – Расчет площадей производственных зон

Назначение зоны

, м2

, м2

ЕО

17,64

3

4,5

238

ТО-1

17,64

4

4,5

318

ТО-2

17,64

4

4,5

318

ТР

17,64

6

4,5

476

Д

17,64

1

4,5

79


Площади производственных участков можно рассчитать по формуле


где  – площадей данного участка, м2;

 – удельная площадь данного участка, приходящаяся на первое рабочее место, м2;

 – удельная площадь данного участка, приходящаяся на последующие рабочие места, м2;

 – количество рабочих занятых на участке в наиболее загруженной смене, чел.

Расчет площадей производственных участков приведён в таблице 2.13.

Таблица 2.13 – Расчет площадей производственных участков

Наименование участка

, м2

, м2

, чел

, м2

Агрегатный

15

12

4

51

Слесарно-механический

12

10

2

22

Электротехнический

10

5

2

15

Аккумуляторный

15

10

1

15

Ремонт приборов системы питания

8

5

1

8

Шиномонтажный и вулканизационный

15

10

1

15

Кузнечно-рессорный и медницкий

20

15

1

20

Сварочный и жестяницкий

30

15

1

30

Арматурный и обойный

15

10

1

15

Таксометровый

-

-

-

-

Итого




191


2.10 Расчет площадей складских помещений


Площади складских помещений рассчитывается по удельным нормативам на 10 единиц подвижного состава, приводимым к конкретным условиям эксплуатации с помощью корректирующих коэффициентов.

, (2.45)

где  – удельная нормативная площадь складских помещений на 10 единиц подвижного состава, м2;

, , , ,  – коэффициент корректирования в зависимости от соответственно: среднесуточного пробега подвижного состава, численности технологически совместимого подвижного состава, типа подвижного состава, высоты складирования, категории условий эксплуатации.

Расчет площадей складских помещений приведен в таблице 2.14.

Таблица 2.14 – Расчет площадей складских помещений

Наименование складских помещений

, м2

Запасных частей, деталей, эксплуатационных материалов

180

4,4

0,88

1,1

0,6

1,0

1,1

51

Двигателей, агрегатов и узлов

180

3,0

0,88

1,1

0,6

1,0

1,1

34

Смазочных материалов с насосной

180

1,8

0,88

1,1

0,6

1,0

1,1

21

Лакокрасочных материалов

180

0,6

0,88

1,1

0,6

1,0

1,1

7

Инструмента

180

0,15

0,88

1,1

0,6

1,0

1,1

2

Кислорода, азота и ацетилена в баллонах

180

0,2

0,88

1,1

0,6

1,0

1,1

2

Металла, металлолома, ценного утиля

180

0,3

0,88

1,1

0,6

1,0

1,1

3

Автомобильных шин новых, отремонтированных и подлежащих восстановлению

180

2,6

0,88

1,1

0,6

1,0

1,1

30

Подлежащих списанию автомобилей, агрегатов (на открытой площадке)

180

7,0

0,88

1,1

0,6

1,0

1,1

80

Промежуточного хранения запасных частей и материалов (участок комплектации и подготовки производства)

180

0,9

0,88

1,1

0,6

1,0

1,1

10


2.11 Расчет площадей административно-бытовых помещений


Вспомогательные помещения (административные, общественные, бытовые), являются объектом архитектурного проектирования. Их детальная разработка осуществляется в архитектурно-строительной части проекта. При этом расчёт площадей отдельных вспомогательных помещений производится по соответствующим нормам и числу работающих.

Приближенно же на стадии предварительных расчетов общая площадь вспомогательных помещений может быть определена по удельным нормам на одного работающего (рисунок 2.1 [2]) по следующей формуле:

, (2.46)

где  – суммарная площадь административно-бытовых помещений, м2;

 – удельная площадь административно-бытовых помещений приходящаяся на одного работающего, м2;

 – количество рабочих на АТП, чел.

=73+328+30=431,

=6,

Тогда получим =6*431=2586 м2.

3. Техническое обслуживание системы охлаждения автомобиля ПАЗ-3206

3.1 Назначение, устройство и принцип работы системы охлаждения автомобиля ПАЗ-3206

Система охлаждения предназначена для принудительного отвода от деталей двигателя лишнего тепла и передачи его окружающему воздуху. Благодаря этому создается определенный температурный режим, при котором двигатель не перегревается и не переохлаждается.

Система охлаждения должна обеспечивать:

- автоматическое поддержание рабочей температуры двигателя во всех режимах его работы;

- быстрый прогрев двигателя при пуске в холодных условиях;

- длительное сохранение двигателя в прогретом состоянии после его остановки;

- малые энергетические затраты на привод агрегатов системы охлаждения.

Тепло в двигателях отводится двумя способами: жидкостью (жидкостная система охлаждения) или воздухом (воздушная система охлаждения). Эти системы поглощают 25—35% тепла, выделяющегося во время сгорания топлива. Температура охлаждающей жидкости, находящейся в головке блока цилиндров, должна быть равна 80—95° С. Такой температурный режим наиболее выгоден, обеспечивает нормальную работу двигателя и не должен изменяться в зависимости от температуры окружающего воздуха и нагрузки двигателя. Температура в течение рабочего цикла двигателя изменяется от 80—120° С (минимальная) в конце впуска до 2000—2200° С (максимальная) в конце сгорания смеси.

Большинство двигателей имеет жидкостные системы охлаждения (открытые или закрытые). У открытой системы охлаждения внутреннее пространство непосредственно сообщается с окружающей атмосферой. Распространение получили закрытые системы охлаждения, у которых внутреннее пространство только периодически сообщается с окружающей средой при помощи специальных клапанов. В этих системах охлаждения повышается температура кипения охлаждающей жидкости и уменьшается ее выкипание.

На современных автобусах применяются только двигатели с жидкостным охлаждением закрытого типа. В этом случае охлаждающая жидкость полностью изолирована от атмосферы, что уменьшает возможность ее испарения и повышает температуру кипения.

Жидкостная система охлаждения состоит из:

1.   рубашки охлаждения

2.   основного радиатора

3.   радиатора системы отопления кузова

4.   вентилятора

5.   насоса охлаждающей жидкости

6.   термостата

7.   соединительных трубопроводов

8.   расширительного бачка

9.   воздушного клапана

Рубашка охлаждения представляет собой емкость для размещения охлаждающей жидкости, охватывающей наружные поверхности цилиндров (гильз) двигателя и камеры сгорания (рисунок 3.1).

I – с одним отопителем; II – с двумя отопителями и электронасосом (для фургонов с двумя рядами сидений и автобусов); 1 – расширительный бачок; 2 – термостат; 3 – датчик указателя температуры охлаждающей жидкости; 4 – радиатор; 5 – сливная пробка (кран) радиатора; 6 – вентилятор; 7 – ремень привода вентилятора; 8 – ремень привода насоса охлаждающей жидкости; 9 – насос охлаждающей жидкости; 10 – сливной кран блока цилиндров; 12 – электронасос системы отопления; 11, 13 – кран отопителя; 14 – радиатор дополнительного отопителя; 15, 16 – радиаторы основного отопителя

Рисунок 3.1 – Система охлаждения двигателей ЗМЗ-402 и УМЗ-4215

Рубашка охлаждения блока связана каналами с рубашкой охлаждения головки, уплотнение этих каналов обеспечивается прокладкой головки блока. В рубашке охлаждения установлен кран для слива охлаждающей жидкости.

Основной радиатор предназначен для отвода тепла от охлаждающей жидкости. Он состоит из двух бачков, соединенных между собой большим количеством круглых или овальных трубок. Бачки могут располагаться относительно друг друга либо в вертикальной, либо в горизонтальной плоскости. Изготавливают бачки из меди, алюминия, латуни или пластмассы. При вертикальном расположении бачков в верхнем из них в отдельных случаях размещается наливная горловина с пробкой. В пробке наливной горловины обычно предусматривается два предохранительных клапана – паровой и воздушный. паровой клапан открывается при избыточном давлении в 145…160 кПа. Воздушный клапан открывается при падении давления, вызванном охлаждением жидкости. Паровой и воздушный клапаны (рисунок 3.2) предотвращают разрушение трубок радиатора от избыточного внешнего и внутреннего давления.

1 – крышка; 2 – пружина впускного клапана; 3 – стержень впускного клапана; 4 – пружина выпускного клапана; 5 – тарелка пружины выпускного клапана; 6 – выпускной клапан; 7 – впускной клапан; 8 – корпус коробки

Рисунок 3.2 – Пробка наливной горловины

Трубки могут изготавливаться из алюминия, меди или латуни. Для лучшего отвода тепла между трубками устанавливают платины, гофрированные ленты из тех же материалов. в радиаторе предусмотрен сливной кран, резьбовой штуцер для установки датчика температуры и пароотводная трубка, устанавливаемая при наличии расширительного бачка.

Обогрев салона автобуса может осуществляется либо специальным отопителем, либо радиатором системы обогрева кузова, включенным в систему охлаждения двигателя. По конструкции радиатор обогрева кузова аналогичен основному радиатору, но имеет меньшие размеры.

Вентилятор создает интенсивный поток воздуха через основной радиатор. Он представляет собой пластмассовую или металлическую крыльчатку, выполняющую функцию осевого воздушного насоса. вентилятор установлен в кожухе для обеспечения направленного воздушного потока. Кожух изготавливают из штампованных стальных пластин, или из пластмассы. Привод вентилятора может осуществляться ременной передачей от шкива на носке коленчатого вала (рисунок 3.3) либо электрическим двигателем.

1 – шкив коленчатого вала; 2 – шкив вентилятора; 3 – генератор; 4 – шкив водяного насоса; 5 – натяжной ролик

Рисунок 3.3 – Привод водяного насоса и вентилятора ременной передачи

Электрический двигатель может иметь один или два режима работы. При больших размерах радиатора возможно применение двух вентиляторов. На нескольких двигателях привод вентилятора осуществляется от коленчатого вала клиноременной передачей через гидромуфту. Гидромуфта (рисунок 3.4) состоит из двух лопастных колес, установленных в общей полости. Одно из колес связано с ведомым шкивом клиноременной передачи, второе – с крыльчаткой вентилятора.

1 – вал привода вентилятора; 2, 6 – сальники (манжеты); 3 – гайка вала; 4 – стопорная шайба; 5 – втулка сальника; 7 – рабочее колесо; 8 – гидромуфта; 9 – корпус вентилятора; 10 – крышка; 11 – уплотнительное кольцо; 12 – корпус центрифуги; 13 – шайба; 14 – маслопроводный болт; 15 – подшипник скольжения

Рисунок 3.4 – Установка гидромуфты в приводе вентилятора

Полость гидромуфты заполняется маслом из системы смазки двигателя, заполнение полости контролируется золотником. Перемещение золотника осуществляется соленоидом, управляемым температурным датчиком. При температуре 81…95 С положение золотника обеспечивает полное заполнение полости гидромуфты, при этом достигается максимальная частота вращения вентилятора. При низких температурах охлаждающей жидкости золотник занимает положение, обеспечивающее полное опорожнение гидромуфты, при этом вентилятор не вращается. На некоторых двигателях в приводе вентилятора применяют электромагнитные муфты. В этом случае температурный датчик при высокой температуре соединяет с системой питания обмотку электромагнита, обеспечивающего соединение шкива клиноременной передачи с крыльчаткой вентилятора. При охлаждении жидкости обмотка электромагнита обесточивается. Отключение вентилятора позволяет экономить топливо и снижает уровень шума.

Насос охлаждающей жидкости предназначен для принудительной циркуляции жидкости системе охлаждения. Насосы центробежного типа приводятся одинарным или двойным клиновым или поликлиновым ремнем от носка коленчатого вала. Конструкция центробежного насоса показана на рисунке 3.5.

1 – ступица для крепления приводного шкива; 2 – вал; 3 – корпус насоса; 4 – контрольное отверстие; 5 – масленка; 6 – крыльчатка; 7 – отверстие; 8 – пружина; 9, 10 – латунный обоймы; 11 – резиновая уплотнительная манжета; 12 – шайба; 13 – стопорное пружинное кольцо

Рисунок 3.5 – Конструкция насоса охлаждающей жидкости

Насос представляет собой отдельный агрегат, корпус которого крепится к блоку. Внутри корпуса на подшипниках качения установлен вал. В полость корпуса, где установлены подшипники, через масленку заполняется смазка. В современных конструкциях смазка часто закладывается непосредственно в подшипники на весь срок службы. На валу с помощью специальной лыски устанавливается металлическая (чугунная, алюминиевая) или пластмассовая крыльчатка. На противоположном конце вала установлена ступица фланца привода. Крыльчатка размещается в изолированном пространстве корпуса насоса, заполненного охлаждающей жидкостью. Для обеспечения герметизации этой полости на валу насоса установлен уплотнительный узел, состоящий из пластмассовой шайбы, уплотняющей крыльчатку по торцу, и резиновой манжеты, уплотняющей вал.

Циркуляция жидкости в системе охлаждения обеспечивается как действие насоса (такая система называется принудительной), или происходит произвольно под действие давления, вызванного разной плотностью охлаждающей жидкости в нагретой и охлажденной зонах рубашки охлаждения (такая система называется термосифонной). В современных двигателях применяется принудительная система охлаждения. В этом случае насос устанавливается в нижней зоне рубашки охлаждения, под действием насоса холодная охлаждающая жидкость подается в нижнюю зону рубашки охлаждения и, нагреваясь, поднимается вверх, проходя в нагретом состоянии чрез радиатор. В некоторых двигателях применяется смешанная система охлаждения. Насос установлен в верхней зоне рубашки охлаждения; жидкость, охлажденная в радиаторе, подается в верхнюю зону рубашки охлаждения и под действием разницы давлений холодной и горячей охлаждающей жидкости опускается вниз (термосифонный эффект). Для поддержания постоянного температурного режима двигателя и его быстрого прогрева при пуске необходимо при малой температуре охлаждающей жидкости выключить радиатор из круга циркуляции. Эту функцию выполняет специальное устройство, называемое термостатом (рисунок 3.6).

1 – нижняя рамка; 2 – верхняя рамка; 3 – регулировочный винт; 4 – шток; 5 – резиновая буфермембрана; 6 – седло основного клапана; 7 – основной клапан; 8 – пружина; 9 – капсула; 10 – направляющее кольцо; 11 – перепускной клапан; 12 – упругое кольцо; 13 – поджимная пружина; 14 – седло перепускного клапана

Рисунок 3.6 – Конструкция термостата с твердым наполнителем

Он установлен в магистрали, связывающей радиатор с рубашкой охлаждения термостат представляет собой клапан, перекрывающий связь радиатора с рубашкой охлаждения при малой температуре охлаждающей жидкости (ниже 70 С). В этом случае жидкость циркулирует по малому кругу циркуляции, в который входят рубашка охлаждения и жидкостная полость водяного насоса. При нагреве жидкости (свыше 70…80 С) клапан начинает открываться. Полностью он открывается при 85…95 С. В круг циркуляции включается радиатор, что обеспечивает поддержание заданного температурного режима. Включение и выключение клапана обеспечивается специальным элементом, увеличивающим свой осевой размер при нагревании. Этот элемент может быть сильфонного типа. В этом случае он представляет собой запаянный гофрированный стакан, заполненный эфиром. Один торец стакана закреплен на седле, второй связан со стержнем клапана. В современных двигателях функции сильфона выполняет капсула с твердым наполнителем – церезином с медными опилками. Термостат с твердым наполнителем более надежен, поскольку при повреждении сильфона возможно вытекание эфира через микротрещины.

3.2 Неисправности системы охлаждения и их влияние на работу автомобиля

Поддержание необходимого теплового режима, исправность системы охлаждения во многом определяют долговечность работы двигателя, его мощность и экономичность.

Основные неисправности системы охлаждения:

· перегрев двигателя,

· переохлаждение двигателя.

Причины перегрева двигателя из-за неисправности приборов системы охлаждения:

1.   слабое натяжение ремня привода водяного насоса;

2. слабое натяжение ремня вентилятора;

3. малый уровень жидкости в системе;

4. накипь в рубашке охлаждения;

5. заедание клапана термостата;

6. неисправность водяного насоса;

7. закрытие жалюзи радиатора;

8. засорение радиатора.

Если двигатель не охлаждать, то газы, имеющие высокую температуру, сильно нагревают детали двигателя, и они расширяются. Масло на цилиндрах и поршнях выгорает, их трение и износ возрастают, а от чрезмерного расширения деталей происходит заклинивание поршней в цилиндрах двигателя, и двигатель может выйти из строя. Чтобы избежать отрицательных явлений, вызываемых перегревом двигателя, его необходимо охлаждать. При перегреве на щитке приборов в кабине водителя зажигается сигнальная лампочка.

Однако чрезмерное охлаждение двигателя вредно отражается на его работе.

Причины переохлаждения двигателя:

1.   неисправность термостата

2.   повреждение водомасляного радиатора

3.   неприкрытие жалюзи в холодное время года.

При переохлаждении двигателя на стенках цилиндров конденсируются пары топлива (бензина), смывая смазку, разжижают масло в картере. В этих условиях происходит интенсивный износ поршневых колец, поршней цилиндров и снижается экономичность и мощность двигателя.

Заедание клапана термостата в закрытом положении или позднее открытие его, засорение трубок радиатора и рубашки охлаждения двигателя накипью и продуктами коррозии вызывают быстрый перегрев двигателя.

В результате заедания клапана термостата в открытом положении или раннее открытие двигатель не прогревается длительное время.

Вследствие износа уплотнительной шайбы или манжеты сальника происходит вытекание охлаждающей жидкости из контрольного отверстия водяного насоса.

Износ подшипников водяного насоса вызывает шумную работу водяного насоса.

3.3 Оборудования, применяемые при диагностировании, техническом обслуживании и ремонте системы охлаждения автобуса ПАЗ-3206

На практике применяют приборы и приспособления для определения герметичности ее элементов, температурного перепада между верхним и нижним бачками радиатора, температуры воды и величины разрежения в нижнем бачке радиатора, натяжении ремня вентилятора. Эти проверки позволяют с достаточной точностью определить техническое состояние радиатора, прокладки головки цилиндров, наличие неплотностей в трубопроводах и соединениях шлангов и загрязненность радиатора. Наличие в системе охлаждения накипи определяют изменением количества жидкости, находящейся в системе, или по перегреву двигателя при нормальной работе всех других элементов системы и двигателя в целом.

Герметичность системы охлаждения проверяют методом опрессовки системы сжатым воздухом. Проверку проводят в два этапа – на неработающем и работающем двигателе. В первом случае опресовывают систему избыточным давлением 0,7 – 1,0 кгс/кв.см, под действием которого в местах неплотностей вода начинает просачиваться наружу. Во втором случае герметичность проверяют при минимальных оборотах холостого хода (450-700 об/мин), при этом колебания стрелки манометра указывают на внутренние течи в системе, которые в основном вызываются неисправностью прокладки головки цилиндров.

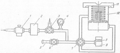
В Ленфилиале НИИАТ разработан прибор модели К-437, предназначенный для определения герметичности системы охлаждения и проверки технического состояния клапанов пробок радиаторов (рисунок 3.7)

Рисунок 3.7 – Принципиальная схема прибора для проверки системы охлаждения модели К-437

Он состоит из редуктора 1, ресивера 2, стакана 10, воздушного индикатора 8, в котором установлен поплавок 9, трехходового крана 3 и двухходового крана 6, манометра 4, четырехходового крана 7 и насадки 5.

Для проверки герметичности системы охлаждения с радиатора автомобиля снимают пробку и вместо нее устанавливают насадку 5 прибора. Открытием крана 6 подают сжатый воздух в радиатор. Герметичность системы охлаждения определяют по падению давления воздуха, наблюдаемого по манометру 4, и визуальным осмотром.

Для проверки клапанов пробку радиатора 11 устанавливают на стакан. Вначале проверяют паровой клапан, для чего установкой четырехходового крана 7 в соответствующее положение подают сжатый воздух в нижнюю часть стакана. Краном 3 давление воздуха в стакане доводят до величины, при которой начинается подъем поплавка 9 индикатора 8, что свидетельствует о срабатывании парового клапана. По манометру 4 определяют давление воздуха, при котором сработал клапан. При проверке воздушного клапана воздух подают в верхнюю часть стакана. Полученные результаты сравнивают с нормативными данными и определяют пригодность пробки к эксплуатации.

Температурный перепад между верхним и нижним бачками радиатора обычно определяют термопарами или электрическими термометрами. Уменьшение температурного перепада по сравнению с нормой (8-) свидетельствует о наличии накипи или загрязнении радиатора.

Для проверки натяжения ремней вентилятора, генератора и компрессора является устройство КИ-8920.

Устройство прибора КИ-8920 показано на рисунке 3.8.

1 – ползун; 2 – корпус; 3 – упор пружины; 4 – винт; 5 – направляющая; 6 – фиксирующий винт; 7 – пружина; 8 – шток; 9, 10 – секторы; 11 – ось-винт; 12 – установочная скоба

Рисунок 3.8 – Устройство КИ-8920 для проверки натяжения ремней вентилятора, генератора и компрессора

Устройство действует по принципу зависимости линейной величины прогиба ремня от угла прогиба при заданном усилии. Сектор 10 устройства имеет шкалу для определения величины прогиба ремня, он отделен от сектора 9 текстолитовой шайбой, а от штока пружиной, которая фиксирует положение секторов после измерения прогиба ремня.

С другой стороны штока винтами укреплена установочная скоба 12.

Для проверки натяжения ремня необходимо установить упорный конец штока 8 посередине и перпендикулярно на одну из ветвей проверяемого ремня так, чтобы усилие скобы 12 прилагали к боковой поверхности ремня.

Под действием приложенной от руки нагрузки шток 8, преодолевая сопротивление пружины 7, переместится на расстояние, величина которого прямо пропорциональна приложенному усилию. Перемещение штока передается ползуну 1. После прекращения действия нагрузки пружина приводит шток в исходное положение, а ползун, по которому ведется отсчет показаний, остается в положении, соответствующем конечному значению приложенной нагрузки. Величину приложенной нагрузки определяют по показаниям шкалы.

Фиксирование ползуна обеспечивается пружинным кольцом. Перемещая винт 6 по направляющей, возвращают ползун в исходное положение. При измерении секторы под действием прогибающего ремня повернутся на некоторый угол, пропорциональный прогибу ремня. Отсчет показаний производится по одной из шкал сектора в зависимости от величины межцентрового расстояния между шкивами, которые соединяют измеряемый ремень. Секторы в положении, соответствующем конечной величине прогиба ремня, фиксирует пружина.

Для ремонта и проверки радиаторов автомобилей предназначен стенд Р-984. Приспособление для крепления радиаторов – пневматическое, подъемник снабжен манипулятором. Проверка радиаторов осуществляется сжатым воздухом под давлением 1,0 кгс/кв.см.

Устройство стенда приведено на рисунке 3.9.

Рисунок 3.9 – Стенд Р-984 для ремонта и проверки радиаторов

Стенд состоит из основания 8, ванны 7, манипулятора 5, пневмоцилиндра 4, зажима 6, пульта управления 1, пробки подачи воздуха 3, пистолета 2 для сдувания с поверхности радиатора грязи и воды, фиксатора и поворотного устройства. На пульте управления имеется штуцер для подвода сжатого воздуха от воздушной магистрали СТО. Ванна 7 имеет сливной кран для выпуска воды. На стойке установлен манипулятор 5. Фиксация проверяемого радиатора может осуществляться в 16 положениях при его вращении вокруг горизонтальной оси.

На пульте управления установлен редукционный клапан, понижающий давление воздуха, идущего в радиатор, до 1,0 ксг/кв.см. На пульте имеется фиксатор, служащий для предохранения от самопроизвольного поворота манипулятора вокруг вертикальной оси. Стенд комплектуется конусными пробками для заглушки горловины радиаторов во время их проверки на герметичность.

Проверяемый радиатор закрепляется с помощью прижимного винта. Для проверки радиатора надо поднять его с помощью пневмоцилиндра в крайнее верхнее положение. Затем освобождается фиксатор, радиатор поворачивается так, чтобы он оказался над ванной с водой, а затем манипулятор должен быть снова зафиксирован. Шланг подачи воздуха подсоединяется к одному из патрубков радиатора, а остальные отверстия заглушаются пробками. После этого радиатор опускается в ванну. С помощью крана подается воздух и производится проверка радиатора на течь трубок и мест соединений. После выявления дефекта поднимают радиатор из ванны. Вращая радиатор вокруг горизонтальной оси, закрепляют его в удобном для работы положении и приступают к ремонту поврежденных мест. После устранения всех дефектов радиатор подвергается повторной проверке в ванне.

Для восстановления фильтрующих элементов предназначен участок восстановления фильтрующих элементов воздухоочистителей модели ОИ-138. Установки для восстановления фильтрующих элементов приведены на рисунках 3.10 и 3.11.

1 – подставка; 2 – фильтрующий элемент; 3 – корпус; 4 – откидная крышка; 5 – шарнирно-винтовой прижим; 6 – втулка направляющая; 7 – кран; 8 – манометр; 9 – прокладка

Рисунок 3.10 – Установка для продувки фильтрующих элементов сжатым воздухом

1 – фильтрующий элемент; 2 – планшайба прижимная; 3 – планшайба приводная; 4 – редуктор; 5 – подставка; 6 – педаль управления прижима

Рисунок 3.11 – Установка для мойки фильтрующих элементов воздухоочистителя

Участок включает в себя установку для продувки, установку для мойки и сушильную камеру. Для ремонта и проверки радиаторов предназначен также стенд модели КО 357 (рисунок 3.12)

Рисунок 3.12 – Стенд для проверки и ремонта радиаторов. Модель КО 357.

Стенд состоит из ванны, манипулятора и основания. Манипулятор состоит из зажима и пневмопривода. Зажим включает в себя лапу, подхват со стойкой и прижимное устройство. Лапа имеет шарнирное соединение со стойкой и с помощью прижимов удерживает проверяемый радиатор. Зажим может вращаться относительно своей продольной оси и фиксатором закрепляется в нужном положении.

Заключение

В данной курсовой работе мы выполнили технологический расчет комплексного автотранспортного предприятия на 180 автомобилей ПАЗ - 3206. Была рассчитана производственная программа по техническому обслуживанию и ремонту автомобилей, а также вычислены следующие величины: годовые трудоёмкости работ по ТО, ремонту, диагностированию, а также трудоемкости вспомогательных и подсобных работ; численность производственных рабочих, водителей, ИТР и служащих; площади складских, производственных и административно-бытовых помещений.

Были рассмотрены назначение и структура проектируемого предприятия. Учитывая специфику выполнения работы, а также характер производственной деятельности проектируемого предприятия его можно отнести к АТП общественного пользования, которое по организации производственной деятельности является комплексным, так как самостоятельно выполняет функции перевозочного процесса, хранения, технического обслуживания и ремонта подвижного состава.

Кроме того, была рассмотрена техническая эксплуатация системы охлаждения автомобиля ПАЗ-3206.

Список использованных источников

1.   Проектирование предприятия автотранспорта/ под.ред. М. М. Болбаса. – Мн.: Адукацiя i выхаванне, 2004. – 528с.

2.   Учебное пособие по курсу "Технологическое проектирование автотранспортных предприятий и станций технического обслуживания" для студентов заочников специальности 15.05- "Автомобили и автомобильное хозяйство"/под. ред. М. М. Болбас, Н. М. Капустин, С. С. Кучур, И. В. Павловский, И. М. Флерко. – Мн.: БГПА, 1995 – 83с.

3.   Техническая эксплуатация автомобилей. С. В. Шумик, Е. Л. Савич. – Мн.: Вышэйшая школа, 1996 – 355с.: ил.

4.   Проектирование предприятия автотранспортного предприятия и СТО: Учеб./ М. М. Болбас, Н. М. Капустин, Е. И. Петухов, В. И Похавов. – Мн.: Унiверсiтэцкае, 1997. – 246с.

5.   Техническая эксплуатация автомобилей/ Под ред. Г.В. Крамаренко. – М.: Транспорт, 1983. – 488 с.

6.   Автобусы. Особенности устройства и эксплуатации: Учебное пособие для ПТУ. Чредников А. А., Рудников Ю. М. – М.: Транспорт, 1991.-191с.: ил.

7.   Устройство и техническое обслуживание автобусов. Учебник водителя транспортных средств категории "Д". Селифонов В. В., Бирюков М. К. – М.: ЗАО "КЖИ "За рулем", 2004. – 304с.: ил., табл.

8.   Технологическое оборудование для технического обслуживания и ремонта легковых автомобилей: Справочник/Р. А. Попржедзинский, А. М. Харазов, В. Г. Карцев, З. Г. Евсеева. – М.: Транспорт, 1998. – 176с., ил., табл.

9.   Диагностика технического состояния автомобиля/ Борц А. Д., Закин Я. Х., Иванов Ю. В. – М.: Транспорт, 1979 – 158с., ил.

Похожие работы на - Технологический расчет комплексного автотранспортного предприятия на 180 автомобилей ПАЗ - 3206

 

Не нашли материал для своей работы?
Поможем написать уникальную работу
Без плагиата!
Без нейросетей!