|
|
КП.05.0861..000
|
|
1
|
|
сптжт
|
|
|
Ведомость дефектации
|
|
|
КП
|
|
|
|
№ п/п
|
Наименование детали.
|
Размер при выпуске
|
Браковочный размер
|
Примечание
|
|
1
|
2
|
3
|
4
|
5
|
|
Дефекты бандажей и ободьев колес
|
|
1.
2.
3.
4.
5.
6.
8.
9.
|
Трещины поперечные независимо от размера, количества и места
расположения
Трещины продольные:
- на поверхности катания, поверхности гребня, внутренней боковой
поверхности
- на внутренней поверхности бандажа и в выточке для бандажного
кольца.
Сколы, выкрашивания, выщербины, раковины, уходящие под упорный
бурт или бандажное кольцо независимо от размера.
Ползуны на поверхности катания.
Задир бандажа в районе круга катания независимо от размеров и
гребня
Задиры у подножья рабочей части гребня.
Ослабление бандажа на ободе центра.
Прокат (высота гребня) бандажей более
допустимого размера.
Местное или по всему кругу катания увеличение ширины бандажа
более допустимого.
|
|
Не допускается
Не допускается
Не допускается
Не допускается
Не допускается
Не допускается
Не допускается
Не допускается
Менее 27мм,
более 33 мм.
Более 6 мм.
|
Браковать
Браковать
Браковать
Браковать
Обточить
Обточить
Обточить
Браковать
Обточить
Обточить
|
|
|
10.
11.
12.
13.
14.
15.
16.
17.
18.
19.
|
Толщина гребня менее допустимого значения.
Остроконечный накат на гребень.
Вертикальный подрез гребня.
Выщербины на поверхности катания.
Толщина бандажа менее допустимого значения.
Навар металла на поверхности катания.
Несоответствие
расстояния между внутренними
гранями колес.
Разность расстояний между внутренними
гранями бандажей у одной колёсной пары более допустимого значения.
Разность диаметров правого и левого бандажей одной колесной пары.
Отклонение
профиля поверхности катания колеса после обточки
-по высоте гребня
- по поверхности катания и толщине гребня.
|
|
Более 33мм.
и менее 25мм.
Не допускается
Не допускается
Не допускается
Менее 40 мм.
Не допускается
Менее 1437 мм. более 1443 мм.
менее 1437 мм более 1443 мм
Не более 1мм
более 1 мм.
Не более 2 мм.
Более 2 мм.
Не более 1 мм
более 1 мм
Не более 0,5 мм
более 0,5 мм
|
Менее 25мм. обточить.
Обточить.
Обточить.
Обточить.
Браковать.
Обточить.
Без ремонта.
Обточить.
Браковать.
Без ремонта.
Браковать.
Без ремонта.
Обточить.
Без ремонта.
Обточить.
Без ремонта.
Обточить.
|
|
Дефекты осей
|
|
1.
2.
3.
|
Трещины поперечные и продольные в любой части оси.
Протертость на средней части оси.
Волосовины в любой части оси.
|
|
Не допускается
2,5 мм.
Не допускается
|
Браковать.
Более 2,5 мм
браковать.
Браковать.
|
|
4.
5.
6.
7.
8.
9.
10.
11.
12.
|
Риски и задиры поперечные на шейках.
- глубиной до 0,5 мм не ближе 100 мм,
-глубиной до 1,5 мм не ближе 160 мм
от предподступичной части
- глубиной более 0,5 мм ближе 100 мм
глубиной более 1,5 мм ближе 160 мм от предподступичной части.
Риски и задиры продольные на шейках и предподступичных частях
- на шейках глубиной до 0,5 мм не ближе 50 мм от торца галтели,
не более трех
глубиной более 0,5 мм ближе 50 мм от торца галтели, более трех
- на предподступичной части оси глубиной до 1,0 мм(без
ограничения количества)
-глубиной более 1,0 мм
Забоины на шейках
и предподступичной части оси
- на шейках оси
площадью до 50мм2, глубиной до 0,8 мм,
-не ближе 60мм от
галтели
-площадью более
50мм2 глубиной более 0,8 мм.
- на
предподступичной части оси глубиной до 1,0 мм площадью до 50 мм2
-глубиной более
1,0 мм площадью более 50 мм2
Коррозия на
шейках оси и предподступичной части.
Несоответствие
диаметра шейки оси.
Конусность шейки
оси.
Овальность шейки
оси.
Смятая или
изношенная резьба на торце оси колесной пары.
Срыв и износ
резьбы под болты М12.
-не более 3
первых ниток
-более 3 первых
ниток.
|
|
Не допускается
Не допускается
Не допускается
Не допускается
Не допускается
0,030 0,040 мм.
0,015 0,030мм.
не более 15%
|
Ремонтировать.
Браковать.
Ремонтировать
.
Браковать.
Ремонтировать
.
Браковать.
Ремонтировать
.
Браковать.
Ремонтировать
.
Браковать.
Ремонтировать
.
При Ø менее129,7мм
и более 130,052 мм браковать.
Более 0,040 мм
брак.
Более 0,030 мм брак.
При износе резьбы
более 15% браковать
Восстановить
метчиком.
Браковать.
|
|
13.
14.
|
Следы электродугового ожога.
Неясность клейм
полного освидетельствования.
|
|
Не допускается
Не допускается
|
Браковать.
Браковать или
направить на полное освидетельствование.
|
|
Дефекты зубчатых колес, колесных центров колес.
|
|
1.
2.
3.
4.
5.
6.
7.
|
Ослабление колёсного центра на оси.
Трещины в ступице.
Трещины в ободе или спице центра
колёсной пары.
Излом зуба.
Вмятины, раковины, выкрошившиеся места
на поверхности зуба более допустимого значения
- глубиной не более 2,0 мм, общей площадью не более 10%.
- глубиной более 2,0 мм, общей
площадью более 10%.
Отколы на поверхности зуба(от торца).
- длинной не более 15 мм, глубиной не
более 3 мм.
- длинной более 15 мм, глубиной более 3
мм.
|
|
Не допускается.
Не допускается.
Не допускается.
Не допускается.
Не допускается.
Не допускается.
Не допускается.
Не допускается.
Не допускается.
Не допускается.
|
Браковать.
Браковать.
Браковать.
Браковать.
Без ремонта.
Браковать.
Браковать.
Браковать.
При ослаблении более 4 болтов или более
3-х болтов подряд болты заменить новыми следующей градации.
|
|
|
|
|
|
|
Выполнил
|
|
|
|
Проверил
|
Ляменков В.Т.
|
|
|
|
|
|
|
|
|
|
Утвердил
|
|
|
|
|
|
|
|
|
|
|
|
|
|
|
|
|
|
|
|
|
|
|
|
|
|
|
|
|
|
|
|
8. Технологическая инструкция:
клеймение колёсных пар
При ремонте и
полном освидетельствовании колесных пар применяются следующие знаки и клейма:
- клеймо в
форме прямоугольника с закругленными углами, указывающее присвоенный условный
номер ремонтному пункту;
- цифры и буквы
для обозначения даты (месяца и две последние цифры года) и других данных (цифры
и буквы должны быть высотой от 6 до 10 мм, согласно действующим стандартам,
техническим условиям и чертежам);
- клеймо
приемки («Серп и молот») или прямоугольник с номером и серпом и молотом;
- клеймо
контрольного мастера службы технического контроля (требования к клейму службы
технического контроля устанавливаются ремонтным пунктом, производящим ремонт);
- клейма в
форме круга с буквами, обозначающими метод формирования колесной пары: «Ф»
прессовый, «ФТ» тепловой или «ТК», «ТЗ» комбинированный («ТК»
- тепловой метод посадки колесных центров или колес, «ТЗ» - тепловой метод
посадки зубчатых колес);
- клеймо в
форме круга с буквой «Б», обозначающее балансировку колесной пары;
- клеймо в
форме круга с буквой «Д», обозначающее переформирование колесной пары,
выпрессовку оси и сборку колесной пары прессовым методом, «ДТ» - тепловым
методом, «ДТК» «ДТЗ» - комбинированным методом («ДТК» - тепловой метод посадки колесных
центров или колес, «ДТЗ» - тепловой метод посадки зубчатых колес);
- клеймо в
форме круга с буквами «ЛД», обозначающее перепрессовку левого, с буквами «ПД» -
правого колесного центра или цельнокатаного колеса, с буквами «ЛЗД» - левого, с
буквами «ПЗД» - правого зубчатого колеса;
- клеймо в
форме круга с буквами «ЛДТ», обозначающее сборку после распрессовки тепловым
методом левого, с буквами «ПДТ» – правого колесного центра или цельнокатаного
колеса, с буквами «ЛЗДТ» левого, с буквами «ПЗДТ» - правого зубчатого колеса;
- клеймо в
форме круга с буквами, обозначающими замену оси на вновь
изготовленную и метод формирования колесной пары: «СОФ» – прессовый, «СОФТ» –
тепловой или «СОТК», «СОТЗ» –
комбинированный («СОТК» – тепловой
метод посадки колесных центров или колес, «СОТЗ» – тепловой метод посадки зубчатых колес);
- клеймо в
форме круга с буквами «СБ», обозначающее замену бандажей;
Составные части
колесных пар с несоответствующими знаками клеймения и маркировки в ремонтное
производство не допускаются.
Необработанные
(в черном виде) оси на средней или подступичной части должны иметь знаки и
клейма в соответствии с рисунком 1
1 — условный номер
предприятия-изготовителя,
2 — месяц (римскими цифрами) и год
(две последние цифры изготовления),
3 — номер плавки,
4 — клейма приемки,
5 — порядковый номер оси,
6 — год (две последние цифры)
Рисунок 1 – Знаки и клейма на
необработанной оси колесной пары
Окончательно
обработанные оси на правом торце должны иметь знаки и клейма в соответствии с
рисунками 2, 3, 4.
а —тепловоза с
наружными буксовыми шейками и торцовым упором скольжения;
б — электровоза
на подшипниках качения без торцового упора:
1 — условный номер
предприятия-изготовителя необработанной оси;
2 — месяц (римскими цифрами) и год
(две последние цифры) изготовления необработанной оси;
3 — порядковый номер оси;
4 — клейма технического контроля
предприятия-изготовителя и представителя приемки, проверивших правильность
переноса маркировки с необработанной оси и принявших обработанную ось;
5 — условный номер
предприятия-изготовителя, обработавшего ось;
6 – клейма метода формирования
колесной пары («ФТ» – тепловой, «Ф» – прессовый, «Ф» и «ТЗ» – комбинированный
при прессовом методе посадки колес (колесных центров) и тепловом методе посадки
зубчатого колеса на ось, «ТК» и «Ф» – комбинированный при тепловом методе
посадки колес (колесных центров) и прессовом методе посадки зубчатого колеса на
ось) или клеймо замены оси на вновь
изготовленную («СО»);
7 – условный номер предприятия,
производившего сборку колесной пары;
8 – месяц (римскими цифрами) и год
(две последние цифры) сборки колесной пары;
9 – клейма технического контроля
предприятия-изготовителя и представителя приемки, принявших колесную пару;
10 – клеймо балансировки;
11 – клейма переформирования колесной
пары;
12 – номер ремонтного пункта,
производившего переформирование;
13 – месяц (римскими цифрами) и год
(две последние цифры) переформирования;
14 – клейма технического контроля
ремонтного пункта и приемщика локомотивов (инспектора-приемщика), принявших
колесную пару после переформирования
Рисунок 2 –
Знаки и клейма на правом торце оси колесной пары
1 – условный номер
предприятия-изготовителя необработанной оси;
2 – месяц (римскими цифрами) и год
(две последние цифры) изготовления необработанной оси;
3 – порядковый номер оси;
4 – клейма технического контроля
предприятия-изготовителя и представителя приемки, проверивших правильность
переноса маркировки с необработанной оси и принявших обработанную ось;
5 – условный номер
предприятия-изготовителя, обработавшего ось;
6 – клейма метода формирования
колесной пары («ФТ» – тепловой, «Ф» – прессовый, «Ф» и «ТЗ» – комбинированный
при прессовом методе посадки колес (колесных центров) и тепловом методе посадки
зубчатого колеса на ось, «ТК» и «Ф» – комбинированный при тепловом методе
посадки колес (колесных центров) и прессовом методе посадки зубчатого колеса на
ось) или клеймо замены оси на вновь
изготовленную («СО»);
7 – условный номер предприятия,
производившего сборку колесной пары;
8 – месяц (римскими цифрами) и год
(две последние цифры) сборки колесной пары;
9 – клейма технического контроля
предприятия-изготовителя и представителя приемки, принявших колесную пару;
10 – клеймо балансировки;
11 – клейма переформирования колесной
пары;
12 – номер ремонтного пункта,
производившего переформирование;
13 – месяц (римскими цифрами) и год
(две последние цифры) переформирования;
14 – клейма технического контроля ремонтного
пункта и приемщика локомотивов (инспектора-приемщика), принявших колесную пару
после переформирования.
Рисунок 3 – Знаки и клейма на правом
торце оси колесной пары локомотива с торцовыми упорами качения
1 – клеймо технического контроля;
2 – клейма технического контроля
предприятия-изготовителя и представителя приемки, проверивших правильность
переноса маркировки с необработанной оси и принявших обработанную ось;
3 – условный номер предприятия,
производившего обработку оси и перенесшего знаки маркировки;
4 – порядковый номер оси,
начинающийся с номера предприятия-изготовителя поковки;
5
– клейма инспектора приемщика;
6
– год (две последние цифры) изготовления;
7
– клейма формирования и балансировки;
8
– условный номер предприятия, сформировавшего колесную пару;
9
– клеймо технического контроля;
10
– дата формирования.
Рисунок 4 – Знаки и клейма на правом
торце оси колесной пары МВПС
Бандажи на
боковой наружной грани должны иметь знаки
и клейма в соответствии с рисунком 5
1 – условный
номер предприятия изготовителя,
2 – год (две
последние цифры) изготовления,
3 – марка
бандажа,
4 – номер плавки,
5
– клейма приемки,
6 – порядковый номер бандажа по
системе нумерации
предприятия-изготовителя.
Рисунок – 5
Знаки и клейма на наружной грани бандажа
На импортных бандажах наносятся
следующие знаки: знак фирмы, две последние цифры года изготовления, номер
плавки, номер бандажа. При сквозной нумерации плавок (не по годам) год
изготовления не наносится. Порядковый номер бандажа отдельными фирмами не
наносится.
Литые центры на
наружной стороне ступицы или диска должны
иметь знаки и клейма в соответствии с рисунком 6. Размещение и размеры
знаков маркировки – по рабочим чертежам центров.
а) б)
а –
на дисковом центре, б – на спицевом центре
1 – условный номер
предприятия-изготовителя,
2 – год (две последние цифры)
изготовления,
3 – порядковый номер центра по
системе нумерации предприятия-изготовителя,
4 – обозначение марки стали,
5 – клейма технического контроля
предприятия- изготовителя и представителя заказчика
Рисунок 6 –
Знаки и клейма на колесном центре
Цельнокатаные
колеса на наружной боковой поверхности обода должны иметь знаки и клейма в
соответствии с рисунком 7.
1 – год (две последние цифры)
изготовления,
2 – марка стали,
3 – номер плавки,
4 – условный номер
предприятия-изготовителя,
5 – клейма технического контроля
предприятия-изготовителя и представителя заказчика,
6 – порядковый номер колеса по
системе нумерации предприятия-изготовителя
7– дополнительный код, обозначающий
собственность колес стран СНГ и Балтии
Рисунок 7 –
Знаки и клейма наружной боковой поверхности обода цельнокатаного колеса
Зубчатое колесо
или венец ТПС должны иметь знаки и клейма в
соответствии с рисунком 8
а — на зубчатом
колесе; б — на венце зубчатого колеса
1 – условный
номер предприятия-изготовителя,
2 –
порядковый номер зубчатого колеса (венца),
3 –
марка стали,
4 –
номер плавки,
5 –
месяц (римскими цифрами) и год (две последние цифры) изготовления,
6 –
клейма технического контроля предприятия-изготовителя и представители
заказчика,
7 –
условный номер предприятия, проводившего установку зубчатого колеса или венца,
8 –
месяц (римскими цифрами) и год (две последние цифры) установки,
9 –
клейма технического контроля предприятия, проводившего установку
Рисунок 8 –
Знаки и клейма зубчатого колеса и венца
Перенос знаков
и правильность обработки осей в соответствии с технической документацией
удостоверяется постановкой клейм контрольного мастера службы технического
контроля и инспектора-приемщика (на заводе) («Серп и молот»), мастера колесного
цеха и приемщика (в депо) с постановкой условного номера пункта, проводившего
обработку.
Новые оси,
бандажи, цельнокатаные колеса, центры, венцы и зубчатые колеса, поступающие от
заводов-изготовителей без приемочных клейм инспектора-приемщика, а также с
неясной маркировкой бракуют.
Сторона колесной пары, на торце оси которой находятся
знаки и клейма, относящиеся к изготовителю оси, считается правой.
При замене
зубчатого колеса или венца на них наносятся знаки и клейма предприятия,
производившего замену зубчатого колеса (венца) (рисунок 8, позиции 7 – 9).
При полном
освидетельствовании колесных пар на левом торце осей ставятся знаки и клейма в
соответствии с рисунком 9. Впереди вышеуказанных клейм при замене бандажа
дополнительно ставится клеймо «СБ».
При
перепрессовке одного из центров (цельнокатаного колеса) — клеймо «ЛД» или «ПД»
в зависимости от того, с какой стороны колесной пары перепрессовывался колесный
центр или цельнокатаное колесо. При перепрессовке зубчатого колеса – клеймо
«ЛЗД» или «ПЗД» - левого или правого зубчатого колеса.
При сборке
колесной пары тепловым методом после распрессовки - клеймо «ЛДТ» или «ПДТ» -
левого или правого колесного центра (цельнокатаного колеса), клеймо «ЛЗДТ» или
«ПЗДТ» - левого или правого зубчатого колеса.


1 – место постановки клейм замены
бандажей, спрессовки левого или правого центра (цельнокатаного колеса);
2 – условный номер ремонтного пункта;
3 – месяц (римскими цифрами) и год
(две последние цифры) проведения полного освидетельствования;
4 – клейма службы технического
контроля и приемщика локомотивов (инспектора-приемщика).
Рисунок 9 –
Знаки и клейма на левом торце оси колесной пары:
а — тепловозов
с торцовыми упорами качения; б — тепловозов с торцовым упором скольжения;
в —
электровозов и МВПС на подшипниках качения без торцового упора;
После
постановки клейм торцы осей с торцовым упором необходимо обработать.
Шероховатость поверхности должна соответствовать Ra не более 1,25
мкм.
Запрещается
заварка или зачеканка знаков и клейм изготовления оси и формирования колесной
пары на правом торце оси. Они должны сохраняться на все время эксплуатации оси
для локомотивов. Клейма формирования (переформирования) колесной пары для МВПС
и клейма переформирования для локомотивов должны сохраняться до следующего
переформирования.
При заполнении
всех секторов левого торца оси проводится заварка знаков предыдущих полных
освидетельствований и после зачистки или механической обработки торец вновь
используется для постановки знаков полного освидетельствования колесной пары.
При этом сохраняют клеймо последней перепрессовки колесного центра
(цельнокатаного колеса).
Производительность
колёсных цехов в значительной степени зависят от рациональной компоновки
участков, оптимального размещения производственного, подъёмно – транспортного и
вспомогательного оборудования на площади цеха. Размещение оборудования (планировка)
должно обеспечивать максимальную прямоточность производственного процесса,
непрерывность в движении и наименьший грузооборот колёсных пар и их элементов в
процессе ремонта и формирования, а также рациональное использование площади и
объёма здания колёсного цеха.
Кроме того, в процессе
планировки оборудования учитывают необходимость обеспечения экономии трудовых
движении рабочих и их наименьшую утомляемость. Рациональная планировка
оборудования требует соблюдения и ряда других условии, таких, как удобство
разборки оборудования при ремонте, выделение площадок для размещения оснастки,
межоперационных заделов, удобство подачи инструментов, вспомогательных
материалов, применение многостаночного обслуживания, соблюдение правил техники
безопасности.
Вместе с тем схема
планировки оборудования должна предусматривать возможность внесения в неё
изменений в процессе совершенствования технологического процесса ремонта
колёсных пар. При компоновке участков цеха и размещения станков в линии
необходимо предусматривать кратчайшие пути движения колёсных пар при их ремонте,
не допускать обратных, кольцевых или петлеобразных движений, создающих
встречные потоки и затрудняющих транспортирование колёсных пар. Учёт и
реализация указанных требований при расстановки оборудования во многом зависят
от конструктивно – технических особенностей колёсных пар, программы и принятой
организации производства.
При расстановки
оборудования необходимо руководствоваться нормальными размерами промежутков (разрывов)
между оборудованием в предельном и поперечном направлениях и размерами
расстояний от стен и колонн. Эти размеры должны гарантировать удобство
выполнения работ, безотказность рабочих, свободу движения людей и транспортных
средств, возможность выполнения ремонта оборудования. При размещении
оборудования в поточную линию при назначении расстояний между станками
необходимо учитывать межоперационные заделы. На основе планировки оборудования
и рабочих мест определяют площадь цеха.
По своему назначению
площадь цеха подразделяются на производственную, вспомогательную и служебно –
бытовую. Под производственной понимается площадь цеха, предназначенная для
осуществления технологического процесса ремонта и формирования колёсных пар. В
состав производственной площади входят площади, занимаемые производственным и
подъёмно – транспортным оборудованием, а также стеллажами, верстаками, стендами,
проходами и проездами (кроме магистральных) между станками. К вспомогательной
относят площади, занятые вспомогательным оборудованием,магистральными проездами,
складами, кладовыми и другими подсобными помещениями. На служебно – бытовой
площади цеха размещают конторские и бытовые помещения.
В колесном цехе
ремонтируют колесные пары на программу завода и для железных дорог, проводят
новое формирование колесных пар для тепловозов и других видов подвижного
состава, изготовляют элементы колесных пар как запасные части для поставки по
межзаводской кооперации. Колесный цех относится к группе основных цехов. По
существующей структуре в состав колесного цеха входят следующие самостоятельные
хозрасчетные отделения и участки, участок по ремонту и формированию колесных
пар, включающий в себя демонтажное отделение, производящее демонтаж буксового
узла с колесной пары; прессовое отделение по распрессовке, запрессовке и
опробованию на сдвиг элементов колесных пар при формировании;
бандажное
отделение для снятия бракованных и насадки новых бандажей; колесотокарное
отделение по обработке поверхности катания цельнокатаных колес и бандажей и
обработке шеек и подступичных частей осей колесных пар; механическое отделение,
которое изготовляет (обрабатывает) элементы колесных пар; сварочное отделение
для срезки и приварки наличников к корпусам букс, наплавки ступиц центров и
цельнокатаных колес; монтажное отделение, выполняющее сборку колесных пар с буксовыми
узлами, и малярное отделение, в котором производятся окраска, сушка колесных
пар. Участок по обработке осей для колесных пар имеет группы специализированных
станков по видам обработки. Колесный цех располагают в пролете блока основных
цехов или в отдельном здании. В цехе производятся в зависимости от объема
выполняемых работ два вида ремонта - со сменой элементов (бандажей, ведомых
зубчатых колес, цельнокатаных колес, центров и осей) и без смены элементов.
Ремонтные операции осуществляются согласно технологическому процессу со строгим
соблюдением требований соответствующих инструкций. Очищенные от грязи и обмытые
в моечной машине колесные пары из тележечного цеха поступают в демонтажное
отделение колесного цеха, где производят демонтаж буксовых узлов. Работу
выполняют с помощью ручного механизированного инструмента и индукционных
нагревателей для съема лабиринтных колец и внутренних колец роликоподшипников. Выпрессованные
на специальном малогабаритном прессе из корпусов букс роликоподшипники
укладывают в тару и передают на ремонт в специализированное отделение по
ремонту подшипников качения. Крышки, осевые упоры и корпуса букс проходят
обмывку в моечной машине, а затем поступают в ремонт. Лабиринтные и
дистанционные кольца моют и складируют на специальные подставки с последующей
передачей в монтажное отделение на сборку. Для улучшения культуры и чистоты
производства отделение оборудовано устройством для сбора отработанной смазки из
корпусов букс при демонтаже. Устройство установлено под полом. Смазка стекает
со всего участка по желобам в заглубленный бак, который по мере наполнения
заменяется порожним. Колесная пара после демонтажа буксового узла и тщательной
обтирки и очистки от грязи шеек оси по рельсовому пути подается на стенд
дефектоскопии. Здесь производится магнитный и ультразвуковой контроль оси и
ведомого зубчатого колеса. Для дефектоскопии применяют дефекоскопы ДТС-М-63 и
УЗД-64. После тщательного осмотра, измерений и дефектоскопии мастер
окончательно определяет вид ремонта, и колесная пара передается в
соответствующее отделение. Наиболее характерным для колесных пар является
ремонт со сменой бандажей и ведомых зубчатых колес. Колесные пары со стенда
дефектоскопии поступают в колесотокарное отделение на вырезку укрепляющих
колец. Здесь же находится бандажное отделение, где производится съем
забракованных бандажей на электрогорне. В прессовом отделении спрессовывают
центр и бракованное ведомое колесо. Посадочные поверхности оси колесной пары
после опрессовки элементов проверяют магнитным дефектоскопом и подготовляют на
шеечно-накатном станке КЖ15 для насадки тепловым методом нового ведомого
зубчатого колеса и напрессовки центра. Колесную пару с насаженным остывшим
ведомым зубчатым колесом подвергают опробованию на прессе на сдвиг с записью
диаграммы. Аналогично выполняют операции при тепловом формировании колесных
пар. Для устранения эксцентричности поверхности колесных центров относительно
оси и определения правильности запрессовки оси каждую колесную пару протачивают
по периметру и торцовым поверхностям колесных центров. При отсутствии биения
проверяемых поверхностей колесную пару направляют для насадки бандажей в
бандажное отделение. Одновременно со сменой бракованных изготовляют новые
элементы в механическом отделении цеха из заготовок, имеющих соответствующие
клейма и маркировку. Принцип обработки посадочных поверхностей - по системе
вала, т. е. приточка ступицы колеса к окончательно обработанной подступичной
части оси и бандажа к ободу центра. Все вновь изготовленные и приточенные на
карусельных станках бандажи подвергаются магнитному контролю на стенде
дефектоскопии и подаются в бандажное отделение на установку скоростного
электронагревателя. При достижении заданной температуры бандажа 270 °С
установка автоматически отключается от электросети, после чего производятся
насадка бандажа на центр и установка стопорного укрепляющего кольца. Заготовку
кольца осуществляют на специальном гибочном станке. Затем выполняют завальцовку
прижимных буртов бандажей колесной пары на гидравлическом прессе М963. После
остывания колес в колесо-токарном отделении производят обработку поверхностей
катания колес на колесотокарных станках 1836А и 1836. Параллельно
технологическому процессу ремонта колесных пар со сменой элементов выполняют
ремонт без смены элементов. При этом колесная пара после стенда дефектоскопии
направляется сразу же в колесотокарное отделение для проточки и накатки шеек
осей, зачистки торцов, обточки по профилю поверхности круга катания. Слияние
обоих потоков ремонтируемых колесных пар происходит при окончательной магнитной
дефектоскопии шеек осей на рельсовом пути. Затем колесные пары передают в
монтажное отделение на зачистку от заусенцев ведомых зубчатых колес и на сборку
с отремонтированными буксовыми узлами.
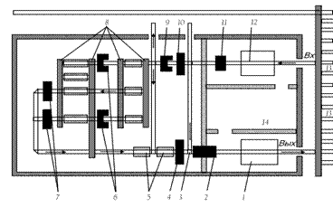
На схеме приведена
наиболее рациональная планировка оборудования колёсного цеха, на котором: 12 –
стенд демонтажа роликовых букс; 11 – моечная машина; 10 – стенд для измерения
колёсных пар; 9 – установка для магнитной и ультразвуковой дефектоскопии; 6 –
портальные колесотокарные станки; 7 – станки для обтачивания и накатывания шеек
и предподступичных частей осей колёсных пар; 4 – устройство выходного контроля (дефектоскопия,
измерение и клеймение колёсных пар); 2 – площадка для окраски и сушки колёсных
пар; стенд для монтажа роликовых букс; 14 – участок ремонта и комплектования
подшипников и буксовых узлов; 13 – колёсный парк; 3 – поворотные устройства; 8
– устройства для поперечного перемещения колёсных пар; 5 – накопители колёсных
пар.
Размещённое в цехе
оборудование, показанное на схеме, обеспечивает поточный ремонт колёсных пар,
которые поступают в цех (Вх), проходят демонтаж, обмывку, очистку и входной
контроль (осмотр, дефектоскопию, измерение). А далее поток колёсных пар
распределяется на три направления : первое – на колёсотокарные и шеечно –
накатные станки для ремонта без смены элементов (восстановление профиля
поверхностей катания колёс и ремонт шеек осей), второе – на выходной контроль,
окраску, сушку и монтаж роликовых букс, и на выход (Вых)при выполнении
освидетельствования, и третье – на боковой выход из цеха в том случае, если
колёсные пары нуждаются в ремонте со сменой элементов или подлежат исключению
из инвентаря. В колёсном цехе имеют место два устойчивых потока колёсных пар :
один состоит из колёсных пар, которые подвергаются обыкновенному и полному
освидетельствованию, а другой – из колёсных пар, которые проходят
освидетельствование и ремонт без смены элементов.
10. Техника
безопасности при ремонте колесных пар
Ответственным за
выполнение правил техники безопасности в цехе является старший мастер. Сменные
мастера и бригадиры несут ответственность за выполнение правил по технике
безопасности и промсанитарии по кругу своих обязанностей.
Старший мастер цеха
проводит инструктаж по соблюдению рабочими инструкции по Технике безопасности и
безопасными правилами работы в соответствии с положением " Об организации
обучения и проверки знаний по охране труда на железнодорожном транспорте "
№ ЦСР-325 и инструктивными указаниями СТП ССБТ 008-98 " Обучение и
проверка знаний по охране труда работников депо", а так же обеспечивает
своевременное проведение с работниками цеха периодических занятий по охране
труда и техники безопасности.
Каждый работник обязан:
- строго соблюдать
требования по охране труда, технике безопасности, производственной санитарии,
противопожарной охране, предусмотренные соответствующими правилами и
инструкциями; - пользоваться спец одеждой и предохранительными устройствами и
приспособлениями; - содержать в частоте и порядке свое рабочее место, соблюдать
чистоту и порядок на участке; - передавать оборудование, инструмент и
приспособления сменщику в исправном состоянии.
В случае повреждения
механизмов, приспособлений, оборудования или получения травмы, нарушения
техники безопасности, работник должен немедленно сообщить руководителю участка.
Выполнение положений по технике безопасности, производственной санитарии
обеспечивает безопасность производства работ и предупреждает возникновение
производственного травматизма и профессиональных заболеваний.
Все работники участка
обязаны знать и выполнять правила и инструкции по охране труда и техники
безопасности, должностные инструкции и положения, руководствоваться ими в своей
практической работе и обеспечивать строгое выполнение их в процесс
производства. Виновные в нарушении правил техники безопасности привлекаются к
ответственности согласно действующему законодательству и стандартов предприятия.
Мастер (сменный,
старший) является полноправным руководителем и непосредственным организатором
производства и труда на новом участке. Имеет право и обязан не допускать работу
на неисправном оборудовании с применением неисправных инструментов, приспособлений,
оснастки и др. На лиц, нарушивших трудовую и производственную дисциплину,
мастер вправе налагать дисциплинарные взыскания в соответствии с правилами
внутреннего трудового распорядка, а рабочих, систематически нарушающих
дисциплину освобождать от работы.
В обязанности мастера
входит:
- своевременно обучать
и инструктировать рабочих знанию технологических прочесов, безопасных методов
труда, следить за соблюдением ими правил и инструкций; - следить за исправным
состоянием и правильной эксплуатацией оборудования, инструмента, оснастки, а
так же производственного инвентаря; - обеспечить правильную и безопасную
организацию рабочих мест, чистоту и порядок на участке; - следить за наличием и
исправным состоянием ограждений и предохранительных устройств, средств
сигнализации; - следить за надлежащей работой вентиляционных устройств и
нормальным освещением рабочих мест; - следить за наличием и сохранностью
инструкций, планов и предохранительных знаков на рабочих местах. Все виды
инструкций и стажировка по технике безопасности должны быть записаны в Журнале
регистрации инструктажей по технике безопасности формы ТНУ-19. О случаях
травматизма руководитель участка обязан немедленно сообщить начальнику депо.
Охрана труда.
Колёсный цех должен
иметь устройства для отопления и вентиляции, обеспечивающие метрологические
условия в соответствии с требованиями "Санитарных норм проектирования
предприятий". Оборудование, где происходит образование пыли и газов,
должно быть оборудовано вентиляцией. Осветительная арматура и лампы должны
очищаться от загрязнений не реже двух раз в месяц, а стёкла световых проёмов
два раза в год. Освещение на рабочих местах должно быть как общее, так и
местное. Применение одного местного освещения не допускается. Уровень шума не
должен быть выше: -низкочастотный – 100дб -среднечастотный – 85-90дб -высокочастотный
– 75-85дб
Нормы освещённости: -
общее-местное – 500 лк - участки осмотра и приёмки колёсных пар – 750лк
Курение в цехах
запрещено. Среднесуточная температура в ВКМ должна быть +18°С - +20°С Не
допускается загромождение и захламление проходов у рабочих мест. Шкафы, ящики и
стеллажи для инструмента и деталей устанавливаются так, чтобы хранимые в них
предметы находились в устойчивом положении и не могли упасть. Полы на рабочих
местах и проходах должны быть ровными, гладкими и не скользящими, содержаться в
чистоте. Производственные отходы, стружки должны своевременно убираться.
Требования к
инструменту.
Слесарные молотки
должны иметь слегка выпуклую поверхность бойка и быть надёжно укреплены на
ручке путём расклинивания. Рукоятки изготавливают из дерева твёрдых пород. Длина
ручек слесарных молотков должна быть в пределах 300-400мм. Не допускается на
ударной части наклёпа.
Ударные инструменты –
зубила, крейцмейсели, бородки не должны иметь трещин, заусениц, наклёпа на
ударной части. Наименьшая длина зубила – 150мм. При работе обязательно
пользоваться защитными очками, во время работы зубило располагать от себя, т.е.
направление полёта металла при ударе должно осуществляться в противоположную
сторону от себя.
Гаечные ключи должны
соответствовать размерам гаек и головок болтов, губки ключей строго
параллельны. Удлинение ключей трубами запрещается.
Перед подключением
пневматического инструмента необходимо продуть шланг. Работать на шлифовальной
машине без защитных очков и ограждений запрещается. Перед работой проверить её
исправность. Запрещается использовать шлифовальную машину без прокладок между
шлифовальным кругом и планшайбой.
Весь ручной инструмент
должен быть исправным и очищенным от масла. Прежде чем начать работу необходимо
проверить надёжность их насадки и ручки.
К работе с
электрическим и пневматическим инструментом допускаются только специально
обученные работники.
Требования к
оборудованию.
Расположение
оборудования должно соответствовать нормам технологического проектирования.
Границы проходов, места
укладки грузозахватов и тары должны быть отмечены белой краской.
Вновь устанавливаемое и
вышедшее после ремонта оборудование должно быть тщательно выверено и надёжно
закреплено. Оборудование должно быть принято с разрешения главного механика и
инженера по технике безопасности.
Электробезопасность.
Для предупреждения
возможности поражения электрическим током корпуса электродвигателей,
индукционных нагревателей, дефектоскопов, моечных машин, металлические кожуха
должны надёжно заземляться. Нельзя включать индукционный нагреватель, если его
магнитопровод не замкнут с нагреваемым кольцом. Печи для нагрева лабиринтных и
внутренних колец должны быть заземлены в двух местах, а так же иметь
устройства, автоматически отключающие печь от сети при открывании дверцы.
Наряду с защитным
заземлением при работе с дефектоскопами и индукционными нагревателями
применяются диэлектрические перчатки, коврики и дорожки.
Пусковые кнопки
электрических устройств должны быть защищены и утоплены в корпус на 3-5мм.
Кнопки остановки должны быть красного цвета, иметь надпись "стоп" и
выступать над панелью на 3мм.
Погрузочно-разгрузочные
работы.
К управлению
подъёмно-транспортным оборудованием допускаются лица не моложе 18 лет, прошедшие
медицинское освидетельствование, обученные безопасным методам работы и
получившие удостоверение на право управления данным оборудованием.
Подъёмно-транспортным
оборудованием разрешается поднимать груз, масса которого вместе с
грузозахватными приспособлениями не превышает допустимую грузоподъёмность
данного оборудования.
Запрещается поднимать
груз неизвестной массы, а так же защемлённый, примёрзший или зацепившийся.
Подъёмно-транспортное
оборудование при производстве работ должно быть в состоянии, исключающим их
самопроизвольное перемещение.
На площадках для
укладки грузов должны быть обозначены границы штабелей, проходов и проездов
между ними. Не допускается размещать грузы в проходах и проездах.
При перемещении груза
нахождение людей на грузе и зоне его возможного падения не допускается. Не
допускается перемещение груза над помещениями и транспортными средствами, где
находятся люди.
После окончания и в
перерывах между работами груз и грузозахватные приспособления не должны
оставаться в поднятом положении.
Категорически
запрещается:
-подтаскивание колёсной
пары
-поправлять колёсную
пару на весу и находится под ней
-по окончании или при
перерыве в работе оставлять груз в подвешенном состоянии
-допускать раскачивание
колёсной пары при её передвижении
-работать на
неисправной кран балке, неисправными захватами, приспособлениями
Перекатка колёсных пар
производится подталкиванием от себя. При осмотре и измерении ободьев колёс
нельзя находится напротив колеса.
Дефектоскопирование
колёсных пар.
На должность дефектоскописта
назначаются лица не моложе 18 лет, имеющие специальную подготовку и сдавшие
испытания в знании устройства дефектоскопа, правил по электробезопасности.
Дефектоскопная
установка должна иметь защитное заземление рамы установки и корпуса пульта управления.
Снятие с шейки
соленоидов и контактных головок разрешается только при полном разряде
конденсаторной батареи.
При каждом, даже
кратковременном перерыве в работе, необходимо отключать установку от сети.
У пульта управления
должен быть положен резиновый диэлектрический коврик и перчатки.
Категорически
запрещается:
-касаться токоведущих
частей и движущихся частей электропневматических приводов и вращающихся частей
Окрасочные работы.
Окрасочные работы
должны производиться на специальной площадке, оборудованной принудительной
вентиляцией.
Составы лакокрасочных
материалов следует приготавливать в специальном помещении, оборудованном
принудительной вентиляцией и средствами пожаротушения.
Окрасочный участок
должен быть обозначен сигнальными знаками.
К рабочему месту
лакокрасочные материалы должны доставляться в плотно закрывающейся таре. По
окончании работы остатки лакокрасочных материалов должны быть возвращены в
краскоприготовительное отделение и храниться в закрытой таре.
К работе с
лакокрасочными материалами допускаются лица, прошедшие обучение и инструктаж. Курить,
пользоваться открытым огнём при приготовлении краски и выполнении окрасочных
работ запрещается.
10. Технологическое
оборудование и средства технической диагностики
В
целях снижения отказов колесных пар в эксплуатации, продления срока службы
колесных пар с буксовыми узлами необходимо внедрение новых технических средств,
исключающих влияние человеческого фактора на качество ремонта.
Характеристика
технологического оборудования, используемого в колесно-роликовом участке,
представлена в таблице.
Характеристика
технологического оборудования колесно-роликового участка
|
№ п/п
|
Наименование операции.
|
Используемое оборудование.
|
Тип, марка, проект оборудования.
|
1
|
Подъемно-транспортные операции.
|
Кран подвесной электрический
|
ГОСТ 7890-93
|
2
|
Контроль параметров
колесных пар
|
Комплекс для контроля параметров колесных пар
|
БВ 9272
|
3
|
Дефектоскопирование колесных пар
|
Стенд для дефектоскопирования
колесных пар
|
Стенд Р8617
|
4
|
Обмывка колесных пар
|
Моечная машина
для кол. пар
|
мод. МСО-010
|
5
|
Обточка колес по кругу катания
|
Станок колесотокарный
|
Рафамет UBB-112/2
|
6
|
Демонтаж и монтаж
роликовых букс
|
Эстакада для демонтажа и монтажа букс
|
|
|
|
Стенд для демонтажа и монтажа ролик. букс
|
УМДБ-5
|
|
|
Автоматический передвижной буксосъемник
|
|
|
|
Корпусосъемник
|
|
|
|
Автоматический передвижной буксонадеватель
|
|
7
|
Подготовка корпусов и деталей букс к ремонту
и монтажу на колесную пару
|
Автоматическая установка для выпрессовки подшипников,
зачистки и промывки корпусов букс
|
АУМКБ
|
|
|
Моечная машина для
деталей букс
|
АУМДБ
|
|
|
Транспортер для перемещения корпусов букс на позицию монтажа
|
Конвейерного
типа
|
|
|
Автоматизированная
установка для контроля корпусов букс
|
УКБ-01
|
8
|
Подготовка к ремонту подшипников
|
Автоматизированная установка для зачистки и промывки подшипников
|
АУЗПРП
|
9
|
Очистка оси колесной
пары
|
Станок для зачистки оси колесных пар
|
Пр. ПКБ
ЦВ Т. 1308
|
10
|
Дефектоскопирование и измерение колесных пар
|
Стенд для магнитного контроля и УЗД кол. пар
|
Стенд
Р8617
|
|
|
Установка для измерения параметров колесных пар
|
БВ 9272
|
11
|
Окраска колесных пар
|
Установка для окраски с устройством для проворачивания
колесной пары
|
УРБХ-1 Пр. ПКБ
ЦВ Т1290.
|
|
12
|
Перемещение
колесных пар
|
Поворотный
круг
|
Пневмоприводной
|
|
|
Сталкиватель колесных пар
|
Электропневматический
|
|
|
Трансбордер для кол. пар
|
Пр. ПКБ ЦВ
|
13
|
Нагрев лабиринтных и внутренних колец
|
Автоматическая
установка для нагрева колец
|
ПКТБ ЦТ
|
14
|
Транспортировка роликовых подшипников
|
Желоб подпольный
|
Т.640
|
15
|
Промежуточная ревизия роликовых букс
|
Эстакада для промежуточной ревизии букс
|
|
16
|
Ремонт и комплектовка деталей подшипника
|
Установка для дефектоскопирования
|
УМДП-1
|
|
|
Вихретоковый дефектоскоп для контроля роликов
|
МВУ 211.5
|
|
|
Вихретоковый дефектоскоп для сепараторов
|
КС-221
|
|
|
Автомат для зачистки торцов роликов
|
Гелиос
|
|
|
Автомат для зачистки цилиндрической поверхности роликов
|
Гелиос
|
|
|
Автомат для зачистки внутренней поверхности наружного кольца
подшипника
|
Гелиос
|
|
|
Автоматизированная установка для подбора роликов
|
УПР-01
|
|
|
Автоматизированная установка для контроля параметров подшипников
|
УКПП-01
|
|
|
Автоматизированная установка для подбора подшипников
|
УПП-01
|
|
|
Автоматизированная установка для подбора внутрен. колец
подшипника
|
УПК-01
|
|
|
Автоматизированная установка для подбора лабиринтных колец
подшипника
|
УПЛК-01
|
|
|
Центральный процессор информационно-измерительного комплекса
|
ИКР-01
|