Гідропривод бульдозерів
Тема: Гідропривод бульдозерів
Зміст
Вступ
1. Загальні відомості
2.
Схеми гідравлічної системи
Перелік
використаної літератури
Вступ
Залежно від потужності й конструкції
бульдозери можуть працювати на різних ґрунтах: від болотистих і піщаних до
розбірних, висаджених або розпушених порід і руд. Економічно вигідна дальність
переміщення ґрунту бульдозером залежить від класу базового трактора, виду й
міцності ґрунту й експлуатаційних розумів. Звичайно вона не перевищує 60 м.
При можливості перекосу відвала й
достатнім тяговому зусиллі бульдозерами з неповоротним відвалом можна
розробляти до 70% всіх видів ґрунтів, включаючи мерзлі й гірські породи, для
яких звичайно потрібне попереднє розпушування. Бульдозери з поворотним відвалом
мають обмежену область застосування. Їх в основному використовують для нарізки
терас на косогорах, засипання траншів поперечними ходами й прокладки піонерних
доріг. При цьому повернений у плані відвал дає деякі переваг. Положення центра
тиску базових тракторів не дозволяє використовувати відвал, повернений у плані
на кут менш 60° від поздовжньої осі. У зв'язку із цим безперервний схід ґрунту
убік не забезпечується й тому робота безперервними поздовжніми ходами практично
не дає ефекту. До 90-95% години такі бульдозери працюють із прямою установкою
відвала.
Бульдозери класифікують по
призначенню, номінальному тяговому зусиллю й різним конструктивним ознакам.
Робоче устаткування більшості
бульдозерів і всіх скреперів оснащено гідравлічним приводом. Він служить для
керування положенням елементів робочого устаткування при виконанні
технологічних операцій.
1. Загальні відомості
Гідравлічний привод складається з
наступних складових частин: насоса, що приводиться в дію від двигуна базової
машини; виконавчого механізму, що представляє собою гідроциліндр; механізму
керування - гідророзподільника; допоміжних пристроїв - гідробака, фільтра,
гідролінії.
У гідравлічному приводі обертальний
рух вала насоса перетворюється в поступальний рух поршня гідроциліндра. Енергія
передається від насоса до гідроциліндрів робочою рідиною.
Принцип роботи гідроприводу
розглянутий на Рис. 1. З гідробака 1 по усмоктувальній гідролінії 18 рідина
подається в насос 17, що нагнітає її по напірній гідролінії 15 до насосної
порожнини 12 гідророзподільника 14. Подальша робота гідроприводу залежить від
положення рукоятки 9 і зв'язаного з нею золотника 11 гідророзподільника 14.
Гідророзподільник складається з
корпуса 10, золотника 11, розміщеного в осьовому отворі, і рукоятки 9. До
осьового отвору підведені свердління порожнин, що відгалужують. Порожнина 12
з'єднує гідророзподільник з насосом, порожнини 13 і 7 підводять робочу рідину
до гідроциліндра 6, а зливальні порожнини 8 і 5 з'єднують гідророзподільник з
гідробаком 1.
При положенні 1 паски золотника 11 перекривають
доступ робочої рідини з порожнини 12 у порожнині 13 і 7, а також злив з них
через порожнини 8 і 5. У цьому випадку робоча рідина, що знаходиться в
гідроциліндрі, замкнений і керований елемент робочого устаткування нерухоме
(нейтральне положення ІІ). Робоча рідина, надходячи від насоса 17 до
гідророзподільника 14, підвищує тиск у напірній гідролінії 15 і, переборовши
опір пружини переливного клапана 16, убудованого в гідророзподільник,
зливається в гідробак 1.
При опущеному золотнику 11 (положення
ІІ) порожнина 12 з'єднується з порожниною 13 гідроциліндра, а порожнина 7 - з
порожниною 8 і шток гідроциліндра 6 починає висуватися.
Рис. 1. Принципові схеми роботи
гідравлічного приводу
І - нейтральне положення, ІІ - ІV -
робоче положення; 1 - гідробак, 2 - фільтр, 3, 4.15 , 18 - гідролінії, 5, 7, 8,
12, 13 - порожнини, 6 - гідроциліндр, 9 - рукоятка, 10 - корпус, 11 - золотник,
14 - гідророзподільник, 16 - гідроклапан, 17 - насос.
При піднятому золотнику (положення ІІІ) напрямок подачі зливу
рідини міняється на протилежне і, отже, шток гідроциліндра переміщається в
зворотному напрямку.
При опущеному в крайнє нижнє положення золотнику 11 порожнина
12 ізольована від обох порожнин 7, 13 гідроциліндра, що у цей час з'єднуються
зі зливальними порожнинами 5 і 8. Таким чином, при впливі зовнішнього
навантаження від робочого устаткування шток гідроциліндра переміщається, вільно
перекачуючи робочу рідину, що знаходиться в ньому, з однієї порожнини в іншу.
Таке положення називають "плаваючим" і використовують, наприклад, для
бульдозерів при переміщенні ґрунту по поверхні без зарізання ножа відвала.
Робоча рідина, застосовувана в гідроприводах, повинна
відповідати рядові вимог: мало змінювати в'язкість і не розкладатися при значних
перепадах температур, не впливати на матеріали елементів системи, що
ущільнюють, мати здатність протистояти піноутворенню. Робоча рідина одночасно є
змащеємим й антикорозійним середовищем для агрегатів і гідроліній системи.
В'язкість характеризує здатність рідини пручатися відносному
переміщенню її часток при впливі зовнішніх сил. Чим менш рухлива рідина, тим
більшою несучою здатністю вона володіє. З підвищенням температури несуча
здатність рідини зменшується. Щонайкраще вимогам, пропонованим до робочих рідин,
відповідають мінеральні оливи ВМГЗ і МГ-30. Ці рідини по своїх властивостях
можуть бути використані в експлуатації в холодний і жаркий час, тобто є
всесезонними. Застосування таких рідин дозволяє знизити їхню витрату за рахунок
зменшення втрат при заміні, скоротити витрати на транспортування і збереження,
зменшити імовірність забруднення при заливанні. Допускається також
застосовувати як робочу рідину дизельні оливи для літнього і зимового періодів,
а також веретенна олива АУ.
2.
Схеми гідравлічної системи
Гідравлічний привод робочого устаткування бульдозерів і
скреперів являє собою так називану роздільно-агрегатну систему, окремі елементи
якої розосереджені по всій машині.
Представлені нижче схеми гідросистем типові і для інших
моделей бульдозерів.
Рис. 2. Схеми гідравлічних механізмів
перекосу відвалів бульдозерів
а - ДЗ-101 і ДЗ-101А; б -ДЗ-110; в -
ДЗ-110А и ДЗ-118 (в останньої моделі гідроциліндр перекосу розташований
праворуч); г - ДЗ -35Б; 1 - штовхаючий брус; 2 - пальцевий шарнір; 3 - відвал;
4- гвинтовий розкіс; 5 - пальцеве з'єднання; 6 - гвинт; 7 - завзята шайба; 8-
гідроциліндр перекосу; 9 - кульова опора зі сферичною втулкою; 10 - сферичний
шарнір або шарнір зі сферичною втулкою; 11- шарнір із двома взаємно
перпендикулярними пальцями; 12 - напрямна скоба на відвалі; 13 - опорна шайба;
14 - гвинт із голівкою; 15 - кронштейн бруса із втулкою; 16 - палець; 17 -
растяжка; 18 - кульова опора
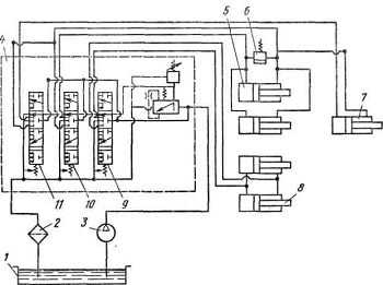
Гідросистема бульдозера-розпушувача (Рис. 3.) призначена для
підйому - опускання відвала бульдозера, зміни кута поперечного перекосу
відвала, а також підйому - опускання розпушувача.
Насос 2 постійної об'ємної подачі нагнітає робочу рідину з
гідробака 1 у трьохсекційний гідророзподільник 5. Чотирьохпозиційна секція 12 гідророзподільника
керує гідроциліндрами 3 і 4, встановлюючи відвал у фіксоване (нейтральне)
положення, у положення підйому - опускання або "плаваюче".
Секції 11 і 10 гідророзподільника є трьохпозиційними і
керують відповідно гідророзкосами 7 відвала і гідроциліндрами 8, 9 підйому -
опускання розпушувача. "Плаваюче положення", для цих робочих операцій
не потрібно.
У схемі передбачений двосторонній гідрозамок б, що замикає
обидві порожнини гідроциліндра 7 і запобігаючий перетіканню робочої рідини і,
отже, мимовільна зміна кута перекосу відвала під впливом зовнішніх навантажень.
Зливають рідина від зливальних гідроліній системи в гидробак
1 через фільтр 13.
Рис. 3. Гідравлічна схема
бульдозера-розпушувача ДЗ-116А
1 - гідробак, 2 - насос, 3, 4, 8, 9 -
гідроциліндри, 5 - гідророзподільник, 6 -гідрозамок, 7 - гідророзкіс, 10 - 12 -
секції гідророзподільника, 13 - фільтр
На Рис. 3 показане розміщення роздільно-агрегатної
гідравлічної системи на тракторі Т-130М.
Насос 14 приводиться в дію від двигуна трактора і
виключається рукояткою 13. Гідробаки 3 з'єднані між собою стяжною трубою, у
якій установлений фільтр, і повідомляються між собою гідролінією 2 і повітряною
трубкою 5. Гідророзподільник 11 встановлен у кабіну праворуч від сидіння
машиніста. Від гідророзподільника 11 назад виведені три пари гідроліній 10 для
з'єднання з гідросистемою бульдозера або скрепера. У бульдозері-розпушувачі
використовують дві пари гідроліній для з'єднання з гідросистемою розпушувача.
Гідросистема причіпного скрепера (Рис. 4.) призначена для
підйому - опускання ковша і заслінки, а також переміщення вперед та назад
задньої стінки ковша.
На відміну від бульдозерно-розпушувального агрегату в
скрепера використовуються всі три гідролінії 10 трактора (див. Рис. 3.3.), а
передні гідроциліндри 12 і підведені до них гідролінії не встановлюють.
Гідророзподільник 4 (Рис. 5.) трехзолотниковий,
трьозпозиційний. " Плаваюче положення", у скрепері не використовують.
Золотник 11 керує гідроциліндром 7 задньої стінки, золотник 10 -
гідроциліндрами 5 заслінки і золотник 9 - гідроциліндрами 8 підйому ковша.
Гідролінії від золотників 11 і 10 до штокових порожнин
гідроциліндрів 5 і 7 з'єднані в одну гідролінію, що дозволяє скоротити
кількість рукавів високого тиску і труб, прокладених між трактором і хоботом
скрепера.
Рис. 4. Розміщення
роздільно-агрегатної гідравлічної системи на тракторі
1 - зливальна пробка, 2 - гідролінія,
що з'єднує баки, 3 - гідробаки, 4 - сапун, 5 - повітряна трубка, 6 - зливальна
гідролінія від гідророзподільника, 7 - штуцер для манометра, 8 - гідролінія від
насоса, 9, 13 - рукоятки, 10 - гідролінія до агрегатуючої машини,
11-гідророзподільник, 12 - гідроциліндр підйому - опускання відвала, 14 -
насос.
Між штоковою і поршневою порожнинами гідроциліндрів 5
убудований запобіжний гідроклапан 6, що спрацьовує при тиску в гідролінії понад
4,5...5,5 Мпа. Гідроклапан захищає від поломок підоймовий механізм керування
заслінкою, якщо між нею і ножами в момент підйому ковша з положення різання
попадає камінь. У цьому випадку рідина в гідроциліндрах 5 через гідроклапан 6
перетікає зі штокової порожнини в поршневу.
Гідросистема самохідного скрепера принципово аналогічна
розглянутої вище. Відрізняється схема тим, що в напірній гідролінії між
гідророзподільником і гідроциліндрами підйому ковша убудовані гідравлічні
замки. Вони призначені для надійної фіксації ковша в піднятому положенні і
захисту рукавів високого тиску від динамічних навантажень, що виникають при
високих швидкостях руху.
Елементи гідравлічного приводу. Конструкції основних
елементів гідроприводу розглянуті нижче.
Рис. 5. Гідравлічна схема скрепера ДЗ-77
1 - гідробак, 2 - фільтр, 3 - насос, 4 - гідророзподільник,
5,7,8- гідроциліндри, 6 - гідроклапан, 9 - 11 - золотники.
Насос. У гідросистемах бульдозерів і скреперів застосовують
однотипні шестеренні насоси, що розрізняються в основному розмірами й об'ємною
подачею.
Принцип дії насоса (Рис. 6.) полягає
в наступному. Ведена шестірня 4 і ведуча шестірня 5 рівної ширини знаходяться в
зачепленні і розміщені з мінімальним радіальним зазором у корпусі 3. При
обертанні шестерень робоча рідина переноситься з порожнини усмоктування В в
порожнину нагнітання Б у вигляді порцій, що витісняються з западин зубів зубами
другої шестірні. У результаті робоча рідина пульсує і при відповідній частоті
обертання шестерень створює необхідну подачу і тиск у порожнині нагнітання.
Шестірні 4 виконані за одне з валами і спираються на бронзові втулки 2, зафіксовані
від повороту. Шейки втулок ущільнені в кришці 7 прокладкою 6, а виступаючий із
кришки хвостовик шестірні 5 захищений манжетою 8, притиснутої стопорним кільцем
9. Стик кришки 7 і корпуса 3 ущільнений такою ж прокладкою 6, що запобігає
витіканню робочої рідини з порожнини високого тиску Л, з'єднаної з порожниною Б
корпуса насоса.
Рис. 6. Шестерінчастий насос (а) і схема роботи (б)
1 - болт, 2 - втулка, 3 - корпус, 4, 5 - шестірні, б -
прокладка, 7 - кришка, 8 - манжета, 9 - кільце, 10 - переливний канал
Під тиском рідини в порожнини А торці втулок 2 притискаються
до торців шестерень і торцеві розточення корпуса 5. У такий спосіб утворюється
ущільнення між усіма внутрішніми торцями деталей насоса, що виключає перетікання
рідини з порожнини Б в порожнину В. Причому торці притискаються тим сильніше,
чим більше тиск у порожнині Б. Для розвантаження манжети 8 порожнина перед нею
з'єднана з порожниною В корпуси 3 каналом 10. У такий спосіб рідина, що
просочується в порожнину перед манжетою, відводиться в порожнину В.
Насос приводиться в дію через шлицьовий хвостовик шестірні 5.
Підводять і відводять рідину до порожнин В и Б по отворах, розташованим на
оброблених поверхнях припливів корпуса 3.
У процесі експлуатації насос не регулює.
Гідророзподільник. Гідророзподільник призначений для керуванн
пуском, зупинкою і напрямком потоку робочої рідини від насосу до відповідним
виконавчим механізмам - гідроциліндрам.
На базових гусеничних і колісних тракторах встановлюють
однотипні трьохзолотникові чотирьохпозиційні гідророзподільники (Рис. 7.) з
убудованими пропускним і запобіжним гідроклапанами. Це так названий
гідророзподільник з "закритим центром", у якого напірна гідролінія
(порожнина Д) у нейтральному положенні золотників є тупиковою і рідина
зливається через переливний гідроклапан 9.
Розглянемо пристрій і роботу цього гідророзподільника.
У нейтральному положенні (як показано на малюнку) золотники 7
перекривають робочі порожнини Ж, И гідроциліндрів і через свердління Б
повідомляють порожнини А и В зі зливом. Рідина від насоса надходить у порожнину
Д, створює в ній тиск більше, ніж у порожнинах А и В і з'єднаному з ними
просторі над верхнім паском гідроклапана 9, переборює опір пружини 8 і піднімає
гідроклапан, повідомляючи порожнину Д с порожниною зливу Е. Тому що порожнини
Ж, И гідроциліндрів замкнені, те кероване ними робоче устаткування утримується
в заданому положенні.
У робочих положеннях "підйом" і
"опускання" однієї з рукояток 4 золотник 7 своїми пасками відкриває
доступ рідини з порожнини Д в відповідну порожнину гідроциліндра, повідомляючи
іншу його порожнину з порожниною зливу Е.

Рис. 7. Гідророзподільник з
"закритим центром"
1, 6, 21 - кришки, 2; 12 - гвинти, 3,
9, 10 - гідроклапани, 4 - рукоять, 5 - важіль, 7, 13 - золотник, 8, 11, 19,
22-пружини, 14 - гільза, 15 - кулька, 16, 17 - склянки, 18 - втулка фіксатора,
20 - пробка, 23 - обойма фіксатора, 24 - корпус
Одночасно верхні паски золотника 7 перекривають порожнину В и
роз'єднують неї з порожниною Е. При цьому рідина, що надходить під тиском у
порожнину Д, через отвір Г надходить також у простір над паском гідроклапана 9
і порожнину В.
У положеннях "підйом",
"опускання" і "плаваюче" рукоятки фіксуються кульками 15
фіксатора. Передбачено автоматичне повернення золотників з положень
"підйом", "опускання" у "нейтральне" при
підвищенні тиску в системі до 11,5...12 Мпа. Це відбувається при
перевантаженнях робочого устаткування або упорі поршня наприкінці ходу
гідроциліндра.
В міру переміщення рукоятки 4 у
робоче положення золотник 7 стискає пружину 22 і кульки 15 фіксатора під дією
пружини 19 і скосів втулки 18 западають у лунки гільзи 14 - золотник
фіксується.
При підвищенні тиску в порожнині
нагнітання Д відкривається гідроклапан 10. Під тиском оливи золотник 13
відпускає втулку 18 і кульки випадають з лунок, а золотник 7 під дією пружини
22 повертається в нейтральне положення.
Тиск спрацьовування гідроклапана 10
регулюють стиском пружини 11 гвинтом 12. Натяг пружини 19 втулки 18 фіксатора
не регулюють, а пробка 20 повинна бути загорнена до упора в торець золотника 7.
Запобіжний гідроклапан 3 регулюють на
тиск 13...13 ,5 Мпа гвинтом 2. У випадку підвищення тиску в порожнині Д вище
заданого одночасно зростає тиск у порожнині Г над паском гідроклапана 9, що
через свердління К повідомлена з гідроклапаном 3. При цьому клапан 3
відкривається і перепускає одиву в порожнину Е, зменшуючи тиск у порожнинах К и
Г, що, у свою чергу, викликає підйом гідроклапана 9, злив рідини з порожнини Д,
і, отже, зниження тиску в системі до норми.
У гідросистемі робочого устаткування
самохідного скрепера ДЗ-11П установлений трьохсекційний трьохпозиційний
гідророзподільник з убудованим запобіжним гідроклапаном (Рис. 8). Основна
відмінність цього гідророзподільника від розглянутого вище - "відкритий
центр", при якому напірна порожнина з'єднується зі зливальною усередині
гідророзподільника прямо.
При "нейтральному"
положенні золотників 4 робоча рідина, що нагнітається насосом у напірну
порожнину И через порожнини Б и Г, зливається в гідробак.
Рис. 8. Гідророзподільник з
"відкритим центром"
І - гвинт, 2.5 , 8 - пружини, 3.6 -
гідроклапани, 4 - золотник, 7 - корпус
Під час переміщення золотника 4
нагору або вниз (по малюнку) порожнина Б перекривається від порожнини И, рідина
з порожнини И через порожнину Ж надходить відповідно в напірні порожнини В або
Д и далі до робочих порожнин гідроциліндрів. Рідина, що витісняється зі
зливальних порожнин гідроциліндрів, через порожнину Г зливається в бак. При
підвищенні тиску в порожнині И понад 10 Мпа спрацьовує запобіжний гідроклапан
3, до якого рідина надходить через дросселюючий отвір Е. Гідроклапан 3 під
тиском переборює опір пружини, піднімається і перепускає рідина на злив у бак,
знижуючи тиск у порожнині К. За рахунок різниці тиску в порожнинах К я И переливний
гідроклапан 6 піднімається і відкриває злив з порожнини И в порожнину А
зливальної гідролінії. При вирівнюванні тиску в порожнині И и порожнини А
переливний гідроклапан 6 під дією пружини перекриває злив і тиск у напірній
порожнині И знову зростає. Такий режим роботи гідросистеми (робота на
клапанному тиску) продовжується доти , поки навантаження, що викликає
підвищений тиск у системі, не буде усунуте.
Тиск робочої рідини в гідросистемі
регулюють підтягуванням пружини 2 гвинтом 1.
У гідросистемах робочого устаткування
потужних бульдозерно-розпушувальних агрегатів ДЗ-94С и самохідних скреперів
ДЗ-13А, ДЗ-115 використовують гідророзподільники з электрогидравлическим
керуванням. Їх установлюють поблизу виконавчих механізмів. Керують
гідророзподільниками дистанційно.
Гідророзподільник скрепера ДЗ-13А
показаний на Рис.9.
Гідророзподільник складається з
головного гідророзподільника 1, двох гідророзподільників керування 4 і
електромагніти 9.
При вмиканні кнопки електричного
пульта керування робочим устаткуванням якір електромагніта 9 з наконечниками 7
під дією магнітних сил переміщається ліворуч або праворуч в залежності від
обраного на пульті напрямку руху робочого органа і переміщає золотник б
відповідного гідророзподільника керування 4, включаючи його.
Рис. 9. Гідророзподільник із
електрогідравлічним керуванням
1, 4 - гідророзподільники, 2, 6 -
золотники, 3, 5 - пружини, 7 - наконечник якоря електромагніта, 8 - штепсельне
рознімання, 9 - електромагніт
При переміщенні лівого золотника 6
ліворуч робоча рідина з напірної порожнини А по свердлінню Г, порожнини
золотника 6 і свердлінню В попадає в порожнину Б золотника 2, що під дією
створеного на його торець тиску переміщається праворуч, з'єднуючи порожнину А с
напірною порожниною Ж, що веде до гідроциліндрів.
При вимиканні електромагніта золотник
6 під дією пружини 5 повертається у вихідне положення і перепускає рідину з
порожнини 5 по свердлінню В в порожнину золотника 6 і через свердління И в
зливальну порожнину Е. Тиск у порожнині Б падає, і золотник 2 під дією пружини
3 також повертається у вихідне положення, перекривши порожнину А від порожнин Ж
гідроциліндрів.
Вмикання правого (по малюнку)
гідророзподільника 4 аналогічно описаному вище. При цьому рідина з порожнини А
через золотник 6 попадає в порожнину Д золотника 2 і переміщає його ліворуч.
На скрепері ДЗ-ЗЗА додатково
встановлені об'єднані в одному корпусі переливний і запобіжний гідроклапани, що
працюють так само, як клапани розглянутих вище гідророзподільників. При
вмиканні будь-якого гідророзподільника одночасно за допомогою електромагніта
включається переливний гідроклапан, з'єднуючи напірну гідролінію, що веде від
насосів до гідророзподільників. При нейтральному положенні всіх
гідророзподільників (при непрацюючих гідроциліндрах) переливний гідроклапан
перепускає рідину від насосів на злив у бак.
Гідроциліндри. У гідроприводі
застосовують силові гідроциліндри двосторонньої дії, що передають зусилля в
обидва боки за рахунок зворотно-поступального переміщення рухливої ланки.
Гідроциліндр (Рис. 10) складається з
корпуса 4 та штоку 1 з поршнем 6. Корпус являє собою трубу з ретельно
обробленою внутрішньою поверхнею. З однієї сторони труба закрита глухою кришкою
9 з вушком, що у залежності від конструкції гідроциліндра може бути знімною і
кріпитися до корпуса гайкою 10 (як це показано на малюнку), або бути
привареною. Інший кінець корпуса закритий знімною кришкою 2 з осьовим
розточенням. Усередині корпуса переміщається поршень 6 з манжетами 5, що
запобігають перетекання робочої рідини з порожнин гідроциліндра, розділених
поршнем.
Зусилля від поршня 6 передає шток 1,
на зовнішньому кінці якого закріплена головка 13 з вушком. Порожнина
гідроциліндра, у якій розташований шток 1, називають штоковою; порожнина за
поршнем - поршневою. Робоча рідина надходить у порожнину і витісняється з них
через свердління 3, 7. При подачі рідини у свердління 7 шток 1 висувається, а
при подачі у свердління 3 - утягується. Тому що гідроциліндр одним вушком
з'єднаний з рамою машини, а іншої - з робочим органом, то при переміщенні штока
уздовж гідроциліндра змінюється довжина між вушками і, отже, положення робочого
органа щодо рами машини.
Щоб запобігти витіканню рідини по
штоку 1, його полірована поверхня захищена манжетами 11, встановленими в кришці
2. Крім того, передбачений брудознімач12, счищающий бруд зі штока при його
втягуванні в корпус гідроциліндра.
Рис. 10. Гідроциліндр
а - загальний вид, б - вповільнюючий
клапан, в - демпфер; 1 - шток, 2, 9 - кришки, 3, 7 - свердління для подачі
оливи, 4 - корпус, 5, 11 - манжети, б - поршень, 8 - оливниця, 10 - гайка, 12 -
брудознімач, 13 - головка штока, 14 - уповільнюючий клапан, 15 - шайба, 16 -
штифт, 17 - хвостовик; І - схема роботи при опусканні відвала, ІІ - те ж, при
підйомі;
Гідроциліндри, застосовувані на
різних бульдозерах і скреперах, розрізняються головним чином робочим діаметром
і ходом штока. По конструкції гідроциліндри принципово подібні розглянутому на
Рис. 11, а. У гідроциліндрах робочого устаткування деяких бульдозерів для
зменшення швидкості опускання відвала у свердліннях, через які підводять робочу
рідину до штокової порожнини, установлюють уповільнюючий клапан (Рис. 11, б).
Клапан 14 являє собою штуцер, у якому розміщена фасонна шайба 15. Її осьове
переміщення обмежене штифтом 16.
При висуванні штока гідроциліндра
(опускання відвала) рідина, що витісняється зі штокової порожнини, притискає
шайбу 15 до виточення клапана 14 і проходить на злив тільки через зменшений
центральний отвір шайби. Таким, чином швидкість опускання відвала
сповільнюється. При подачі рідини у штокову порожнину шайба 15 відсувається і
потік проходить через зазори між шайбою і внутрішнім діаметром штуцера, що
обумовлює більший прохідний перетин і, отже, збільшену швидкість переміщення
штока.
Щоб запобігти твердий удар поршня об
кришку, у деяких конструкціях гідроциліндрів передбачений демпфер (Рис. 11. в).
Принцип дії демпфера заснований на тому, що наприкінці ходу поршня частина
рідини в гідроциліндрі відтинається від зливальної гідролінії. Відбувається це
за допомогою хвостовика 17 штока, що поглиблюється в розточення кришки,
залишаючи вузький кільцевий зазор для витиснення рідини. Опір зливові в цьому
зазорі сповільнює хід поршня і зм'якшує (демпфірує) удар при його упорі в кришку.
Гідрозамки. У гідравлічних системах
гідрозамки (Рис. 11) перекривають гідролінії в одному напрямку.
Рис. 11. Гідрозамки
а - гідророзкосу
бульдозера-розпушувача ДЗ-116А, б - гідроциліндр підйому ковша скрепера ДЗ-11П;
1-кришка, 2.6 , 13 - пружини, 3 - кулька, 4 - сідло, 5 - гумове кільце, 7 -
поршень, 8 - корпус, 9 - штовхач, 10 - плунжер, 11 - дросель, 12 - клапан, 14 -
гільза
Гідрозамок гідророзкосу (Рис. 11, а)
складається з корпуса 8, закритого двома кришками 1, усередині якого розміщені
кулькові клапани. Працює гідрозамок у такий спосіб. При подачі робочої рідини,
наприклад, у ліву порожнину А під тиском ліва кулька 3 переборює опір пружини 2
і відкриває доступ потоку в порожнину Б, зв'язану гідролінією зі штоковою
порожниною гідророзкосу 7. Шток гідророзкосу починає переміщатися праворуч і
штовхальником 9 зрушує кульку 3, відкривши тим самим злив із правої порожнини
гідророзкосу через праві порожнини Б и А гідрозамка в гідророзподільник 5 і
гідробак 1. У нейтральному положенні обидві кульки 3 під дією пружин 2, а також
під тиском рідини в гідророзкосі, що виникає при зовнішніх навантаженнях,
притискаються до сідел 4, надійно перекривши перетекание робочої рідини між
порожнинами гідророзкосу.
Гідрозамок гідроциліндра ковша
скрепера (Рис. 11, б) працює в такий спосіб. При подачі рідини з
гідророзподільника в порожнину А під тиском відкривається клапан 12 і весь
потік вільно проходить у порожнину Б, потім у штокову порожнину гідроциліндра і
піднімає ківш.
При подачі робочої рідини від
гідророзподільника в поршневу порожнину гідроциліндра рідина одночасно
надходить у порожнину Г гідрозамка і піднімає плунжер 10 разом із дроселем 11.
У цьому випадку рідина з порожнини Б, зв'язаної зі штоковою порожниною
гідроциліндра, по отворах У надходить у порожнину А и далі на злив. Завдяки
зменшеному прохідному перетинові отворів У ківш плавно опускається.
Гідробак. Гідробак призначений для
збереженн, відсті і охолодженн робоч рідин і являти собою замкнут ємніст різн
конфігураці. Робочу рідину заливають у гідробак через горловину з фільтруючою
сіткою. У гкдробаке передбачений сапун, що з'єднує порожнину з атмосферою;
мас-ломер у виді щупа; вікна з прозорого матеріалу або контрольна пробка для
визначення рівня рідини, а також зливальна пробка. Для підведення і відводу
робочої рідини в стінки гідробака уварені штуцера. У гідробаках роблять
перегородки, що заспокоюють рідина і подовжують шлях її від зливальної
гідролінії до усмоктувальної, розділяючи лінії. Це поліпшує відділення повітря
від рідини, знижує пенообразование і підвищує ефективність охолодження.
Фільтри. Перш ніж потрапити в
гідробак, куди зливається робоча рідина проходить через фільтр, призначений для
її очищення від твердих часток, що потрапили. Фільтрація гідросистеми має
велике значення, тому що забруднення її в процесі роботи збільшує зношування
поверхонь тертя, приводить до відмовлень системи, порушує регулювання.
Фільтри можуть бути вбудовані
безпосередньо в гідробак або встановлені окремо (фільтри гідроліній), але
конструкція і принцип їхньої роботи практично однакові. Найчастіше фільтри
виготовляють із сітчастими фільтруючими елементами, що виконані у вигляді
дисків із двох фільтруючих сіток, надягнутих на штампований каркас і
завальцованих по зовнішньому і внутрішньому діаметрах.
На Рис. 12 показана конструкція
фільтра гідролінії із сітчастими елементами. Робоча рідина із системи надходить
у порожнину А кришки 1 і потім у відстійник 4, у якому осідають найбільш великі
частки забруднень. При проходженні рідини через сітчасті фільтруючі елементи 3
до порожнини Б и далі в гідробак дрібні частки осідають на сітках. Тонкість
фільтрації в залежності від фільтруючих елементів складає 25...63 мкм.
Рис. 12. Фільтр
1 - кришка, 2 - клапан, 3 фільтруючий
елемент, 4 - відстійник, 5, 7 - гайка
У кришці 1 установлений запобіжний
клапан 2, що перепускає всю робочу рідину крім фільтра з порожнини А в
порожнина Б при зростанні тиску до 0,35 Мпа, що відбувається при значному
засміченні фільтруючих елементів. У нижній частині відстійника 4 передбачена
пробка 5 для зливу відстою з фільтра. Регулюють клапан 2, підгортаючи пружину 6
гайкою 7 із заданим зусиллям.
Трубопроводи і їхні з'єднання. Всі
елементи гідросистеми з'єднані між собою трубопроводами, що служать для
напрямку потоку робочої рідини.
У гідросистемах скреперів і
бульдозерів трубопроводи випробують не тільки високий тиск, але і вібрацію, а
іноді навіть удари розроблювального ґрунту. На машинах застосовують тверді й
еластичні трубопроводи. Тверді трубопроводи виконують зі сталевих
суцільнотягнених труб. Монтаж гідроліній здійснюється з необхідністю вигину
труб під різними кутами. Радіус вигину залежить від способу гнучкі і діаметра
труби і знаходиться в межах 3...8 діаметрів. Тверді трубопроводи з'єднують між
собою або з елементами гідросистеми за допомогою сполучної арматури.
На Рис. 13 показане з'єднання
трубопроводу накидною гайкою з кільцями, що врізаються, 3. При зборці вони
вільно натягнуті на трубу 4 і можуть зміщатися уздовж неї для витримування
потрібного розміру між штуцерами 1 на двох кінцях трубопроводу. Після
затягування накидної гайки 2 на штуцері 1 кільце 3 обжимається навколо труби,
врізається в неї і стає нерухомим. При затягуванні гайки вибирають зазори між
конусом штуцера 1 і кільцем 3 у місці їхнього стику, утворити тим самим
герметичне з'єднання. Таке з'єднання трубопроводу зберігає роз'ємність і
можливість повторної зборки.
Еластичні трубопроводи (Рис. 13)
застосовують для з'єднання рухливих елементів гідросистеми або компенсації
неточності і полегшення зборки. Як еластичні трубопроводи використовують рукава
високого тиску (РВД) 6, що складаються з внутрішнього гумового шару, бавовняних
і міцних металевих оплеток, проміжних і зовнішніх шарів. У кінці рукавів
зашпаровують ніпелі 5 з накидними гайками 2 для з'єднання зі штуцером 1. Гайка
2 притискає кульову поверхню ніпеля 5 до конуса штуцера 1, створюючи герметичне
з'єднання. Для з'єднань гідроліній трактора і навісного устаткування
застосовують запірні пристрої (Рис.13. в). Вони дозволяють від'єднувати робоче
устаткування без зливу робочої рідини з гідросистеми. У зібраному запірному
пристрої упирающиеся один в інший кульки 8 відведені від сідел у корпусах 9 і
10 я відкривають шлях потокові рідини (показано стрілками) із правої порожнини
в ліву. Для від'єднання трубопроводу відвертають накидну гайку 2 і розводять
корпуса 9 і 10. Кульки 5 під дією пружин 7 притискаються до сідел і замикають
зовнішні порожнини корпусів 9, 10 від витікання рідини і проникнення повітря і
бруду в систему.
Рис. 13 З'єднання трубопроводів
а - твердих, б - еластичних, в -
запірнийпристрій, г - розривна муфта; 1 - штуцера, 2 - гайка, 3 - кільце, що
врізається, 4 - труба, 5 - ніпель, 6 - рукав високого тиску, 7, 14 - пружини, 8
- кулька, 9, 10, 12.16 - корпуса, 11 - хрестовина,13 - фіксатор, 15 - втулка
Для з'єднання гідросистеми з
причіпними машинами застосовують розривні муфти (Рис. 13. г). Корпуса 12 і 16
розривної муфти на відміну від запірного пристрою з'єднані запірною втулкою 15
з кульковим фіксатором 13. Кульки фіксатора, розташовані в гніздах корпуса 16,
виступають і заходять у кільцеву лунку корпуса 12, утримуючи них від
роз'єднання. При випадковому відриві причіпної машини від трактора рукава
високого тиску натягаються і переміщають обоє корпуса щодо втулки 15 до виходу
кульок фіксатора 13 з її розточення. У результаті цього муфта роз'єднується.
Кульки 8 замикають порожнини корпусів 12, 16, а втулка 75 під дією пружини 14
повертається на місце.
Перелік використаної літератури
1. Банников
С. А., Родичев В. А. Тракторы Т-150 и Т-150К:-2-е изд., перераб.М.:
Высш.
шк., 1984. - 175 с.
2. Захарчук
Б.З. Бульдозеры и рыхлители. - М. Машиностроение,1987.- 240 с.:ил.
3. Лауш
П.В. Техническое обслуживание и ремонт машин. - К.: Высшая школа, 1989. - 350с.
4. Полянський
С.К. Будівельно-дорожні та вантажопідіймальні машини. - К.: Техніка, 2001. -
624с.