Расчет и конструирование многопустотной панели покрытия ПК63.15-6Ат800
Расчет и конструирование многопустотной
панели покрытия ПК63.15-6Ат800
1.
Исходные данные
Для изготовления панели
принимаем:
Бетон кл. С12/15
(кл.В15); fск=7,7Мпа; fсtк=0,67Мпа;
.
Продольную арматуру – из стали класса S400; Rs=365Мпа; и поперечную арматуру из S240; Rs=225Мпа; армирование – сварными сетками в верхней и
нижней полках из проволоки класса Вр-I Rs=365Мпа.
2. Нагрузки , Н/м2.
|
№
п/п
|
Вид и расчет
нагрузки
|
Постоянная
|
Коэф. перегрузки
|
Расчетная
|
|
1
|
Постоянная
|
|
|
|
|
2 слоя изопласта
|
100
|
1,1
|
110
|
|
Цем.-песчаная стяжка
толщ.20мм
0,02х18000=
|
360
|
1,3
|
468
|
|
Утеплитель плиты
пенополистирольные Y=35кг/м3 толщ. 300мм
350х0,3=
|
105
|
1,1
|
116
|
|
Ж..-бет. пустотная
плита т.220мм
Вес плиты/площадь
=41900/1,49х8,98=
|
3130
|
1,1
|
3440
|
|
Итого
|
3695
|
|
4140
|
|
2
|
Временная снег
|
800
|
1,5
|
1200
|
|
Всего
|
4495
|
|
5340
|
Полная нагрузка при
расчете панелей qн=4495 qр=5340
Определение нагрузок и
усилий
1п.м. панели шириной 150см
нагрузка равна, Н/м:
qн=4495х1,5=6740Н/м; qр=5340х1,5=8010Н/м.
l0=6280-24/2=6160мм;
Расчетный изгибающий момент
от полной нагрузки:
Максимальная поперечная
сила на опоре от расчетной нагрузки:
Q=
Расчетная схема
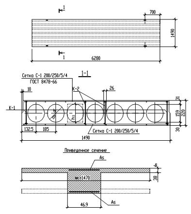
3.
Расчетные
данные для подбора сечений.
Панель рассчитываем,
как балку прямоугольного сечения с заданными размерами bхh=15х22см,
где b – номинальная ширина и h- высота панели. В расчете
поперечное сечение пустотной панели приводим к эквивалентному двутавровому
сечению. Заменяем площадь пустот прямоугольниками той же площади и того же
момента инерции. Вычисляем:
h1=0.9d=0.9х15,9=14,3см;
hn=
Приведенная толщина
ребер b=147-7
14.3=46.9см
Расчетная ширина сжатой
полки
4. Расчет по прочности
нормальных сечений.
Предварительно
проверяем высоту сечения панели перекрытия из условия обеспечения прочности при
соблюдении необходимой жесткости:
h=
где qн=qн+рн=3695+800=4495Н/м2
Принятая высота сечения
h=22см достаточна.
Отношение h
=3.8/22=0.173
в расчет вводим всю ширину полки
Вычисляем по формуле:
А0=
по табл. 2.11 находим
=0,1;
Высота сжатой зоны
нейтральная ось проходит в пределах
сжатой зоны полки.
Площадь продольной
арматуры.
Аs=
Принимаем 6 Æ10S400 с Аs=4,71см,
а также учитываем сетку
200/250/5/4 ГОСТ 8478-66) Аs.прод.=7
0,116=1,37см2, всего Аs=1.37+4,71=6,08см2,
стержни Æ12мм
распределяем по 2 в крайних ребрах и по1 в 2х средних ребрах.
5. Расчет по прочности
наклонных сечений.
Проверяем условие:
Q≤0.35xfскxγbxbxh0
Q=24600Н<0.35х13.5(100)х0.85х46.9х19=358000Н,
условие удовлетворяется,
размеры сечения достаточны.
Проверяем условие
необходимости постановки поперечной арматуры для многопустотных панелей по
формуле:
Q
Q=24600H<k1
fсtк
y
=0.6
0.67(100)
0.9
46.9
19=32240H,
следовательно
количество поперечной арматуры по расчету не требуется.
Поперечную арматуру предусматриваем
по конструктивным условиям, располагая ее с шагом не более:
назначаем поперечные
стержни диаметром 6мм, класса S240
через 10см у опор на участках длиной ¼ пролета. В конце этих участков,
т.е. на расстоянии 5,98/4=1,5м от опоры. В средней части панели для связи
продольной арматуры ставим поперечные стержни через 0,5м.
Проверяем прочность
наклонного сечения у опоры:
усилие на единицу длины
панели, воспринимаемое поперечными стержнями:
где As=
0.283
3=0.849см2
(для Æ6S240 в трех каркасах).
Поперечная сила,
воспринимаемая бетоном и поперечными стержнями:
значит прочность
наклонного сечения обеспечена.
6. Определение
прогибов.
Момент в середине
пролета равен: от полной нормативной нагрузки:
от постоянной нагрузки
от кратковременной
нагрузки
Определяем прогиб
панели приближенным методом, используя значения
Для этого
предварительно определяем
при
и арматуре класса S400
Общая оценка
деформативности панели по формуле:
т.к.
условие не
удовлетворяется, требуется расчет прогибов.
Прогиб в середине
пролета панели по формуле:
где
- кривизна в середине пролета панели по
формуле:
здесь коэфф. к1.кр=0,58;
к1дл.=0,48; к2дл=0,39; при
и
для двутавровых сечений.
Вычисляем прогиб:
что меньше
для элементов
перекрытий с плоским потолком
см.
табл.8.2.2 – 3см.
7. Расчет панели по раскрытию трещин.
Панель перекрытия
относится к третьей категории трещиностойкойсти, как элемент, эксплуатируемый в
закрытом помещении и армированный стержнями класса S400. Предельно допустимая ширина раскрытия трещин ат.кр.=0,4мм
и ат.дл.=0,3мм.
Для элементов третьей
категории трещиностойкойсти, рассчитываемых по раскрытию трещин, нормальных к
продольной оси, при действии кратковременных и длительных нагрузок должно
соблюдаться условие:
ат.дл.=ат.1-ат.2+ат.3<ат.пред.
где (ат.1-ат.2)
– приращение ширины раскрытия трещин в результате кратковременного увеличения
нагрузки от постоянной и длительной до полной; ат.3-ширина раскрытия
трещин от длительного действия постоянных и длительных нагрузок.
Ширину раскрытия трещин
определяем:
где k1=1 – как для изгибающих элементов;
- для стержневой арматуры
периодического профиля;
d=1.0 см по расчету
Еа=2,1
105 Мпа – для стали кл.S 400
kc=1.0, т.к. с=3см<0,2h=0.2
h=0.2
22=4.4см;
сД=1,0 – при
кратковременных нагрузках;
сД=1,5 – при
постоянных и длительных нагрузках.
Определяем Z1:
Здесь
1=0,55;
h0=19см;
Находим
Значения L от действия всей нагрузки:
Тоже, от действия
постоянной и длительной нагрузки:
Вычисляем
при кратковременном действии всей
нагрузки:
Продолжаем расчет как
тавровых сечений.
Величина
Упругопластический
момент сопротивления ж.-бет. таврового сечения после образования трещин:
Wa=As
Z1=6.08
17.1=104см3
Расчет по длительному
раскрытию трещин:
Мдл=26290Н
м.
Напряжение в растянутой
арматуре при действии постоянных и длительных нагрузок:
Ширина раскрытия трещин
от действия постоянной и длительной нагрузок при сД=1,5
Расчет по
кратковременному раскрытию трещин:
Мн=31980 Н
м; Мдл=26290 Н
м;
ат= ат1-
ат2+ ат3; где ат3=0,11 мм.
Напряжение в растянутой
арматуре при совместном действии всех нагрузок:
Приращение в растянутой
арматуре при совместном действии всех нагрузок:
Приращение напряжения
от кратковременного увеличения нагрузки от длительно действующей до ее полной
величины:
Соответствующее
приращение ширины раскрытия трещин при сД=1
Ширина раскрытия трещин
при совместном действии всех нагрузок:
аТ=0,11+0,021=0,123мм
< ат.кр=0,3м, т.е.
условие удовлетворяется.
См. табл.8.1 пункт б акр.=0.3мм
8. Проверка плиты на
монтажные нагрузки.
Панель имеет четыре
монтажные петли из стали класса S240,
расположенные на расстоянии 70см от концов панели. С учетом коэффициента
динамичности qД=1,5 расчетная нагрузка от
собственного веса панели равна
q=qД
2*1.1*2750*1.19=7200н/м
где gn=hпр*γ=0,11*25000=2750н/м2 – собственный вес
панели; hпр- приведенная толщина панели; γ
– плотность бетона, н/м3
а) Расчетная схема
Отрицательный изгибающий
момент консольной части панели:
M=q*l12/2=7200*0.72/2=1770Н*м
Этот момент
воспринимается продольной монтажной арматурой каркасов.
Полагая, что Z1=0.9h0; требуемая площадь сечения указанной
арматуры составляет
:
Что значительно меньше
принятой конструктивно арматуры 3Ø6 S240 c Аа=0,85см2