По расчетам видим, что 2 вариант раскладки балок экономичней
и эффективней по сравнению с первым вариантом. Значит расчет будем вести по 2 варианту.
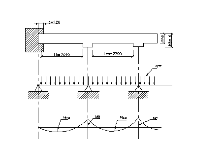
Для расчета монолитной плиты вырезаем полоску шириной 1м в направлении
короткой стороны.
|
№
|
Вид нагрузки
|
Нормат.
нагрузка кН/м2
|
gf
|
Расчетн.
нагрузка кН/м2
|
Постоянная нагрузка _ g
Керам. плитка d=0,013м, r=18кн/м3
Цем. - песч. р-р d=0,03м,
r=18кн/м3
Ж/б плита d=0,10м, r=25кн/м3
|
0,24
0,54
2,5
|
1,2
1,3
1,1
|
0,3
0,71
2,75
|
|
Итого
|
3,28
|
-
|
3,76
|
|
2
|
Временная нагрузка - u
|
16,0
|
1,2
|
19,2
|
|
3
|
Полная нагрузка - q
|
19,28
|
-
|
22,96
|
1)
Определение расчетных данных
Ммах =Мв=10,1 кн×м
ПО СНиП определяем: монолитные плиты армируются сварными сетками, выполненными
из арматурной проволоки Вр-I с
. Монолитные ребристые
перекрытия изготовляют из тяжелого бетона естественного твердения класса В15 - В25.
Принимаем класс бетона В25 с
По СНиП находим xR=0,565
2)
Задаемся шириной
По таблицам определяем:
3)
Определяем требуемое значение рабочей высоты элемента
Назначаем h кратную 1см
Þ h = 0,1 м.
1)
Определение максимального поперечного сечения арматуры
Определяем коэффициент А0:
где
Определяем коэффициенты x и h:
x = 0,085< xR, h =0,950
Определяем требуемую площадь поперечного сечения арматуры:
2)
Определение минимального поперечного сечения арматуры
Определяем коэффициент А0:
где
Определяем коэффициенты x и h:
x = 0,07<xR, h =0,965
Определяем требуемую площадь поперечного сечения арматуры:
Окончательно получаем:
Предлагаются 2 варианта армирования монолитной плиты:
1)
Рулонными сетками
2)
Плоскими сетками
Сетки укладываются согласно эпюре изгибающих моментов
d1, d2
- диаметр продольной и поперечной арматуры
S1, S2
- шаг продольной и поперечной арматуры
с1, с2 - выпуск продольной и поперечной арматуры
L - длина сетки
В - ширина сетки
На изготовление сеток идет арматурная проволока Вр-I диаметром 3,4,5 мм и арматура класса А-III диаметром 6,8 мм. Продольная и поперечная арматура ставится с
шагом кратным 50 мм (100, 150, 200, 250мм). В рулонных сетках продольную арматуру
можно изготавливать из арматурной проволоки.
Вырезав полоску шириной 1м, арматуру считаем тоже на 1 м:
Т.к.
,
то принимаем армирование рулонными сетками. По Аsтрmin подбираем рулонную сетку С1,
которая раскладывается поперек второстепенных балок по всей длине перекрытия с перехлестом
в поперечном направлении не менее 200 мм. Для крайнего пролета и крайней опоры укладываем дополнительную рулонную сетку С2. Ширина сетки С2 ≥1,25Lплиты.

Сетка С1 с продольной рабочей арматурой
на 1 метр ширины плиты
Сетка С2 с поперечной рабочей арматурой
Арматура в сетке С2 определяется, как разница максимально-требуемой арматурой
и той поперечной арматурой, которую подобрали в сетке С1. Для сетки С2 Аsтрmin= Аsтрmax - Аs (попер. ар-ры сетки С1) =3,13-2,515=0,615 см2.
на 1 метр ширины плиты
1) Расчетные данные:
Балки армируются сварными каркасами. Продольная рабочая арматура каркаса
выполняется из арматуры класса А-III Æ10мм и более.
2) Определяем требуемое значение рабочей высоты элемента:

Назначаем высоту кратную 5 см: hтр=0,45м.
Проверка: В= (0,3¸0,5)
h. Условие выполняется.
Чтобы перейти к дальнейшему расчету нужно перейти к расчетному тавровому
поперечному сечению и задаться размерами:
Принимаем b¢f =0,63м.
От действия положительного изгибающего момента второстепенная балка рассчитывается
как элемент таврового профиля. От действия отрицательного изгибающего момента балка
рассчитывается как прямоугольный элемент.
1) Расчетные данные: Мкр =100,4 кН×м Мср =63,7 кН×м
gв2 =0,9 RВ =13,05 Мпа, xR =0,565 RS =365 Мпа
Балки армируются сварными каркасами, в которых рабочая продольная арматура
идет класса А-III.
2) Определяем положение границы сжатой зоны бетона:
3)
Определяем коэффициент А0
Расчет будем вести отдельно для крайнего и среднего пролетов:
4) Определяем требуемую площадь арматуры:
Так как ширина полки: 10 <b<30 мм следует устанавливать 2 каркаса с рабочей арматурой по 2 или 4 стержня.
Нижняя продольная арматура в каркасе К-1 подбирается по
в крайнем пролете, а в каркасе
К-2 подбирается по
в среднем пролете.
По результатам подбора получилось следующее:
Для каркаса К-1: A-III с AS (2Æ16 + 2Æ14)
=7,1 см2
Для каркаса К-2: A-III с AS (2Æ18) = 5,09 см2
Верхняя арматура в каркасе К-1 и К-2 ставится конструктивно при пролете
до 6 м - Æ10мм, при большем пролете
- Æ12мм. В нашем случае Æ10мм.
1) Расчетные данные: Мв =100,4 кН×м Мс =63,7 кН×м
gв2 =0,9 RВ =13,05 Мпа, xR =0,565 RS =365 Мпа
Балки армируются сварными каркасами, в которых рабочая продольная арматура
идет класса А-III.
2) Определяем положение границы сжатой зоны бетона:
3) Определяем коэффициент А0
Расчет будем вести отдельно для крайнего
и среднего пролетов:
4)
Определяем требуемую площадь арматуры:
Арматуру для сетки С3 подбираем по
, а для С4 по
Т.к. ширина сетки <3630 мм,
то рулонные сетки раскладывают вдоль главных балок с рабочей поперечной арматурой.
Если больше, то укладывают плоские сетки с нахлестом поперек главных балок с продольной
рабочей арматурой. Применяем рулонные сетки вдоль главных балок с поперечной рабочей
арматурой.
По результатам подбора получаем:
Сетки С3 и С4 принимаем по ГОСТ 23279-85 со следующими маркировками:
Сетка С3 с поперечной рабочей арматурой
на
1 метр ширины плиты
Сетка С4 с поперечной рабочей арматурой
на
1 метр ширины плиты
1) Расчетные данные: Qmax=129,9кН, gв2= 0,9, Rb,t=0,9×1,05=0,945
Мпа, jв2=2, jв3=0,6. Определяем количество и Æ поперечной арматуры: n-2, dw³1/4 dmax
Назначаем шаг поперечной арматуры:
Защитный слой бетона: c³d1
В плитах: с ³
10 мм
В балках: h ³ 250 мм Þ с ³
20 мм
Расстояние между стержнями:
Принимаем с = 20 мм, d1 = 18 мм, с1 = 25 мм
h0 = 450-20-18-25/2
= 392,5 мм
В приопорной части шаг поперечной арматуры назначают
т.к. h = 392,5мм Þ
S = 200 мм
В средней части при h< 300 мм поперечная арматура не ставится, а при h> 300 мм поперечные стержни ставятся не реже, чем:
Т.к. h = 450 мм Þ
S = 340 мм, принимаю S=300 мм.
2)
Сжатые полки отсутствуют, значит коэффициент jf =0
3)
Продольной силы нет, принимаем jп
= 0
5)
Определяем интенсивность армирования:
6)
Ищем длину проекции наклонной трещины на продольную ось (расстояние от опоры
до конца наклон. трещины):
Если:
В любом случае принимают:
q1 - условная равномерно
распределенная нагрузка от внешних сил
Условие выполняется.
7)
Определяем поперечную перерезывающую силу, воспринимаемую сжатой зоной бетона
8)
Определяем с0 (длина проекции наклон. трещины на продольную
ось):
Принимаем с0=0,69м
9)
Определяем поперечную перерезывающую силу, воспринимаемую поперечной арматурой
10)
Делаем проверку прочности
Условие не выполняется Þ
поставленной поперечной арматуры недостаточно, значит увеличиваем диаметр, либо
уменьшаем шаг и расчет проводим заново начиная с 5 пункта.
Принимаем S =200мм
и ставим арматуру dw=8 мм A-III c As,w (2Æ8)
= 1,01 см2 Rs,w = 285 Мпа
5)
Определяем интенсивность армирования
6)
Ищем длину проекции наклонной трещины на продольную ось
Если:
В любом случае принимают:
q1 - условная равномерно
распределенная нагрузка от внешних сил
Условие выполняется.
7) Определяем поперечную перерезывающую силу, воспринимаемую
сжатой зоной бетона
8) Определяем коэффициент с0:
Принимаем с0=0,61м
9) Определяем поперечную перерезывающую силу, воспринимаемую
поперечной арматурой
10)
Делаем проверку прочности
Условие выполняется Þ
поставленной поперечной арматуры достаточно. Окончательно принимаем A-III c As,w (2Æ8)
=1,01см2 с шагом 200 мм.
11)
Проверка достаточности размеров
jw1=1+5a*µw=1+5*0,075*3,37*10-3=1,0013
µw=
a=
jb1=1-b*Rb=1-0,01*13,05=0,87
Q£0.3*jw1*jb1*Rb*b*h0=0,3*1,0013*0,87*13,05*103*0,15*0,393=201,05
кН, 129,9 кН á 201,05 кН
Ригель прямоугольный размерами b´h:
h=72 cм, в= 30 см
Если:
|
№
|
Вид нагрузки
|
Нормат.
нагрузка кН/м2
|
gf
|
Расчетн.
нагрузка кН/м2
|
|
1
|
Постоянная нагрузка _ g
1. Керам. плитка d=0,013м,
r=18кн/м3
2. Цем. - песч. р-р d=0,03м,
r=18кн/м3
3. Ж/Б плита пустотная dпривед.
=0,12м, r=25кн/м3
|
0,24
0,54
3,0
|
1,2
1,3
1,1
|
0,3
0,71
3,3
|
|
Итого
|
-
|
4,31
|
|
2
|
Временная нагрузка - u
|
8,0
|
1,2
|
9,6
|
|
3
|
Полная нагрузка - q
|
11,78
|
-
|
13,91
|
Постоянная нагрузка действующая на ригель gпог:
Временная нагрузка, действующая на ригель Vпог:
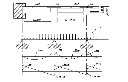
Для ригеля расчетной длиной среднего пролета является расстояние
в осях:
. Для
крайнего пролета расчетная длина равна расстоянию от разбивочной оси до центра тяжести
площадки опирания на каменную кладку:
Для построения эпюр М и Q определяем расчетные данные:
|
Схем нагрузки
|
М1
|
М2
|
МВ
|
QA
|
QBлев
|
QBпр
|
|
0,08
77,1
|
0,025
25,13
|
-0,1
100,52
|
0,4
65,62
|
-0,6
98,42
|
0,5
83,76
|
|
0,101
176,31
|
-0,05
91,95
|
-0,05
91,95
|
0,45
135,1
|
-0,55
165,1
|
0
0
|
|
-0,025
44,08
|
0,075
137,92
|
-0,05
91,95
|
-0,05
15,0
|
-0,05
15,0
|
0,5
153,24
|
|
0
0
|
0
0
|
-0,117
215,2
|
0,383
114,94
|
-0,617
|
0,583
178,7
|
Невыгодная нагрузка
|
1+2
253,41
1+3
33,02
|
1+3
163,05
1+2
66,82
|
1+4
315,72
|
1+2
200,72
|
1+4
283,62
|
1+4
262,46
|
1)
Расчетные данные
2) Определяем требуемое значение рабочей высоты элемента:
Назначаем высоту кратную 5 см: h0тр=
0,7м
Проверка: В= (0,3¸0,5)
h
В нашем случае условие выполняется.
h0=h-a=0,7-0.03=0,67м
В дальнейших расчетах будем использовать: В= 0,30м,
h= 0,70м.
1)
Определяем коэффициент:
2)
Определяем коэффициенты: h, x, при чем xR³x
3)
Определяем требуемую площадь арматуры:
Расчет на прочность нужно произвести 4 раза:
1.
На максимальный положительный изгибающий момент в первом пролете М1
(1+2). В результате подбирается нижняя продольная арматура в каркасе Кр-1.
Арматура устанавливается в 2 ряда.
2.
На максимальный положительный изгибающий момент в среднем пролете М2
В результате подбирается нижняя продольная арматура в каркасе Кр-2.
3. На изгибающий момент на грани колонны на опоре В
В результате подбирается верхняя продольная арматура, которая стоит в каркасе
Кр-1 и Кр-2 у опоры В.
4. На отрицательный изгибающий момент в среднем пролете
Так как ширина ригеля не более 30 см устанавливаем 2 каркаса.
Проводим расчет на прочность 4 раза:
1.
В результате подбора получаем арматуру А-III с As
(2Æ25 + 2Æ20) =16,1см2
2.
В результате подбора получаем арматуру А-III As
(2Æ25) =9,82см2
3.
В результате подбора получаем арматуру А-III As
(2Æ36) =20,36см2
4.
В результате подбора получаем (конструктивно) арматуру А-III As
(2Æ20) =6,28см2
1)
Расчетные данные:
Определяем количество и Æ
поперечной арматуры: n-2, dw³1/4 dmax
В приопорной части шаг поперечной арматуры назначают если:
Так как h =
700 мм Þ S = 200 мм
12)
Сжатые полки отсутствуют, значит коэффициент jf =0
13)
Продольной силы нет, принимаем jп
= 0
14)
Считаем величину Мв:
15)
Определяем интенсивность армирования:
16)
Ищем длину проекции наклонной трещины на продольную ось
Если:
В любом случае принимают:
q1 - условная равномерно
распределенная нагрузка от внешних сил
Условие выполняется.
17)
Определяем поперечную перерезывающую силу, воспринимаемую сжатой зоной бетона
18)
Определяем коэффициент с0:
Принимаем с0=1,13м
19)
Определяем поперечную перерезывающую силу, воспринимаемую поперечной арматурой
20)
Делаем проверку прочности
Условие выполняется Þ
поставленной поперечной арматуры достаточно. Окончательно принимаем A-III c As,w (2Æ10)
=1,57см2 с шагом 200 мм.
21)
Проверка достаточности размеров
jw1=1+5a*µw=1+5*0,075*3,14*10-3=1,0012
µw=
a=
jb1=1-b*Rb=1-0,01*13,05=0,87
Q£0.3*jw1*jb1*Rb*b*h0=0,3*1,0012*0,87*13,05*103*0,30*0,67=685,44
кН
283,62 кН á 685,44 кН
Построение эпюры материалов.
Производится по формуле:
Если арматура располагается в 1ряд:
Если арматура располагается в 2 ряда:
Защитный слой бетона:
В балках:
Расстояние между стержнями:
Несущую способность будем определять 6 раз:
1)
Несущая способность нижней арматуры в первом пролете
2) Нижняя арматура в первом пролете в полном объеме до торцов
ригелей не доходит. Разрешается оборвать не более 50 % арматурных стержней. Определяем
несущую способность нижней арматуры, дошедшей до торца элемента.
Обрываем 2Æ20 Þ остается 2Æ25 с Аs =9,82см2
3) Определяем несущую способность нижней арматуры во втором пролете.
4) Определяем несущую способность верхней арматуры на опоре В
5) Определяем несущую способность верхней арматуры во втором
пролете.
6) Определяем несущую способность верхней конструктивной арматуры
в первом пролете.
На практике арматурные стержни заводятся на точку теоретического
обрыва на W.
Конец W и является точкой реального обрыва. Длина заделки W рассчитывается.
W=max
gsw=
1.20d=20*0.02=0,4 м
Принимаю W1=0,4м.
2.20d=20*0.02=0,4 м,
Принимаю W2=0,4м.
3.20d=20*0.036=0,72м
Принимаю W3=0,72м.
4.20d=20*0.036=0,72м
Принимаю W4=0,72м.
1.
СНиП 2.03.01 - 84. Бетонные и железобетонные конструкции. М. 1984 г.
2.
Попов Н.Н., Забегаев А.В. Проектирование и расчет железобетонных конструкций.
М., Высшая школа, 1985 г.