Технология строительства промышленного здания с использованием железобетонных конструкций
Содержание
Введение
Исходные
данные к проектированию
1.
Компоновка поперечной рамы
2.
Сбор нагрузок на поперечную раму
3.
Статический расчет поперечной рамы
3.1
Статический расчёт поперечной рамы
4.
Расчёт и конструирование крайней колонны
4.1
Характеристики бетона и арматуры
4.2
Расчёт прочности надкрановой части колонны
4.3
Расчёт прочности подкрановой части колонны
4.4
Расчёт крановой консоли
4.5
Конструирование арматуры колонны
5.
Расчёт и конструирование фундамента под крайнюю колонну
5.1
Определение геометрических размеров фундамента
5.2
Расчёт и конструирование арматуры фундамента
6.
Расчёт и конструирование сегментной железобетонной фермы покрытия
6.1
Определение усилий в элементах фермы
6.2
Расчет верхнего пояса
6.3
Расчет нижнего пояса
6.4
Расчет элементов решетки
6.5
Конструирование элементов фермы
Список
литературы
Введение
В последние пятьдесят лет
в строительстве очень интенсивно стал применяться железобетон, как основной
конструктивный материал для возведения зданий и сооружений различных типов.
Прежде всего, это связано наличием у него ряда особенностей (прочность,
долговечность, не подвержен коррозии как сталь и гниению как древесина,
огнестойкость, устойчивость к агрессивной среде), которые и придают
железобетону широкое применение в строительстве, как небольших зданий, так и
особо важных объектах (плотины, сооружения оборонного назначения и др.). На
сегодняшний день железобетон применяется в 80% строящихся зданий и сооружений.
В данном курсовом проекте
рассчитаны и сконструированы основные несущие конструкции (колонна крайнего
ряда, фундамент колонны и ферма покрытия) одноэтажного, двухпролётного
промышленного здания.
Исходные
данные к проектированию
1. Конструктивная схема
здания:
2. Геометрические
характеристики объекта:
- общая протяжённость
здания K=132м
- пролет l1=27 м;
- шаг колонн s=12м;
- высота от нулевой
отметки до верха головки подкранового рельса Нр=14м.
3. Тип стропильной фермы
кровли – сегментная ферма
4. Расчётное сопротивление
грунта под подошвой фундамента Rгр =3,6∙10-1МПа.
5. Грузоподъёмность
мостового крана – Q=50т.
6. Место строительства –
г. Екатеренбург.
1.
Расчёт и конструирование ограждающих конструкций
Определение габаритных
размеров элементов здания
Колонна крайнего ряда
Определяем полную высоту
колонны по следующей формуле:
H0=H1+ H2 , (1.1.1)
где, H1 – высота нижней
части колонны от обреза фундамента до верха подкрановой консоли, определяемая
по формуле (1.1.2):
Н1= Нр – (hп.б. + hр) +
hоф, (1.1.2)
где, Нр =14 м – высота до
верха рельса до обреза фундамента;
hоф=150 мм – расстояние о
т нулевой отметки до отметки обреза фундамента;
hп.б – высота подкрановой
балки, принимаемая при шаге колонн 12м равной 1,4 м;
hр- высота подкранового
рельса, принимаем равной 150мм;
Н2 –высота верхней части
колонны, определяемая как сумма высот подкрановой балки, рельса, габаритного
размера мостового крана, а также необходимым нормативным зазором между краном и
стропильной системой.
H2=Hcr + (hп.б. + hр) + c
Hcr =3150мм – высота крана
(прил.1 [3]);
с – нормированный зазор
между краном и стропильной фермой, принимаем с=150мм;
Высота нижней части
колонны:
Н1=14 – (1,4 +0,15) +0,15
= 12,3 м
Высота верхней части
колонны:
H2= 3,15+ (1,4 +0,15)
+0,15 = 4,85 м
Полная высота колонны
крайнего ряда:
Hкр=12,3+4,85=17,15 м
Окончательно принимаем Hкр=18
м, что отвечает модулю кратности 1,2; при этом изменив высоту надкрановой части
H2=5,7 м.
Привязку крайних колонн к
разбивочным осям здания при шаге 12 м принимаем 250мм, т.к высота колонны >16 м . Соединение стропильных конструкций с колоннами выполняем путём сварки закладных деталей и в
расчётной схеме поперечной рамы считаем его шарнирным.
Принимаем согласно
грузоподъёмности мостового крана 50т и полной высоты крайней колонны сквозное
сечение колонны, для средней колонны принимаем сквозную двухветвевую колонну.
Размеры сечения колонн
устанавливаем с учетом обеспечения необходимой жесткости колонн:

Крайняя колонна: Средняя
колонна:
(мм);
(мм);
;
b=380мм
(мм);
;
(мм);
(мм);
(h1=[1/10…1/14]H1).
Ввиду того, что
проектируемое промышленное здание имеет протяжённость 132 м выше чем максимально допустимый размер температурного блока (60м; 72м), то в выбранном объекте
необходимо устройство температурных швов. Из условия необходимость устройства
температурных швов разбиваем здание на 2 температурных блока размерами 66 м. Си 48 м. необходимость устройства температурных швов разбиваем здание на 3 температурных блока
размерами 60перечной разбивочной
Поперечный температурный
шов выполняем на спаренных колоннах, при этом ось температурного шва совмещаем
с поперечной разбивочной осью, а оси колонн смешаем с разбивочной оси на 500мм.
Расстояние от разбивочной
оси ряда до оси подкрановой балки принимаем равной λ=750мм (для кранов с
грузоподъёмностью до 50т)
Пролет мостового крана:
Lк=l – 2L1=27000-2∙750=25500мм.
2. Сбор нагрузок на
поперечную раму ОПЗ
Постоянные нагрузки на
ригель рамы от веса кровли, стропильных балок принимаются обычно равномерно
распределенными по длине ригеля.
Постоянные нагрузки
зависят от типа покрытия, которое может быть тяжелым или легким, утепленным или
не утепленным. Покрытие состоит из сборных железобетонных плит, опирающихся
непосредственно на балки, пароизоляции, теплоизоляционного слоя,
водоизоляционного ковра, защитного слоя. Толщина теплоизоляционного слоя
принята без теплотехнического расчета в зависимости от расчетной зимней
температуры наружного воздуха.
Все нагрузки
подсчитываются с учетом коэффициента надежности по назначению (γн = 0,95
для большинства промышленных зданий).
Определение постоянной
нагрузки от покрытия, стенового ограждения и от собственной массы конструкций
Постоянная поверхностная
распределенная нагрузка от покрытия, включая собственный вес железобетонных
конструкций шатра определенная в таблице 1.
Таблица 1
Постоянная поверхностная
распределенная нагрузка от покрытия
|
Состав покрытия
|
Нормативная, кПа
|
Коэффициент перегрузки
|
Расчетная, кПа
|
|
Защитный слой гравия на
битумной мастике (γ = 21 кН/м3, t = 20 мм)
|
0,4
|
1,3
|
0,52
|
|
Гидроизоляция (4 слоя
рубероида)
|
0,2
|
1,3
|
0,26
|
|
Утеплитель (пенопласт
γ = 0,5 кН/м3, t = 100 мм)
|
0,05
|
1,2
|
0,06
|
|
Пароизоляция (1 слой
рубероида)
|
0,05
|
1,3
|
0,065
|
|
Ж/б ребристые плиты покрытия
(3х12 м) с учетом заливки швов,
|
1,72
|
1,1
|
1,98
|
|
Железобетонные фермы L=27
м,
|
0,42
|
1,1
|
|
|
|
|
|
Расчётная равномерно
распределенная линейная нагрузка на ригель рамы определяется по формуле:
,
где b – шаг поперечных
рам, b = 12 м;
Опорная реакция ригеля
рамы на крайней колонне:
FR,кр = qП ·L/2 = 38,17·27/2
= 515,3 кН,
на средней колонне:
FR,ср = qП ·L = 38,17·27 =
1030,6 кН,
где L – пролет здания,
равный 27 м.
Расчётная нагрузка от стеновых
панелей и остекления в верхней части колонны:
Расчётная нагрузка
передаваемая на фундаментную балку от веса остекления и стенового ограждения в
нижней части колонны:
Поверхностная масса
стеновых панелей 200 кг/м2 (Qст=2 кН/м2), переплетов с остеклением 35 кг/м2
(Qок=0,35 кН/м2).
γf,ст = 1,2 – для
стен; для остекления γf,ок = 1,1;
∑h – высота стеновой
панели или остекления.
Расчетная нагрузка от
подкрановых балок:
Fпб= γf ∙
γн ∙ Gпб = 0,95 ∙ 1,1 ∙ 115 =120,18 кН,
Gпб – нормативный вес
подкрановой балки пролетом L = 27 м.
Расчетная нагрузка от веса
колонн.
Крайние колонны:
надкрановая часть
;
подкрановая часть
кН
Средние колонны:
Определение нагрузок от давления
снега и ветра
Снеговая нагрузка
По приложению к СНиП
2.01.07 – 85* «Нагрузки и воздействия» вес снегового покрова в Екатеринбурге
(расположен в I–ом снеговом районе) расчётное значение снеговой нагрузки so = 1,8
кПа.
Линейная распределенная
нагрузка от снега на ригель рамы определяется по формуле:
qсн = γн· μ ·
so · b = 0,95·1·1,8·12 = 20,52 кН/м,
где so —расчётное значение
веса снегового покрова на 1 м2 горизонтальной поверхности земли, принимаемая в
зависимости от района строительства;
μ – коэффициент
перехода от нагрузки на земле к нагрузке на 1 м2 проекции кровли, при уклоне α ≤25º принять равным единице;
b — шаг стропильных
конструкций;
Расчетная снеговая
нагрузка:
– на крайние колонны:
Fкр, сн = qсн ·L/2 =
кН;
– на средние колонны:
Fср, сн = qсн ·L =
кН.
Ветровая нагрузка
По приложению к СНиП
2.01.07 – 85 «Нагрузки и воздействия» скоростной нормативный напор ветра в
Екатеринбурге (расположена во II-ом районе по давлению ветра) wo=0,38 кН/м2.
Тип местности В (города с окраинами, лесные массивы и подобные местности,
равномерно покрытые препятствиями высотой более 10 м).
При расчете одноэтажных
производственных зданий высотой до 36 м при отношении высоты к пролету менее
1.5, размещаемых в местностях типов А и В, учитывается только статическая
составляющая ветровой нагрузки, соответствующая установившемуся напору на
здание. Характер распределения статической составляющей ветровой нагрузки в
зависимости от высоты над поверхностью земли определяют по формуле:
qB = γн× γf ×weq ×c× b,
где weq —эквивалентное по
моменту в заделке значение ветрового давления;
с — аэродинамический
коэффициент; c = 0,8 - для наветренной стороны, c=0,6 - для подветренной стороны;
γf — коэффициент коэффициент
перегрузки, который для зданий равен 1,2;
b — ширина расчетного
блока.
Определим ординаты эпюр
нормативного ветрового давления на раму на высоте 5; 10; 12,3; 18 м. Коэффициент k, учитывающий изменение ветрового давления по высоте здания, определим
интерполяцией по таблице 6 СНиП 2.01.07-85*:
Табл. 2
|
Z высота, м
|
ki
|
w0,k = w0· ki , кПа
|
|
0 - 5
|
0,5
|
0,15
|
|
10
|
0,65
|
0,195
|
|
12,3
|
0,714
|
0,214
|
|
18
|
0,738
|
0,22
|
Переменный по высоте
колонны скоростной напор заменяем равномерно распределённым, эквивалентным по
моменту в заделке колонны (консольной балки длиной 12,3 м) по формуле:
где
– сумма моментов
относительно заделки колонны равнодействующих, определенных на участках в
пределах высоты колонны с линейно изменяющейся ветровой нагрузкой.
Расчётная погонная
нагрузка от ветра на крайние до отметки 18 м:
– с наветренной стороны w
= 0,95·1,2·0,232·0,8·12=2,54 кН/м;
– с заверенной стороны wp
= 0,95·1,2·0,232·0,6·12=1,91 кН/м.
Ветровую нагрузку на шатёр
– выше отметки 18 м (от низа ригеля до наиболее высокой точки здания), заменяем
сосредоточенной силой, приложенной в уровне низа ригеля рамы (на расчётной
схеме). Определим сосредоточенную силу от ветровой нагрузки:
Определение нагрузки от
крановых воздействий
Вертикальные усилия от
мостового крана
Согласно ГОСТ 25546–82
принимаем следующие характеристики для крана Q = 50/5 т: Fn,max = 465 кН, пролёт
крана Lк = 27– 2∙0,75 = 25,5 м, база крана K = 5250 мм, ширина крана В = 6760 мм.
Вертикальная крановая
нагрузка передается на подкрановые балки в виде сосредоточенных сил Fmax и Fmin
при их невыгодном положении на подкрановой балке. Расчетное давление на
колонну, к которой приближена тележка, определяется по формуле:
Dmax = γн∙γf
∙пс∙ Fn,max ∙∑yi ,
где γf – коэффициент
перегрузки;
nс – коэффициент сочетаний,
принимаемый равным 0,85 при 2-х кранах у крайней колонны и 0,70 при 4-х кранах
у средней колонны;
Fn,max – нормативное
вертикальное усилие колеса;
∑ yi – сумма ординат
линий влияния.
Силу Dmin можно определить
если заменить в формуле Fn,max на F n,min, т. е. на нормативные усилия,
передаваемые колесами другой стороны крана на противоположную колонну.
Наименьшее давление колеса
крана вычисляется по формуле (XIII.1 [1]):
,
где Q —грузоподъемность
крана в т;
Q k — полный вес крана с
тележкой, т;
no —число колес на одной
стороне крана.
.
Рис. 2. Линии влияния
крана (Fn = 195 кН).
Вертикальная крановая
нагрузка при 2-х сближенных кранах у крайней колонны:
Dmax_2 = 0,95∙1,1∙0,85∙465
(1+0,633+0,842+0,475)=1218,46 кН;
Dmin_2 = 0,95∙1,1∙0,85∙105,85
∙2,95= 277,36 кН.
Вертикальная крановая
нагрузка при 4-х сближенных кранах у средней колонны:
Dmax_4 = 2∙( γн∙γf
∙пс∙ Fn,max ∙∑yi)= 2∙(0,95∙1,1∙0,7∙465
∙2,95)= 2006,87 кН;
Определение горизонтальной
силы от мостового крана
Горизонтальная сила от
мостового крана, расположенная в плоскости поперечной рамы, возникает из-за
перекосов крана, торможения тележки, распирающего воздействия колес при
движении по рельсам, расстояние между которыми несколько меньше пролета крана и
т. п. Нормативное значение силы передаваемой одним колесом на поперечную раму,
для крана с гибким подвесом грузов, определяется по формуле (XIII.2 [1]):
где Q – грузоподъемность
крана (т);
n0 – число колес с одной
стороны крана;
QТ – масса тележки (т).
Расчетная горизонтальная
сила Т, передаваемая подкрановыми балками от двух кранов при поперечном
торможении на колонну от силы
, определяется по формуле
где γf – коэффициент
перегрузки, равный 1,1;
nc – коэффициент
сочетания, равный при работе двух мостовых кранов среднего режима работы 0,85;
∑y – сумма ординат
линий влияния (рис. 2).
3. Эксцентриситеты приложения
нагрузок
-от опорной реакции балки
покрытия в надкрановой части колонны:
м;
-от опорной реакции балки
покрытия в подкрановой части:
м;
-от вертикального давления
мостовых кранов на крайнюю колонну:
м;
-от вертикального давления
мостовых кранов на среднюю колонну:
м;
-от стен и остекления в
подкрановой части:
м;
3.
Статический расчет поперечной рамы
Составление задания на
статический расчет поперечной рамы на ЭВМ
Так как при расчете на ЭВМ
на расчетной схеме мы задаем не все эксцентриситеты приложения сил, то часть
вертикальных сил принимаем как моменты с плечом е0i.
1. Постоянная нагрузка от
собственного веса
При расчете на ЭВМ задаем:
– опорные реакции ригеля
рамы: на крайних колоннах: FR,кр = 515,3 кН; на средней колонне: FR,ср = 1030,6
кН;
– момент в месте
сопряжения ригеля с крайними колоннами:
МП1=FR,кр·е01 =515,3·0,15 =77,3
кН·м;
– момент в уступах крайних
колонн задаем от веса стеновых панелей и остекления (89,88 кН), веса подкрановой
балки (120,18 кН), надкрановой части колонны (32,13 кН) и опорной реакции
ригеля (515,3 кН):
МП2 = –F1 ·е04+Fпб ·е03 –
(FR,кр + Fкол,кр)·е02= –89,88·0,92+120,18·0,25 – (515,3+32,13)·0,45 = –44,17 кН·м;
– нагрузка от подкрановых
балок прикладывается в уступе: на крайних колоннах: Fпб=120,18 кН; на средней
колонне: Fпб_ср=240,36 кН;
Нагрузки от веса стеновых
панелей и остекления и колонны учитываем как распределенные соответственно по
высоте верхней ((89,88+33,95)/5,7=21,74 кН/м – для крайних; 33,95/5,7=5,95 кН/м
– для средних) и нижней части колонны ((111,15+289,2)/12,3=32,6 кН/м – для
крайних; 289,2/12,3=23,51 кН/м – для средних) .
2. Снеговая нагрузка
– опорные реакции ригеля
рамы: на крайних колоннах: Fкр, сн =277,02 кН; на средней колонне: Fср, сн =554,04
кН;
– момент в месте
сопряжения ригеля с крайними колоннами:
Мсн1= Fкр, сн·е01 =277,02·0,15=41,55
кН·м;
– момент в уступах колонн:
Мсн2 = Fкр, сн · е02 = 554,04
·0,15 =83,11 кН;
3.Вертикальное давление от
мостовых кранов
Вертикальная крановая
нагрузка от 2-х сближенных кранах:
Мmin на крайнюю колонну:
Мmin=Dmin*е03=277,36∙0,25=69,34
кН∙м
Мmax=Dmax*е03=1218,46∙0,75=913,84
(кН∙м)
Мmax на крайнюю колонну:
Мmin=Dmin*е03=277,36∙0,75=208,02(кН∙м)
Мmax=Dmax*е03=2006,87∙0,25=501,72(кН∙м)
4. Горизонтальная нагрузка
от торможения крановой тележки:
Расчетная горизонтальная
сила Т, передаваемая подкрановыми балками от двух кранов при поперечном
торможении на колонну от силы
, определяется по формуле
Т=74,79 (кН)
5. Ветровую нагрузку
принимаем линейно распределенной по высоте крайних колонн, сосредоточенную силу
от ветровой нагрузки – приложенной в уровне ригеля
На основании полученных
значений внешних воздействий производим определение внутренних усилий в
элементах поперечной рамы, для следующих загружений:
1. постоянная нагрузка;
2. снеговая нагрузка;
3. вертикальная крановая
нагрузка (от двух кранов) на левую колонну крайнего ряда;
4. вертикальная крановая
нагрузка (от двух кранов) на колонну среднего ряда;
5. вертикальная крановая,
от четырёх кранов, на колонну среднего ряда;
6. тормозная крановая на
левую колонну крайнего ряда;
7. то же на колонну
среднего ряда;
8. ветровая слева;
9. ветровая справа.
Результаты статического
расчёта для элементов поперечной рамы представлены в таблице № 3.
4.
Расчёт и конструирование крайней колонны
4.1 Характеристики бетона
и арматуры
Для изготовления колонны
применяется тяжёлый бетон класса В20, подвергнутый тепловой обработке при
атмосферном давлении. Данный бетон имеет следующие характеристики прочности и
деформативности: при коэффициенте условий работы γb2 = 1: Rb = 11,5 МПа;
Rbt = 0,90 МПа; Eb = 24·10³ МПа.
В качестве продольной
арматуры колонны принимаем арматуру класса А-III, d>10мм, имеющую следующие
характеристики Rs = Rsc =365 МПа; Es = 2·105 МПа, поперечную арматуру принимаем
класса А-I.
4.2 Расчёт прочности
надкрановой части колонны
Размеры прямоугольного
сечения: b = 380 мм; h = h2 = 600 мм; для продольной арматуры принимаем а = а'
= 40 мм, тогда рабочая высота сечения
h0 = h – а = 600 – 40 = 560 мм.
Рассматриваем сечение 1-0
на уровне верха консоли, в котором действуют три комбинации расчётных усилий,
приведённые в таблице. Так как в статическом расчёте рамы-блока по крайним
рядам принимались по одной колонне, то для подбора арматуры расчётные усилия
остаются те же (табл.№6).
Комбинации усилий для
надкрановой части колонны Таблица №6
|
Вид усилия
|
Величины усилий в
комбинациях
|
|
Mmax
|
Mmin
|
Nmax
|
|
M, кН·м
|
36,59
|
74,65
|
181,81
|
|
N, кН
|
892,83
|
643,51
|
892,83
|
Усилия от всех нагрузок
без учёта крановых и ветровых (см. табл.№5):
M' = 24,8 кН·м; N' =920,53
кН.
Усилия от продолжительно
действующих (постоянных) нагрузок:
Ml = 18,88 кН·м; Nl
=643,51кН.
Расчёт прочности сечения
колонны должен выполнятся на 4 комбинации усилий, а расчётное сечение
симметричной арматуры должно приниматься наибольшим. В целях упрощения
количества расчётов, расчет прочности сечения колонны можно производить по
наиболее опасному сочетанию нагрузок. В данном случае расчет производим по первому
сочетанию нагрузок (Mmax ).
Расчётное сопротивление Rb
принимаем с коэффициентом γb2 = 1,1, т.к. в комбинации включены
постоянная, снеговая, крановая и ветровая нагрузки.
Расчёт в плоскости изгиба
Расчётная длина
надкрановой части колонны в плоскости изгиба по табл. XIII.1 [1]; при учёте
крановых нагрузок l0 = 2H2; без учёта крановых нагрузок l0=2,5H2. В данном
случае l0 =2·5,7 =11,4 м.
Определяем гибкость
надкрановой части колонны по формуле:
λ=l0/i, (3.2.1)
где i – радиус инерции
сечения, м;
Так как минимальная
гибкость в плоскости изгиба λ=l0/i =1140/17,32 =48,5>14, то необходимо
учитывать влияние прогиба колонны на её несущую способность.
Случайные эксцентриситеты:
еа1 = l0/600 = 11,4/600 = 0,019 м = 19 мм;
ea2 = h/30 = 0,6/30 = 0,02
= 20 мм;
Эксцентриситет приложения
нагрузки е0 = |M|/N =3659/892,83 = 4,1см <еа2= =20 мм, следовательно
случайный эксцентриситет не учитываем.
Находим условную
критическую силу Ncr и коэффициент увеличения начального эксцентриситета
η.
, (IV.19[1])
где
δ = е0/h = 4,1/600 =
0,007< δе,
min = 0,5 – 0,01· l0/h –
0,01· Rb γb2 =0,5-0,14- 0,01∙11,5∙1,1 =0,234. Принимаем
δ= 0,234.
I –момент инерции
бетонного сечения, м4;
Is – приведённый момент
инерции сечения арматуры, вычисляемый относительно центра тяжести бетонного
сечения, и определяемый по формуле (3.2.3),м4;
, (3.2.2)
, (3.2.3)
μ – коэффициент
армирования, в первом приближении задаёмся равным 0,01;
а=а/ =4см – расстояние от
наружной грани до центра тяжести арматуры;
α =Es/Eb =200/24
=8,33
φl – коэффициент,
учитывающий влияние длительного действия нагрузки на прогиб элемента в
предельном состоянии, определяемый по формуле:
φl=1 + β∙Ml/M,
(IV.20[1] )
M и Мl – моменты,
определяемые относительно оси, параллельной границе сжатой зоны, проходящей
через центр растянутой или менее сжатой (при полностью сжатом сечении)
арматуры, соответственно от совместного действия всех нагрузок и от постоянной
и длительной нагрузки;
β – коэффициент
принимаемый согласно табл. IV.2[1], принимаем β=1.
Моменты М и МI одного
знака, тогда коэффициент, учитывающий длительное действие нагрузки:
φl =
1 + β·|M1l/M1| = 1 + 1·240,16/139,88 =2,72;
M1l = Ml
+ Nl·(0,5·h – a) =18,88 +643,51·(0,38·0,6 – 0,04) =138,86 кН·м;
M1 = M + N·(0,5·h – a) =36,59+892,83∙0,29=240,16
кН·м.
φsp – коэффициент,
учитывающий влияние предварительного напряжения арматуры на жёсткость элемента
в предельном состоянии, принимаем равным 1 т.к. нет предварительного обжатия.
Определяем моменты инерции
сечения:
Условная критическая сила
Определяем коэффициент
увеличения начального эксцентриситета по формуле:
η=1/(1 – N/Ncr), (IV.18[1])
η = 1/(1 –892,83/7190)
=1,14
Определяем высоту сжатой
зоны сечения, из уравнения (3.2.4).
N=Rb∙b∙x
+RscAs/ - RsAs (3.2.4)
Т.к. колонна имеет
симметричное армирование, т.е. As = As/ и Rsc =Rs, то из уравнения (3.2.4),
высота сжатой зоны сечения:
х = N/ Rb∙b, (3.2.5)
х=892,83/(1,1∙11500∙0,5)=14,1∙10-2м=14,1см
Определяем значение
граничной относительной высоты сжатой зоны:
, (II.42[1])
где w =0,85 -0,008 Rb
=0,85 – 0,008∙1,1∙11,5=0,749- коэффициент полноты фактической эпюры
напряжений в бетоне при замене её условной прямоугольной эпюрой; σsc,u
=400 МПа т.к. γb2>1; σSR=Rs =365 МПа.
ξR
=0.749/[1+365/400(1 – 0,749/1,1)]=0,58>ξ=0,211
Определение требуемой
площади сечения поперечной арматуры
Требуемая площадь сечения
продольной арматуры при симметричном армировании определяется по следующей
формуле:
, (IV.38[1])
где, е – расчётный
эксцентриситет продольной силы, определяемый по формуле:
е=е0 η +h/2 – а =4,1∙1,11
+30 – 4=30,55 см
Т.к. Аs<0, то площадь
арматуры назначаем по конструктивным соображениям Аs =0,002bh0 =0,002∙38∙57=4,33см2.
Принимаем 3d16A-III c As=6,03см2 по прил.VI.[1]; μ1=2∙6,03/(60∙38)=
0,004 для определения Ncrc ,было принято μ1=0,01 перерасчет не производим
из-за небольшой разности в значениях μ1 и по причине конструктивного
принятия сечения арматуры.
Проверку достаточности
сечения арматуры не производим по остальным сочетаниям т.к. различие в
продольной силе не значительны и они не могут существенно повлиять на сечения
арматуры.
Расчёт из плоскости изгиба
За высоту сечения
принимаем его размер из плоскости поперечной рамы, т.е. в этом случае h = b
=380 мм. Расчётная длина надкрановой части из плоскости составляет
l0= ψ·H1= 1,5·5,7=8,55
м (табл. XIII.1[1]).
Расчёт сечения колонны в
плоскости перпендикулярной плоскости изгиба не производим, т.л. гибкость из
плоскости
l0//iу=855/10,97 =77,93<
λ=l0/i=48,5, где
.
4.3 Расчёт прочности
подкрановой части колонны
Т.к. подкрановая часть
колонны имеет сплошное сечение, то расчёт выполняем аналогично расчету
надкрановой части.
Размеры прямоугольного
сечения: b = 500 мм; h = h1 = 900 мм; для продольной арматуры принимаем а = а'
= 50 мм, тогда рабочая высота сечения h0 = h – а = 900 – 50 = 850 мм.
Комбинации усилий для
надкрановой части колонны Таблица №6
|
Вид усилия
|
Величины усилий в
комбинациях
|
|
Mmax
|
Mmin
|
Nmax
|
|
M, кН·м
|
330,19
|
545,43
|
348,29
|
|
N, кН
|
2261,28
|
1663,61
|
2510,6
|
|
Q, кН
|
20,99
|
55,68
|
106,03
|
Усилия от всех нагрузок
без учёта крановых и ветровых (см. табл.№5):
M' = -7,81 кН·м; N'
=1441,69 кН Q′=2,27 кН
Усилия от продолжительно
действующих (постоянных) нагрузок:
Ml = -12,2кН·м; Nl
=1164,67кН Q=3,31 кН
Расчет производим по
третьему сочетанию нагрузок (Nmax ).
Расчётное сопротивление Rb
принимаем с коэффициентом γb2 = 1,1, т.к. в комбинации включены
постоянная, снеговая, крановая и ветровая нагрузки.
Расчёт в плоскости изгиба
Расчётная длина
подкрановой части колонны в плоскости изгиба по табл. XIII.1 [1]; при учёте
крановых нагрузок l0 = 1,5H1; l0 =1,5·12,3 =18,45 м.
Определяем гибкость
надкрановой части колонны по формуле:
λ=l0/i, (3.2.1)
где i – радиус инерции сечения,
м;
Так как минимальная
гибкость в плоскости изгиба λ=l0/i =18,45/43,3=42,49>14, то необходимо
учитывать влияние прогиба колонны на её несущую способность.
Случайные эксцентриситеты:
еа1 = l0/600 = 18,45/600 =
0,03 м =30 мм;
ea2 = h/30 = 1,5/30 =0,05=50
мм;
Эксцентриситет приложения
нагрузки е0 = |M|/N =34829/2510,6=13,87> >еа2= 25мм, следовательно
случайный эксцентриситет не учитываем.
Находим условную
критическую силу Ncr и коэффициент увеличения начального эксцентриситета η
по формуле (IV.19[1]).
δ = е0/h = 13,87/1500=0,009<
δе,
min = 0,5 – 0,01· l0/h –
0,01· Rb γb2 =0,5-0,132-0,01∙11,5∙1,1 =0,242. Принимаем
δ= 0,242.
α =Es/Eb =200/24
=8,33
Принимаем коэффициент
армирования равным μ=0,01
Определяем моменты инерции
сечения:
;
β – коэффициент
принимаемый согласно табл. IV.2[1], принимаем β=1.
Моменты М и МI одного
знака, тогда коэффициент, учитывающий длительное действие нагрузки:
φl =
1 + β·|M1l/M1| = 1 + 1·803,1/1001,37=1,8;
M1l = Ml
+ Nl·(0,5·h – a) = -12,2+1164,67·(0,5·1,5–0,05) =803,1 кН·м;
M1 = M + N·(0,5·h – a) =
-7,81+1441,69∙0,7=1001,37 кН·м.
φsp – коэффициент,
учитывающий влияние предварительного напряжения арматуры на жёсткость элемента
в предельном состоянии, принимаем равным 1 т.к. нет предварительного обжатия.
Определяем моменты инерции
сечения:
Условная критическая сила
Определяем коэффициент
увеличения начального эксцентриситета по формуле:
η=1/(1 – N/Ncr), (IV.18[1])
η = 1/(1
–2510,6/9720) = 1,35
Определяем высоту сжатой
зоны сечения, из уравнения (3.2.4).
N=Rb∙b∙x
+RscAs/ - RsAs (3.2.4)
Т.к. колонна имеет
симметричное армирование, т.е. As = As/ и Rsc =Rs, то из уравнения (3.2.4),
высота сжатой зоны сечения:
х = N/ Rb∙b, (3.2.5)
х=2510,6/(1,1∙11500∙0,5)=22,8∙10-2м=22,8см
Относительная высота
сжатой зоны: ξ=х/h0=22,65/150 =0,151.
Определяем значение
граничной относительной высоты сжатой зоны по формуле (II.42[1]):
ξR
=0,749/[1+365/400(1 – 0,749/1,1)]=0,58>ξ=0,324
w =0,85 -0,008 Rb =0,85 –
0,008∙1,1∙11,5=0,749σsc,u =400 МПа т.к. γb2>1;
σSR=Rs =365 МПа
ξR
=0.749/[1+365/400(1 – 0,749/1,1)]=0,58>ξ=0,211
Определение требуемой
площади сечения поперечной арматуры
Требуемая площадь сечения
продольной арматуры при симметричном армировании определяется по следующей
формуле:
, (IV.38[1])
где, е – расчётный
эксцентриситет продольной силы, определяемый по формуле: е=е0 η +h/2 – а =
37,78∙1,17 +40 – 5=72,78 см
Т.к. Аs<0, то площадь
арматуры назначаем по конструктивным соображениям Аs =0,002bh0 =0,002∙50∙150=15
см2. Принимаем 3d18A-III c As=7,63см2 по прил.VI.[1]; μ1=2∙7,63/(75∙50)=
0,004 для определения Ncrc ,было принято μ1=0,01 перерасчет не производим
из-за небольшой разности в значениях μ1 и по причине конструктивного
принятия сечения арматуры.
Расчёт из плоскости изгиба
За высоту сечения
принимаем его размер из плоскости поперечной рамы, т.е. в этом случае h = b = 500 мм. Расчётная длина надкрановой части из плоскости составляет l0= ψ·H1= 0,8·12,3 =9,84 м
(табл. XIII.1[1]).
Расчёт сечения колонны в
плоскости перпендикулярной плоскости изгиба не производим, т.л. гибкость из
плоскости l0//iу= 9,84/14,43 =6,8< λ=l0/i=48,5, где
.
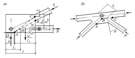
4.4 Расчёт крановой
консоли
На крановую консоль
колонны действует сосредоточенная сила от веса подкрановой балки и
вертикального давления кранов
Qc = (Gп + Dmax) = 120,2
+1218,46 =1338,66 кН.
Размеры консоли по рис.
3.4.: hc = 1000 мм; lc = 500мм; а = 40мм; h0 = 960мм. Подкрановые балки с
шириной опорной площадки 300 мм опирается поперёк консоли, тогда lоп = 300 мм; ll = 300 мм. Так как на консоль действуют нагрузки малой суммарной продолжительности, то
расчётные сопротивления бетона принимаем с коэффициентом γb2 = 1,1; Rb =
11,5 МПа; Rbt = 0,9 МПа.
Так как Qc =1338,66 кН
< 2,5· Rbt·b·h0 = 2,5·990·0,5·1,0 =1437,5 кН, прочность бетонного сечения
консоли достаточна и поперечное армирование её выполняется по конструктивным
требованиям. При hс=1000 мм >2,5·s = 625мм поперечное армирование принимаем
в виде горизонтальных хомутов из стержней Ø6 A-III с шагом 150 мм по высоте консоли.
Т.к. усилие от подкрановой
балки передается на консоль колонны не по всей площади то необходимо проверить
прочность бетона консоли под опорной площадкой .
Прочность консоли под
опорой плитой подкрановой балки на местное сжатие (смятие) определяется по
формуле
N < Rb,loc·Aloc, (3.4.1)
где, Aloc – площадь
смятия,
A loc =
b·lоп = 50·30 = 1500 см²;
Rb,loc - расчётное
сопротивление бетона местному смятию, определяется по формуле (IV.69[1]).
Rb,loc = φb· Rb∙γb2, (3.4.2)
φb – коэффициент,
учитывающий повышение несущей способности бетона при местном смятии,
принимаемый согласно эмпирической зависимости:
, (IV.70[1])
А1 – площадь опорной
поверхности консоли, А1 =k∙b =65∙50 =3250 см2
Rb,loc = 1,3∙11,5∙1,1
=16,45 МПа
Проверяем условие
прочности:
N = Qc
=1338,66 кН < Rb,loc·A loc = 16450·15·10-2 =2467,5 кН,
следовательно, смятие
бетона консоли не происходит.
Определяем требуемую
площадь сечения продольной арматуры консоли
Площадь сечения продольной
арматуры определяем по изгибающему моменту у грани колонны, увеличенному на
25%, принимаем ν=0,9:
As=1,25М/(Rsνh0), (XI.21[1])
где
М=Q∙s=1338,66∙0,25=334,67кН∙м
– изгибающий момент
консоли у грани колонны, согласно формуле (XI.22[1]).
As=1,25∙1338,67/(365∙103∙0,9∙0,96)=5,61∙10-4м2
=5,61см2.
Принимаем 2d20 A-III с
As=6,28 см2.
Конструирование арматуры
консоли
Т.к. данная консоль
является короткой (h=100см> 2,5s=62,5см), то армирование выполняем
посредством горизонтальных хомутов и отогнутых стержней. Суммарное сечение
отгибов пересекающих верхнюю половину отрезка lw: Аi=0,002bh0 =0,002∙50∙96=9,6
см2 принимаем 3d22 A-III с As=11,4 см2.
Горизонтальные хомуты
принимаем d6 А-I, с шагом 100 мм.
Для надёжной анкеровки
продольной арматуры, она должна быть заведена за грань колонны на длину не
менее чем lan = 12·d = 12·20 = 240 мм. Принимаем lan = h1 = 250 мм.
4.5 Конструирование
арматуры колонны
Схема армирования колонны
показана на рис.3.5.1. Надкрановая часть колонны армируется пространственным
каркасом образованным из двух плоских каркасов. Диаметр поперечных стержней при
диаметре рабочей продольной арматуры d16 мм принимаем из условия свариваемости
арматуры по прил.XI[1] d8мм A-III c шагом s=300мм, что менее 20d=20∙16=320мм.
Т.к расстояние в цвету между продольной арматурой в большем сечении колонны
превосходит минимально допустимое расстояние в свету между стержнями, то
необходимо между ними конструктивно установить дополнительные стержни. Диаметр
таких стержней для надкрановой и подкрановой части принимаем равным 12мм.
Аналогично производим
армирование подкрановой части колонны. В качестве поперечной арматуры принимаем
арматуру класса A-III d8, установленную с шагом s=300мм < 20 20d=20∙18=360мм.
5. Расчет и
конструирование фундамента
Данные для проектирования.
Расчетное сопротивление грунта R0 = 3,6 *10-1 (МПа); бетон тяжелый класса
B12,5; Rbt = 0,66 (МПа); арматура из горячекатаной стали класса A-300, RS = 280
(МПа); вес единицы объема материала фундамента и грунта на его обрезах
(кН/м3).
Расчет выполняем на
наиболее опасную комбинацию усилий: M = 348,29(кНм); N = 2510,6 (кН); Q =106,03
(кН). Нормативное значения усилий определяем делением расчетных усилий на
усредненный коэффициент надежности по нагрузке
. Mn = 302,86 (кНм); Nn = 2183,13
(кН); Qn = 92,75 (кН).
5.1 Определение
геометрических размеров фундамента
Глубину стакана фундамента
принимаем 90 см, что не менее значений:
(м);
(м);
(см),
где d – диаметр продольной
арматуры колонны. Расстояние от дна стакана до подошвы фундамента принимаем 250
(мм). Полная высота фундамента H = 900 + 250 = 1150 (мм) принимаем 1200 (мм),
что кратно 300 (мм). Определяем глубину заложения фундамента при расстоянии от
планировочной отметки до верха фундамента 150 (мм) H1 = 1200 + 150 = 1350 (мм)
= 1,35 (м). Принимаем фундамент трехступенчатым, высоту ступеней 40 (см).
Определяем предварительную
площадь подошвы фундамента:
(м2),
где 1,05 – коэффициент, учитывающий
наличие момента.
Назначаем отношение сторон
b/a = 0,8; получаем
(м);
(м).
Окончательно размеры
подошвы фундамента принимаем 3,6 х 3,2 (м).
A = 11,52 (м2); W = 6,9
(м3).
Определяем рабочую высоту
фундамента из условия прочности на продавливание по формуле:
,
где h – высота сечения
колонны; bcol – ширина сечения колонны;
(кН/м2);
(МПа):
(м).
Полная высота фундамента H
= 0,25 + 0,05 = 0,30 (м) < 1,2 (м). Следовательно принятая высота фундамента
достаточна.
Определяем краевое
давление на основание. Изгибающий момент в уровне подошвы:
(кНм).
Определяем нормативную
нагрузку от веса фундамента и грунта на его обрезах
(кН).
При условии, что:
(м);
(кН/м2);
(кН/м2).
5.2 Расчет и
конструирование арматуры фундамента
Определяем напряжение в
грунте под подошвой фундамента в направлении длинной стороны a без учета веса
фундамента и грунта на его уступах от расчетных нагрузок:
(кН/м2);
(кНм);
(кН/м2).




Определяем расчетные
изгибающие моменты:
в сечении I-I
,
где
(м);
;
(кН/м2);
(кНм);
в сечении II-II
(кНм);
(кН/м2);
в сечении III-III
(кНм);
(кН/м2).
Определяем площадь сечения
арматуры:
(см2);
(см2);
(см2).
Принимаем 17Æ14 A-300 с AS = 26,16
(см2). Процент армирования:
.
Арматура, укладываемая
параллельно меньшей стороне фундамента, определяется по изгибающему моменту в
сечении IV-IV:
(кН/м2);
(кНм);
(см2);
Принимаем 20Æ14 A-300 с AS = 58,6
(см2). Процент армирования:
.
6. Расчет и проектирование
сегментной железобетонной фермы
6.1 Данные для
проектирования
Требуется запроектировать
сегментную ферму пролетом – 27 м; высота фермы в середине пролета –l/9=3 м;
ширина сечения поясов b = 200 мм; сечение раскосов b x h = 200 х 100 мм.
6.2 Сбор нагрузок
Постоянная распределенная
нагрузка 3,35 кН/м2.
Fn = 3,35·3·0,95·12 =
48.65 кН.
Временная снеговая 1
кН/м2.
Fск = 1,8·0,95·4,5·12=
92,34 кН – кратковременная
Fск(30%) = 0,3·0,95·4,5·12
= 15,36 кН – длительная.
Собственный вес фермы
136,08 кН, а на 1 м длины
136,18/27 = 5,04 кН/м.
Fф = 15,36·0,95·4,5 =
65,79 кН.
Расчет выполняется с
помощью программы SCAD. Определяются усилия от единичной нагрузки. Усилия от
нагрузок получаются умножением единичных усилий на значения узловых нагрузок
Fi.
Характеристики бетона и
арматуры
Бетон В40; γb2 = 0,9;
Rb = 0,9·22 = 19,8 МПа;
Rbt = 0,9·1,4 = 1,26 МПа;
Rbt,ser = 2,1 МПа; Eb = 32500 МПа;
Канаты класса К-7 d = 15 мм Rs = 1080 МПа;
Rs,ser =
Rs,n = 1295 МПа; Es = 180000 МПа;
Арматура
A – III Rs = Rsc =365 МПа; Es = 200000 МПа.
Таблица 6.1
Усилия в элементах фермы
(кН)
|
Элемент
|
№
|
от
постоянной нагрузки
|
от
кратковременного действия снеговой
|
от
длительного действия снеговой
|
от
постоянной и кратковременной снеговой
|
от
постоянной и длительной снеговой
|
|
Нижний пояс
|
1
|
469,132
|
164,89
|
49,47
|
634,03
|
518,6
|
|
2
|
625,5468
|
216,01
|
64,8
|
830,55
|
679,35
|
|
3
|
625,5
|
219,85
|
66
|
845,35
|
691,45
|
|
4
|
595,96
|
209,47
|
62,84
|
805,44
|
658,8
|
|
5
|
625,5
|
219,85
|
66
|
845,35
|
691,45
|
|
6
|
614,55
|
216,01
|
64,8
|
830,55
|
679,35
|
|
7
|
469,13
|
164,89
|
49,47
|
634,03
|
518,6
|
|
Верхний пояс
|
8
|
-496,57
|
-174,54
|
-52,36
|
-671,11
|
-548,93
|
|
0
|
-475,602
|
-167,17
|
-50,15
|
-642,77
|
-525,75
|
|
2
|
-647,34
|
-227,533
|
-68,26
|
-874,87
|
-715,59
|
|
5
|
-644,175
|
-226,421
|
-67,93
|
-870,59
|
-712,1
|
|
8
|
-631,039
|
-221,804
|
-66,54
|
-852,84
|
-697,58
|
|
2
|
-631,039
|
-221,804
|
-66,54
|
-852,84
|
-697,58
|
|
3
|
-644,175
|
-226,421
|
-67,93
|
-870,59
|
-712,1
|
|
5
|
-647,34
|
-227,533
|
-68,26
|
-874,87
|
-715,59
|
|
6
|
-475,602
|
-167,17
|
-50,15
|
-642,77
|
-525,75
|
|
7
|
-496,57
|
-174,54
|
-52,36
|
-671,11
|
-548,93
|
|
Раскосы
|
1
|
-172,124
|
-60,5
|
-18,15
|
-232,62
|
-190,274
|
|
3
|
28,41
|
9,99
|
3
|
38,4
|
31,41
|
|
7
|
17,81
|
6,26
|
24,06
|
19,68
|
|
9
|
66,07
|
23,22
|
6,97
|
89,29
|
73,03
|
|
0
|
66,07
|
23,22
|
6,97
|
89,29
|
73,03
|
|
1
|
17,81
|
6,26
|
1,88
|
24,06
|
19,68
|
|
0
|
28,41
|
9,99
|
3
|
38,4
|
31,41
|
|
8
|
-172,124
|
-60,5
|
-18,15
|
-232,62
|
-190,274
|
|
Стойки
|
9
|
51,27
|
18,02
|
5,41
|
69,3
|
56,68
|
|
4
|
-27,39
|
-9,63
|
-2,89
|
-37,02
|
-30,28
|
|
6
|
-59,06
|
-20,76
|
-6,23
|
-79,82
|
-65,29
|
|
1
|
-59,06
|
-20,76
|
-6,23
|
-79,82
|
-65,29
|
|
4
|
-27,39
|
-9,63
|
-2,89
|
-37,02
|
-30,28
|
|
9
|
51,27
|
18,02
|
5,41
|
69,3
|
56,68
|
6.3 Расчет нижнего пояса
Максимальное расчетное
усилие N = 845 кН.
Определяем площадь сечения
арматуры
γs6 = 1,15
Аsp = N/Rs·γs6 =
845000/108000·1,15 = 6,8 см2.
Принимаем 5Æ15 К-7 с Аsp = 5,66
см2.
Расчет нижнего пояса на
трещиностойкость
Элемент относится к 3-й
категории. Принимаем механический способ натяжения арматуры. Величину
предварительного напряжения в арматуре ssp при Ds=0,05ssp назначаем из условия ssp+Ds<Rs,ser; ssp+0.05ssp<1300Мпа; ssp=1300/1.05=1238 Мпа.
Принято ssp=1200Мпа.
Определяем потери
предварительного напряжения в арматуре при gsp=1.
Первые потери:
а) от релаксации
напряжений в арматуре
s1 = (0,22(ssp/Rs,ser) – 0,1) ·ssp = (0.22(1200/1300) - 0,1) ·1200=123,7МПа
б) от разности температур
напрягаемой арматуры и натяжных устройств (при Dt=65)
s2 = 1,25Dt = 1,25·65 = 81,25Мпа
в) от деформации анкеров
(при l = 2мм)
s3 = Es·l/l = 1,8·105·0,2/2500 = 14,5 Мпа
г) от быстронатекающей
ползучести бетона при
sbp/Rbp = 8,78/28 = 0,313 < a = 0,75
s6 = 40·0,85·sbp/Rbp = 40·0,85·0,313 = 11Мпа,
где
sbp = P1/Ared = 879,09 Н/ см2.
Приведенная площадь сечения
Ared = A + åAsi*n = 20·30 + 5,66·5,54 =
631,36 см2.
n=Es/Eb=5,54,
Р1=Аs(ssp-s1-s2-s3)=5,66(1200-123,7-81.25-14,5)(100)=555019,6H=555,0196 kH
Первые потери составляют
slos1 = s1 + s2
+ s3 + s6 = 123,7 + 81,2 + 14,5
+11= 230,4Мпа
Вторые потери
а) от усадки бетона класса
В40, подвергнутый тепловой обработки, s8=50Мпа
б) от ползучести бетона
при
P1 = 5,66(1200-230,4)(100)
= 548793,6H,
sbp = 548,7936(1000)/631,36 = = 8,69 МПа
sbp/Rbp = 8,69/28 = 0,31 < a = 0.75
s9 = 150·0,85·sbp/Rbp = 150·0,85·0,31 = 39,6 МПа
Вторые потери составляют slos2 = s8 + s9 = 50 + 39,6 = 89,6 МПа
Полные потери
slos = s los1 + s los2 = 230,4 + 89,6 = 320 МПа
Расчетный разброс
напряжений при механическом способе натяжения принимается равным:
где
Dssp = 0,05ssp,
np = 5 (5Æ15 К-7
).
Так как Dgsp = 0,036 < 0,1, то окончательно принимаем
Dgs p= 0,1.
Сила обжатия при
gsp = 1 - Dgsp
= 1 – 0,1 = 0,9;
P = As(ssp - slos)gsp = 5,66
(1200 - 320)0,9 = 4482 кН.
Усилие, воспринимаемое
сечением при образовании трещин:
Ncrc = gi(Rbt,ser(A
+ 2nAs) + P) = 0,85(2,1(10-1 )(20·30+2·5,54·5,66) + +4482 = 392,8кН,
где gI = 0,85 - коэффициент,
учитывающий снижение трещиностойкости вследствие жесткости узлов фермы. Так как
Ncrc < Nn, то условие трещиностойкости не соблюдается, т.е.необходим расчет
по раскрытию трещин.
Проверим ширину раскрытия
трещин с коэффициентом, учитывающим влияние жесткости узлов gi=1,15 от суммарного
действия постоянной нагрузки и кратковременного действия полной снеговой
нагрузки.
Приращение напряжения в
растянутой арматуре от полной нагрузки
ss = (Nn - P)/As = 845 - 155
/5,66 = 121 МПа,
где
P = gsp(ssp - slos)As =
1·(1200 - 320)5,66 = 155 кH
Ширина раскрытия трещин от
кратковременного действия полной нагрузки
d - коэффициент, принимаемый для растянутых
элементов 1,2;
jl - коэффициент, принимаемый при учете
продолжительного действия постоянных и длительных нагрузок, 1,5 кратковременных
и непродолжительного действия постоянных и длительных нагрузок равным 1;
h = 1,2 для канатов;
m = As/b·h = 5,66/20·30=0,009;
d = 16 мм - диаметр К-7.
Тогда acrc = acrc1 - acrc2
+ acrc3 = 0,143 – 0 + 0 = 0,143 < (0,15мм)
6.4 Расчет верхнего пояса
Nmax= 874,87кН;
b x h = 20 х 20 см;
l = 300 см;
Расчетная длина
l0 = 0,9·300 = 270 см;
l0/b = l0/h = 13,5 <
20.
Пояс рассчитывается на
внецентренное сжатие с учетом только случайных эксцентриситетов
ea = 1 см;
ea ³ (1/30)·h = (1/30)·20 = 0,66 см;
ea ³ l/600 = 300/600 = 0,5 см;
ea ³ 1 см.
Проверяем несущую
способность сечения при e0 £
ea
N £ n·j[RbA +
Rsc(As + A’s)]
где
j = jв + 2(jr
- jв)v
Предварительно задаемся по
конструктивным соображениям процентом армирования m = 1% и вычисляем
As + A’s = mА = 0,01·20·20 = 4 см2.
Что соответствует 4Æ12 A-III с Аs = 4,52
см2
;
N1e / N = 647,34/874,87 =
0,74;
jв = 0,902; jr = 0,91
Тогда
j = 0,902 + 2(0,91 – 0,902)·0,21 = 0,905.
Подставляем полученные
значения:
874870 £ 0,905[1980·400 +
36500·4,52] = 896067 Н – условие удовлетворяется.
Определяем
I =
20·203/12 = 13333,33 см4;
α =
Es/Eb = 2·105/0,325·105 = 6,154;
m = 0,01;
Is = m·b·h0·(0,5h
– a)2 = 0,01·20·16·(0,5·20 - 4)2 = 115,2 см4;
М1ld = Мld + Nld(h0 – a)/2 = 0 + 647,34(16 - 4)/2 = 3884,04 кН·см;
М1 = 0 +
874,87(16 - 4)/2 = 5249,22 кН·см;
jl = 1 + β·М1ld/М1 = 1 +
1·3884,04/5249,22 = 1,74;
δl =
e0/h = 0,01/0,2 = 0,05;
δl,min
= 0,5 – 0,01·270/20 – 0,01·0,9·22 = 0,167.
Принимаем δl = δl,min = 0,167.
e = e0·h + 0,5·h – a = 0,01·2,86 +
0,5·0,2 – 0,04 = 0,0,886 м = 8,86 см.
Граничное значение
относительной высоты сжатой зоны бетона
ω = 0,85 – 0,008
γb2Rb = 0,85 – 0,008·0,9·22 = 0,692
Относительная продольная
сила
δ1 = а/h0 = 4/16 =
0,25
Следовательно, при
принятом сечении 20 х 20, арматура не требуется. Оставляем размер сечения
верхнего пояса одинаковым с нижним поясом и армирование 5Æ12 A-III с Аs = 4,66
см2
6.5 Расчет элементов
решетки
Рассмотрим растянутый
раскос №20
Nmax = 89,29 кН;
Аs = N/Rs = 89290/365·100
= 2,45 см2.
Принимаем 4Æ10 А-III с Аs = 3,14
см2.
Коэффициент армирования
m = Аs/А = 3,14/10·20 = 0,016 = 1,6% > mmin = 0,1%.
Остальные растянутые
раскосы и стойки армируем конструктивно
4Æ8 А-III с Аs = 2,01 см2.
m = Аs/А = 2,01/10·20 = 0,01= 1% > mmin = 0,1%.
Несущая способность
Nc = Rs·Аs = 365·100·2,01=
73,37 кН.
Стойки №9, №29 армируются
также, как и раскосы №19 и №20 - 4Æ10 А-III с Аs = 3,14 см2.
Рассмотрим сжатый раскос
№11
Nmax = - 232,62 кН;
l = 3,55 м;
l0 = 0,9∙355 = 319,5 см;
ea = h/30 = 0,33 см;
ea = l0/600 = 319,5/600 = 0,53 см, но не менее 1 см. Принимаем
ea = 1 см;
l0/h = 319,5/10 = 31,95
> 20.
где
e = e0η + h/2 – a = 1·1 + 10/2 – 3,5 = 2,5 см;
s0 = 0,5bh2 = 0,5·20·102 =
1000 см3.
Принимаем из
конструктивных соображений Æ8
А-III с Аs = 2,01 см2.
m = Аs/А = 2,01/10·20 = 0,01 = 1% > mmin = 0,1%.
Аналогично армируем все
остальные сжатые элементы решетки, так как усилия в них меньше чем для рассчитанного
раскоса.
6.6 Конструирование
элементов фермы
Расчет узлов
Опорный узел (рис. 8.1, а)
В опорном узле
подбираются:
- дополнительная
продольная ненапрягаемая арматура, компенсирующая понижение расчетного усилия в
напрягаемой арматуре из-за недостаточной анкеровки последней в узле;
- поперечные стержни,
обеспечивающие прочность по наклонным сечениям.
Рис. 6.1. К расчёту узлов
фермы: а – опорного узла; б – промежуточного узла
Требуемая площадь
дополнительной ненапрягаемой арматуры
Принимаем 4Æ12 А-III с Аs = 4,52
см2.
Требуемая длина анкеровки
ненапрягаемой арматуры
lan = 35d = 35·12 = 420 мм, меньше ее фактической длины
Расчет на отрыв по
наклонному сечению АВ
Принимаем в опорном узле
два каркаса, располагая их у противоположных граней узла; шаг поперечных
стержней в каркасе 100 мм. Тогда наклонное сечение пересекает
n = 2·8 = 16 стержней
Требуемая площадь сечения
одного поперечного стержня
где
Nsp = RspAspl’p/lp =
1080·566·580/1500 = 236,36 кН;
Ns = RsAsl1а/lar =
365·452·1 = 165 кН.
Принимаем Æ6 А-III с Аs = 0,28
см2.
Расчет на изгиб по
наклонному сечению АВ
где β – угол наклона
приопорной панели верхнего пояса tg β=145/290=0.5 и β=26,36°, sin β=0,448;
l = 1150 мм – длина опорного узла;
zsw = (l2 - 100)/2 = (850
- 100)/2 = 375 мм – расстояние от центра тяжести сжатой зоны до
равнодействующей усилий в поперечной арматуре узла;
а = 150 мм – расстояние от торца до центра опорного узла;
l2 = l –
300 = 1150 – 300 = 850 мм;
h0p =
hsup – 0,5·h = 800 – 0,5·300 = 650 мм.
.
Принимаем Æ6 А-III с Аs = 0,28
см2.
Промежуточный узел нижнего
пояса (рис. 6.1, б)
Фактическая длина заделки
l1 = 280 мм;
Длина линии отрыва
l2 = 645 мм;
Принимаем шаг поперечных
стержней 100 мм.
Количество поперечных
стержней
n = 645·2/100 – 2 = 12 шт.
Требуемая площадь сечения
одного поперечного стержня
где k2 = 1,1 – для данного
узла нижнего пояса;
j = 63,24°;
а = 3·d = 3·10 = 30 мм;
lan = 35·d = 35·10 = 350 мм;
.
Объединяем стержни в
каркас с помощью цельноугольного окаймляющего стержня площадью сечения
Принимаем окаймляющий
стержень Æ10
А-III с Аs = 0,785 см2.
Расчет монтажного узла
Две части фермы
соединяются накладками с помощью сварки. Расчет заключается в определении длины
накладки из условий размещения сварного шва.
Длина шва
Np = N/n – число сварных
швов
Np = 805.44/4 = 201.4 кН.
Принимаем длину накладки 7 см.
Верхний пояс и элементы
решётки армируются пространственными каркасами, собранными из плоских с
применением контактной точечной сварки. Диаметры продольных стержней
принимаются в соответствии с расчётом не менее 10 мм, поперечные и соединительные стержни диаметром мм класса А-I с шагом не более 20d и не менее 500 мм (для сжатых элементов фермы). Узлы ферм армируются пространственными каркасами, которые
образуются за счёт перегиба поперечных стержней плоских каркасов. Окаймляющие
стержни этих каркасов выполняются цельногнутыми диаметром не менее 10 мм и стыкуются у верхних граней опорного и промежуточных узлов верхнего пояса и нижних граней
промежуточных узлов нижнего пояса. В опорных узлах применяется дополнительное
армирование в виде анкерных стержней закладных деталей, хомутов и сеток
косвенного армирования Ø6 с шагом 100 мм на длине не менее 200 мм от торца фермы. Длина заделки арматуры растянутых элементов решётки в пределы вута и
пояса должна быть не менее k1·40d и не менее 300 мм, а сжатых – не менее 15d (K1 = σs/Rs, d – диаметр стержней). Усиленная анкеровка
растянутой арматуры решётки достигается приваркой арматурных коротышей длиной
6d или петель. Напрягаемая арматура распределяется по сечению нижнего пояса
равномерно с соблюдением минимальных расстояний между осями стержней (60 …80 мм
в зависимости от диаметра стержня или каната). По длине нижнего пояса вокруг
напрягаемой арматуры устанавливаются замкнутые хомуты с шагом не более 500 мм. Обычно это достигается установкой двух встречных П-образных каркасов. Длина каркасов принимается
сравнительно небольшой с тем, чтобы они не препятствовали укорочению нижнего
пояса при его обжатии усилием в напрягаемой арматуре.
Список
литературы
1.
В.Н.Байков, Э.Е.Сигалов Железобетонные конструкции: Общий курс – Учебник
для вузов. – изд. 4-е., перераб. М: Стройиздат, 1985. – 728с.
2.
Горев В.В. Металлические конструкции – изд.2-е, т.2.М: Высшая школа,
2002. – 527с.
3.
СниП 2.01.07-85*. Нагрузки и воздействия.
4.
СНиП 2.03.01 -84* Бетонные и железобетонные конструкции