Проектирование спортивных сооружений
ФЕДЕРАЛЬНОЕ АГЕНТСТВО ПО ОБРАЗОВАНИЮ
РОССИЙСКОЙ ФЕДЕРАЦИИ
ТОМСКИЙ ГОСУДАРСТВЕННЫЙ
АРХИТЕКТУРНО-СТРОИТЕЛЬНЫЙ УНИВЕРСИТЕТ
Кафедра «Дизайн архитектурной среды»
РЕФЕРАТ по
теме:
Проектирование
спортивных сооружений
Выполнила
ст-ка гр.536
Гармаш И.А.
Проверил
Левченко И.И.
ТОМСК 2008
Введение
Фитнес (англ. fitness, от
глагола "to fit" - соответствовать, быть в хорошей форме) - в более
широком смысле - это общая физическая подготовленность организма человека.
Физическая
подготовленность состоит из следующих элементов:
подготовленность
сердечно-сосудистой системы;
гибкость;
мышечная выносливость;
сила;
мощность;
развитость чувства равновесия;
хорошая координация
движений;
реакция;
быстрота;
соотношение мышечной и
жировой тканей в организме.
В биологии термин
«фитнес» означает индивидуальное совершенство особи, выражающееся в успехе
передачи генетической информации потомкам. Биологический фитнес определяется
как врождёнными характеристиками особи, так и её физическим состоянием и
особенностями поведения в конкретных условиях окружающей среды.
В узком смысле фитнес -
это оздоровительная методика позволяющая изменить формы тела и его вес и
надолго закрепить достигнутый результат .
Фитнес - это целая наука
о здоровом образе жизни, помогающая выработать готовность организовать свою
деятельность в непостоянном, изменчивом мире. Это образ жизни, направленный на
улучшение самочувствия и физического состояния человека. Система “фитнес”
зародилась в Америке. Это слово с английского можно перевести как “быть в
форме”, “соответствовать форме”. Понятие “форма” в настоящее время принято
рассматривать не только как физическое состояние тела, но и как состояние
здоровья в целом, уровень физической активности, систему питания, полезные
привычки. Возник и развился фитнес в противовес огромному количеству сидячей
работы и гиподинамии. В современном понимании фитнес оформился не так давно и в
обязательном порядке включает занятия физической культурой и любительским
спортом, подразумевает особое внимание к режиму питания и качеству пищи, отказ
от вредных привычек. Занятия фитнесом, как правило, кардинально меняют
представление человека о своем предназначении в жизни, дают возможность сделать
свою жизнь здоровой, полноценной и интересной. Многие часто начинают заниматься
фитнесом с одной целью - похудеть. А познакомившись поближе с этой системой,
понимают, что фитнес - это настоящая философия жизни. Это не только снятие
усталости, стресса, напряжения, это - поддержание формы и верный путь к
отличному настроению.
Проектирование
спортивных сооружений
Строительство спортивных
сооружений – это отдельное направление в работе строительных компаний, которому
сегодня оказывается особое внимание. Ведь каждое новое сооружение – это не
просто стены и площадки, это отлично спроектированные здания, оснащенные всей
самой современной техникой. Вот почему так важно сегодня проектирование
спортивных сооружений.
Современное спортивное
сооружение, это сложный «организм» в котором переплетены и одновременно идут
сложнейшие процессы, непрерывная работа над спортивными достижениями и
оздоровлением нации. Но параллельно с этим, сложные инженерные и
инженерно-технические системы, помогают «людям спорта» добиваться побед как в
районных первенствах и олимпиадах, так и просто чувствовать себя лучше,
занимаясь любимым видом спорта.
Полноценное спортивное
сооружение - это больше, чем просто здание или площадка. Это место встречи
людей – объединения единомышленников, воодушевления сообществ спортсменов и
болельщиков, создания атмосферы общения. Это объединение продуманной концепции,
планирования, технологий и дизайна. Понимание этого является залогом создания
успешного проекта.
В нашей стране к спорту
всегда относились с уважением, но в последнее время он из интересного и
увлекательного занятия превратился в модное со всеми вытекающими отсюда
последствиями. Спортивная индустрия неустанно развивается, производя на свет
большое количество новых материалов, технологических решений. Стоит отметить
возрастающие требования не только к высоким функциональным и прочностным
характеристикам сооружений, но и к оформлению (дизайну). Можно выделить
следующие группы спортивных сооружений:
Универсальные площадки
Волейбольные и
баскетбольные площадки
Теннисные корты
Поля для гольфа и
мини-гольфа
Тиры и другие сооружения
для стрельбы
Спортзалы
Спортивные площадки
Каждая из групп имеет
свои особенности при проектировании и строительстве, но здесь не имеет смысл их
описывать, т.к. они зависят как от конкретного типа местности, так и от
проекта. Важно определиться с типом сооружения и из множества предоставляемых
проектов и материалов выбрать именно те, которые идеально подходят конкретному
проекту. Например, использование легких металлических конструкций позволяет
придать любую геометрическую форму и этажность сооружениям. С другой стороны,
если основная идея - это близость природы, то почти те же конструкции можно
возвести, используя деревоклеенные арки, которые достаточно прочные и дают
дополнительные возможности дизайнерской мысли.
Сегодня спорт – это
неотъемлемая часть нашей жизни. Как спортивные мероприятия мирового и
государственного масштаба, так и соревнования и тренинги, в которых мы с Вами
можем принять непосредственное участие, приобретают с каждым днем все большую
популярность. Именно поэтому массовое строительство спортивных сооружений на
сегодняшний день является одной из наиболее значимых сфер деятельности
различных строительных организаций.
Однако потребность в
строительстве спортивных сооружений все еще довольно высока. Ведь главные
критерии таких помещений – это не столько скорость строительства, сколько
качество, надежность, долговечность и функциональность. Спортивные сооружения
должны представлять собой довольно сложный объект, где наряду с привычными и
прочными строительными материалами должны использоваться сложные инженерные
системы. Также не стоит забывать и о такой составляющей строительства, как
стоимость проекта. И естественно, что чем она ниже, тем это лучше.
Универсальные площадки.
Основное преимущество такого плоскостного сооружения – универсальность, т.е.
сочетание нескольких игровых полей: волейбольного, баскетбольного,
мини-футбольного, бадминтонного, теннисного корта, а так же и различного их
сочетания.
Теннисные корты. Сейчас
теннис – это не просто спорт, а элемент престижа и стиля. К тому же,
привязанность к игре в теннис наблюдается как у обеспеченных граждан, так и у
людей с небольшими доходами. Поэтому актуальность данного сооружения оправдана.
На теннисных кортах не только играют, но и заключают сделки и, следовательно,
корты должны соответствовать довольно высокому уровню. Еврокорт с размерами
36х18 подойдет для очень продвинутых теннисистов, а для большинства теннисистов
среднего уровня вполне удобен корт 34х17 или даже 32х16. Меньше корты не
рекомендуется строить, т.к. со временем игроки будут ощущать определенные
неудобства от игры на таком корте.
Системы кардио театра
Занятия на
кардиотренажерах очень популярны, но несколько однообразны. Для того чтобы
внести необходимое разнообразие и как-то занять внимание, тренажеры в
кардиозонах размещают, ориентируя их в одну сторону, создавая ряды с учетом
расположения занимающихся таким образом, чтобы всем было достаточно хорошо видно
ряд или группу телемониторов, установленных либо под потолком, либо на стене.
Такое расположение, видимо и вызвало ассоциацию с театром и породило само
название – кардиотеатр.
Внимание! Важные аспекты
проектирования кардиозоны!
Расположение мониторов –
самый важный аспект при проектировании кардиозоны. При этом важно учитывать не
только высоту подвеса мониторов, но и то, сколько мониторов с определенным
комфортом может просматривать каждый занимающийся. При построении системы с
коллективными мониторами крайне желательно обеспечить просмотр с одного места
как минимум двух-трх мониторов, только в этом случае система кардиотеатра
полностью раскрывает свой потенциал. В связи с этим очевидно, что наилучшими
являются решения, где мониторы составляют стену или полосу с минимальными
промежутками между ними.
Также к каждому тренажеру
необходимо протянуть кабели от стойки с оборудованием.
Спортивные залы
Расположение спортивных
залов в городе зависит от их назначения (имеют ли они универсальный характер
или предназначены только для занятий спортом) и от спортивных традиций страны,
региона или города. Необходимо обеспечить удобные транспортные связи,
достаточную площадь для автомобильных стоянок, удобную связь с другими
спортивными сооружениями.
Назначение зала: по
возможности универсальное (многоцелевое).
Размеры и форма зала.
Размеры зала зависят от величины игрового поля. Игровое поле размером 20 х 40 м
необходимо дня следующих игр: хоккей на роликах, хоккей, гандбол, теннис,
баскетбол, волейбол, бадминтон, волейбол и поло на велосипеде.
Поле таких размеров
пригодно также для фигурного катания, настольного тенниса, бокса, борьбы,
фехтования, дзюдо, тяжелой атлетики, а также некоторых легкоатлетических
дисциплин (толкание ядра, прыжки в длину, высоту и в высоту с шестом) и
гимнастических упражнений.
Высота зала в зависимости
от его размеров может составлять в свету 7 - 15 м. Перекрытие зала чаще всего
имеет арочное очертание с подъёмом дуги в зоне максимальной высоты полета мяча.
В зале не должно быть
промежуточных внутренних колонн. По средней поперечной оси должен быть
обеспечен беспрепятственный обзор всего игрового поля.
Естественное и
искусственное освещение. Требуется равномерная освещенность, характеризуемая
отношением E мин / E макс, согласно нормам DIN 5034 («Естественное освещение»);
для всех видов игр с мячом требуется мягкое освещение. Освещённость мест для
зрителей должна быть меньшей, чтобы игровое поле выделялось. Хорошее общее
освещение (150 - 200 лк) при соревнованиях по боксу, борьбе, гимнастике, настольному
теннису, фехтованию и т.п. должно дополняться местным направленным освещением
(рис. 1).
Рис. 1
Рис. 2
Техническое оборудование
(рис. 2). Для проведения соревнований должны быть предусмотрены места для
зрителей с отдельным по возможности проходом к ним. Передвижные трибуны для
зрителей могут быть встроены в стенные ниши. Желательно предусмотреть в
середине зала, напротив трибун для зрителей, табло с указанием времени, микрофон
и щиток управления освещением.
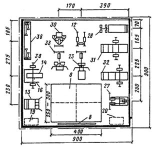
Рис. 3 - Большой и малый
спортивные залы при Дармштадтском высшем техническом училище: 1 - снарядная; 2 -
малый зал; 3 -мужская раздевальня; 4 -вахтерская; 5 - вестибюль; 6 - комната
преподавателей; 7 - раздевальня для мальчиков; 8 - хронометражная, 9 - хранение
спортивных костюмов; 10 -машинное отделение; 11 - хранение мячей; 12 - хранение
уборочного инвентаря; 13 -большой зал
Залы для спортивных игр и
гимнастики размещают в удалении от магистральных улиц и промышленных
предприятий (рис. 3). Направление продольной оси зала - с востока на запад.
Стены зала должны быть гладкими, без выступов и ниш; поверхность стен -
прочной, светлой и легко очищаемой. Покрытие стен должно быть эффективным в
акустическом отношении, время реверберации не должно превышать 1,8 с. Двери
зала по возможности не следует располагать по торцам; размещение дверей по
средней оси, на которой находятся ворота для ряда спортивных игр, не
допускается. Двери в запертом состоянии должны быть заподлицо со стеной
(дверные приборы втоплены в полотна).
Для переносных
гимнастических снарядов следует предусматривать крепления и места хранения (для
перекладин, канатов, колец, шведских стенок, колец для баскетбола должны быть
крепежные планки в полу, балки для подвески и т.п.). Оси снарядов должны быть
перпендикулярны продольной оси зала:
а) ось стоек для колец
проходит по середине зала;
б) ось перекладины - на
расстоянии 6 м от торцовой стены, противоположной входу; оси канатов -на
расстоянии 4-5 м от торца зала.
Площадь окон должна
составлять 1/5 общей площади поверхности стен. Спортивные залы должны иметь
естественное освещение, но не слепящее (следует предусматривать солнцезащитные
козырьки, жалюзи); не допускается устройство широких межоконных простенков,
являющихся причиной резких контрастов в интенсивности освещения. Остекление
следует выполнять из небьющегося стекла до высоты 3,5 м от уровня пола.
Подоконники на высоте ≥ 2,2 м можно устраивать только по одной продольной
стороне зала.
В помещениях для занятий
физкультурой площадь окон должна быть ≥ 1/3 общей площади поверхности
стен.
Схема взаиморасположения
помещений в гимнастическом зале средней величины.
Установка временных мест
для сидения зрителей в крытых спортивных сооружениях должна исключать
возможность их опрокидывания или сдвижки.
В дополнение к СНиП
II-4-79 допускается проектировать без естественного освещения: помещения,
размещение которых допускается в подвальных этажах; спортивно-демонстрационные
и спортивно-зрелищные залы и катки; комнаты инструкторского и тренерского
составов; помещения массажных, парильные, а также помещения бань сухого жара;
помещения для стоянки машин, буфетные и другие подобные кабинеты и помещения.
В помещениях с влажным и
мокрым режимами устройство ниш в наружных стенах для размещения нагревательных
приборов не допускается. Систему вытяжной вентиляции из санитарных узлов и
курительных допускается объединять с системой вытяжной вентиляции из душевых.
Удаление воздуха из
зальных помещений, за исключением залов ванн бассейнов, следует, как правило,
предусматривать вытяжными системами с естественным побуждением.
В малых населенных
пунктах, жилых районах и в сельской местности спортивные залы без мест для
зрителей или при их числе не более 100 допускается проектировать с естественной
приточно-вытяжной вентиляцией с обеспечением однократного воздухообмена в час.
ПЕРЕЧЕНЬ
ПОМЕЩЕНИЙ ОБЩЕСТВЕННЫХ ЗДАНИЙ, РАЗМЕЩЕНИЕ КОТОРЫХ ДОПУСКАЕТСЯ В ПОДВАЛЬНЫХ И
ЦОКОЛЬНЫХ ЭТАЖАХ
Подвальные
этажи
Бойлерные; насосные
водопровода и канализации; камеры вентиляционные и кондиционирования воздуха;
узлы управления и другие помещения для установки и управления инженерным и
технологическим оборудованием зданий; машинное отделение лифтов.
Вестибюль при устройстве
выхода из него наружу через первый этаж; гардеробные, уборные, умывальные,
душевые; курительные; раздевальные; кабины личной гигиены женщин.
Кладовые и складские
помещения (кроме помещений для хранения легковоспламеняющихся и горючих
жидкостей).
Тиры для пулевой
стрельбы; спортивные залы и помещения тренировочных и
физкультурно-оздоровительных занятий (без трибун для зрителей); помещения для
хранения лыж; бильярдные; комнаты для игры в настольный теннис, кегельбаны.
Цокольный
этаж
Все помещения, размещения
которых допускается в подвалах.
Бюро пропусков,
справочные, регистратуры, сберегательные и другие кассы; транспортные
агентства; помещения выписки больных; центральные бельевые.
Служебные и конторские
помещения.
Бассейны, крытые катки с
искусственным льдом без трибуны для зрителей.
Не менее двух
эвакуационных выходов должны иметь подвальные и цокольные этажи при площади
более 300 кв.м. или предназначенные для одновременного пребывания более 15 чел.
ОБЪЕМНО-ПЛАНИРОВОЧНЫЕ
И КОНСТРУКТИВНЫЕ РЕШЕНИЯ ЗДАНИЙ И СООРУЖЕНИЙ
Общие
требования
Спортивные залы и катки в
зависимости от назначения могут быть: специализированными или универсальными; с
местами для зрителей или без них; спортивно-демонстрационными и
спортивно-зрелищными. Назначение зала (катка) определяется в задании на
проектирование
Спортивно-демонстрационные
и спортивно-зрелищные залы и катки проектируются, как правило, универсальными:
с ареной, трансформируемой для попеременного проведения соревнований по
нескольким видам спорта или нескольким видам культурно-зрелищных или
общественных мероприятий.
Места
для зрителей
В сооружениях, предназначаемых
для проведения соревнований, предусматриваются места для зрителей в виде трибун
или балконов, а в спортивно-зрелищных залах и катках - и в виде партера.
Трибуны для зрителей
проектируются, как правило, в стационарных конструкциях с местами для сидения;
в отдельных случаях применяются трансформируемые или сборно-разборные трибуны.
Исходя из вышеизложенного может быть рекомендовано применение следующих типов
трансформируемых трибун:
бличеры - трибуны,
состоящие из раздвигающихся секций телескопического типа;
трибуны типа
партер-трибуна.
Оба вида таких трибун
имеют ограниченное число рядов (как правило, в пределах 8-10 для сидения), и их
применение в каждом отдельном случае определяется конкретным характером их
использования.
Трибуна-бличер, в виде
выдвигающихся секций, имеет строго фиксированное местоположение (прикрепляется
к стенам зала или к стационарной трибуне с поднятым над ареной первым рядом) и
поэтому может иметь ограниченное применение. Путем выдвижения различного числа
отдельных секций возможно изменять вместимость этой трибуны, что может иметь
практическое значение при эксплуатации сооружения.
Партер-трибуна имеет
большое преимущество по сравнению с бличерами, так как она смонтирована на
передвижной платформе, легко может перемещаться в любом направлении по арене,
обеспечивая требуемую проектом ее трансформацию, В связи с изменяющимся углом
наклона партер-трибуна может использоваться как обычный плоский партер, что
очень важно при трансформации арены для проведения культурно-зрелищных и общественных
мероприятий (митинг, концерт и др.), когда необходимо наличие партера.
Для обеспечения
зрительного восприятия происходящего на арене при расположении зрительских мест
на балконе рекомендуется размещать на нем один ряд мест для сидения и один -
для стояния из расчета 9 зрителей на 2 м балкона. Балкон устраивается, как
правило, вдоль продольных стен зала и желательно так, чтобы проекция балкона
оказывалась за пределами арены; балкон не должен также мешать размещению под
ним спортивного оборудования.
Размеры мест на трибунах:
глубина ряда на
стационарных трибунах 0,8-0,9 м (на бличерах допускается уменьшать до 0,75 м);
ширина места для сидения -
0,45 м;
глубина сидения на
стационарных трибунах - 0,4 м (на бличерах допускается уменьшать до 0,35 м);
высота сидения над
уровнем пола прохода - 0,43 м.
Вспомогательные
помещения
Гардеробная обычно не
располагается а отдельном помещении, а объединяется с вестибюлем. В тех же
редких случаях, когда она размещается в отдельном помещении, перед барьером
гардеробной (вдоль него) предусматривается свободная полоса из расчета 0,03 м2
на одно место в гардеробной, но ширина полосы не должна быть меньше 1 м.
Глубина гардеробной за барьером предусматривается не более 6 м.
Верхняя одежда
сотрудников хранится, как правило, у рабочего места и в расчете гардеробной для
занимающихся (или зрителей) не учитывается. При численности сотрудников 40 чел.
и более для их верхней одежды предусматриваются места, которые могут
размещаться в общей гардеробной; в этих случаях число мест определяется
применительно к штатному расписанию и указывается в задании на проектирование
(рис. 4, 5).
Рис. 4 - Примеры планов
расстановки оборудования в помещениях медико-восстановительных центров (м): а -
кабинет врача (заведующего центром); б - кабинет электро- и светолечения; в -
душевой зал; г - подводный душ-массаж; д - кабинет для проведения тестов с
физической нагрузкой; е – процедурная. 1 - стол врача; 2 - электрокардиограф; 3
- спирограф; 4 -смотровая кушетка; 5 - велоэргометр; 6 - шкаф медицинский; 7 -
фонограф; 8 - кушетка для электро- и светолечения; 9 - облучатель
ультрафиолетовый; 10 - светотепловой облучатель; 11 - аппарат для УВЧ-терапии;
12 - аппарат для ультразвуковой терапии; 13 - аппарат для электростимуляции
мыши; 14 - облучатель ультрафиолетовый коротковолновый; 15 - аппарат для
лечения диадинамическими токами; 16 - аппарат для магнитотерапии; 17 - шкаф
сушильно-вытяжной; 18 - кипятильник-стерилизатор; 19 - пульт управления
водолечебной кафедрой; 20 - душ циркулярный; 21 - душ дождевой; 22 - душ
восходящий; 23 - душ гигиенический; 24 - ванна подводного душа-массажа; 25 -
аппарат для подводного душа-массажа; 26 - холодильный шкаф; 27 - столик
инструментальный; 28 - ширма переносная

Рис. 5 - Примеры
блокировки помещений медико-восстановительного центра (м): а - схема блока
водолечебных помещений медико-восстановительного центра; б - схема блока
«сухих» помещений медико-восстановительного центра. 1 - душевой зал; 2 -
подводный душ-массаж; 3 - раздевальная; 4 - камера бани сухого жара; 5 -
душевая с ванной; 6 - комната отдыха; 7 - комната персонала; 8 - кладовая; 9 -
кабинет врача (заведующего центром); 10 - процедурная; 11 - массажная; 12
-кабинет для проведения тестов с физической нагрузкой; 13 - кабинет электро- и
светолечения; 14 - помещение для обработки прокладок
Естественное
освещение
Световые проемы вдоль
стен или потолка для обеспечения наилучшей равномерности освещения
рекомендуется принимать ленточным; при двухстороннем боковом освещении световые
проемы рекомендуется располагать равномерно вдоль каждой из стен исходя из
условия, что площади световых проемов в противоположных стенах могут
различаться не более чем вдвое (рис. 6).
Рис. 6 - Пример расчета естественного освещения зала в
комбинации бокового освещения с верхним
При невозможности
обеспечения необходимой (расчетной) площади бокового освещения
предусматривается совмещение его с верхним; в этом случае световые проемы
верхнего освещения размещаются только над той частью пола зального помещения,
освещение которой не обеспечивается боковыми световыми проемами.
В спортивных залах и
хореографических классах ориентацию световых проемов при одностороннем боковом
освещении рекомендуется принимать в районах севернее 48° северной широты, как
правило, на юго-восток, а в районах южнее 48° северной широты - на
северо-восток.
При устройстве световых
проемов бокового освещения с двух и более сторон стена с наибольшей площадью
проемов должна быть ориентирована в районах севернее 48° северной широты на
юго-восток, а в районах южнее 48° северной широты - на север. В залах катков с
искусственным льдом независимо от района размещения ориентация световых проемов
одностороннего бокового освещения должна приниматься на север.
Защитные меры от
слепящего действия солнечных лучей следует предусматривать в случаях, если
световые проемы оказываются в торцах поля для игры или размещаются напротив
стационарной трибуны для зрителей.
|
Наименование помещений
|
Площадь световых проемов от площади
пола, %
|
|
Кабинет врача, комнаты оказания
первой медицинской помощи, процедурные кабинеты и комнаты для отдыха в
медико-восстановительных центрах, массажная
|
20
|
|
Учебный класс (методический
кабинет)
|
17
|
|
Мастерские
|
14
|
|
Служебные помещения для
административного и инженерно-технического персонала, помещение пожарного
поста, помещение для сушки спортивной одежды и обуви*, помещения для
хранения, выдачи и сушки прокатных ботинок с коньками*, склады спортивного
оборудования и мебели*, хозяйственные кладовые*
|
10-12
|
Помещения
для физкультурно-оздоровительных занятий населения
Помещения и залы для
физкультурно-оздоровительных занятий (со вспомогательными помещениями для их
обслуживания) могут размещаться в отдельно стоящих зданиях физкультурно-оздоровительного
назначения, входить в составы зданий спортивного назначения, а также быть
пристроенными и встроенными в здания другого назначения (в том числе и жилые).
Примерные размеры и
пропускные способности помещений и залов для различных видов физкультурно-оздоровительных
занятий.
|
Виды занятий
|
Размеры, м
|
Наименьшая высота до низа вы-
|
Пропускная способность, чел.
|
|
длина
|
ширина
|
ступающих конструкций потолка, м
|
|
1. Групповые занятия по общей
физической подготовке (включая игры с мячом)
|
24 18* 18*
|
12 12* 9*
|
6 4,8 4,8
|
25 20 15
|
|
2. Ритмическая гимнастика,
хореография, женская оздоровительная гимнастика
|
129
|
129
|
25 15
|
|
3. Настольный теннис (на 1 стол)
|
6
|
4
|
2,7
|
4
|
|
4. Элементы борьбы
|
15 12
|
9 9
|
3,9 3,9
|
15 12
|
|
5. Занятия с использованием
тренажеров и снарядов для развития силы и выносливости
|
Из расчета 4,5 м2 на
каждый вид оборудования или снаряд, но не менее 25 м2
|
3,9
|
1 на каждую единицу оборудования
или снаряда
|
Во встроенных помещениях
и при реконструкции существующих помещений допускается:
изменение размеров,
приведенных к настоящей таблице, но с тем, чтобы площадь зала были бы не менее
140 м2, при этом пропускная способность принимается из расчета 11 м2
на одного занимающегося;
уменьшение высоты до 4,2
м.
При отсутствии в здании
зала для общей физической подготовки или иного помещения, позволяющих
проведение в них разминки перед занятиями на тренажерах, площадь помещения с
тренажерами принимается из расчета 6 м2 на каждый тренажер (снаряд),
но не менее 70 м2 (на
помещения, встраиваемые в жилые здания, приведенное условие не
распространяется).
Ширина помещения не менее
3 м.
Во встроенных помещениях
и при реконструкции существующих помещений высота при соответствующем
спортивно-технологическом обосновании может уменьшаться до высоты этажа здания.
Примечание. В случаях
когда проведение физкультурно-оздоровительных занятий, указанных в настоящей
таблице, предусмотрено в проекте в спортивных залах или в помещениях, размеры
которых превышают приведенные в таблице, пропускная способность для этих занятий
принимается 25 чел. (одна группа).
В помещениях и залах, где
проводятся игры с мячом, на окнах и осветительных приборах предусматриваются
защитные устройства. В целях предохранения занимающихся от травм внутренняя
поверхность стен предусматривается без выступов и ниш, а при наличии последних,
в них рекомендуется размещать спортивное оборудование или приборы отопления,
которые закрываются экранами так, чтобы их поверхность была заподлицо со
стеной.
Площадь вестибюля и
гардеробной верхней одежды для занимающихся определяют по пп. 3.49 и 3.50
настоящего Пособия, имея в виду, что площадь вестибюля принимается не менее 12
м2, а площадь за барьером гардеробной - не менее 6 м2.
При помещениях для
физкультурно-оздоровительных занятий для хранения переносного оборудования и
инвентаря предусматриваются инвентарные. При помещениях для групповых занятий
по общей физической подготовке (включая игры с мячом) размером 24´12 м и 18´12 м площадь инвентарной рекомендуется
18 м2 (6´3 м), а при размере помещения 18´9 м - 15 м2 (6´2,5 м).
В случае применения в
этих помещениях пристенного трансформируемого оборудования, а также при
остальных помещениях, приведенных в табл. 18 (кроме помещения для настольного
тенниса), площадь инвентарной рекомендуется 8 м2.
Наличие помещений
медико-восстановительного центра позволяет использовать их населением на основе
платных услуг, в связи с чем при объемно-планировочном решении сооружения
целесообразно учитывать возможность автономного использования помещений центра
населением при удобной связи с остальными основными и вспомогательными
помещениями.
Прямое естественное
освещение предусматривается во всех основных помещениях для
физкультурно-оздоровительных занятий и может быть, как правило, боковым
(односторонним или двухсторонним). Расчетная площадь световых проемов
принимается в пределах 12-17% площади пола помещения.
Световые проемы вдоль
стен для обеспечения равномерности освещения рекомендуется принимать
ленточными. При устройстве двухстороннего освещения следует иметь в виду, что
площади световых проемов в противоположных стенах могут различаться не более
чем вдвое.
ПРИМЕРЫ
СХЕМ ПЛАНОВ РАССТАНОВКИ ОБОРУДОВАНИЯ В ПОМЕЩЕНИЯХ ДЛЯ ФИЗКУЛЬТУРНО-ОЗДОРОВИТЕЛЬНЫХ ЗАНЯТИЙ
На рис. 7-12 приведены
примеры схем планов помещений для различных видов физкультурно-оздоровительных
занятий с расстановкой необходимого оборудования.
В помещениях размерами 24´12 м и 18´12 м (см. рис. 7) проведение
общеразвивающих упражнений предусматривается осуществлять на свободном от
гимнастического оборудования пространстве с использованием тренажеров и
гимнастических стенок.
В помещениях для
групповых занятий элементами борьбы (см. рис. 8) стены, примыкающие к уложенным
на полу матам, должны иметь мягкую обивку.
Для занятий ритмической
гимнастикой, хореографией и женской оздоровительной гимнастикой наилучшим
является помещение размером 12´12 м, приведенное на рис. 9 прил. 3 настоящего Пособия. На
рис. 3 настоящего приложения приведен план помещения для этих занятий
минимального размера. Помост для тренера может предусматриваться переносным или
пристенным (откидным), а зеркала и хореографические станки устанавливаются
стационарно.
На рис. 7-9 приведены
схемы планов расстановки оборудования в помещениях с тренажерами для развития
различных физических качеств. При этом на рис. 7 и 8 в одинаковых по размеру
помещениях установлены различные по составу тренажеры.

Рис. 7 - Схемы планов
помещений размерами 24´12 м и 18´12 м для групповых занятий по общей физической подготовке на пристенном
трансформируемом гимнастическом оборудовании и тренажерах (размеры в
сантиметрах)

Рис. 8 - Схемы планов
помещений размерами 15´9 м и 12´9 м для
групповых занятий элементами борьбы (размеры в сантиметрах)
Рис. 9 - Схема плана
помещения размером 9´9 м для групповых занятий по ритмической гимнастике, хореографии и
женской оздоровительной гимнастике (размеры в сантиметрах)
Рис. 10 - Планы помещений
размерами 12´12 м и 12´9 м с расстановкой в них тренажеров
(размеры в сантиметрах)
Рис 11 - План помещения
размером 9´9 м с
расстановкой в нем тренажеров (размеры в сантиметрах)
Рис. 12 - План помещения
размером 9´9 м с расстановкой
в нем тренажеров из набора КАП-2 (размеры в сантиметрах)
Крытый конькобежный
центр в Крылатском
|
место:
|
Москва, Россия
|
|
функциональный тип:
|
Спортивный, Спорткомплекс
|
|
реализация:
|
2004
|
|
архитектор:
|
Андрей Боков
|
|
мастерская:
|
ГУП МНИИП
"Моспроект-4"
|
|
ссылки:
|
www.bokov.info
|
Главной целью
проектирования ККЦ стало создание искусственного ледового поля, позволяющего
вести круглогодичную подготовку спортсменов-конькобежцев на уровне высших
мировых требований, а также проводить соревнования вплоть до чемпионатов мира
или Олимпийских игр по скоростному бегу на коньках. Крытый конькобежный центр
(ККЦ) в Крылатском – это первый в России крытый каток с 400-метровой беговой
ледовой дорожкой. ККЦ - 2-6-этажное здание полукруглой формы в плане. Такая
форма сделала возможным устройство основной трибуны на 6000 зрителей с наиболее
зрелищной стороны – у финиша. Большепролетное покрытие над Ареной и трибунами
(117 м в радиальном направлении) решено в виде двух рядов веерообразно
расходящихся деревометаллических ферм, опирающихся на железобетонный ствол
основания главной опоры, на железобетонные колонны по периметру и подвешенных
стальными вантами к Л-образному пилону (общая высота 70 м) с заделанными в
фундамент оттяжками. Фасады облицованы кассетами «Алюкобонд» серебрянного цвета
и панелями из Минерита белого цвета. Навесы над галереями из поликарбоната трех
оттенков синего цвета.
Ледовый дворец спорта
на Ходынском поле
|
место:
|
Москва, Россия
|
|
функциональный тип:
|
Спортивный, Спорткомплекс
|
|
проектирование:
|
2004
|
|
реализация:
|
2006
|
|
архитектор:
|
|
мастерская:
|
ГУП МНИИП
"Моспроект-4"
|
|
ссылки:
|
www.bokov.info
|
Ледовый дворец спорта
располагается в значимом месте Ходынского поля: с одной стороны он завершает
левый фланг протяженной панорамы застройки партерной части на юге, а с другой -
замыкает перспективу взлетно-посадочной полосы на востоке.
Объемно-пространственное решение здания Ледового дворца логично вытекает из
общего градостроительного решения квартала - проходы к нему через квартал
подхватываются широкими пандусами, спирально опоясывающими цилиндр (диаметром
120 метров и высотой более 40 метров) основного объема здания дворца и
поднимающими зрителей на верхние уровни, где, начиная со второго этажа,
запроектированы вестибюли и фойе. Направление движения входных пандусов
повторяют светопропускающие навесы над ними, в свою очередь, переходящие в
навес кровли здания. Основное здание имеет 9 надземных этажей и подвал, Ледовый
дворец предназначен для тренировочных занятий и проведения соревнований по
хоккею, фигурному катанию, по другим видам спорта (баскетбол, бокс, теннис,
гимнастика), а также для проведения эстрадных представлений.
Многофункциональный
спортивно-развлекательный комплекс с апартаментами "Город яхт" (Николай Лызлов). Участок, отведённый под
строительство многофункционального спортивно- развлекательного комплекса с
апартаментами, расположен между Ленинградским шоссе и берегом Химкинского
водохранилища, севернее территории микрорайона «Лебедь». Участок выходит
непосредственно к берегу водохранилища, в связи с чем предполагается
строительство набережной. Площадь участка составляет 1,618 га. Подъезд к зданию
предполагается организовать с Ленинградского шоссе. Благоустроенная территория
комплекса спускается каскадом из трёх уступов от линии застройки Ленинградского
шоссе к берегу Химкинского водохранилища, и продолжается выходящими в акваторию
сооружениями гавани для небольших спортивных и прогулочных судов. Основная
часть благоустроенной территории расположена над подземными сооружениями
гаража- стоянки. Благоустройство территории предусматривает посадку большого
количества растений, не только на уровне земной поверхности, но так же и на
кровлях зданий. На участке размещается гостевая автостоянка на 60 а/м, в
подземном уровне сооружения стоянка на 600 а/м.
Проектируемый
многофункциональный спортивно-развлекательный комплекс состоит из трёх отдельно
стоящих корпусов объединённых единым цоколем подземной части. В подземной части
сооружения, насчитывающей два уровня, размещается гараж- стоянка, разделённая
на три противопожарных блока, по двести машиномест в каждом.
Самый протяжённый из корпусов
– корпус «1» - имеет переменную этажность (8 – 13 этажей). Первый и цокольный
этажи здания занимают вестибюльные группы помещений апартаментов. Часть здания,
выходящая на водохранилище, включает в себя помещения СПА-салона, фитнесс-клуба
с бассейнами, детского развлекательного центра, ресторана, закусочных и
фруктовых баров. Выше – через технический этаж расположены апартаменты, имеющие
квартирную планировку.
Над этажами квартир, на
кровле здания размещаются пять двухэтажных пентхаузов.
Основным функциональным
наполнением корпуса «2» проектируемого комплекса являются помещения гостиницы
на 100 номеров.
Первый этаж здания
занимают помещения технического назначения и торговли, на втором этаже
размещаются вспомогательного назначения и ресторан гостиницы, на третьем –
пятом этажах гостиничные номера.
Корпус «3» состоит из
восьми сблокированных трёхэтажных таунхаузов. Первые этажи заняты вестибюльными
группами, выше – жилые помещения.
Выходящая к воде,
западная часть первых этажей комплекса будет заполнена помещениями
фитнес-центра.
Основной («1») корпус
сооружения будет иметь не сплошь застроенный первый этаж, оставаясь прозрачным
для людских потоков перемещающихся вдоль берега водохранилища.
Спортивный комплекс
теннисного центра на Ленинградском шоссе. (Владимир Плоткин). Расположение комплекса в водоохраной
зоне Химкинского водохранилища обусловило характер проектного решения,
предполагающего минимизацию визуального воздействия на окружение. 4-х уровневое
здание теннисного центра заглублено в землю, выходя на поверхность
эксплуатируемой зеленой кровлей, имеющей небольшой уклон.
Студенческий досуговый
центр университета Цинциннати
|
место:
|
Цинциннати, США
|
|
функциональный тип:
|
Спортивный, Спорткомплекс
|
|
реализация:
|
02.2006
|
|
архитектор:
|
Том Мейн
|
|
мастерская:
|
Морфозис
|
СПИСОК ЛИТЕРАТУРЫ
1.
Неелов В.А. Гражданские
здания. ВШ, 1987.
2.
Архитектура
гражданских и промышленных зданий. Гражданские здания. Стройиздат. 1993.
3.
Маклакова Т.Г.
Архитектура ХХ века: учебное пособие для ВУЗа. 2001.
4.
СНиП 2.08.02-89 (общественные
здания).
5.
Приложение к СНиП
2.08.02-89 Спортивные сооружения.
6.
http://architektonika.ru/
7.
http://archi.ru/
8.
http://www.id4.ru/
9.
http://www.archip.ru/ru/
10. http://wikipedia.tomsk.ru/