Отличия классической политэкономии от учения меркантилистов
СУЧАСНІ
ТЕХНОЛОГІЇ ВИВЕДЕННЯ ІНФОРМАЦІЇ. ТЕХНОЛОГІЇ COMPUTER TO FILM, COMPUTER TO
PLATE, COMPUTER TO PRESS
Вступ
Впродовж довгих років додрукарські процеси
здійснювали за класичною (репрографічною) схемою: за допомогою
фоторепродукційного устаткування (фотоапаратів, збільшувачів, копіювальних рам,
фотонабірних автоматів тощо) готують та отримують фотоформи тексту й
ілюстрацій, з них складається монтаж, який контактним способом копіюється на
формну пластину. Багатостадійність та складність, висока собівартість,
матеріаломісткість та трудомісткість етапу виготовлення фотоформ спричинили
пошук і появу нових альтернативних схем, які, зокрема в малій поліграфії, стали
домінуючими.
В технологічній схемі
«computer-to-film» (з комп'ютера на фотоформу) верстку та монтаж видання
виконують за допомогою комп'ютера. Фотоформи виводять безпосередньо у
фотовивідних пристроях (насвітлювачах), а потім копіюють на формні пластини.
Таким чином, значно зменшується час, трудоємкість виготовлення, витрати
матеріалів порівняно з класичною, базовою технологією.
Основним недоліком усіх
фоторепродукційних процесів є використання як світлочутливого матеріалу
срібломістких фотоматеріалів, які забезпечують високу якість фотоформ, але
відносяться до дефіцитних (через вміст срібла) та дорогих матеріалів. Безсрібні
фотоматеріали достатньої якості розроблені зараз лише для
контактно-копіювальних операцій, не отримали широкого застосування в
фоторепродукційних процесах. Тому важливою є поява в межах технології
«compu-ter-to-Ulm» так званих «сухих» процесів (без застосування рідких
хімреактивів для обробки), які забезпечують високу (порівняну до класичної)
якість фотоформ.
У сучасній поліграфії поширюються
скорочені технологічні схеми, де без втрати якості та суті одержаних
результатів повністю виключається потреба виготовлення фотоформ.
За технологічною схемою
«computer-to-plate» (з комп'ютера на формну пластину), процес підготовки та
безпосереднього виготовлення друкарської форми відбувається за допомогою
комп'ютерної системи, виключаючи необхідність фотоформи.
Технологія «computer-to-press» (з
комп'ютера на друк) полягає в безпосередньому тиражуванні підготовлених
засобами КВС видань у цифровій друкарській машині. Така технологія вже стала
основою появи малих друкарень нового типу, але, як уже зазначалося, значні
витрати на придбання устаткування гальмують їх широке розповсюдження.
Класичним способом отримання
ілюстративних фотоформ у поліграфічному виробництві є використання різноманітного
репрографічного устаткування, призначеного для: фотографування оригіналів,
масштабування, кольороподілу, корегування (градаційного й кольорокоректуючого),
растрування та переконтакту тощо — з метою одержання у кінцевому результаті
фотоформ для монтажу полос. У попередньому розділі вже розглядалось питання
необхідності та доцільності виготовлення й використання фотоформ. Тому в даному
розділі будуть описані лише ті технологічні схеми класичного способу, які, на
думку авторів, доцільно використовувати в малій друкарні. Умовою застосування
цих схем є відсутність на початковій стадії розвитку малої друкарні коштів на
придбання скануючої та фотовивідної техніки для КВС, а фоторепродукційне
устаткування вже t подароване або придбане «задурно». Зважаючи на наявність
великої кількості літературних джерел щодо фоторепродукційних процесів і певну
обмеженість застосування таких схем у малих друкарнях, у книзі не розглядаються
існуючі моделі репродукційної техніки та рекомендації стосовно їх вибору.
Випадок 1: При випуску високоякісних
художніх видань, мистецьких альбомів, рекламних каталогів і проспектів
продукції, тобто тих видань, в яких оригіналами є фотографії або слайди, що
мають бути відтворенні ідентично і не потребують дизайнерської обробки,
фотоформи отримують на фоторепродукційній техніці, наприклад, за допомогою
збільшувача-кольороподілювача.
Випадок 2: Коли мала друкарня для
видання використовує оригінал-макети, підготовлені в КВС, або представлені
замовником (бланки, брошури, програми, афіші та інші видання, що містять
переважно текст і прості чорно-білі штрихові та малої ліміатури растрові зображення до 28-32
лін/см), то фотоформи отримують шляхом простого фотографування, наприклад, за
допомогою фоторепродукційного апарата.
Зазначимо, що в обох випадках для
отримання з негативів діапозитивів, які найчастіше застосовуються у формних
процесах плоского друку, необхідна копіювальна рама.
1.
Особливості
виготовлення фотоформ на базі електронного та світлювального устаткування
При застосуванні технологічної схеми
«computer-to-film» як вивідний пристрій використовують насвітлювач
(imagesetter), що здійснює запис оцифрованого зображення (підготовленого в КВС)
за допомогою лазерного променя на чутливий матеріал (фотоматеріал), після
обробки якого отримується фотоформа (табл. 1).
Основними критеріями при виборі
насвітлювача є:
• спосіб запису;
• роздільна здатність запису;
• повторюваність при записі;
• характеристика джерела світла;
• формат отримуваних фотоформ;
• продуктивність роботи.
Розрізняють три способи запису, що
застосовуються у насвітлювачах:
1.
Запис на
рулонний фотоматеріал, що нерухомо закріплюється (механічно або за допомогою
вакууму) на внутрішньому боці циліндричної поверхні. Запис здійснюється за
допомогою відхиляючого дзеркала системи насвітлення, яке виконує складний
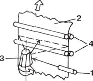
спіральний рух (рис. 1). Цей спосіб поширений під
назвою «internal drum» (внутрішній, віртуальний барабан). Він використовується
в насвітлювачах, призначених для отримання високоякісних високолініатурних
кольороподілених фотоформ (у т.ч. повноформатних).
Рис. 1. Схема способу запису «internal drum»:
7 — лазер; 2 — фотоматеріал; 3 — дзеркало;
4 — циліндрична поверхня
2.
Запис
зображення на аркушевому фотоматеріалі, що закріплюється на зовнішній поверхні
барабанного тримача насвітлювача. Запис відбувається при обертанні барабана
шляхом переміщення каретки з оптичною системою насвітлення вздовж твірної
циліндра (рис. 2). Такий спосіб отримав назву «external drum» (зовнішній
барабан). Якість запису та сфера застосування цього способу є аналогічною до
попередньо розглянутого способу «internal drum». Але на відміну від нього, за
рахунок застосування для запису паралельно декількох лазерних променів (до 6
шт.) або багатопроменевої матриці лазерних діодів, досягається вища продуктивність
роботи.
Рис. 2 Схема способу запису «external
drum»:
1 — лазер; 2 — фотоматеріал; 3 —
барабан.
3.
Спосіб
під назвою «capstan» (волокти, протягувати), в якому запис відбувається на
рулонний фотоматеріал, який протягується навпроти плоского чи багатогранного
дзеркала відхиляючої системи (рис. 3). Через обмежену величину кута розгортки
застосовуваної насвітлювальної системи та складності виготовлення коректурної
оптики формат (ширина) запису с обмеженим (найчастіше в межах 310-460 мм) і не перевищує 620 мм. Висока чутливість системи протягування плівки до зміни умов
навколишнього середовища, вібрацій, нерівномірності натягу й подачі рулонного
матеріалу знижує точність позиціювання та чіткість растрової точки, визначає
малу повторюваність запису та стає причиною творення. У зв'язку з цим,
кольороподілені плівки одного комплекту рекомендують виготовляти одну за одною
та повністю переробляти весь комплект, навіть якщо не задовольняє лише одна з
плівок.
Рис. 3. Схема способу запису «capstan»:
1 — лазер; 2 — фотоматеріал; 3 —
дефлектор; 4 — валкова протягуюча система.
Незважаючи на описані недоліки,
насвітлювачі типу «capstan» відрізняються від попередньорозглянутих вищою
продуктивністю, простішою конструкцією та відносно низькою вартістю (приблизно
в 2 рази дешевші від барабанних), а тому рекомендуються для більшості рядових
робіт (у т.ч. і для відтворення повноколірних ілюстрацій середніх і малих
лініатур растра), наприклад, для виводу суцільнотексто--вих фотоформ.
Роздільна здатність запису
насвітлювачів залежить від багатьох факторів: конструкції механіки та оптики
насвітлювача, джерела випромінювання й використовуваного світлочутливого
матеріалу. Це треба врахувати при виборі насвітлювача для конкретних видів
робіт. У табл. 1 наведені орієнтовні значення
рекомендованої роздільної здатності насвітлювача залежно від виду робіт.
Величиною, спорідненою з роздільною
здатністю, є розмір (діаметр) плями запису. Для того, щоб забезпечити вивід з
роздільною здатністю 2540 dpi, діаметр записуючої плями повинен становити
1/2540 дюйма,
Таблиця 1. Технічні характеристики насвітлювачів
|
Фірма-
|
Марка
|
Технологія
|
Формат
|
Роздільна
|
Повторю
|
Тип
|
Продук
|
|
|
виробник
|
|
запису
|
|
здатність
|
ваність,
|
джерела
|
тивність
|
Додаткові відомості
|
|
|
|
|
запису,
|
мкм
|
світла
|
|
|
|
|
|
|
арі
|
|
|
|
|
|
ECRM
|
ScriptSetter
|
валковий
|
макс. ширина
|
1000-2540
|
±40
|
червоний
|
26,7-10,4
|
•икористовується рулонний
фотоматеріал, папір
|
|
(США)
|
VRL 36/45
|
|
рулону
|
|
|
Діод
|
або формний матеріал (на
поліефїрній основі) тов
|
|
|
|
355/457 мм
|
|
|
(670 нм,
|
|
щиною 0.1-0,2 мм • електроживлення 115/230 В,
|
|
|
|
|
|
|
10mW)
|
|
однофазне, габаритні розміри
62,2х102,9х43,1 см,
|
|
|
|
|
|
|
|
|
вага 64 кг ~ VRL 36, VRL 45 - 71,1х102.9х43,1
|
|
|
|
|
|
|
|
|
см, 98 кг • постачається разом з програмним
|
|
|
|
|
|
|
|
|
RIP PostScript для платформ MAC/PC
• моделі
|
|
|
|
|
|
|
|
|
марок VRL 36HS/VRL 45HS — мають
вдвічі більшу
|
|
|
|
|
|
|
|
|
швидкість виводу, є сумісними з
програмами сто-
|
|
|
|
|
|
|
|
|
хастичного растрування FM Screening
|
|
ECRM
|
ScriptSetter
|
внутр.
|
356х457 мм
|
1200-2540
|
±30
|
червоний
|
386-183
|
• розмір записуючої плями 15 або 25
мкм, макс.
|
|
ID36
|
барабан
|
|
|
|
ДІОД
|
см'/хв
|
лініатура растра — 250 Ірі (98
лін/см) • викорис
|
|
|
|
|
|
|
(670 нм)
|
|
товується рулонний фотоматеріал,
папір або
|
|
|
|
|
|
|
|
|
формний матеріал (на поліефірній
основі) товщи
|
|
|
|
|
|
|
|
|
ною 0,1 мм • вбудована система пробивки штиф
|
|
|
|
|
|
|
|
|
тових приводочних отворів у верхній
та нижній
|
|
|
|
|
|
|
|
|
частині полоси (Stoesser, Bacher
або ін.) • елект
|
|
|
|
|
|
|
|
|
роживлення 115/230 В, 50/60 Гц,
однофазне, га
|
|
|
|
|
|
|
|
|
баритні розміри 76,2х69,9х53,3 см,
вага 94 кг
|
|
PrePress
|
Panther
|
валковий
|
макс. ширина
|
900-2400
|
±25/8 шт
|
червоний
|
474-178
|
• постачається разом з
інтерпретатором Adobe
|
|
(США)
|
|
|
рулону 338 мм, макс. ширина
|
|
|
ДІОД (670 нм)
|
мм/хв
|
PostScript Level 2, підтримує
алгоритми растрування Adobe Accurate Screens, ESCOR II, ESCOR FM,
|
|
|
|
запису 338 мм
|
|
|
|
|
для платформи МАС можлива поставка
апаратного прискорювача растрування Pixel Burst, сумісний з
|
|
|
|
|
|
|
|
|
платформами IBM PC/MAC, містить
сторінковий бу
|
|
|
|
|
|
|
|
|
фер на 500 Мб • розмір записуючої
плями без-
|
|
|
|
|
|
|
|
|
ступінчасто змінюється від 15 до ЗО
мкм, макс, лініа
|
|
|
|
|
|
|
|
|
тура растра — 275 Ірі (при
використанні ESCOR II)
|
|
|
|
|
|
|
|
|
• габаритні розміри 100х61х42 см,
вага 91 кг
|
|
Prepress
|
Panther
|
валковий
|
макс. ширина
|
900-3048
|
±25/8 шт
|
червоний
|
508 мм/хв
|
• постачається разом з
інтерпретатором Adobe
|
|
|
PROHS
|
|
рулону 620 мм
|
|
|
ДІОД
|
(2400 dpi),
|
PostScript Level 2, підтримує
алгоритми растру-
|
|
|
|
|
|
|
|
(670 нм)
|
вання Adobe Accurate Screens, ESCOR
II. ESCOR
|
|
|
|
|
|
|
|
|
(1200dpi)
|
FM, для платформи МАС можлива
поставка
|
|
|
|
|
|
|
|
|
|
апаратного прискорювача растрування
Pixel Burst,
|
|
|
|
|
|
|
|
|
|
сумісний з платформами IBM PC/MAC,
містить
|
|
|
|
|
|
|
|
|
|
два сторінкових буфера по 1 Гб,
можливе пара
|
|
|
|
|
|
|
|
|
|
лельне підключення до насвітлювача
чотирьох RIP
|
|
|
|
|
|
|
|
|
|
• розмір записуючої плями
безступінчасте зміню
|
|
|
|
|
|
|
|
|
|
ється від 15 до ЗО мкм, макс-
лініатура растра —
|
|
|
|
|
|
|
|
|
|
350 Ірі (при використанні ESCOR II)
• габаритні
|
|
|
|
|
|
|
|
|
|
розміри 175х132х89 см, вага 629 кг
|
|
|
Dainippon
|
FT-R3035/
|
валковий
|
макс. ширина
|
1000-3000
|
±25
|
Діод
|
1463 мм/хв
|
• макс. лініатура растру — 175 Ірі
• постачаються
|
|
|
Screen
|
FT-R3050
|
|
рулону
|
|
|
(633 нм)
|
(1000dpi),
|
окремо або під'єднаними «в лінію» з
проявлю-
|
|
|
(Японія)
|
|
|
406/558 мм, макс. ширина
|
|
|
|
254 мм/хв (2400 dpi)
|
вальною машиною • комплектуються
програмними RIP (HQ-310PM, AD-310PM) для комп'ютерів
|
|
|
|
|
запису
|
|
|
|
|
PowerMacintosh, підтримують
PostScript Level 2,
|
|
|
|
|
355/508 мм
|
|
|
|
|
зв'язок між насвітлювачем та
комп'ютером здійс
|
|
|
|
|
|
|
|
|
|
нюється через інтерфейс SCSI •
можливе вста
|
|
|
|
|
|
|
|
|
|
новлення системи перфорації
приводочних отво
|
|
|
|
|
|
|
|
|
|
рів (Stoesser, Bacher, Protocol або
Dainippon Screen)
|
|
|
|
|
|
|
|
|
|
• електроживлення 0,75 кВт, 170-265
В, 50 Гц,
|
|
|
|
|
|
|
|
|
|
габаритні розміри 176,4х75х97,5 см,
вага 120 кг—
|
|
|
|
|
|
|
|
|
|
FT-R3035, 91,6х75х97,5 см, 160 кг - FT-R3050
|
|
|
Dainippon
|
DT-R3075
|
зовн.
|
406х545,
|
1200-4000
|
±5
|
120 діодів
|
1190 мм/хв
|
• макс. лініатура растра — 200 Ірі
• постачається
|
|
|
Screen
|
|
барабан
|
648х545,
|
|
|
(660 нм)
|
(1200dpi),
|
окремо або під'єднаною "в
лінію» з проявлюваль-
|
|
|
|
|
750х545 мм
|
|
|
|
595 мм/хв
|
ною машиною • комплектуються
програмними RIP
|
|
|
|
|
(ширина рулону 406, 648
|
|
|
|
(2400 dpi)
|
(HQ-310NT та AD-310PM для платформи
DEC Alpha та PowerMacintosh), для прискорення растру
|
|
|
|
|
або 762 мм)
|
|
|
|
|
вання до складу можуть бути
включені плати-при
|
|
|
|
|
|
|
|
|
|
скорювачі Pixel Burst або Harpoon •
можливе
|
|
|
|
|
|
|
|
|
|
встановлення системи перфорації
приводочних
|
|
|
|
|
|
|
|
|
|
отворів (Stoesser, Bacher або
Protocol) • електро
|
|
|
|
|
|
|
|
|
|
живлення 0,31 кВт, 200-240 В, 50
Гц, габаритні
|
|
|
|
|
|
|
|
|
|
розміри 140,7х84,8х110 см, вага 340 кг
|
|
|
Agfa
|
AccuSet
|
ширина
|
600,1200,
|
±25/8 шт
|
видимий
|
381 мм/хв
|
• макс, лініатура растра — 200 !pl
• постачається
|
|
1000 Plus
|
|
області
|
1800, 2400,
|
|
червоний
|
|
окремо або під'єднаною "в
пінію" з проявлюваль-
|
|
|
|
експонування
|
3000
|
|
лазер
|
|
ною машиною (Agfa R51 OLP AccuSet)
• викорис
|
|
|
|
356мм
|
|
|
(670нм)
|
|
товується фотоматеріал HN, HNm, MS,
RC-папір,
|
|
|
|
|
|
|
|
|
формний матеріал на поліефірній
основі Agfa Set-
|
|
|
|
|
|
|
|
|
Print • комплектуються програмними
RIP, підтри
|
|
|
|
|
|
|
|
|
мує технологію растрування Agfa
Cristal Raster,
|
|
|
|
|
|
|
|
|
Agfa Balanced Screening, Adobe
Accurate Screens,
|
|
|
|
|
|
|
|
|
Standard PostScript RT Screening,
RIP ф. Agfa-
|
|
|
|
|
|
|
|
|
Viper, Taipan, Cobra, Star 400,
Star 800NX» елект
|
|
|
|
|
|
|
|
|
роживлення 230 В, 50/60 Ги, 4 А,
габаритні роз
|
|
|
|
|
|
|
|
|
міри 81,2х99х73,6 см, вага 115,5 кг
|
|
Agfa
|
SelectSet
|
внутр.
|
762х635 мм
|
1200, 1800,
|
±5/8 шт
|
видимий
|
4032-
|
• змінний діаметр плями запису
(7,5-20 мкм),
|
|
Avantra 30
|
барабан
|
(формат зображення 754х635 мм)
|
2400, 3600
|
|
червоний лазер (650нм)
|
1342
см'/хв
|
макс. лініатура растру — 425 Ірі •
постачається окремо або під'єднаною "в лінію" з проявлюваль-ною
машиною (Agfa Avantra ЗО OLP), містить пристрій для перфорації приводочних
отворів
|
|
|
|
|
|
|
|
|
(Head&Tail або Bacher),
постачається з системою
|
|
|
|
|
|
|
|
|
визначення формату та товщини
матеріалу Agfa
|
|
|
|
|
|
|
|
|
FlexMedia з автоматичним
настроюванням фокуса
|
|
|
|
|
|
|
|
|
Agfa OptiFocus • використовується
фотоматеріал
|
|
|
|
|
|
|
|
|
HN, формний матеріал на поліефірній
основі •
|
|
|
|
|
|
|
|
|
комплектуються програмними RIP,
підтримує тех
|
|
|
|
|
|
|
|
|
нологію растрування Agfa Cristal
Raster. Adobe
|
|
|
|
|
|
|
|
|
Accurate Screens, Standard
PostScript RT Screen
|
|
|
|
|
|
|
|
|
ing • електроживлення 230 В, 50 Гц,
0,4 кВт, га
|
|
|
|
|
|
|
|
|
баритні розміри 150х125х73 см, вага
558 кг
|
|
|
|
|
|
|
|
|
|
|
|
|
|
|
|
або близько 10 мкм. При переході до
насвітлення з іншою роздільною здатністю відповідно повинен змінюватись розмір
плями запису. Якщо така умова не виконується, то, залежно від ступеня відхилення
реальної плями запису від розрахованої, спостерігається явище нелінійності
запису — спотворення градаційної кривої запису через невідповідність
програмованих значень розмірів растрових точок отримуваних на фотоформі.
Частково нелінійність запису можна врахувати та компенсувати при калібруванні
насвітлювача. Отже для високоякісних кольорових робіт рекомендується обирати
насвітлювачі не лише з високою роздільною здатністю, але й з відповідно
змінюваним розміром плями запису.
Повторюваність при записі фотоформ
одного комплекту (4, 6 або 8 кольороподілених фотоформ лицевого та зворотнього
боку задрукову-ваного аркуша) визначає можливості насвітлювача для друкування
високоякісних повнокольорових зображень.
Як джерело світла використовують
лазери декількох видів:
• інфрачервоний діодний лазер
(довжина хвилі — 780 нм);
• лазерна діодна матриця (780 нм);
• червоний діодний лазер (680 нм);
• гелій-неоновий лазер (630 нм);
• аргон-іоновий лазер (488 нм).
Вид джерела світла визначає основні
якісні показники насвітлювача та можливість використання того чи іншого
чутливого матеріалу. Зокрема, лазер з меншою довжиною хвилі забезпечує кращу
контрастність, постійність оптичної густини фотоформ, вищу чіткість растрової
точки й вищу роздільну здатність запису. Таким чином, насвітлювачі з
гелій-неоновим та аргон-іоновим лазером забезпечують вишу якість фотоформ
порівняно з інфрачервоними лазерами, але воднораз є дорожчими. На вибір
насвітлювача суттєво впливають формат і швидкість виводу фотоформ, які
визначають продуктивність і вартість устаткування. Залежно від цих параметрів
ціни на однотипні за всіма іншими характеристиками насвітлювачі можуть
відрізнятись у два та більше разів.
До розміщення насвітлювачів
висувається ряд вимог, дотримання яких забезпечить стабільність і необхідний
рівень якості отримуваних фотоформ:
1) розміщення ділянки насвітлювачів
рекомендується проектувати в приміщенні зі штучним, а не природним освітленням;
2) розташовувати насвітлювач потрібно
на нерухомій чи вібраційно-захищеній основі;
3) необхідно забезпечити стабільні
мікрокліматичні умови (температуру та вологість повітря).
Обробка проекспонованої в
насвітлювачі плівки може відбуватись:
• у кюветах («вручну»);
• в окремо розміщеній проявлювальній
машині (off-line);
• у проявлювальній машині, що
з'єднана в лінію з насвітлювачем (on-line).
Більшість проявлювальних машин є
універсальними стосовно виду оброблюваного чутливого матеріалу, оскільки
дозволяють змінювати параметри та режими обробки. Їх вартість визначається
максимальним форматом оброблюваного матеріалу, продуктивністю роботи,
діапазоном зміни й точністю підтримки заданих режимів обробки (в т.ч.
концентрації оброблювальних розчинів).
Для регенерації робочих розчинів та
їх повторного використання, з видаленням з них коштовного срібла й утилізацією
залишків, до проявлювальних машин варто придбати відповідне спеціальне
обладнання (т. зв. процесори).
Для контролю якості отримуваних
фотоформ застосовують прогля-дові столи та чорно-білі денситометри для
вимірювання в прохідному світлі, наприклад, фірм X-Rite, TECHKON, Gretag, що
вимірюють оптичні щільності плашок і растрових ділянок.
Впровадження та застосування в
поліграфії скорочених технологічних схем «computer-to- » та висока вартість і
тривалість виводу фотоформ або друкарських форм обумовлюють необхідність
застосовувати досконалі кольорові монітори та цифрові системи кольоропроби, в
той час як аналогову кольоропробу або пробний друк застосовують лише для
відповідальних кольорових робіт, наприклад, при друкуванні репродукцій картин,
фотоальбомів, музейних каталогів і в інших випадках, коли потрібно максимально
точно відтворити складне кольорове зображення.
2. Особливості використання
«computer-to-plate» у малій друкарні
Пряме виготовлення ОДФ за допомогою
спеціального вивідного пристрою КВС (технологія «computer-to-plate») має багато
варіантів технологічного вирішення.
Перш за все за матеріалом основи ОДФ
розрізняють форми на алюмінієвій (металевій), на поліефірній (синтетичній) і на
паперовій основі. Відповідно до матеріалу основи змінюється тиражостійкість і
якість ОДФ (див. табл. 2). Звичайно, для більш відповідальної продукції та
вищих тиражів застосовують ОДФ на алюмінієвій і синтетичній основі. Паперові
форми застосовують для малоформатної продукції середньої та низької якості,
переважно для друкування бланків, формулярів, тобто переважно текстової
продукції з штриховими чорно-білими ілюстраціями. Через набрякання у
зволожувальному розчині та зміну розмірів паперові форми неможливо
застосовувати для повноколірного друку чи друку з точною проводкою кольорів.
Для підвищення тиражостійкості та розмірної стійкості паперових форм їх
покривають (зі зворотного боку) алюмінієвою або синтетичною плівкою.
Таблиця 2. Порівняльні характеристики офсетних
друкарських форм залежно від виду основи
|
Основа форми
|
Видільна здатність, мкм
|
Роздільна здатність, лін/см
|
Формат
|
Тиражостійкість, тис. відбитків
|
Вартість, відн. од.
|
|
Папір
|
40-50
|
до 32-44
|
А4-АЗ (до 524х405 мм)
|
1-10
|
0,55-2,7
|
|
Синтетична (поліефірна)
|
12-14
|
до 70
|
А4-АЗ (до 524х405 мм)"
|
10-25
|
2,3-9
|
|
Металева (алюміній)
|
4-8
|
до 250 і вище
|
довільна
|
50-300 і більше
|
2,4-11
|
*При виготовленні друкарських форм на
поліефірній основі у спеціальних насвіт-'лювачах для фото- та друкарських форм
формат може бути довільним.
Розглянемо основні варіанти
виготовлення ОДФ технології «computer-to-plate»:
1. Виготовлення ОДФ з використанням
формних матеріалів (на алюмінієвій основі) з фототермозатверджувальним шаром і
лазерним записом зображення. Якість отриманих форм аналогічна класичному
способу виготовлення. Тиражостійкість більше 150 тис. відбитків.
2. Виготовлення ОДФ з використанням
формних матеріалів (на алюмінієвій основі) з фотозатверджувальним шаром і
лазерним записом зображення. Якість і тира-жостійкість отриманих форм
аналогічна до попереднього способу.
3. Виготовлення ОДФ з використанням
формних матеріалів (на алюмінієвій основі) зі срібломістким шаром, який утворює
зображення-маску (при лазерному записі зображення), через яку відбувається експонування
(засвітка) формної
4. Виготовлення ОДФ з використанням
формних матеріалів із срібломістким шаром, на який здійснюється лазерний запис
зображення та відтворюються дифузійні процеси. Якість форм на алюмінієвій
основі аналогічна класичному способу виготовлення, а тиражостійкість становить
=100 тис. відбитків. Форми на поліефірній основі витримують тираж 10-20 тис.
відбитків (залежно від товщини основи). Форми на паперовій основі витримують
тиражі до 10 тис. відбитків.
5. Виготовлення ОДФ з використанням
формних пластин з фотопровідними шарами, лазерним записом зображення та
проявленням за допомогою рідкого чи сухого тонера. Виготовлення ОДФ експонуванням потужним лазерним променем.
При цьому можливим є використання або спеціальних формних пластин для лазерного
гравіювання, або звичайних ПОФП, що використовуються при класичному способі.
Якість і тиражостійкість отриманих форм аналогічна класичному способу
виготовлення.
6. Виготовлення ОДФ експонуванням
потужним лазерним променем. При цьому можливим є використання або спеціальних
формних пластин для лазерного гравіювання, або звичайних ПОФП, що
використовуються при класичному способі. Якість і тиражостійкість отриманих
форм аналогічна класичному способу виготовлення.
7. Виготовлення ОДФ нанесенням на зви
чайну ПОФП зображення-маски струменевим друком з подальшими експонуванням
(засвіт-кою) та обробкою за класичною схемою, тиражостійкість і якість
отриманих форм аналогічна класичному способу виготовлення, але невисока
роздільна здатність струменевого друку обмежує репродукційно-графічні показники
отриманих форм. Роздільна здатність таких форм не перевищує 24-30 лін/см.
8. Виготовлення ОДФ з використанням
формних матеріалів (на паперовій основі) з утворенням зображення за допомогою
звичайного лазерного або струменевого прінтера та спеціальної обробки.
Застосовується при друкуванні простих текстових та ілюстрованих чорно-білих або
багатоколірних (без точного суміщення) зображень.
Вибір того чи іншого варіанту
технології «computer-to-plate» передусім грунтується на вимогах до якості
продукції, її тиражності, фінансових та організаційних можливостях друкарні та
означає вибір того чи іншого формного матеріалу і відповідного до них
обладнання.
Короткий інтервал між появою
технологій «computer-to-film» та «computer-to-plate» обумовив впровадження у
розроблених насвітлювачах можливості до експонування срібломістких формних
пластин на поліефірній основі.
Якість друкованої продукції з форм,
що виготовлені за проекційним» способами, обмежується якістю використаного оригінал-макета,
а тому з таких форм друкують головним чином одноколірну, переважне текстову
продукцію, або малоілюстровану з простими та груборастро-вими зображеннями.
3. Системи управління якістю
обробки кольорової графічної інформації в комп'ютерній видавничій системі
Високі вимоги до якості друкованої
продукції навіть у малій поліграфії з боку споживачів обумовлюють необхідність
впровадження та застосування в КВС ефективних систем управління якістю
перетворення кольорової графічної інформації.
Донедавна існували лише окремі
елементи системи управління якістю тоно- та кольоровідтворення, враховуючи
такі, як: калібрування сканерів чи моніторів; отримання кольоропроби (цифрової
або аналогової) або виконання пробного друку; цифрові системи налагодження та контролювання
процесу друкування (зокрема, попереднє налагодження фарбового апарата і
контроль за ідентичністю отримуваних відбитків між собою). З об'єднанням їх у
загальну систему наскрізного керування кольоровідтворенням і кольоропередачею —
Color Manage -nent System (скорочено CMS) покращились існуючі та з'явились нові
можливості:
• здійснення регулярного контролю та
регулювання апаратних засобів КВС власними силами (без залучення до цього
висококваліфікованих спеціалістів фірми-виробника або з сервісного центру);
• відтворення без спотворень
максимально наближеного до оригіналу поліграфічного відбитка, вже в
додрукарських процесах перетворення обходячи технічні обмеження по точному
калібрування апаратних засобів КВС шляхом їх компенсування та приведення результатів
максимально наближеними до Ідеальних (до оригіналу) або до реально отримуваних
при друкуванні (друкарського відбитку);
• врахування в додрукарських процесах
конструктивних особливостей друкарської машини (зокрема, фарбового,
зволожувального та друкарського апаратів), спектральних характеристик фарб та
паперу, що застосовуються при друкуванні, та інших факторів друкарського
процесу (швидкість друкування та величина розтискування фарби;
порядок накладання фарб і спосіб
друкування багатофарбової продукції — за декілька прогонів з проміжною сушкою
відбитків («по сухому») чи за один прогін («по сирому»); наявність лакування);
• знизити витрати часу й зусиль та
підвищити якість попереднього налагодження друкарської машини. Функціонування
такої системи складається з трьох етапів (рис. 4):
1. Відтворення (оцифровування у
випадку сканування або цифрового фотографування) еталонного зображення
(тест-форми) в реальних умовах роботи кожного конкретного пристрою КВС й
друкарської машини, що використовується для друкування, та оцінка (вимірювання)
відтворення контрольних шкал.
2. Порівняння одержаних результатів з
паспортними значеннями контрольного зображення, врахування розбіжностей і
встановлення компенсуючих значень роботи на даному пристрої КВС (побудова так
званих компенсувальних профілів). Для поліграфічного відбитка розбіжності з
оригіналом (контрольним зображенням) служать для характеристики друкарського
процесу.
3. Використання стандартних
компенсувальних профілів або отриманих у реальних умовах роботи даної КВС для
досягнення апаратно незалежного
зчитування, переробки та відтворення кольорової графічної інформації.
Наприклад, при відтворенні зображення на моніторі за допомогою отриманого
компенсувального профілю виправляються похибки кольоровідтворення, і зображення
на екрані можна вважати ідентичним до зображення, відтвореного в ідеальних
умовах
Рис. 4. Схема функціонування системи
наскрізного керування кольоровідтворенням і кольоропередачею: 1-й етап —
тестування пристрою; 2-й етап — аналіз результатів тестування; 3-й етап —
корегування роботи пристрою.
фотоформа друкарня
інформація графічний
Компенсувальні профілі друкарського
процесу застосовуються для врахування особливостей проведення процесу
друкування в додрукарських процесах (при кольоровому та градаційному
коректуванні, кольороподілі, раструванні, отриманні цифрової кольоропроби).
Основою функціонування системи
наскрізного керування кольо-ровідтворенням і кольоропередачею є спеціалізоване
програмне забезпечення, наприклад, Agfa FotoTunc CMS, Apple Color Sync, Eastman
Kodak Precision CMS, Du Pont CMS, Electronics For Imaging EFI Color Works,
Barco Cobra Match. Вимірювання контрольних шкал при цьому виконується за
допомогою звичайних або вбудованих (як наприклад, для деяких моделей
професійних моніторів) кольорових денситометрів (спектрофотометрів).
Іншим елементом або системою контролю
якості обробки кольорової графічної інформації в КВС виступає кольоропроба.
Застосування пробного друку та прободрукарської техніки для отримання
попередніх результатів майбутнього друкування (тиражування) є неефективним у
сучасних комп'ютерних системах додрукарської підготовки видання. Кольоропроба
обумовлена потребою негайної оцінки результатів окремих етапів роботи
(сканування, кольороподіл, вивід фотоформ тощо), щоб уникнути (при виявленні
похибок) тривалого та коштовного повторного виконання повного або часткового
комплексу додрукарських робіт.
Залежно від форми контрольованого
зображення виділяють цифрову та аналогову кольоропробу. Оцифровані зображення
відтворюються за допомогою цифрової кольоропроби (кольорових прінтерів або
екрана монітора. Для проведення аналогової
кольоропроби використовуються фотоформи або монтаж фотоформ.
/