Научно-технический прогресс: суть и роль в экономике
Введение
Локальная
компьютерная сеть — типичный атрибут практически любого современного
предприятия, начиная от небольшой фирмы, заканчивая крупным заводом. Сети могут
быть разными по размерам, топологии, уровням организации и выполнять различные
задачи от простого предоставления в общее пользование принтеров и папок до
большой корпоративной сети, объединяющей многие сегменты, предоставляющей Internet и т.д. Однако, вне зависимости от
размеров сети, неоспоримым остается тот факт, что сеть состоит из отдельных
компьютеров. А каждый компьютер состоит из множества элементов: материнская
плата, процессор, винчестер и т.д. И если для пользователя этого компьютера не
представляет интерес, какой тип процессора работает в системном блоке его
компьютера, то это представляет большой интерес для системного администратора,
обеспечивающего бесперебойную работу компьютерной сети в целом. Для
программиста, программа которого будет работать на данном компьютере, а также
для бухгалтера, отвечающего за денежный учет компьютеров и оргтехники на
предприятии.
К сожалению,
во многих фирмах, торгующих компьютерным оборудованием, в настоящее время при
выписке документов продажи отсутствует подробное разбиение компьютера на
элементы с указанием стоимости каждого элемента. Т.е. компьютер продается как
единое целое. Вследствие этой причины и на баланс бухгалтерского учета
компьютер попадает как единое целое. Но системные администраторы знают, что на
самом деле компьютер состоит из элементов, а элементы нередко перемещаются
между компьютерами. Через какое-то время трудно сказать какой элемент, в каком
компьютере должен находиться, тем более восстановить это по бухгалтерским
документам зачастую бывает невозможным (как раз потому, что там компьютер
проходит как единое целое).
Кроме того,
компьютеры, будучи приобретены отделом снабжения, распределяются по остальным
отделам и закрепляются за сотрудниками. Таким образом, перемещение элементов
компьютеров между компьютерами может захватывать сотрудников сразу нескольких
отделов.
1 Описание
процесса учёта компьютерного оборудования
Перемены
нашего времени обусловили возрастающий интерес разного рода коммерческих и
некоммерческих организаций к применению компьютерной техники для обеспечения
информационной поддержки своего бизнеса. Это является следствием относительной
стабилизации экономики, прекращения падения производства, а в некоторых
областях и заметного его роста; что позволяет успешным организациям
инвестировать определенные средства в облегчение рутинной каждодневной работы
по сбору и обработке информации обеспечивающей бизнес процесс.
Преимущества
компьютеризации неоспоримы. Но наряду с теми преимуществами, которые дает
использование высоких технологий в организациях и на производстве, у
сотрудников компаний, задействованных в управлении этими ресурсами и их
обслуживании, возникают дополнительные проблемы. Так жертвами компьютеризации
становятся исполнительные и финансовые директора компаний, руководители
структурных ИТ- подразделений, бухгалтерия, и, конечно же, системные
администраторы.
Задачи,
которые приходится в связи с этим решать, достаточно разнообразны. Это и
рациональное планирование финансирования, и приобретение оптимальной по своим
характеристикам вычислительной техники, в том числе запасных комплектующих, и
организация инвентарного учета поступающего оборудования (закрепление его за
материально ответственными лицами), и ведение контроля над перемещением
оборудования между структурными подразделениями организации. Кроме того,
необходимо своевременно получать информацию о возникающих неисправностях,
регистрировать комплектующие, хранящиеся на складе и расходуемые при ремонте
техники, вовремя фиксировать изменения в конфигурации оборудования,
произошедшие в результате модернизации.
Быстрое
развитие электронной техники приводит к тому, что практически каждый очередной
закупаемый комплект оборудования по своей конфигурации существенно отличается
от предыдущего: В результате этого в одной организации может одновременно
эксплуатироваться оборудование, различное по своим производственным
возможностям, а также несовместимое по комплектующим устройствам.
При этом для
разработки планов поддержания и развития производства необходимо, в частности,
иметь возможность оперативно получать актуальную сводную информацию о
техническом состоянии оборудования, конфигурации рабочих станций, а также о
наличии запасных комплектующих. Без этих сведений довольно затруднительно
проводить модернизацию оборудования и его рациональное перераспределение между
подразделениями компании. А если к этому добавить и возможную текучесть кадров
в подразделениях, занимающихся техническим обслуживанием оргтехники компании,
то восстановление потерянной информации может занять очень много времени или
вовсе не состояться.
Существует
необходимость написания программы для автоматизированного рабочего места
администратора компьютерной сети предприятия, которая бы позволяла вести учет
компьютеров на предприятия, с распределением их по отделам и по сотрудникам.
Задача учета
компьютерной техники в организации очень важна по разным причинам:
а) учет
необходим с точки зрения бухгалтерии. При этом каждый компьютер должен
учитываться, как единое целое, так как бухгалтеру нужно всегда быть готовым к
задаче инвентаризации, как лицу, материально ответственному за технику, а
вопрос из каких комплектующих состоит отдельный компьютер, не должен волновать
бухгалтера.
б) учет
необходим с точки зрения системного администратора. В этом случае хорошая
программа для учета должна учитывать компьютер не только как единое целое, но и
то, из каких комплектующих он состоит. Наглядно представить картину
расположение компьютера или элемента, и за каким человеком он закреплён. При
этом становится возможным быстрый поиск интересующего вас устройства или групп
устройств по определенному критерию. Всегда можно оперативно узнать, где находится
данный компьютер или комплектующий элемент.
Разрабатываемая
система автоматизации учета и инвентаризации компьютерной техники это
программный продукт, который является инструментом учета оборудования, который
охватывает полный жизненный цикл компьютерного оборудования с момента его
поступления в компанию до его списания. Она незаменима для всех людей на
предприятии, в служебные обязанности которых входит задача постоянно быть в
курсе того:
а) как
тратятся деньги на техническое оснащение, перевооружение, обслуживание и ремонт
компьютерной техники;
б) насколько
эти затраты эффективны;
в) где сейчас
находится, эта купленная год назад техника, и какова история ее переоснащения.
Руководителям
служб автоматизации программа поможет:
а)
спланировать эффективное распределение имеющихся технических ресурсов;
б) всегда
поддерживать актуальные описания текущих конфигураций компьютерного
оборудования;
в)
планировать обновление, списание, обслуживание техники, штатные замены
комплектующих и изменения конфигураций компьютерного и коммуникационного
оборудования;
г) оперативно
обрабатывать заявки персонала на обновление и ремонт техники;
д) вести
контроль компонентного состава техники и установленного ПО легко и быстро
составлять большое количество необходимой отчетной документации.
2 Постановка
задачи на разработку автоматизированной системы учёта компьютерного
оборудования
2.1
Характеристики комплекса задач
2.1.1
Назначение комплекса задач
Программный
продукт, который необходимо разработать с целью автоматизации учета и
инвентаризации компьютерной техники в ходе дипломного проектирования, должен
выполнять следующие функции:
а) ведение
списка производителей компьютерного оборудования, аксессуаров с указанием их
реквизитов;
б) ведение
списка поставщиков компьютерного оборудования, аксессуаров с указанием их
реквизитов;
в) создание
удобной структуры предприятия в виде дерева подразделений и работающих в них
сотрудников;
г) ведение
списка компьютеров предприятия с закреплением их по подразделениям и
сотрудникам;
д) учет и
списание компьютеров в виде комплектующих, а не просто с указанием параметров
машины;
е) ведение
списка документов покупки оборудования, просмотр и печать содержимого каждого
документа;
ж)
отслеживание истории перемещения комплектующих между компьютерами, а также
компьютеров между сотрудниками и подразделениями;
з) вывод
подробной информации о составе комплектующих компьютера с подробным указанием
реквизитов элементов (серийные и инвентарные номера, технические параметры), а
также данных об их покупке (документ, поставщик, цены, гарантия);
и) ведение
списка программного обеспечения, установленного на компьютерах, а также
пользователей (с их логинами и паролями), работающих с этим программным
обеспечением;
к) мощный
поиск, отбор и фильтрация оборудования по любому критерию оборудования, его
покупки и принадлежности, установленному ПО и работающим пользователям, а также
по совокупности этих критериев;
л) удобные средства ввода новых компьютеров, их комплектующих, параметров
покупки, изменения состава оборудования и его закрепления, перемещения
элементов и т.д.;
м)
составление отчетов о компьютерах предприятия.
Программа
учета компьютерного оборудования предприятия должна иметь развитый и удобный
пользовательский интерфейс. Следует в ходе разработки программы использовать
такие элементы как деревья и списки для более информативного представления
данных. Не следует пренебрегать такими элементами графического интерфейса как
иконки и картинки, в том числе в деревьях. Это позволит повысить воспринимаемость
данных.
Программа
должна позволять пользователю вести списки производителей и поставщиков
компьютерного оборудования — добавлять, редактировать, удалять записи о них,
данные справочники являются вспомогательными и не являются приоритетной задачей
программы, но их наличие позволяет пользователю при формировании состава
компьютера выбирать производителя и продавца из списка, а не вводить с
клавиатуры.
Следующая
задача — ведение структуры предприятия. Структуру предприятия целесообразно
представить в виде дерева подчиненных подразделений. Кроме того, в дереве
должны присутствовать и сотрудники. Изменение подчиненности подразделений и
сотрудников должно выполняться интерактивно — при помощи процедуры Drag-and-Drop.
Формирование подробной структуры предприятия необходимо для выяснения
принадлежности компьютера (и его элементов) к тому или иному подразделению и
сотруднику.
Состав
компьютеров и структура каждого компьютера должны представляться в нескольких
режимах, частично повторяющих функции друг друга.
Первый режим
представлять собой список компьютеров без указания их принадлежности и без
вывода дерева устройств. Этот режим позволяет просмотреть все компьютеры,
содержащиеся в базе данных.
Второй режим
- список компьютеров с указанием принадлежности тому или иному подразделению.
Окно представления данного режима состоит из двух частей, В первой отображается
структура предприятия ( с сохранением всей ее функциональности), а во второй
отображаются компьютеры, закрепленные за выбранным в данный момент в структуре
предприятия подразделением или сотрудником. При чем компьютеры могут
отображаться как с деревом своих элементов, так и без него, должны
присутствовать режимы отображения, как компьютеров данного подразделения, так и
компьютеров подразделений, подчиненных данному подразделению. Также должны
отображаться компьютеры, не закрепленные ни за каким сотрудником или
подразделением.
Как из
первого, так и из второго режима можно прейти в третий режим — отображение
подробных данных о компьютере. Здесь в виде дерева показываются элементы
компьютеры с указанием их типа, производителя, модели, серийного номера. Кроме
того, для каждого элемента, а также компьютера целиком выводятся данные об их
покупке с выводом документов, цен и сроков гарантии. Элементы, относящиеся к
разным покупкам должны группироваться. Этот режим называется мастером
структуры.
Интерфейс
программы во всех окнах должен быть един и удобен для пользователя. Так в любом
окне, в котором представлен состав элементов компьютера, должна присутствовать
возможность добавления, удаления или редактирования элементов компьютера, а в
списке компьютеров — возможность добавления, удаления компьютера или вызова
мастера его структуры.
Четвертый
режим служит для интерактивного изменения пользователем состава элемента
компьютера путем переноса их из других компьютеров. В окне должны отображаться
два дерева компьютеров с составом элементов и при помощи функции Drag-and-Drop
пользователь может переносить элементы из одного компьютера в другой. Этот
режим называется мастером перемещения.
Отдельно
следует выделить случай покупки нового компьютера. В программе следует
предусмотреть три режима покупки:
а) компьютер
приобретается целиком, по одному документу, в котором нет разбиения на
элементы;
б) компьютер
приобретается целиком, по одному документу, но на каждый элемент указана цена и
срок гарантии;
в) компьютер
приобретается как совокупность элементов, каждый из которых или часть из
которых имеют собственные документы покупки, т.е. были куплены в разное время,
у разных поставщиков, по разным документам.
Отчеты должны
содержать информацию о составе одного компьютера с указанием типа,
производителя и модели элемента, а также информацию о закреплении компьютера за
подразделением или сотрудником. Второй отчет должен предоставлять информацию о
распределении всех компьютеров предприятия по подразделениям и сотрудникам.
Систематизация
информации по оборудованию производится следующим образом. После того, как
приобретенный компанией комплект оборудования поставлен на учет в бухгалтерии в
качестве “основного средства” - ему присвоен инвентарный номер и указана
первоначальная стоимость, - этот комплект под тем же номером и с той же
стоимостью может быть зарегистрирован и в программе “Учет оборудования” (такая
“параллель” обеспечивает возможность сверки различных форм учета и снижает
вероятность ошибок при инвентаризации). далее, на каждую единицу оборудования
создается электронный справочник. В него последовательно, в каждый момент
перехода от одного этапа жизненного цикла оборудования к другому, путем
заполнения и проведения соответствующих документов заносятся реквизиты
оборудования, предусмотренные в конфигурации. Например, на этапе приобретения
нового оборудования ему присваиваются и вносятся в формуляр инвентарный номер и
персональное имя, регистрируются тип и стоимость, поставщик, гарантийный номер
и срок гарантии, указываются ответственное лицо, принимающего оборудование на
хранение, и подразделение, в котором пользователь будет работать на этом
оборудовании. Дополнительные вкладки формуляра предназначены для занесения
состава конфигурации оборудования (перечень комплектующих) и списка
установленного программного обеспечения.
Современные
компании динамичны в своей организационной структуре. Поэтому часто возникает
необходимость передачи оборудования из одного отдела в другой, от одного
пользователя - другому, замены одного материально-ответственного должностного
лица - на другое. Чтобы не утратить контроль над движением оборудования,
конфигурация обеспечивает возможность изменения и сохранения в истории всех
этих реквизитов. Даже если структурная реорганизация компании потребует
изменения инвентарного учета, производственная необходимость будет реализована
без потери учета оборудования.
Всё
поступившее в компанию оборудование, запасные комплектующие, и программное
обеспечение учитываются в перечнях резервов и автоматически исключаются из
этого списка в момент передачи пользователю или установке на рабочие станции.
Поэтому невозможно дважды “распределить” один и тот же компьютер или повторно
“установить” уже израсходованные комплектующие. При проведении ремонтных работ
демонтированные с оборудования неисправные комплектующие учитываются и
сохраняются в конфигурации как “списанные”, таким образом их учет не теряется.
Если же при модернизации оборудования идет замена исправных устройств, которые
могут быть в будущем использованы для ремонта других комплектов, то программа
“Учет оборудования” обеспечивает “возвращение” демонтированных комплектующих
“на склад” и сохранение их в списках резервов. Аналогично в программе можно
документально зарегистрировать разукомплектование исправной устаревшей модели
оборудования на отдельные устройства и перевод их в категорию запасных.
Соответствующие изменения вносятся в формуляр и сохраняются при регистрации
других этапов жизненного цикла оборудования. Для хранения информации по учету
оборудования в конфигурации предусмотрен ряд справочников по видам и типам
комплектующих, видам характеристик комплектующих и единицам их измерений,
производителям и поставщикам оборудования, а также по структурным
подразделениям и сотрудникам своей компании. Кроме того, в программе “Учет
оборудования” отдельно взят на учет большой перечень реквизитов программных
продуктов по их стоимости и лицензиям. Разработан ряд справочников по
программному обеспечению, обеспечена регистрация поступлений программных
продуктов в организацию, а также возможность установить контроль над их
установкой, заменой и удалением. В программе предусмотрена система авторизации
и контроля прав, которая позволяет дифференцировать возможности использования
различных функций для отдельных категорий пользователей. Например, сотрудник,
работающий на персональном компьютере, может зафиксировать в электронном
документе только факт и характер неисправности своей рабочей станции (этим он
автоматически формирует заявку на ремонт оборудования в обслуживающее
подразделение). Результат же выполненного ремонта, а также связанные с ним
расход комплектующих со склада и изменение состава деталей компьютера заносится
в базу данных только представителем подразделения технического обслуживания.
Возможности программы позволяют организовать получение самой разнообразной
отчетной и аналитической информации о состоянии и движении офисного
оборудования компании. В отчетах могут быть представлены сведения об
эксплуатации оборудования за любой выбранный промежуток времени. Например,
можно сформировать отчет с перечнем всех рабочих станций выбранного отдела, на
которых установлено интересуемое программное обеспечение. Или, все оборудование
компании в стоимостном выражении, которое поступило за определенный период.
2.2 Выходная
информация
Идентификатор:
ИНФОРМАЦИЯ О КОМПЬЮТЕРЕ
Форма:
видеокадр
Периодичность:
по требованию
Получатель:
инженер
Назначение:
просмотр информации о компьютере
Состав
реквизитов: Инвентарный номер, iр- адрес, Название, Цена,
Ответственное
лицо, Пользователь
Вид:
(Приложение Б)
Идентификатор:
ИНФОРМАЦИЯ О КОМПЛЕКТУЮЩИХ
Форма:
видеокадр
Периодичность:
по требованию
Получатель:
инженер
Назначение:
просмотр информации о комплектующих
Состав
реквизитов: Инвентарный номер, Название модель,
Производитель,
Поставщик
Вид:
(Приложение Б)
Идентификатор:
ИНФОРМАЦИЯ О ПРОГРАММНОМ
ОБЕСПЕЧЕНИИ
Форма:
видеокадр
Периодичность:
по требованию
Получатель:
инженер
Назначение:
просмотр информации о программном обеспечении
Состав
реквизитов: Инвентарный номер, Название, Версия,
Регистрационный
ключ, Цена, ‚Web-сайт
Идентификатор:
ИНФОРМАЦИЯ О ПОЛЬЗОВАТЕЛЕ
Форма:
видеокадр
Периодичность:
по требованию
Получатель:
инженер
Назначение:
просмотр информации о пользователе
Состав
реквизитов: id- Пользователь, Имя, должность,
Логин,
Пароль, Отдел
Идентификатор:
ИНФОРМАЦИЯ ОБ ОТВЕТСТВЕННОМ ЛИЦЕ
Форма:
видеокадр
Периодичность:
по требованию
Получатель: инженер
Назначение:
просмотр информации об ответственном лице
Состав
реквизитов: id-Ответственное лицо, Имя, Компьютер
Вид:
(Приложение Б)
2.3 Входная
информация
Идентификатор:
НОВЫЙ КОМПЬЮТЕР
Форма:
видеокадр
Срок и
частота поступления: по требованию
Состав
реквизитов: Инвентарный номер, iр- адрес, Название, Цена,
Ответственное
лицо, Пользователь
Идентификатор:
НОВЫЕ КОМПЛЕКТУЮЩИЕ
Форма:
видеокадр
Срок и
частота поступления: по требованию
Состав
реквизитов: Инвентарный номер, Название модель,
Производитель,
Поставщик
Идентификатор:
НОВЫЙ ПОЛЬЗОВАТЕЛЬ
Форма:
видеокадр
Срок и
частота поступления: по требованию
Состав
реквизитов: id- Пользователь, Имя, должность,
Логин,
Пароль, Отдел
Идентификатор:
НОВОЕ ОТВЕТСТВЕННОЕ ЛИЦО
Форма:
видеокадр
Срок и
частота поступления: по требованию
Состав
реквизитов: id-Ответственное лицо, Имя, Компьютер
Идентификатор:
НОВОЕ ПРОГРАММНОЕ ОБЕСПЕЧЕНИЕ
Форма:
видеокадр
Срок и
частота поступления: по требованию
Состав
реквизитов: Инвентарный номер, Название, Версия,
Регистрационный
ключ, Цена, ‚Web-сайт
3 Разработка
информационного обеспечения
3.1
Проектирование БД методом «сущность-связь»
База данных -
именованная совокупность данных отображающих состояние объектов и их отношение
в рассматриваемой предметной области
Преимущества
работы с БД:
а)
Возможность общего доступа;
б)
Возможность соблюдения стандартов;
в)
Возможность введения ограничений для обеспечения безопасности;
г)
Возможность обеспечения целостности данных;
д)
Независимость данных, т.е. иммунитет приложений к изменениям в структуре
хранения БД.
Цели
проектирования БД:
а)
Возможность хранения в БД всех данных представляющих интерес в данной
предметной области;
б) Исключение
избыточности данных;
в) Сведение
количества хранимых отношений к минимуму;
г)
Нормализация отношений.
3.1.1
Выделение стержневых сущностей
В данной
задаче выделим следующие стержневые сущности:
а)
Компьютеры;
б)
Комплектующие;
в) Словарь
комплектующие;
г)
Производители;
д)
Поставщики;
е)
Программное обеспечение;
ж) Словарь
ПО;
з) Отделы;
и)
Ответственное лицо;
к)
Пользователи;
л) документы.
3.1.2
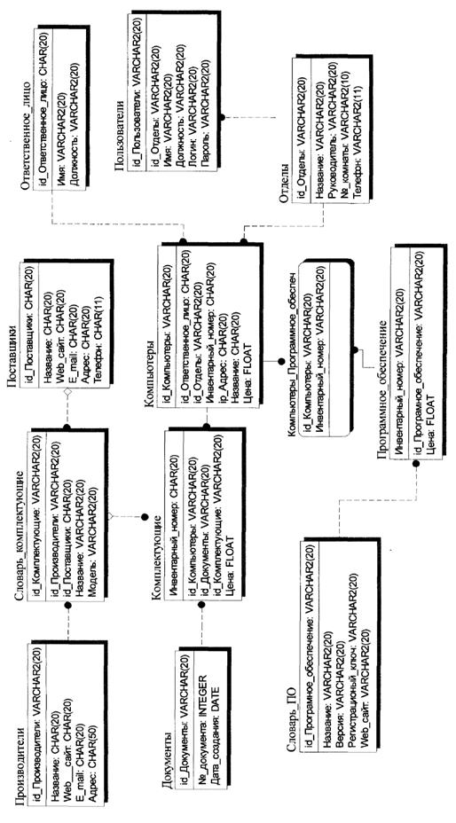
диаграмма ЕR-типа
Проектирование
базы данных методом «сущность/связь». При помощи этого метода строим диаграмму
ЕR-типа ( Еntitу-Relationship model) (Рисунок 3.1) в определённом смысле эта диаграмма
является моделью базы данных.
Элементы
модели:
а) Сущность
представляет собой множество реальных или абстрактных объектов, например: люди,
места, события, факты, которые имеют общие характеристики. Сущность - это логическое
понятие. Сущности соответствует таблица в реальной СУБд. Сущность — объект или
субъект реального мира представляющий интерес в данной предметной области. Этот
объект должен иметь экземпляры, отличающиеся друг от друга и допускающие
однозначную идентификацию идентификатора. Сущность определяет множество
атрибутов, которые описывают свойства данной сущности;
б) Ключ
сущности — атрибут или набор атрибутов, однозначно определяющий экземпляр
сущности;
в) Связь -
это функциональная зависимость между двумя сущностями (в частности, возможна
связь сущности с самой собой). Связь - это понятие логического уровня, которому
соответствует внешний ключ на физическом уровне. Ассоциация установленная между
несколькими сущностями обычно выражаемая глаголом.
Связь имеет
два характера:
а) Степень
связи — это то количество экземпляров одной сущности, которое может быть
ассоциировано с одним экземпляром самой сущности. Определяется, как правило,
для бинарной связи. Может быть 1:1, 1:n, n:m;
б)
Обязательность или класс принадлежности сущности к связи. Если все экземпляры
сущности участвуют в связи, то говорят, что класс принадлежности является
обязательной. Если хотя бы один экземпляр сущности не участвуют в связи, то он
не обязательный.
3.1.3
Описание связей в ЕR-диаграмме
а) Связь
«поставляют» объединяет сущности «Словарь комплектующие» и «Поставщики»
(Поставщики —
поставляют — Словарь комплектующие)
Степень связи
«один ко многим» т.к. каждый комплектующий элемент может быть поставлен одним
поставщиком, и каждым поставщиком может быть поставлено много комплектующих.
Класс принадлежности сущности словарь комплектующие обязателен т.к. у всех
комплектующих должен быть поставщик, а класс принадлежности сущности поставщики
необязателен, потому что на предприятии может не быть комплектующих
поставленных данным поставщиком;
б) Связь
«производят» объединяет сущности «Словарь комплектующие» и «Производители»
(Производители
— производят - Словарь комплектующие)
Степень связи
«один ко многим» т.к. каждый комплектующий элемент может быть произведён одним
производителем, и каждым производителем может быть произведено много
комплектующих. Класс принадлежности сущности словарь комплектующие обязателен
т.к. у всех комплектующих должен быть производитель, каждый компьютер должен
быть поставлен поставщиком, а класс принадлежности сущности производитель необязателен,
потому что на предприятии может не быть комплектующих произведённых данным
производителем;
в) Связь
«является элементом» объединяет сущности «Комплектующие» и «Словарь комплектующие»
(Комплектующие
— является элементом - Словарь комплектующие)
Степень связи
«один ко многим» т.к. каждый комплектующий элемент может быть в одном словаре,
и в каждом словаре может быть много комплектующих. Класс принадлежности сущности
комплектующие обязателен т.к. все комплектующие должны быть в словаре, а класс
принадлежности сущности словарь комплектующие необязателен, потому что в
словаре может не быть комплектующих;
г) Связь
«состоят» объединяет сущности «Комплектующие» и «Компьютеры» (Компьютеры —
состоят - Комплектующие)
Степень связи
«один ко многим» т.к. компьютеры могут состоять из нескольких комплектующих, и
каждый комплектующий элемент может быть поставлен только в один компьютер.
Класс принадлежности обоих сущностей обязательный т.к. все комплектующие должны
стоять в компьютере, и компьютеры должны состоять из комплектующих;
д) Связь
«хранятся» объединяет сущности «Комплектующие» и «Документы» (Документы —
хранятся - Комплектующие)
Степень связи
«один ко многим» т.к. у комплектующего элемента может быть один документ, и в
каждом документе может быть несколько комплектующих. Класс принадлежности обоих
сущностей обязательный т.к. все комплектующие должны иметь документы, и в
каждый документ должен состоять из комплектующих;
е) Связь «находятся»
объединяет сущности «Компьютеры» и «Отделы»
(Компьютеры — находятся - Отделы)
Степень связи
«один ко многим» т.к. каждый компьютер может находиться в одном отделе, и в
одном отделе может быть несколько компьютеров. Класс принадлежности сущности
компьютеры обязателен т.к. каждый компьютер должен находиться в каком-нибудь
отделе, а класс принадлежности сущности отделы необязателен, потому что в
отделе может не быть компьютера;
ж) Связь
«установлено» объединяет сущности «Компьютеры» и «Программное обеспечение»
(Программное
обеспечение — установлено - Компьютеры)
Степень
связи «много ко многим» т.к. на одном компьютере может стоять много
программного обеспечения, и каждое программное обеспечение может стоять на
нескольких компьютерах;
з) Связь «является
элементом» объединяет сущности «Программное обеспечение» и «Словарь ПО»
(Программное
обеспечение — является элементом - Словарь ПО)
Степень
связи «один ко многим» т.к. каждое программное обеспечение может быть в одном
словаре, и в каждом словаре может быть много программного обеспечения. Класс
принадлежности сущности программное обеспечение обязателен т.к. всё программное
обеспечение быть в словаре, а класс принадлежности сущности словарь ПО
необязателен, потому что в словаре может не быть программного обеспечения;
и) Связь
«отвечает» объединяет сущности «Компьютеры» и «Ответственное лицо»
(Ответственное
лицо — отвечает - Компьютеры)
Степень связи
«один ко многим» т.к. за каждый компьютер несёт ответственность один человек, и
один человек может нести ответственность за несколькими компьютерами. Класс
принадлежности обоих сущностей обязательный т.к. за каждый компьютер несёт
ответственность ответственное лицо, и каждое ответственное лицо несёт
ответственность за компьютеры;
к) Связь
«работают» объединяет сущности «Отделы» и «Пользователи»
(Пользователи
— работают - Отделы)
Степень связи
«один ко многим» т.к. каждый пользователь может работать в одном отделе, и в
одном отделе может работать много пользователей. Класс принадлежности сущности
пользователи обязателен т.к. все пользователи должны работать в отделах, а
класс принадлежности сущности отделы необязателен, потому что в отделе может не
быть пользователей.
3.1.4
Отношения
а) Компьютеры
(id-Компьютер, Инвентарный номер, iр-
Адрес, Название, Цена, id-Ответственное
лицо, id-Отделы);
б)
Комплектующие (Инвентарный номер, id- Компьютер, id- Документы, id-Комплектующие);
в) Словарь
комплектующие (id-Комплектующие,
Название, Модель id-Производители, id - Поставщики);
г)
Производители (id-Производители,
Название, Web-сайт, Е-mail, Адрес, Телефон);
д) Поставщики
(id-Поставщики, Название, ‚Web-сайт, Е-mail, Адрес, Телефон);
е)
Программное обеспечение (Инвентарный номер, Цена, id- Программное обеспечение);
ж) Словарь ПО
(id-Программное обеспечение, Название,
Версия, Регистрационный ключ, Web-сайт);
з) Отделы (id-Отделы, Название, Руководитель,
Телефон, № комнаты);
и)
Ответственное лицо (id-Ответственное
лицо, Имя, Должность);
к)
Пользователи (id-Пользователи,
Имя, Должность, Логин, Пароль, id-Отделы);
л) Документы
(id-Документы, Номер документа, Дата
создания);
м) Связь
компьютеры - программное обеспечение (id-Компьютер, Инвентарный номер).
3.1.5
Исследование на НФБК
Проведем
проверку: соответствует ли спроектированная база данных нормальной форме
Бойса-Кодда.
Как видно из
логической и физической модели ни одно отношение не может быть представлено
проекцией атрибутов другого отношения. Также ни одно отношение не может быть
получено путем проведения последовательных JOIN операций. Это свидетельствует об отсутствии
избыточности в спроектированной базе данных.
Компьютеры
|
Возможный ключ
|
Детерминант
|
|
id-Компьютер
|
id-Компьютер
|
Комплектующие
|
Возможный ключ
|
Детерминант
|
|
Инвентарный номер
|
Инвентарный номер
|
Словарь комплектующих
|
Возможный ключ
|
Детерминант
|
|
id-Комплектующие
|
id-Комплектующие
|
Производители
|
Возможный ключ
|
Детерминант
|
|
Id- Производители
|
id- Производители
|
Поставщики
|
Возможный ключ
|
Детерминант
|
|
id- Поставщики
|
id- Поставщики
|
Пользователи
|
Возможный ключ
|
Детерминант
|
|
id- Пользователи
|
id- Пользователи
|
Ответственное лицо
|
Возможный ключ
|
Детерминант
|
|
id-Ответственное лицо
|
id-Ответственное лицо
|
Отделы
|
Возможный ключ
|
Детерминант
|
|
id-Отделы
|
id- Отделы
|
Программное
обеспечение
|
Возможный ключ
|
Детерминант
|
|
Инвентарный номер
|
Инвентарный номер
|
Словарь ПО
|
Возможный ключ
|
Детерминант
|
|
id-Программное обеспечение
|
id- Программное обеспечение
|
Документы
|
Возможный ключ
|
Детерминант
|
|
id-Документы
|
id- Документы
|
Так как для каждой
таблицы внутри существует функциональная зависимость только между первичным ключом
и любым набором атрибутов таблицы. То, следовательно, все детерминанты являются
первичными ключами. Таким образом, выполняется второе условие необходимое для
того, чтобы база данных находилась в нормальной форме Бойса-Кодда.
Как было выяснено для
созданной базы данных, выполняются оба необходимых и достаточных условия, для
того чтобы созданная база данных находилась в нормальной форме Бойса-Кодда.
Следовательно, проектированная база данных находится в НФБК.
3.1.6 Проверка на
избыточность
Функциональная
зависимость, не заключающая в себе такой информации, которая не могла быть
получена на основе других зависимостей, из числа использованных называется
избыточной функциональной зависимостью. Поскольку избыточная функциональная
зависимость не содержит уникальной информации, она может быть удалена из набора
функциональных зависимостей без влияния на результат.
Не одно из отношений не
избыточно так как:
а) Все атрибуты одного
отношения не могут быть найдены в другом отношении проекта (т.е. атрибуты
одного отношения не являются подмножеством множества атрибутов другого
отношения);
б) Все атрибуты одного
отношения не могут быть найдены в отношении, полученном из других отношений
проекта.
3.2 Разработка модели
данных, используя CASE – средства ERwin
Построение
модели данных предполагает определение сущностей и атрибутов, то есть
необходимо определить какая информация будет храниться в конкретной сущности
или атрибуте. Сущность можно определить как объект, событие или концепцию,
информация о которых должна сохраняться. Сущности должны иметь наименование с
четким смысловым значением, именоваться существительным в единственном числе,
не носить “технических” наименований и быть достаточно важными для того, чтобы
их моделировать.
ЕRwin - средство разработки структуры базы
данных (БД). Он имеет развитый инструмент для облегчения проектирования модели
данных. ЕRwin сочетает графический интерфейс Windows, инструменты для построения ЕR- диаграмм, редакторы для создания
логического и физического описания модели данных и прозрачную поддержку ведущих
реляционных СУБД и настольных баз данных. С помощью ERwin можно создавать или проводить обратное проектирование
(реинжиниринг) баз данных.
В ERwin, как было сказано уже ранее, существуют
два уровня представления и моделирования - логический и физический. На
логическом уровне (Рисунок 3.2) не рассматривается использование конкретной
СУБД, не определяются типы данных (например, целое или вещественное число) и не
определяются индексы для таблиц.
Целевая СУБД,
имена объектов и типы данных, индексы составляют второй (физический) уровень
модели ЕRwin (Рисунок 3.3).
Диаграмма ERwin строится из трех основных блоков -
сущностей, атрибутов и связей. Если рассматривать диаграмму как графическое
представление правил предметной области, то сущности являются существительными,
а связи - глаголами.
|
Рисунок 3.2 – Логическая модель данных
|
|

3.2.1 ERWin скрипт
/*Таблица для
документов*/
СRЕАТЕ ТАВLЕ Документы (
id_Документы VARCHAR(20) NOT NULL,
№_ документа
INTECER NULL,
Дата_
создания DATE NULL
);
ALTER
TABLE Документы
ADD
(PRIMARY KEY (id_документы));
/ *Таблица
для комплектующих*/
СRЕАТЕ ТАВLЕ Комплектующие (
Инвентарный_
номер СНАR(20) NOT NULL,
id_Компьютеры VАRСНАR(20) NOT NULL,
id_Документы VАRСНАR(20) NOT NULL,
id_Комплектующие VАRСНАR(20) NULL,
Цена FLOAT NULL
);
ALTER
TABLE Комплектующие
ADD (РRIМАRУ КЕУ
(Инвентарный_ номер));
/*Таблица для
компьютеров*/
СRЕАТЕ ТАВLЕ Компьютеры (
id_Компьютеры VАRСНАR(20) NOT NULL,
id_Ответственное_ лицо СНАR(20) NOT NULL,
id_Отделы VАRСНАR(20) NOT NULL,
Инвентарный_ номер СНАR(20) NULL,
iр_ Адрес СНАR(20) NULL,
Название СНАR(20) NULL,
Цена FLOAT NULL
);
АLТЕR ТАВLЕ
Компьютеры
АDD (РRIМАRУ КЕУ (id_Компьютеры));
/*Ассоциация
компьютеры- программное обеспечение*/
СRЕАТЕ ТАВLЕ Компьютеры_ Программное_ обеспеч (
id_Компьютеры VАRСНАR(20) NOT NULL,
Инвентарный_
номер VАRСНАR(20) NOT NULL
);
АLТЕR ТАВLЕ
Компьютеры_ Программное_ обеспеч
АDD (РRIМАRУ КЕУ (id_Компьютеры, Инвентарный_ номер));
/* Таблица
для ответственного лица*/
СRЕАТЕ ТАВLЕ Ответственное_ лицо (
id_Ответственное_ лицо СНАR(20) NOT NULL,
Имя VАRСНАR2(20)
NULL,
Должность VАRСНАR2(20)
NULL
);
АLТЕR ТАВLЕ Ответственное_
лицо
АDD (РRIМАRУ КЕУ (id_Ответственное лицо));
/*Таблица для
отделов*/
СRЕАТЕ ТАВLЕ Отделы (
id_Отделы VАRСНАR2(20) NOT NULL,
Название VАRСНАR2(20) NULL,
Руководитель
VАRСНАR2(20)
NULL,
№_ комнаты VАRСНАR2(10)
NULL ,
Телефон VАRСНАR2(11)
NULL
);
АLТЕR ТАВLЕ Отделы
АDD (РRIМАRУ КЕУ (id_Отделы));
/* Таблица
для пользователей*/
СRЕАТЕ ТАВLЕ Пользователи (
id_Пользователи VАRСНАR2(20)
NOT NULL,
Id_Отделы VАRСНАR2(20) NOT NULL,
Имя VАRСНАR2(20) NULL,
Должность VАRСНАR2(20) NULL,
Логин VАRСНАR2(20) NULL,
Пароль VАRСНАR2(20) NULL
);
АLТЕR ТАВLЕ Пользователи
АDD (РRIМАRУ КЕУ (id_Пользователи));
/*Таблица для
поставщиков*/
СRЕАТЕ ТАВLЕ Поставщики (
id_Поставщики СНАR(20) NOT NULL,
Название СНАR(20) NULL,
Web_сайт СНАR(20) NULL,
Е_mail СНАR(20) NULL,
Адрес СНАR(20) NULL,
Телефон СНАR(11) NULL
);
АLТЕR ТАВLЕ Поставщики
АDD (РRIМАRУ КЕУ (id_Поставщики));
/*Таблица для
программного обеспечения*/
Инвентарный_
номер VАRСНАR2(20)
NOT NULL,
id_ Программное_ обеспечение VАRСНАR2(20)
NOT NULL,
Цена FLOAT NULL
);
АLТЕR ТАВLЕ Программное_
обеспечение
АDD (РRIМАRУ КЕУ
(Инвентарный_ номер));
/*Таблица для
производителей*/
СRЕАТЕ ТАВLЕ Производители (
id_Производители VАRСНАR2(20)
NOT NULL,
Название СНАR(20) NULL,
Web_сайт СНАR(20) NULL,
Е_mail СНАR(20) NULL,
Адрес СНАR(50) NULL
);
АLТЕR ТАВLЕ Производители
АDD (РRIМАRУ КЕУ (id_Производители));
/*Таблица для
словаря комплектующих*/
СRЕАТЕ ТАВLЕ Словарь_комплектующие (
id_Комплектующие VАRСНАR2(20)
NOT NULL,
id_Производители VАRСНАR2(20)
NOT NULL,
id_Поставщики СНАR(20) NULL,
Название VАRСНАR2(20)
NULL,
Модель VАRСНАR2(20)
NULL
);
АLТЕR ТАВLЕ Словарь_комплектующие
АDD (РRIМАRУ КЕУ (id_Комплектующие));
/* Таблица
для словаря ПО*/
СRЕАТЕ ТАВLЕ Словарь_ПО (
id_Программное_обеспечение VАRСНАR2(20)
NOT NULL,
Название VАRСНАR2(20)
NULL,
Версия VАRСНАR2(20)
NULL,
Регистрационный_ключ
VАRСНАR2(20)
NULL,
Web_сайт VARСНАR2(20)
NULL
);
АLТЕR ТАВLЕ Словарь_
ПО
АDD (РRIМАRУ КЕУ (id_ Программное_ обеспечение));
/ *Создание
внешних ключей для организации целостности БД*/
АLТЕR ТАВLЕ Комплектующие
АDD (РRIМАRУ КЕУ (id_Комплектующие)
REFERENCES Словарь_комплектующие);
3.3 DFD диаграммы созданные с помощью САSЕ-средства ВРWin
ВРwin - средство верхнего уровня,
поддерживающее методологии IDEF0
(функциональная модель), IDEFЗ
(Work Flow Diagram) и DFD (Data Flow Diagram). Диаграммы потоков данных (Data flow diagramming, DFD) используются для описания документооборота и
обработки информации. Их можно использовать как дополнение к модели IDEF0 для более наглядного отображения
текущих операций документооборота в корпоративных системах обработки
информации. DFD описывают функции обработки
информации (работы), документы (стрелки, arrow), объекты, сотрудников или отделы, которые участвуют
в обработке информации (внешние ссылки, external references) и таблицы для хранения документов
(хранилище данных, data store). В отличие от IDEF0 для стрелок нет понятия вход,
выход, управление или механизм и неважно, в какую грань работы входит или из
какой грани выходят стрелки. В ВРwin
для построения диаграмм потоков данных используется нотация Гейна-Сарсона .
На
контекстной диаграмме (Рисунок 3.4) отображен процесс «Учёт компьютерной
техники». Участие в этом процессе принимает администратор, который выполняет
регулярные запросы на предоставление необходимой информации.
|
|
|
Рисунок 3.4 – Контекстная диаграмма
|
|
|
|
|
Рисунок 3.5 – Учет компьютерного оборудования
|
|
|
|
|
Рисунок 3.6 – Работать с компьютером
|
|
3.3.1 Словарь
данных
@ИМЯ = ДАННЫЕ О
КОМПЬЮТЕРАХ
@ТИП = дискретный
@БНФ =
организация + подразделение + сотрудник + наименование +
производитель
+ серийный № +документ + поставщик + цена +
гарантия
@ИМЯ = ОТЧЕТ ДЛЯ
АДМИНИСТРАТОРА
@ТИП = дискретный
@БНФ = ДАННЫЕ
О КОМПЬЮТЕРАХ + инвентарный № + количество +
сумма + дата
@ИМЯ = ИНФОРМАЦИЯ О
КОМПЬЮТЕРАХ
@ТИП = дискретный
@БНФ = ОТЧЕТ
ДЛЯ АДМИНИСТРАТОРА
@ИМЯ = ДАННЫЕ О
ПРОГРАММНОМ ОБЕСПЕЧЕНИИ
@ТИП = дискретный
@БНФ =
организация + подразделение + сотрудник + инвентарный № +
название +
версия + регистрационный ключ + цена + Web-сайт
@ИМЯ = ВНЕСЕНИЕ,
ИЗМЕНЕНИЕ ДАННЫХ О ПРОГРАММНОМ
ОБЕСПЕЧЕНИИ
@ТИП = дискретный
@БНФ = ДАННЫЕ
О ПРОГРАММНОМ ОБЕСПЕЧЕНИИ
@ИМЯ = ИНФОРМАЦИЯ О
ПРОГРАММНОМ ОБЕСПЕЧЕНИИ
@ТИП = дискретный
@БНФ = ДАННЫЕ
О ПРОГРАММНОМ ОБЕСПЕЧЕНИИ
@ИМЯ = ДАННЫЕ О
КОМПЛЕКТУЮЩИХ
@ТИП = дискретный
@БНФ =
организация + подразделение + сотрудник + инвентарный № +
название +
модель + производитель + поставщик
@ИМЯ = ВНЕСЕНИЕ,
ИЗМЕНЕНИЕ ДАННЫХ О КОМПЛЕКТУЮЩИХ @ТИП = дискретный
@БНФ = ДАННЫЕ
О КОМПЛЕКТУЮЩИХ
@ИМЯ = ИНФОРМАЦИЯ О
КОМПЛЕКТУЮЩИХ
@ТИП = дискретный
@БНФ = ДАННЫЕ
О КОМПЛЕКТУЮЩИХ
3.3.2
Спецификация процессов
Работать с
комплектующими
@ВХОД = ДАННЫЕ О
КОМПЛЕКТУЮЩИХ, ИНФОРМАЦИЯ О
КОМПЛЕКТУЮЩИХ
@ВЫХОД = ВНЕСЕНИЕ,
ИЗМЕНЕНИЕ ДАННЫХ О КОМПЛЕКТУЮЩИХ
@СПЕЦПРОЦ 0.2
Внести ДАННЫЕ О
КОМПЛЕКТУЮЩИХ в базу данных отдела
@КОНЕЦ СПЕЦПРОЦ 0.2
Работать с
программным обеспечением
@ВХОД = ДАННЫЕ О
ПРОГРАММНОМ ОБЕСПЕЧЕНИИ, ИНФОРМАЦИЯ
О ПРОГРАММНОМ
ОБЕСПЕЧЕНИИ
@ВЫХОД = ВНЕСЕНИЕ,
ИЗМЕНЕНИЕ ДАННЫХ О ПРОГРАММНОМ
ОБЕСПЕЧЕНИИ, ОТЧЕТ ДЛЯ
АДМИНИСТРАТОРА
@СПЕЦПРОЦ 0.3
Произвести ВНЕСЕНИЕ,
ИЗМЕНЕНИЕ ДАННЫХ О ПРОГРАММНОМ
ОБЕСПЕЧЕНИИ в базу данных
отдела
@КОНЕЦ СПЕЦПРОЦ 0.3
Зарегистрировать
новый компьютер
@ВХОД = ДАННЫЕ О
КОМПЬЮТЕРАХ
@ВЫХОД = ИНФОРМАЦИЯ О
КОМПЬЮТЕРАХ, ОТЧЕТ ДЛЯ АДМИНИСТРАТОРА
@СПЕЦПРОЦ 1.1
На основании ДАННЫЕ О
КОМПЬЮТЕРАХ произвести ВНЕСЕНИЕ, ИЗМЕНЕНИЕ ДАННЫХ О КОМПЬЮТЕРАХ
@КОНЕЦ СПЕЦПРОЦ 1.1
Изменение данных о
компьютере
@ВХОД = ДАННЫЕ О
КОМПЬЮТЕРАХ
@ВЫХОД = ИЗМЕНЕНИЕ ДАННЫХ
О КОМПЬЮТЕРАХ
@СПЕЦПРОЦ 1.2
На основании ДАННЫЕ О
КОМПЬЮТЕРАХ произвести ВНЕСЕНИЕ, ИЗМЕНЕНИЕ ДАННЫХ О КОМПЬЮТЕРАХ
@КОНЕЦ СПЕЦПРОЦ 1.2
Поиск данных о компьютере
@ВХОД = ДАННЫЕ О
КОМПЬЮТЕРАХ
@ВЫХОД = ИНФОРМАЦИЯ О
КОМПЬЮТЕРАХ, ОТЧЕТ ДЛЯ АДМИНИСТРАТОРА
@СПЕЦПРОЦ 1.3
На основании ДАННЫЕ О
КОМПЬЮТЕРАХ произвести поиск ОТЧЕТ ДЛЯ АДМИНИСТРАТОРА
@КОНЕЦ СПЕЦПРОЦ 1.3
Формирование отчета
@ВХОД = ДАННЫЕ О
КОМПЬЮТЕРАХ
@ВЫХОД = ИНФОРМАЦИЯ О
КОМПЬЮТЕРАХ, ОТЧЕТ ДЛЯ АДМИНИСТРАТОРА
@СПЕЦПРОЦ 1.4
На основании ДАННЫЕ О
КОМПЬЮТЕРАХ сформировать ОТЧЕТ ДЛЯ АДМИНИСТРАТОРА
@КОНЕЦ СПЕЦПРОЦ 1.4
4 Разработка
программного обеспечения
4.1
Требования к программному обеспеченью
Требования,
предъявляемые к проектируемой системе можно разделить на две категории:
а)
функциональные требования;
б)
нефункциональные требования.
Функциональные
требования определяют базовую функциональность системы, в последствии они могут
быть дополнены.
Нефункциональные
требования непосредственно не влияют на функционирование, но тем не менее также
должны быть выполнены.
4.1.1
Функциональные требования
К системе
предъявляются следующие функциональные требования:
а) система
должна обеспечивать хранение вводимых данных по комплектующим;
б) система
должна обеспечивать хранение данных по компьютерам;
в) система
должна производить аутентификацию пользователя по введенному логину и паролю;
г) система
должна обеспечивать возможность создания настраиваемых отчетов;
д) система
должна обеспечивать возможность поиска данных;
е) система
должна обеспечивать возможность удаления и редактирования внесенных данных.
4.1.2
Нефункциональные требования
Разрабатываемая
информационная система должна соответствовать следующим нефункциональным
требованиям:
а) работать
под управлением операционной системы Windows
98/2000/ХР;
б) предоставлять
клиентам графический интерфейс для работы;
в) обеспечивать
конфиденциальность, хранимых данных;
г) обеспечивать
целостность и непротиворечивость данных.
4.2
Проектирование системы с использованием RATIONAL ROSE
Большинство
существующих методов ООАП включает как язык моделирования, так и описания
процесса моделирования. Язык моделирования это нотация в основном графическая,
которая используется для описания проекта. Нотация представляет собой
совокупность графических объектов, которые используются в модели. Она является
синтаксисом языка моделирования. UML
приемник такого поколения ООАП, которые появились в конце 80 г. RATIONAL ROSE для проектирования использует унифицированный язык
моделирования (UML).
Достоинства UML:
а) Визуальный
язык моделирования;
б) Есть
механизмы расширяемости и специализации для расширения базовых концепций;
в)
Обеспечения независимости от конкретных языков программирования и
процессов
разработки.
4.2.1
Диаграмма вариантов использования
Диаграмма
Вариантов Использования (Рисунок 4.1) содержит некоторые варианты использования
системы, некоторых действующих лиц и связи между ними. Вариант использования (use case) — это описание функциональности системы на “высоком
уровне”. Действующее лицо (actor)
это все, что взаимодействует с системой.
Варианты
использования и действующие лица определяют сферу применения создаваемой
системы. При этом варианты использования описывают все то, что происходит
внутри системы, а действующие лица то, что происходит снаружи.
|
|
|
Рисунок 4.1 – Диаграмма вариантов использования
|
|
В процессе
изучения предметной области удалось выделить одно действующее лицо это
администратор.
Администратор,
при входе в систему, при помощи процесса «Аутиденитификация пользователя»
вносит логин и пароль.
При выборе
варианта использования «Регистрация нового компьютера» происходит занесение в
базу данных информации о новом компьютере.
При выборе
варианта использования «Изменение данных о компьютере» администратор вносит
критерии поиска компьютера информацию, о котором нужно изменить, если поиск
прошёл успешно, то администратор изменяет информацию и система заносит в базу
данных измененную информацию о компьютере.
При выборе
вариантов использования «Регистрация новых комплектующих элементов», «Изменение
данных о комплектующих», «Регистрация нового программного обеспечения» и
«Изменение данных о программном обеспечении» всё происходит аналогично
вариантам использования «Регистрация нового компьютера» и «Изменение данных о
компьютере».
При выборе
варианта использования «Создать структуру предприятия» администратор создаёт
структуру предприятия в виде дерева с главными и подчиненными подразделениями.
При выборе
варианта использования «Редактировать структуру предприятия» администратор
вносит изменения в структуру предприятия.
При выборе
варианта использования «Создать структуру компьютера» администратор создаёт
структуру компьютера в виде дерева, вершина которого название компьютера, а
подчинёнными являются комплектующие элементы, входящие в состав компьютера.
При выборе
варианта использования «Редактировать структуру компьютера» администратор
вносит изменения в структуру компьютера.
При выборе
варианта использования «Переместить оборудование» система выдаёт окно, в левой
части которого структура предприятия, а в правой части компьютеры.
Администратор путём выбора подразделения может увидеть, какие компьютеры там
находятся и при необходимости перенести их в другое подразделение.
При выборе
варианта использования «Переместить комплектующие» система выдаёт окно,
поделённое на две части в которых находятся компьютеры. Администратор, выбирая
компьютер, может увидеть его состав и при необходимости перенести один или
несколько комплектующих элементов в другой компьютер.
4.2.2
Диаграмма последовательности
Диаграмма
Последовательности — это упорядоченная по времени диаграмма Взаимодействия,
читать ее следует сверху вниз, У каждого варианта использования имеется большое
количество альтернативных потоков. Каждая диаграмма Последовательности
описывает один из потоков варианта использования. Участвующие в потоке объекты
нарисованы в прямоугольниках в верхней части диаграммы. У каждого объекта
имеется линия жизни (lifeline), изображаемая в виде вертикальной штриховой линии под объектом.
Сообщения, соответствующие коммуникациям между объектами, рисуют между линиями
жизни объектов.
Сообщение
показывает, что один объект вызывает функцию другого. Сообщения могут быть
рефлексивными, что соответствует обращению объекта к своей собственной
операции.
В диаграмме
«Аутоинтефикация администратора» (Рисунок 4.2), администратор вносит логин и
пароль. Система проверяет наличие данных в списке пользователей системы. Если
пользователь не найден, система отправляет уведомление о невозможности аутиденитификации,
и при получении положительного ответа, осуществляет вход в систему.
|
|
|
Рисунок 4.2 – Аутиденитификация администратора
|
|
В диаграмме «Регистрация
нового компьютера» (Рисунок 4.3), администратор производит запрос на
регистрацию нового компьютера. Система предоставляет форму для регистрации.
Администратор вносит данные, проверяет их достоверность, и система по запросу
пользователя фиксирует результат в БД. Пользователю выводится сообщение об
удачной регистрации товара.
|
|
|
Рисунок 4.3 – Регистрация нового компьютера
|
|
В диаграмме
«Изменение данных о компьютерах» (Рисунок 4.4), администратор производит запрос
на изменение данных, затем вносит критерии поиска компьютера информацию, о
котором нужно изменить, система ищет информацию в базе данных и если информация
найдена, то администратор вносит изменения, проверяет их достоверность, и
система по запросу пользователя фиксирует результат в БД. Пользователю
выводится сообщение об удачной регистрации компьютера.
|
Рисунок 4.4 – Изменение данных о компьютерах
|
|
В диаграмме
«Перемещение комплектующих» (Рисунок 4.5) администратор производит поиск
компьютеров, система выдаёт список всех компьютеров, и администратор выбирает компьютеры,
комплектующие которые нужно перенести. Система ищет комплектующие выбранных
компьютеров и выдаёт их администратору. Он переносит нужные комплектующие, и
система по запросу пользователя фиксирует результат в БД. Пользователю
выводится сообщение об удачном перемещении комплектующих.
|
Рисунок 4.5 – Перемещение комплектующих
|
|
В диаграмме
«Перемещение оборудования» (Рисунок 4.5) администратор производит запрос
на перемещение оборудования, система выдаёт список всего оборудования, и
администратор переносит нужное оборудование, и система по запросу пользователя
фиксирует результат в БД. Пользователю выводится сообщение об удачном
перемещении оборудования.
|
Рисунок 4.6 – Перемещение оборудования
|
|
5
Проектирование интерфейса
5.1 Краткое
описание понятий программы
Информация,
изложенная ниже, представляет собой краткое описание тех понятий системы Учет
компьютерного оборудования, которыми оперирует пользователь в процессе
эксплуатации системы.
Среди
перечисленных ниже понятий, можно выделить базовые (общие) понятия системы.
5.1.1 Базовые
понятия системы учёта компьютерной техники
а) Константы
- как правило, константы используются для работы с постоянной и условно —
постоянной информацией, но могут представлять собой и периодически изменяемые
данные. В основном это наиболее общая информация об организации, в которой
ведется учет: «Наименование предприятия», «ФИО генерального директора» («или
директора»), «главного бухгалтера» и т. д.;
б) Словари -
предназначены для хранения сведений о множестве однотипных объектов, которые
используются при заполнении форм и занесении данных. Обычно словарями являются
списки фирм — производителей, какие — либо характеристики устройств и т.д.;
в)
Справочники - предназначены для хранения более подробных сведений о множестве
однотипных объектов, которые используются при заполнении форм и занесении
данных;
г) Таблицы -
таблицы применяются для наглядного отображения имеющихся данных для их
просмотра и редактирования;
д) Отчеты -
отчеты применяются для получения различной информации, содержащей итоги или
детальную информацию, подобранную по определенным критериям. Отчеты
используются как для анализа бухгалтерских итогов, так и для формирования
данных, для получения более детальной информации по состоянию оргтехники;
е) Формы -
применяются для добавления или внесения изменений записей в таблицах. А также,
для выбора условий выборки информации при формировании отчетов.
5.2 Описание
операций
5.2.1 Главная
форма приложения
Главная форма приложения
(Рисунок 5.1) представляет собой основное рабочее пространство программы. Меню
и панель быстрого доступа предоставляют пользователю доступ ко всем функциям
программы.
|
Рисунок 5.1 – Главная форма приложения
|
|
В левой части
главного окна приложения находится список всех компьютеров, занесенных в базу
данных. Этот список присутствует на экране вместе со всеми остальными
вызываемыми пользователем окнами одновременно.
Из окна списка
компьютеров доступны следующие действия: вызов мастера покупки нового
компьютера, изменение наименования компьютера, удаление компьютера, вызов
мастера структуры компьютера, вызов мастера структуры предприятия с выходом на
текущий компьютер в списке компьютеров и соответственно его владельцев (отдел и
сотрудника). Все эти действия доступны пользователю через соответствующие
кнопки, находящиеся в нижней части панели списка компьютеров. Ряд действий
могут быть выполнены выбором соответствующих пунктов главного меню.
Пространство главного окна при загрузке программы пустое. Оно предназначено для
размещения в нем окон программы выполняющих описанные ниже функции и вызываемые
на экран выбором пунктов главного меню. Работа с функциональными окнами
программы аналогична работе с такими окнами любой другой Windows-программы.
5.2.2
Заполнение справочников производителей и поставщиков
Первым шагом
при использовании программы является заполнение справочников производителей,
поставщиков компьютерного оборудования и программного обеспечения для них. Эти
справочники можно заполнить и в процессе оформления покупок компьютеров и
заполнения их элементов, но удобнее сформировать их заранее.
Работа со
справочниками производителей, поставщиков и программного обеспечения проходит
одинаковым образом. Опишем процедуру формирования справочника производителей.
Работа со справочником поставщиков и программного обеспечения производится
аналогично.
Для вызова на экран окна
формирования справочника нужно выбрать подпункт «Производители» пункта
«Справочники» главного меню. Откроется окно «Список производителей» (Рисунок 5.2).
|
|
|
Рисунок 5.2 – Список производителей
|
|
Это окно
разделено на две части. В левой части находится список производителей, а в
правой — подробная информация о производителе, состоящая из следующих полей:
Наименование, Web-сайт, Электронная почта, Адрес,
Телефон, Дополнительно. Обязательным для заполнения является только поле
Наименование. Именно наименование производителя будет отображено в поле
«производитель» при задании свойств элемента. При перемещении по списку в
панели свойств отображаются свойства выбранного в данный момент в списке
производителя.
Для того,
чтобы добавить нового производителя в список необходимо нажать кнопку
«добавить». Будет добавлен новый производитель со свойствами, введенными в
данный момент в поля данных. Такой режим очень удобен для копирования
производителей с почти одинаковыми данными. Достаточно выбрать в списке производителя-оригинал,
нажать кнопку «Добавить» и в списке появится новый производитель-копия,
значения полей которого можно в дальнейшем изменить, Для того чтобы
отредактировать свойства производителя нужно внести изменения в соответствующие
поля и нажать кнопку «Изменить». Для того чтобы удалить производителя из списка
необходимо нажать кнопку «Удалить» и подтвердить удаление. Однако программа
поддерживает ссылочную целостность базы данных и не позволит удалить запись, на
которую имеются ссылки в списках оборудования, документах покупки, списке
программного обеспечения и других.
Работа со
списком поставщиков происходит аналогично. Вызов окна поставщиков
осуществляется выбором подпункта «Поставщики» пункта «Справочники» главного
меню или нажатием соответствующей кнопки в панели быстрого доступа.
Работа со
списком программного обеспечения происходит аналогично. Вызов окна ПО
осуществляется выбором подпункта «Программное обеспечение» пункта «Справочники»
главного меню или нажатием соответствующей кнопки в панели быстрого доступа.
Формирование
и добавление данных в справочники можно выполнять и на этапе внесения данных о
свойствах оборудования, параметрах его покупки и установленного на нем ПО. Все
данные справочники используются для заполнения параметров элементов, из покупок
или установленного на нем ПО и представлены в программе в виде выпадающих
списков в соответствующих формах. При вводе в поле редактирования выпадающего
списка нового значения справочника и последующем подтверждении записи
происходит занесение нового элемента в соответствующий справочник. При этом
заполняется только его поле «Наименование» тем значением, которое ввел
пользователь. Остальные поля остаются пустыми, но доступными для редактирования
в окне списка производителей, поставщиков и программного обеспечения.
5.2.3 Формирование структуры предприятия
Следующим
необходимым шагом для работы программы является формирование структуры
предприятия. Окно формирования структуры предприятия (Рисунок 5.3) вызывается
на экран выбором подпункта «Структура предприятия» пункта «Справочники»
главного меню.
Окно мастера формирования
структуры имеет две закладки. На закладке «Структура» отображается дерево
структуры предприятия, а на закладке «Свойства» - свойства выбранного в данный
момент элемента в дереве структуры — подразделения или сотрудника.
|
Рисунок 5.3 – Формирование структуры предприятия
|
|
Переключение
на закладку «Свойства» осуществляется по щелчку на заголовке закладки или по
двойному щелчку на элементе дерева. На закладке «Свойства» можно как
просмотреть, так и отредактировать свойства подразделения или сотрудника. После
нажатия кнопки «Сохранить» или «Отменить» программа автоматически возвращается
на панель «Структура».
На панели
«Структура» в дереве представлена структура подчиненности подразделений. Узлы
дерева соответствуют подразделениям предприятия. Дочерние узлы какого-либо узла
означают подчиненность соответствующих подразделений данному подразделению. У
подчиненных узлов могут также быть созданы подчиненные узлы, что позволяет
создать сколь угодно глубокую структуру подчиненности. В этом же дереве
отображаются и сотрудники. Они также отображаются узлами, подчиненными
какому-либо узлу-подразделению. Самый верхний узел дерева соответствует самому
предприятию. Он никому не подчинен.
Внесение
новых подразделений должно происходить при нажатии кнопки «Новый отдел». При
этом автоматически открывается закладка «Свойства», где предлагается ввести
свойства вновь вводимого подразделения. После нажатия кнопки «Сохранить»
подразделение будет внесено в дерево, причем будет подчинено тому
подразделению, которое было текущим при нажатии на кнопку «Новый отдел». Если
текущим узлом был сотрудник, то вновь созданное подразделение будет подчинено
подразделению, к которому относится данный сотрудник.
Внесение
новых сотрудников происходит при нажатии на кнопку «Новый сотрудник». При этом
автоматически открывается закладка «Свойства», где предлагается ввести свойства
вновь вводимого сотрудника. После нажатия на кнопку «Сохранить» новый сотрудник
добавляется в дерево, причем он будет отнесен к тому подразделению, которое
было текущим. Если текущим узлом был сотрудник, то вновь вводимый сотрудник
будет отнесен к тому же подразделению что и этот сотрудник.
Для удаления
текущего узла-подразделения или сотрудника необходимо нажать на кнопку
«Удалить». После подтверждения текущее подразделение или сотрудник будут
удалены. При этом если удаляется подразделение и у него имеются подчиненные подразделения
или сотрудники, то они будут переподчинены более старшему подразделению.
5.2.4 Распределения оборудования по
подразделениям
Со структурой предприятия
тесно связано окно закрепления компьютеров за сотрудниками и соответственно
подразделениями. Это окно (Рисунок 5.4) вызывается выбором подпункта
«Компьютеры по подразделениям» пункта «Учет компьютеров» главного меню.
|
|
|
Рисунок 5.4 –
Формирование структуры предприятия
|
|
Левая часть
этого окна представляет собой окно мастера структуры предприятия со всеми его
возможностями. Правая часть содержит в себе дерево компьютеров. В дереве компьютеров
отображаются компьютеры, относящиеся к выделенному в данный момент узлу в
дереве структуры предприятия. Если в дереве структуры выделен сотрудник, то
отображаются закрепленные за ними компьютеры. Если в дереве структуры выделено
подразделение, то отображаются компьютеры, закрепленные за всеми сотрудниками
этого подразделения.
Для перехода
в окно мастера структуры компьютера для компьютера или элемента компьютера
необходимо нажать кнопку «В дерево» при выделенном необходимом узле в дереве
компьютеров или сделать двойной щелчок мышью. Будет открыт мастер структуры
компьютера для всего компьютера целиком или для конкретного элемента.
5.2.5 Структура компьютера
Окно вывода
структуры компьютера (Рисунок 5.5) предназначено для детального
отображения данных о структуре компьютера в составе его комплектующих, о
покупке компьютера и его комплектующих, о дополнительных сведениях на компьютер
и его комплектующие.
Мастер вызывается из главного окна программы путем двойного щелчка мышью на
каком-либо компьютере в списке компьютеров.
|
Рисунок 5.5 – Структура оборудования
|
|
Окно
представляет собой дерево вершиной которого является узел- компьютер, а его
дочерними узлами являются узлы-элементы.
Для
добавления нового элемента необходимо нажать кнопку «Новый элемент» (кнопка со
знаком плюс). Появится выпадающий список типов элементов, из которого
пользователь может выбрать необходимый тип.
После выбора
новый элемент появляется в дереве, а в панели свойств пользователь может
редактировать его параметры. Добавить элемент пользователь может как в
подчинение текущему элементу, так и на один с текущим элементом уровень.
Для удаления
элемента из состава компьютера необходимо нажать кнопку «Удалить элемент».
Удалить можно как текущий элемент, так и целое поддерево элементов. Если
удаляется только текущий элемент, но при этом он имеет подчиненные элементы, то
они будут переподчинены владельцу удаляемого элемента.
5.2.6 Покупка нового компьютера
Окно покупки компьютера
(Рисунок 5.6) предназначено для введения вариантов покупки нового
компьютера. Таких вариантов три: компьютер приобретен целиком, компьютер
приобретен поэлементно (на каждый элемент известна цена и срок гарантии), но по
одному документу, Компьютер приобретен поэлементно и по разным документам.
Кроме того, здесь задается имя нового компьютера. Окно мастера покупки
вызывается при выборе подпункта «Новый компьютер» пункта «Учет компьютеров»
главного меню.
|
Рисунок 5.6 – Новый компьютер
|
|
После ввода
условий покупки и нажатии кнопки «Принять» вызывается окно структуры
компьютера, где пользователь должен ввести данные по покупке и состав и
свойства элементов компьютера.
В зависимости
от выбранного варианта покупки группировка элементов будет происходить
по-разному. Если выбран вариант покупки «Компьютер целиком», то будет
предложено сначала ввести документ, по которому куплен компьютер, а все вновь
добавляемые элементы будут отнесены к этому документу.
Если выбран
второй вариант «Компьютер поэлементно, но по одному документу», то будет
предложено ввести какой-нибудь элемент, ввести его документ покупки, а все
вновь вводимые элементы будут отнесены к этому документу.
Если выбран
третий вариант «Компьютер поэлементно и по разным документам» пользователь
должен будет вводить элементы и документы покупки на каждый элемент.
5.2.7 Окно перемещения оборудования
Перемещения
элементов (Рисунок 5.7) представляет собой окно с левой и правой панелью. Обе
панели отображают идентичные деревья, в которых представлены компьютеры и
входящие в их состав элементы, для наглядности все элементы снабжены иконками.
Окно мастера перемещения вызывается выбором подпункта «Перемещение элементов»
пункта «Учет компьютеров» главного меню или нажатием соответствующей кнопки в
панели быстрого доступа.
|
Рисунок 5.7 – Окно перемещения оборудования
|
|
Перемещение
элементов осуществляется путем перетаскивания узлов дерева мышкой.
Перетаскивание может осуществляться как между деревьями, так и внутри одного
дерева. Перетаскиваемый элемент закрепляется за тем компьютером, на который был
перетащен. Такой способ позволяет легко менять состав элементов компьютеров.
5.2.8
Установленное программное обеспечение и пользователи
Окно «Программное
обеспечение и пользователи» (Рисунок 5.8) предназначено для отображения списка
установленного на компьютерах программного обеспечения, а также списка
работающих с этим программным обеспечением пользователей с их логинами и
паролями. Окно вызывается на экран выбором подпункта «Программное обеспечение
и пользователи» пункта «Учет компьютеров» главного меню программы.
|
|
|
Рисунок 5.8 – Программное обеспечение и
пользователи
|
|
Окно имеет
три списка: список всех компьютеров, внесенных в базу данных, список
установленного ПО и список пользователей.
Список компьютеров представлен в виде дерева, раскрывающимися узлами которого
являются подразделения предприятия, а конечными узлами
— компьютеры, закрепленные за соответствующими подразделениями (точнее за
сотрудниками этих подразделений).
В списке
программного обеспечения отображаются программы установленные на компьютерах.
Если в данный момент в списке компьютеров нет отмеченных, то отображается программное
обеспечение, установленное только на одном, выделенном в данный момент
компьютере. Если в списке компьютеров отмечено галочками несколько компьютеров,
то отображаются программы, установленные на всех отмеченных компьютерах. При
этом если в списке компьютеров выделенным является не отмеченный галочкой
компьютер, то его программное обеспечение не принимается в расчет. Список
программ также позволяет отметить галочкой несколько из них для проведения
групповых операций.
В списке
пользователей отображаются пользователи для отмеченных в списке программного
обеспечения программ (или только для выделенной программы, если отмеченных
нет). При этом сохраняется принцип, работающий и в списке компьютеров: если
есть отмеченные галочкой программы, то отображается список пользователей,
зарегистрированных для всех отмеченных программ, при этом, если выделенная
программа не отмечена галочкой, ее пользователи не принимаются в расчет. В
нижней части списка пользователей отображается логин и пароль данного пользователя,
с которым он входит в данную программу на данном компьютере (или во все
отмеченные программы на всех отмеченных компьютерах).
Для внесения
в список программного обеспечения компьютера или нескольких компьютеров новой
программы нужно выбрать новую программу. При этом программа будет
зарегистрирована либо только на выделенном компьютере в списке компьютеров,
либо на всех отмеченных галочками компьютерах в списке (если нет отмеченных —
то опять таки только для выделенного), либо на всех компьютерах из списка. Вид
регистрации выбирает администратор отметкой одной из опций. После нажатия на
кнопку «Установить» в базу данных будут занесены необходимые изменения об установке
выбранного программного обеспечения на компьютер или компьютеры. Кнопка
«Удалить» позволяет удалить выделенную в списке программ программу, или
несколько отмеченных галочками программ (если нет отмеченных, то только
выделенную) с одного выделенного, нескольких отмеченных или всех имеющихся в
списке компьютеров. Следует отметить, что групповые операции с компьютерами и
программами позволяют очень быстро регистрировать/удалять программы на
несколько компьютеров, а группировка компьютеров по подразделениям позволяет
сгруппировать компьютеры по задачам, для решения которых, скорее всего
используется однотипное программное обеспечение.
Для
добавления пользователя программного обеспечения нужно выбрать нового
пользователя. Поля «Логин» и «Пароль» предназначены для ввода данных о входе
пользователя в систему. Опции «Компьютеры» и «SoftWare» определяют для каких программ и на
каких компьютерах вводится новый пользователь с указанным логином и паролем. Для
регистрации пользователя следует нажать кнопку «Принять». Для удаления
пользователя или нескольких отмеченных пользователей для программного
обеспечения и для компьютеров следует нажать кнопку «Удалить». Следует
отметить, что возможность отмечать компьютеры и программы галочками позволяет
очень быстро ввести нового пользователя программного обеспечения на несколько
компьютеров, а также для нескольких программ сразу.
6.1 Исходные данные
Для оценки
экономической эффективности проектируемой системы воспользуемся методом
дисконтирования. Он базируется на дисконтных вычислениях по приведению доходов
и расходов, связанных с реализацией системы, к некоторому моменту времени (к
расчетному году).
Согласно
методике, вывод об экономической эффективности капитальных вложений можно
сделать на основе расчета следующих показателей:
а) чистый
дисконтированный доход проекта (Чддпр);
б) внутренняя
норма рентабельности проекта (ВНР);
в) срок
окупаемости (Ток);
г)
коэффициент отдачи капитала (КОК).
Перечень
исходных данных предприятия-разработчика для расчета единовременных затрат
(Таблица 6.1).
Таблица 6.1 –
Перечень исходных данных для расчета единовременных затрат
|
Показатель
|
Обозначение
|
Значение
|
|
1
|
2
|
3
|
|
Заработная плата
программиста, тыс.руб./мес.
|
Зкод
|
7
|
|
Заработная плата
тестера, тыс.руб./мес.
|
Зтест
|
5
|
|
Коэффициент доплат к
заработной плате, доли ед.
|
Кд
|
0
|
|
Районный коэффициент,
доли ед.
|
Кр
|
0,15
|
|
Единый социальный
налог, доли ед.
|
Кесн
|
0,356
|
|
Время, затрачиваемое
программистом, чел./мес.
|
Ткод
|
З
|
|
Время, затрачиваемое
тестером, чел./мес.
|
Ттест
|
2
|
|
Коэффициент
использования ПК при кодировании, доли ед.
|
Кисп.код
|
0,9
|
|
Коэффициент
использования ПК при тестировании, доли ед.
|
Кисп.упр
|
0,8
|
|
Коэффициент накладных
расходов, доли ед.
|
Кнак
|
0,01
|
|
Годовой фонд работы ПК,
час
|
Тпол
|
1800
|
|
Годовой фонд оплаты
труда персонала обслуживающего ПК, тыс, руб.
|
ЗП
|
60
|
|
Норма амортизационных
отчислений ПК, доли ед.
|
Нпк
|
0,2
|
|
Норма амортизационных
отчислений здания, доли ед.
|
Нзд
|
0,06
|
|
Площадь, занимаемая ПК,
м2
|
Sпк
|
1
|
|
Стоимость одного м2
здания, тыс, руб.
|
Сзд
|
15
|
|
Стоимость ПК, тыс, руб.
|
Спк
|
40
|
|
Коэффициент накладных
расходов на эксплуатацию ПК, доли ед.
|
Кнак.пк
|
0,01
|
|
Потребляемая мощность
ПК, кВт/ч
|
N
|
0,2
|
|
Стоимость кВт/ч, тыс,
руб.
|
Ц
|
0,001
|
|
Коэффициент затрат на
ремонт ПК (от стоимости), доли ед.
|
Крем.пк
|
0,1
|
|
Размер компьютерного
парка предприятия-разработчика, шт.
|
n
|
4
|
r
|
0,1
|
|
Ставка НДС, доли ед.
|
НДС
|
0,18
|
Таблица 6.2 – Данные для
расчета трудоемкости разработки
|
Стадии разработки
|
Трудоемкость, чел.мес.
|
|
1
|
2
|
|
Проектирование системы
|
|
|
Изучение аналогов
|
0,3
|
|
Изучение литературных источников
|
0,2
|
|
Разработка информационного
обеспечения
|
0,7
|
|
Разработка программного обеспечения
|
1
|
|
Итого:
|
2,2
|
|
Реализация системы
|
|
|
Создание пользовательского
интерфейса
|
0,4
|
|
Заполнение базы данных
|
0,5
|
|
Тестирование и отладка
|
0,2
|
|
Документирование, создание справки,
руководство пользователя
|
0,7
|
|
Итого:
|
1,8
|
|
ВСЕГО:
|
4
|
6.2 Расчет затрат на
проектирование системы
6.2.1 Затраты на
разработку можно представить в виде:
КРАЗ = ЗО
× ТРАЗ × (1+КД) × (1+КР) × (1+КЕСН) × (1+КН.РАЗР) , (6.1)
где ЗО -
месячный оклад разработчика, р.;
ТРАЗ -
трудоемкость разработки проекта и проектной документации, ч×мес.;
КД, КР
- соответственно коэффициенты доплат к заработной плате и районный, доли ед.;
КЕСН -
коэффициент отчислений на социальные нужды, доли ед.;
КН.РАЗР -
коэффициент накладных расходов, доли ед.
Нужно отметить, что во
время разработки проекта разработчик использует ПК для разработки
функциональной модели и для составления технического проекта, поэтому
необходимо учесть эксплуатацию ПК на этапе разработки проекта. Следовательно, КРАЗ
будут рассчитываться следующим образом:
КРАЗ = ЗО
× Траз × (1+КД) × (1+КР) × (1+КЕСН) × (1+Кн.разр) + СМЧ ∙Тпкрп
, (6.2)
где СМЧ –
стоимость машино–часа ПК, р.;
ТПКрп – время
использования ПК для разработки проекта в часах.
Стоимость машино – часа
ПК рассчитывается по формуле:
СМЧ = SЭКС
/ ТПОЛ , (6.3)
где SЭКС –
годовые эксплуатационные расходы, связанные с обслуживанием ПК, р;
ТПОЛ – годовой
фонд работы ПК, час.
Эксплуатационные расходы
рассчитываются по формуле:
Sэкс =12×ЗП ×(1+КД)×(1+КР)×(1+КЕСН)+А+ТР+Э+М+НРЭКС
, (6.4)
где ЗП - месячная оплата
труда персонала, обслуживающего 1 ПК, р.;
А - амортизационные
отчисления от стоимости ПК и здания, р./год ;
ТР - затраты
на ремонт, р./год;
Э - затраты на
электроэнергию, р./год;
М - затраты на материалы,
р.;
НРЭКС -
накладные расходы, связанные с эксплуатацией ПК, р./год.
Затраты на амортизацию
вычисляются по формуле:
А = СПК × НПК + СЗД × Sпк × НЗД , (6.5)
где КПК -
балансовая стоимость ПК, р.;
НПК - норма
амортизационных отчислений от стоимости ПК, доли ед.;
СЗД -
стоимость 1 м2 здания, р./м2;
SЗД - площадь,
занимаемая ПК, м2;
Нзд - норма
амортизационных отчислений от стоимости здания, доли ед.
Затраты на ремонт
вычисляются по формуле:
ТР = СПК
× Крем.пк , (6.6)
где КтрПК -
коэффициент, учитывающий затраты на ремонт ПК
Затраты на
электроэнергию, потребляемую ПК за год эксплуатации определяем по формуле:
Э = Ц × ТПОЛ × N , (6.7)
где Ц = - цена за один
кВт×ч электроэнергии, р.;
N - потребляемая
мощность, кВт;
КМ -
коэффициент интенсивного использования мощности ПК
Затраты на материалы
определяем по формуле :
М =
Цi ∙ Mi, (6.8)
где i - вид
материала;
Цi - цена
i-того материала, р.;
Мi -
количество i-го материала.
Данные для формулы (6.8)
и расчет затрат на материалы можно представить в виде таблицы 6.3.
Таблица 6.3 - Перечень и
стоимость материалов используемых для ПК
|
Наименование материала
|
Количество
в год
|
Цена за
ед., р.
|
Стоимость, р.
|
|
1
|
2
|
3
|
4
|
|
CD-RW, шт.
|
2
|
40
|
80
|
|
Бумага, пачек
|
1
|
500
|
500
|
|
Картридж для лазерного принтера,
шт.
|
1
|
300
|
300
|
|
Итого (М=)
|
|
|
880 руб.
|
В годовые
эксплуатационные затраты по обслуживанию ЭВМ входят также накладные расходы,
которые рассчитываются по формуле:
НРЭКС = 12 ∙
ЗО ∙ (1 + КД) ∙ (1 + КР) ∙ КНЭКС,
(6.9)
где КНЭКС -
коэффициент накладных расходов, связанных с эксплуатацией ПК.
Подставив данные из
таблицы 6.1 в формулы (6.9), (6.7) ÷ (6.3) и данные таблицы 6.3 для
расчета формулы (6.4), получим:
НРЭКС =
12*7(1+0)(1+0,15)*0,01=0,966 тыс.руб.
Э = 0,001*1800*0,2=0,36
тыс.руб.
Трем =
40*0,1=4 тыс.руб.
А =
40*0,2+15*1*0,06=8+0,9=8,9 тыс.руб.
SЭКС =
12*5(1+0)(1+0,15)(1+0,356)+8,9+4+0,36+0,88+0,966=108,67 тыс.руб.
СМЧ =
108,67/1800=0,060 тыс.руб.
Результаты расчетов
сведем в таблицу 6.4.
Таблица 6.4 - Расчет
себестоимости и отпускной цены машино-часа
|
Статьи затрат
|
Затраты
|
|
рублей
|
%
|
|
1
|
2
|
3
|
|
1. Средства на оплату труда
|
69 000
|
63,49
|
|
2. Единый социальный налог
|
24 564
|
22,60
|
|
3. Амортизационные отчисления :
а) ЭВМ
б) здания
|
8900
|
8,19
|
|
4. Ремонт
|
4000
|
3,68
|
|
5. Материалы
|
880
|
0,81
|
|
6. Электроэнергия
|
360
|
0,33
|
|
7. Прочие накладные расходы
|
966
|
0,89
|
|
Итого полная себестоимость
|
108 670
|
100
|
Используя данные таблиц
6.1 и 6.2, значение СМЧ и, подставив их в формулу (6.2), определим
капитальные затраты на проектирование системы:
КРАЗ = 7 · 2,2
· (1+0) · (1+0,15) · (1+0,356) · (1+0,01)+0,060 · 8 · 21 · 1,7 = 41391 руб.
Итак, для того чтобы
разработать проект необходимо потратить
41 391 рубль. Теперь
необходимо рассчитать затраты на создание ПО и его внедрения.
6.2.2 Расчет затрат на разработку
программного обеспечения
Затраты на разработку
программного обеспечения можно представить в виде:
КПРОГ = ЗО
× ТПРОГ × (1+КД) × (1+КР) × (1+КЕСН) × (1+КН.ПРОГ) +СМЧ × ТПКпрог, (6.10)
где ЗО - месячный оклад
программиста, тыс.р;
ТПРОГ -
трудоемкость создания программы, час.;
КН.ПРОГ -
коэффициент накладных расходов, доли ед. ;
CМЧ -
стоимость машино-часа ПК, р.;
ТПКпрог –
время использования ПК для разработки программы
Подставив в формулу
(6.10) полученные ранее значения, подсчитаем капитальные затраты на разработку
ПО:
КПРОГ = 7 ·
1,8 · 1 · 1,15 · 1,356 · 1,01 + 0,060 · 1,8 · 8 · 21 = 33 401 руб.
6.2.3 Расчет
единовременных затрат
Итак, теперь можно
подсчитать единовременные затраты на разработку АС, подставив значения КПРОГ
и КРАЗ в формулу (4.1):
К = 41391 + 33401 = 74
792 руб.
Годовые эксплуатационные
затраты в условиях функционирования системы могут быть определены как сумма :
С = СЭЛ + СЗП
+ СРЕМ + СА , (6.11)
где СЭЛ -
затраты на электроэнергию, потребляемую системой, р.;
CЗП - зарплата
обслуживающего персонала с начислениями, р.;
CРЕМ - затраты
на ремонт, р.;
CА - затраты
на амортизацию, р.
Расчет годовых затрат на
электроэнергию производим по формуле:
CЭЛ = N × ЦЭЛ × ТЗАД × КИНТ , (6.12)
где N - мощность,
потребляемая системой, кВт;
ЦЭЛ -
стоимость одного кВт×ч электроэнергии, р.;
ТЗАД - годовой
фонд работы системы при выполнении задачи, час;
КИНТ -
коэффициент интенсивного использования мощности оборудования.
Tкод= 3*21*8=504 часа
CЭЛ =
0,2*0,001*0,9*504=0,091 (разрабатываемая система)
CЭЛ =
0,2*0,001*0,9*1296=0,233 (действующая система)
Годовые затраты на
электроэнергию действующего варианта системы и разрабатываемого различны.
6.3.2
Расчет затрат на заработную плату персонала, использующего АС
Заработная плата (с
учетом единого социального налога) персонала, обслуживающего спроектированное
программное обеспечение:
CЗП = 12 × ЗОЗ × (1+КД) × (1+КР) × (1+КЕСН) (6.13)
CЗП =
12*5*(1+0)*(1+0,15)*(1+0,356)=93,564 тыс.руб. (разрабатываемая система)
CЗП =
12*10*(1+0)*(1+0,15)*(1+0,356)=187,128 тыс.руб. (действующая система)
Текущие затраты на ремонт
системы находим по формуле:
CПР = (КОБОР
× КПР)/100 , (6.14)
где КОБОР -
балансовая стоимость ПК, р.;
КПР - норма
отчислений на ремонт, %.
CПР =
(40*10)/100=4
Затраты на амортизацию
оборудования находим по формуле :
CА = (КОБОР
× НА)/100 , (6.15)
где КОБОР -
балансовая стоимость ПК, р.;
НА - норма
амортизационных отчислений, % .
CА =
(40*26)/100=10,4 тыс.руб.
6.3.5 Расчет экономии
Экономия средств от
внедрения разрабатываемой системы
Сраз =
0,091+93,564+4+10,4=108,055 тыс.руб. (разработанная система)
Сд =
0,233+187,128+4+10,4=201,761 тыс.руб. (действующая система)
Сср=Сд – Сраз = 201,761 –
108,055 = 93,706 тыс.руб.
6.4 Расчет обобщающих
показателей экономической эффективности
Экономическая
эффективность капитальных вложений на разработку и внедрение автоматизированной
системы определяется методами:
- окупаемости;
- простой нормы прибыли;
- дисконтирования средств
(чистой текущей стоимости).
Метод окупаемости основан
на определении периода возврата капитальных вложений (начальных инвестиций) в
проект за счет прибылей от проекта. Период возврата капитальных вложений
(окупаемость) определяется по формуле:
ТОК = ТО
-
, (6.16)
Метод простой нормы
прибыли позволяет определить размер прибыли на 1 рубль вложенного капитала.
Простая норма прибыли - показатель обратный периоду возврата капитальных
вложений и рассчитывается по формуле:
, (6.17)
где К - капитальные
вложения на разработку и внедрение автоматизи-рованной системы, тыс. р.;
П0 - чистая
прибыль от реализации автоматизированной системы, тыс.р.;
А -
амортизация основных средств и нематериальных активов, приобретенных для
реализации автоматизированной системы, тыс. р.
Метод дисконтирования или
чистой текущей стоимости базируется на дисконтных вычислениях по приведению
доходов и расходов, связанных с реализацией системы, к некоторому моменту
времени (к расчетному году).
Показатель ЧДДПР
характеризует величину общего дохода, который может быть получен за период
реализации инвестиционного проекта. Если величина ЧДДПР
положительна, то он признается эффективным, обеспечивающим уровень доходности
инвестиционных вложений не менее принятого значения нормативного коэффициента
эффективности единовременных затрат.
При расчетах различают
чистый дисконтированный доход годовой (ЧДДt) и чистый дисконтированный доход проекта (ЧДДПР).
Чистый дисконтированный
доход годовой определяется по формуле:
ЧДДt = ЧДt · αt, (6.18)
где ЧДt - чистый доход в году t, тыс.р.;
αt - коэффициент дисконтирования
(приведения), доли ед.
Чистый дисконтированный
доход проекта рассчитывается по формуле:
ЧДДПР =
ЧДДt, (6.19)
где tк, tн – соответственно начальный и
конечный годы расчетного периода.
Отдельный член денежного
потока наличности равен разности между ожидаемой величиной доходов от
реализации проекта и всеми видами затрат, и может отличаться от другого как по
знаку (т.е. быть отрицательным), так и по величине, и рассчитывается по
формуле:
ЧДt = Пt + At -Ht – Kt
, (6.20)
где Пt - прибыль, обеспечиваемая внедрением
системы в году t;
Аt -
амортизационные отчисления от стоимости системы, тыс.р.;
Ht – сумма
налогов, уплачиваемых предприятием из прибыли в бюджет, тыс.р.;
Кt –
единовременные затраты в году t, тыс.р.
Так как система
автоматизации технологических процессов позволяет сократить эксплуатационные
расходы, то прибыль (чистый доход), обеспечиваемый внедрением системы, определяется
как разность между годовыми эксплуатационными затратами до и после
автоматизации. Тогда формула (6.20) имеет вид:
ЧДt = Сдt – Срt + At -Ht – Kt, (6.21)
где Cдt, Срt
- годовые эксплуатационные затраты на систему автоматизации соответственно в
действующем и разработанном вариантах, тыс. руб.
Коэффициент отдачи
капитала показывает, величину дисконтированного дохода, полученную на каждый
рубль вложенных дисконтированных инвестиций.
Расчет коэффициента
отдачи капитала производится по формуле:
КОК =
+1, (6.22)
где КОК – коэффициент
отдачи капитала, руб./руб.;
ЧДДпр – чистый
дисконтированный доход проекта, руб.;
К – общие единовременные
затраты, руб.
Общие единовременные
затраты рассчитываются следующим образом:
К =
( Kt ∙ αt), (6.23)
Коэффициент
дисконтирования определяется по формуле:
αt = (1 + Ен )tр – t, (6.24)
где Ен -
нормативный коэффициент эффективности единовременных затрат;
tp – расчетный
год;
t – год, затраты и
результаты которого приводятся к расчетному году.
В условиях высокого
уровня инфляции коэффициент дисконтирования вычисляется так:
, (6.25)
где F - уровень инфляции
в долях единиц.
В качестве начального
года расчетного периода принимается год начала финансирования работ по созданию
проекта, включая проведение научных исследований.
Конечный год расчетного
периода определяется моментом завершения жизненного цикла системы, прекращением
его использования на производстве.
В качестве расчетного
года обычно принимается наиболее ранний из всех рассматриваемых вариантов
календарный год, предшествующий началу использования на предприятии
разрабатываемой системы.
Изменение чистой текущей
стоимости за счет использования системы будет рассчитываться по формуле (6.20).
Для анализа эффективности
единовременных затрат на разработку и внедрение системы используется показатель
– внутренняя норма рентабельности (ВНР), определяемый из соотношения:
(6.26)
ВНР характеризует
ежегодный процент прироста доходов от проекта. Сравнивая полученную величину с
Ен можно сделать вывод о том, обеспечивает ли данный проект
доходность выше заданной.
Другим назначением
показателя ВНР является оценка возможности привлечения заемных средств на
разработку и внедрение системы. Расчетное значение ВНР соответствует
максимально допустимому проценту за кредит, который может быть использован для
полного финансирования единовременных затрат по данной системе.
Если величина ВНР равна
проценту за кредит, то чистая текущая стоимость оказывается равной нулю. Таким
образом, вычисляемое значение позволяет судить о приемлемости для предприятия
условий кредитования.
Другим показателем,
применяемым для анализа эффективности единовременных затрат, является срок
окупаемости Ток. Экономическое содержание этого показателя
заключается в определении момента времени, необходимого для покрытия
единовременных затрат в проекте.
Период возврата
единовременных затрат определяется последовательным сложением величин:
Ток =
(Сдt - Срt + Аt – Нt) , (6.27)
пока полученная сумма не
сравняется с величиной единовременных затрат, приведенных к расчетному году.
Количество произведенных сложений равняется периоду возмещения капитальных
вложений или сроку окупаемости.
Сумма налогов на прибыль
и имущество рассчитывается по формуле:
Н = Нпр + Ним
, (6.28)
где Нпр –
налог на прибыль, тыс.р.;
Ним – налог на
имущество, тыс.р.
, (6.29)
где СТпр –
ставка налога на прибыль, %.
, (6.30)
где Коt –
остаточная стоимость внедряемой системы в году t, тыс.р. ;
СТим – ставка
налога на имущество, % .
Денежные потоки
наличности (ЧДt)рассчитываем
по формуле (6.20). Для расчета ЧДt необходимо определить амортизационные отчисления и величину
налогов, уплачиваемых предприятием из прибыли, последние рассчитываются по
формулам (6.29 – 6.30). Чистый дисконтированный доход в t-ом году расчетного
периода определяется произведением ЧДt на коэффициент дисконтирования соответствующего года.
Данные о ЧДt позволяют
рассчитать чистый дисконтированный доход.
Примем жизненный цикл
программы 5 лет, тогда амортизационные отчисления будут составлять 20%. Для
обоснования эффективности системы используем метод дисконтирования. Допустим
единовременные затраты осуществлены за 1 год; со 2 года расчетного периода
предприятие получает экономию эксплуатационных затрат неизменную по годам.
Коэффициент дисконтирования рассчитан при Ен = 20%. Показатели
таблицы 6.5 рассчитываются по формулам пункта 6.4.
Таблица 6.5 - Расчет чистого дисконтированного дохода
|
Показатель
|
Годы
|
|
|
tн
|
|
|
|
|
tк
|
|
0
|
1
|
2
|
3
|
4
|
5
|
|
1. Единовременные
затраты(инвестиции), руб.
|
74 792
|
|
|
|
|
|
|
2. Экономия
эксплу-атационных затрат, руб.
|
|
93 706
|
93 706
|
93 706
|
93 706
|
93 706
|
|
3. Амортизационные
отчисления, (Na=20%), руб.
|
|
14 958
|
14 958
|
14 958
|
14 958
|
14 958
|
|
4. Остаточная
стоимость, руб.
|
|
59 834
|
44 876
|
29 918
|
14 960
|
0
|
|
5. Налог на имущество
(2.2% от остаточной стоимости), руб.
|
|
1 316
|
987
|
658
|
329
|
0
|
|
6. Налогооблагаемая
прибыль, руб.
|
|
92 390
|
92 719
|
93 048
|
93 377
|
93 706
|
|
7. Налог на прибыль,
(24% от налогооблагаемой прибыли), руб.
|
|
22 174
|
22 253
|
22 332
|
22 410
|
22 489
|
|
8. Чистый доход в году,
руб.
|
-74 792
|
85 174
|
85 424
|
85 674
|
85 925
|
86 175
|
|
9. Накопленный чистый
доход, руб.
|
-74 792
|
10 382
|
95 806
|
181 480
|
267 405
|
353 580
|
|
10.Коэффициент
дис-контирования, (Е=20%)
|
1,000
|
0,833
|
0,694
|
0,579
|
0,482
|
0,402
|
|
11. Годовой чистый
дисконтированный доход (ЧДД), руб.
|
-74 792
|
70 950
|
59 284
|
49 605
|
41 416
|
34 642
|
|
12. Чистый
дисконтированный доход (накопленный), руб.
|
-74 792
|
55 442
|
105 047
|
146 463
|
181 105
|
Период возврата
капитальных вложений определяется по формуле (6.27). Графический способ расчета
Ток представлен на рисунке 6.1. Точка пересечения линии ЧДДпр
и оси абсцисс позволяет определить период окупаемости единовременных затрат.
Зависимость ЧДДпр от времени строим по значениям таблицы 6.5. На
графике видно, на какой срок дисконтирование увеличивает период возврата
Построим график
зависимости чистого дисконтированного дохода от коэффициента дисконтирования.
Для построения кривой зависимости ЧДДпр от коэффициента
эффективности капитальных вложений следует задать несколько значений Ен;
рассчитать для них
;
определить ЧДДпр и по полученным точкам построить кривую. Расчет
необходимых показателей приведен в таблице 6.6.
7
Безопасность и экологичность проекта
С развитием
научно-технического прогресса немаловажную роль играет возможность безопасного
исполнения людьми своих трудовых обязанностей. В связи с этим была создана и
развивается наука о безопасности труда и жизнедеятельности человека.
Безопасность
жизнедеятельности (БЖД) — это комплекс мероприятий, направленных на обеспечение
безопасности человека в среде обитания, сохранение его здоровья, разработку
методов и средств защиты путем снижения влияния вредных и опасных факторов до
допустимых значений, выработку мер по ограничению ущерба в ликвидации
последствий чрезвычайных ситуаций мирного и военного времени.
Цель и
содержание БЖД:
а)
обнаружение и изучение факторов окружающей среды, отрицательно влияющих на здоровье
человека;
б) ослабление
действия этих факторов до безопасных пределов или исключение их если это
возможно;
в) ликвидация
последствий катастроф и стихийных бедствий.
Круг
практических задач БЖД прежде всего обусловлен выбором принципов защиты, разработкой
и рациональным использованием средств защиты человека и природной среды от
воздействия техногенных источников и стихийных явлений, а также средств,
обеспечивающих комфортное состояние среды жизнедеятельности.
Охрана
здоровья трудящихся, обеспечение безопасности условий труда, ликвидация
профессиональных заболеваний и производственного травматизма составляет одну из
главных забот человеческого общества.
Обращается внимание на необходимость широкого применения
прогрессивных форм научной организации труда, сведения к минимуму
ручного, малоквалифицированного труда, создания обстановки,
исключающей профессиональные заболевания и производственный травматизм.
На рабочем
месте должны быть предусмотрены меры защиты от возможного воздействия опасных и
вредных факторов производства. Уровни этих факторов не должны превышать
предельных значений, оговоренных правовыми, техническими и
санитарно-техническими нормами. Эти нормативные документы обязывают к созданию
на рабочем месте условий труда, при которых влияние опасных и вредных факторов
на работающих либо устранено совсем, либо находится в допустимых пределах.
7.1 Анализ
опасных и вредных факторов
Опасные и
вредные производственные факторы по природе возникновения делятся на следующие
группы:
а) физические;
б)
химические;
в)
психофизиологические;
г)
биологические.
В помещении
лаборатории на программиста могут негативно действовать следующие физические
факторы:
а) повышенная
и пониженная температура воздуха;
б) чрезмерная
запыленность и загазованность воздуха;
в) повышенная
и пониженная влажность воздуха;
г)
недостаточная освещенность рабочего места;
д)
превышающий допустимые нормы шум;
е) повышенный
уровень ионизирующего излучения;
ж) повышенный
уровень электромагнитных полей;
з) повышенный
уровень статического электричества;
и) опасность
поражения электрическим током;
к) блеклость
экрана дисплея.
К химически
опасным факторам, постоянно действующим на программиста, относятся активные
частицы появляющиеся в результате ионизации воздуха при работе компьютера.
Биологические
вредные, производственные факторы в данном помещении отсутствуют.
К
психологически вредным факторам, воздействующим на оператора можно отнести:
а)
нервно-эмоциональньие перегрузки;
б) умственное
напряжение;
в)
перенапряжение зрительного анализатора.
Далее более
подробно рассмотрены опасные и вредные факторы, воздействующие на программиста,
возникшие в связи с разработкой данной системы.
7.2
Характеристики условий труда программиста
Научно-технический
прогресс внес серьезные изменения в условия производственной деятельности
работников умственного труда. Их труд стал более интенсивным, напряженным,
требующим значительных затрат умственной, эмоциональной и физической энергии.
Это потребовало комплексного решения проблем эргономики, гигиены и организации
труда, регламентации режимов труда и отдыха, В настоящее время компьютерная
техника широко применяется во всех областях деятельности человека. При работе с
компьютером человек подвергается воздействию ряда опасных и вредных производственных
факторов: электромагнитных полей (диапазон радиочастот: ВЧ, УВЧ и СВЧ),
инфракрасного и ионизирующего излучений, шума и вибрации, статического
электричества и др. Работа с компьютером характеризуется значительным
умственным напряжением и нервноэмоциональной нагрузкой операторов, высокой
напряженностью зрительной работы и достаточно большой нагрузкой на мышцы рук
при работе с клавиатурой ЭВМ. Большое значение имеет рациональная конструкция и
расположение элементов рабочего места, что важно для поддержания оптимальной
рабочей позы человека-оператора. В процессе работы с компьютером необходимо
соблюдать правильный режим труда и отдыха. В противном случае у персонала
отмечаются значительное напряжение зрительного аппарата с появлением жалоб на неудовлетворенность
работой, головные боли, раздражительность, нарушение сна, усталость и
болезненные ощущения в глазах, в пояснице, в области шеи и руках.
7.3
Требования к производственным помещениям
Окраска и
коэффициенты отражения
Окраска
помещений и мебели должна способствовать созданию благоприятных условий для
зрительного восприятия, хорошего настроения.
Источники
света, такие как светильники и окна, которые дают отражение от поверхности
экрана, значительно ухудшают точность знаков и влекут за собой помехи
физиологического характера, которые могут выразиться в значительном напряжении,
особенно при продолжительной работе. Отражение, включая отражения от вторичных
источников света, должно быть сведено к минимуму. Для защиты от избыточной
яркости окон могут быть применены шторы и экраны.
В зависимости
от ориентации окон рекомендуется следующая окраска стен и пола:
а) окна
ориентированы на юг - стены зеленовато-голубого или светло-голубого цвета, пол
- зеленый;
б) окна
ориентированы на север - стены светло-оранжевого или оранжево-желтого цвета,
пол - красновато-оранжевый;
в) окна
ориентированы на восток - стены желто-зеленого цвет, пол зеленый или
красновато-оранжевый;
г) окна
ориентированы на запад - стены желто-зеленого или голубовато-зеленого цвета,
пол зеленый или красновато-оранжевый.
В помещениях,
где находится компьютер, необходимо обеспечить следующие величины коэффициента
отражения: для потолка: 60.. .70%, для стен: 40.. .50%, для пола: около 30%.
Для других поверхностей и рабочей мебели: 30.. .40%.
Освещение
Правильно
спроектированное и выполненное производственное освещение улучшает условия
зрительной работы, снижает утомляемость, способствует повышению
производительности труда, благотворно влияет на производственную среду,
оказывая положительное психологическое воздействие на работающего, повышает
безопасность труда и снижает травматизм.
Недостаточность
освещения приводит к напряжению зрения, ослабляет внимание, приводит к
наступлению преждевременной утомленности. Чрезмерно яркое освещение вызывает
ослепление, раздражение и резь в глазах.
Неправильное
направление света на рабочем месте может создавать резкие тени, блики,
дезориентировать работающего. Все эти причины могут привести к несчастному
случаю или профзаболеваниям, поэтому столь важен правильный расчет
освещенности.
Существует
три вида освещения - естественное, искусственное и совмещенное (естественное и
искусственное вместе) .
Естественное
освещение - освещение помещений дневным светом, проникающим через световые
проемы в наружных ограждающих конструкциях помещений. Естественное освещение
характеризуется тем, что меняется в широких пределах в зависимости от времени
дня, времени года, характера области и ряда других факторов.
Искусственное
освещение применяется при работе в темное время суток и днем, когда не удается
обеспечить нормированные значения коэффициента естественного освещения
(пасмурная погода, короткий световой день).
Освещение,
при котором недостаточное по нормам естественное освещение дополняется
искусственным, называется совмещенным освещением. Искусственное освещение
подразделяется на рабочее, аварийное, эвакуационное, охранное. Рабочее
освещение, в свою очередь, может быть общим или комбинированным. Общее -
освещение, при котором светильники размещаются в верхней зоне помещения
равномерно или применительно к расположению оборудования. Комбинированное -
освещение, при котором к общему добавляется местное освещение. Согласно СНиП II
-4-79 в помещениях вычислительных центров необходимо применить систему
комбинированного освещения.
При
выполнении работ категории высокой зрительной точности (наименьший размер
объекта различения 0,3.. . 0,5мм) величина коэффициента естественного освещения
(КЕО) должна быть не ниже 1,5%, а при зрительной работе средней точности
(наименьший размер объекта различения 0,5. . .1,0 мм) КЕО должен быть не ниже
1,0%. В качестве источников искусственного освещения обычно используются
люминесцентные лампы типа ЛБ или ДРЛ, которые попарно объединяются в
светильники, которые должны располагаться над рабочими поверхностями
равномерно. Требования к освещенности в помещениях, где установлены компьютеры,
следующие: при выполнении зрительных работ высокой точности общая освещенность
должна составлять 300лк, а комбинированная - 750лк, аналогичные требования при
выполнении работ средней точности - 200 и 300лк соответственно. Кроме того все
поле зрения должно быть освещено достаточно равномерно - это основное
гигиеническое требование. Иными словами, степень освещения помещения и яркость
экрана компьютера должны быть примерно одинаковыми, т.к. яркий свет в районе
периферийного зрения значительно увеличивает напряженность глаз и, как
следствие, приводит к их быстрой утомляемости.
Параметры
микроклимата
Параметры
микроклимата могут меняться в широких пределах, в то время как необходимым
условием жизнедеятельности человека является поддержание постоянства
температуры тела благодаря терморегуляции, т.е. способности организма
регулировать отдачу тепла в окружающую среду. Принцип нормирования микроклимата
— создание оптимальных условий для теплообмена тела человека с окружающей
средой.
Вычислительная
техника является источником существенных
тепловыделений, что может привести к повышению температуры и снижению
относительной влажности в помещении. В помещениях, где установлены компьютеры,
должны соблюдаться определенные параметры микроклимата. В санитарных нормах
СН-245-7 1 установлены величины параметров микроклимата, создающие комфортные
условия. Эти нормы устанавливаются в зависимости от времени года, характера трудового
процесса и характера производственного помещения (Таблица 7.1) .
Объем
помещений, в которых размещены работники вычислительных центров, не должен быть
меньше 19,5м3/человека с учетом максимального числа одновременно работающих в
смену. Нормы подачи свежего воздуха в помещения, где расположены компьютеры
(Таблица 7.2).
Таблица 7.1
Параметры микроклимата для помещений
Таблица 7.2 -
Нормы подачи свежего воздуха в помещения, где расположены компьютеры
Для
обеспечения комфортных условий используются как организационные методы
(рациональная организация проведения работ в зависимости от времени года и
суток, чередование труда и отдыха), так и технические средства (вентиляция,
кондиционирование воздуха, отопительная система).
Шум и
вибрация
Допустимые
уровни звукового давления, уровня звука и эквивалентные уровни звука на рабочих
местах должны соответствовать требованиям “Санитарных норм, допустимых уровней
шума на рабочих местах” № 3223-85.
Вибрация
(общая) оборудования на рабочих местах не должна превышать предельно допустимых
величин, установленных “Санитарными нормами вибрации рабочих мест” № 3044-84.
Шум ухудшает
условия труда, оказывая вредное действие на организм человека. Работающие в
условиях длительного шумового воздействия испытывают раздражительность,
головные боли, головокружение, снижение памяти, повышенную утомляемость,
понижение аппетита, боли в ушах и т. д. Такие нарушения в работе ряда органов и
систем организма человека могут вызвать негативные изменения в эмоциональном
состоянии человека вплоть до стрессовых. Под воздействием шума снижается
концентрация внимания, нарушаются физиологические функции, появляется усталость
в связи с повышенными энергетическими затратами и нервно-психическим
напряжением, ухудшается речевая коммутация. Все это снижает работоспособность
человека и его производительность, качество и безопасность труда. длительное
воздействие интенсивного шума [выше 80 дБ(А)] на слух человека приводит к его
частичной или полной потере .
Предельные
уровни звука в зависимости от категории тяжести и напряженности труда,
являющиеся безопасными в отношении сохранения здоровья и работоспособности
(Таблица 7.3).
Таблица 7.3
Предельные уровни звука, дБ, на рабочих местах
Уровень шума
на рабочем месте математиков-программистов и операторов видеоматериалов не
должен превышать 5ОдБА, а в залах обработки информации на вычислительных
машинах - 65дБА. для снижения уровня шума стены и потолок помещений, где
установлены компьютеры, могут быть облицованы звукопоглощающими материалами.
Уровень вибрации в помещениях вычислительных центров может быть снижен путем
установки оборудования на специальные виброизоляторы.
Электромагнитное
и ионизирующие излучения
Большинство
ученых считают, что как кратковременное, так и длительное воздействие всех
видов излучения от экрана монитора не опасно для здоровья персонала,
обслуживающего компьютеры. Однако исчерпывающих данных относительно опасности
воздействия излучения от мониторов работающих с компьютерами не существует, и
исследования в этом направлении продолжаются.
Допустимые
значения параметров неионизирующих электромагнитных излучений от монитора
компьютера (Таблица 7.4). Максимальный уровень рентгеновского излучения на
рабочем месте оператора компьютера обычно не превышает 10мкбэр/ч, а интенсивность
ультрафиолетового и инфракрасного излучений от экрана монитора лежит в пределах
10... 100мВт/м2.
Для снижения
воздействия этих видов излучения рекомендуется применять мониторы с пониженным
уровнем излучения (МРR-ll, ТСО92, ТСО-99), устанавливать
защитные экраны, а также соблюдать регламентированные режимы труда и отдыха.
Таблица 7.4
Допустимые значения параметров неионизирующих электромагнитных излучений (в
соответствии с СанПиН 2.2.2.542-96)
Опасность
повышенного уровня напряженности электромагнитного поля
Электромагнитные
поля, характеризующиеся напряженностями электрических и магнитных полей,
наиболее вредны для организма человека. Основным источником этих проблем, связанных
с охраной здоровья людей, использующих в своей работе автоматизированные
информационные системы на основе персональных компьютеров, являются дисплеи
(мониторы), особенно дисплеи с электронно-лучевыми трубками. Они представляют
собой источники наиболее вредных излучений, неблагоприятно влияющих на здоровье
оператора.
ПЭВМ являются
источниками таких излучений как:
а) мягкого
рентгеновского;
б)
ультрафиолетового 200-400 нм;
в) видимого
400-700 нм;
г) ближнего
инфракрасного 700- 1050 нм;
д) радиочастотного
З кГц-ЗО МГц;
е)
электростатических полей.
Ультрафиолетовое
излучение полезно в небольших количествах, но в больших дозах приводит к
дерматиту кожи, головной боли, рези в глазах. Инфракрасное излучение приводит к
перегреву тканей человека (особенно хрусталика глаза), повышению температуры
тела. Уровни напряженности электростатических полей должны составлять не более
20 кВ/м. Поверхностный электростатический потенциал не должен превышать 500В.
При повышенном уровне напряженности полей следует сократить время работы за
компьютером, делать пятнадцатиминутные перерывы в течении полутора часов работы
и, конечно же, применять защитные экраны. Защитный экран, изготовляемый из
мелкой сетки или стекла, собирает на себе электростатический заряд. Для снятия заряда
- экран монитора заземляют.
Может
возникнуть опасность по уровням напряженности электромагнитного поля. На
расстоянии 5-10 см от экрана и корпуса монитора уровни напряженности могут
достигать 140 В/м по электрической составляющей, что значительно превышает
допустимые значения СанПиН 2.2.2. 542-96. Предельно допустимые значения
характеристик ЭМП (Таблица 7.5).
Таблица 7.5 -
Предельно допустимые значения характеристик ЭМП
Для
предупреждения внедрения опасной техники все дисплеи должны проходить испытания
на соответствие требованиям безопасности (например, международные стандарты МRP 2, ТСО 99).
Так как
работа программиста и пользователей по виду трудовой деятельности относится к
группе В — творческая работа в режиме диалога с ЭВМ, а по напряженности работы
ко II категории тяжести (СанПиН 2.2.2.542-96), я предлагаю сократить время
работы за компьютером, делать перерывы суммарное время которых должно составлять
50 минут при 8-ми часовой смене и, конечно же, применять защитные экраны.
Например, защитный экран “ERGON”
способен защитить организм человека от электромагнитных полей, благодаря
внедрению новых идей, связанных с поляризованными покрытиями. Для снятия заряда
защитный экран, установленный на мониторе необходимо заземлить.
7.4
Электробезопасность. Статическое электричество
Помещение
кабинета по опасности поражения электрическим током можно отнести к 1 классу,
т.е. это помещение без повышенной опасности (сухое, бес-пыльное, с нормальной
температурой воздуха, изолированными полами и малым числом заземленных
приборов).
На рабочем
месте из всего оборудования металлическим является лишь корпус системного блока
компьютера, но здесь используются системные блоки, отвечающие стандарту фирмы
IВМ, в которых кроме рабочей изоляции предусмотрен элемент для заземления и
провод с заземляющей жилой для присоединения к источнику питания. Таким
образом, оборудование обменного пункта выполнено по классу 1 (ПУЭ).
Электробезопасность
помещения обеспечивается в соответствии с ПУЭ. Опасное и вредное воздействие на
людей электрического тока, электрической дуги и электромагнитных полей
проявляется в виде электротравм и профессиональных заболеваний.
Степень
опасного и вредного воздействия на человека электрического тока, электрической
дуги и электромагнитных полей зависит от:
а) рода и
величины напряжения и тока;
б) частоты
электрического тока;
в) пути тока
через тело человека;
г)
продолжительности воздействия на организм человека.
Электробезопасность
в помещении кабинета обеспечивается техническими способами и средствами защиты,
а так же организационными и техническими мероприятиями.
Рассмотрим
основные причины поражения человека электрическим током на рабочем месте:
а)
прикосновение к металлическим нетоковедущим частям (корпусу, периферии
компьютера), которые могут оказаться под напряжением в результате повреждения
изоляции;
б)
нерегламентированное использование электрических приборов.
Отсутствие
инструктажа сотрудников по правилам электробезопасности.
В течение
работы на корпусе компьютера накапливается статическое электричество. На
расстоянии 5-10 см от экрана напряженность электростатического поля составляет
60-280 кВ/м, то есть в 10 раз превышает норму 20 кВ/м. для уменьшения
напряжённости применять применение увлажнители и нейтрализаторы,
антистатическое покрытия пола.
Кроме того,
при неисправности каких-либо блоков компьютера корпус может оказаться под
током, что может привести к электрическим травмам или электрическим ударам. для
устранения этого я предлагаю обеспечить подсоединение металлических корпусов
оборудования к заземляющей жиле.
Электробезопасность
обеспечивается в соответствии с ГОСТ 12.1. 030.-81. Опасное и вредное воздействие
на людей электрического тока проявляется в виде электротравм и профессиональных
заболеваний.
Электробезопасность
в кабинете обеспечивается техническими способами и средствами защиты, а так же
организационными и техническими мероприятиями.
Основными причинами
поражения оператора ЭВМ электрическим током на рабочем месте являются:
а)
прикосновение к металлическим нетоковедущим частям системного блока ПЭВМ,
которые могут оказаться под напряжением в результате повреждения изоляции;
б)
запрещенное использование электрических приборов, таких как электрические
плиты, чайники, обогреватели.
Обеспечение
электробезопасности техническими способами и средствами
Так как все
токоведущие части ЭВМ изолированы, то случайное прикосновение к токоведущим
частям исключено.
Для
обеспечения защиты от поражения электрическим током при прикосновении к
металлическим нетоковедущим частям, которые могут оказаться под напряжением в
результате повреждения изоляции, я рекомендую применять защитное заземление.
Заземление
корпуса ЭВМ обеспечено подведением заземляющей жилы к питающим розеткам.
Сопротивление заземления 4 Ом, согласно (ПУЭ) для электроустановок с
напряжением до 1000 В.
Организационные
и технические мероприятия по обеспечению электробезопасности
Основным
организационным мероприятием является инструктаж и обучение безопасным методам
труда, а так же проверка знаний правил безопасности и инструкций в соответствии
с занимаемой должностью применительно к выполняемой работе.
При
проведении незапланированного и планового ремонта вычислительной техники
выполняются следующие действия:
а) отключение
компьютера от сети;
б) проверка
отсутствия напряжения.
После
выполнения этих действий проводится ремонт неисправного оборудования.
Если ремонт
проводится на токоведущих частях, находящихся под напряжением, то выполнение
работы проводится не менее чем двумя лицами с применением электрозащитных
средств.
7.5 Пожаробезопасность
Степень
огнестойкости зданий принимается в зависимости от их назначения, категории по
взрывопожарной и пожарной опасности, этажности, площади этажа в пределах
пожарного отсека.
Здание, в
котором находится лаборатория по пожарной опасности строительных конструкций
относится к категории К1 (малопожароопасное), поскольку здесь присутствуют
горючие (книги, документы, мебель, орггехника и т.д.) и трудносгораемые
вещества (сейфы, различное оборудование и т.д.), которые при взаимодействии с
огнем могут гореть без взрыва.
По
конструктивным характеристикам здание можно отнести к зданиям с несущими и
ограждающими конструкциями из естественных или искусственных каменных
материалов, бетона или железобетона, где для перекрытий допускается
использование деревянных конструкций, защищенных штукатуркой или трудногорючими
листовыми, а также плитными материалами. Следовательно, степень огнестойкости
здания можно определить как третью (III).
7.5.1 Причины
возникновения пожара
Пожар в
лаборатории, может привести к очень неблагоприятным последствиям (потеря ценной
информации, порча имущества, гибель людей и т.д.), поэтому необходимо: выявить
и устранить все причины возникновения пожара; разработать план мер по
ликвидации пожара в здании; план эвакуации людей из здания.
Причинами
возникновения пожара могут быть:
а)
неисправности электропроводки, розеток и выключателей которые могут привести к
короткому замыканию или пробою изоляции;
б)
использование поврежденных (неисправных) электроприборов;
в)
использование в помещении электронагревательных приборов с открытыми
нагревательными элементами;
г)
возникновение пожара вследствие попадания молнии в здание;
д) возгорание
здания вследствие внешних воздействий;
е)
неаккуратное обращение с огнем и несоблюдение мер пожарной безопасности.
7.5.2 Профилактика
пожара
Пожарная
профилактика представляет собой комплекс организационных и технических мероприятий,
направленных на обеспечение безопасности людей, на предотвращении пожара,
ограничение его распространения, а также создание условий для успешного тушения
пожара. Для профилактики пожара чрезвычайно важна правильная оценка
пожароопасности здания, определение опасных факторов и обоснование способов и
средств пожаропредупреждения и защиты.
Одно из
условий обеспечения пожаробезопасности - ликвидация возможных источников
воспламенения.
В кабинете
источниками воспламенения могут быть:
а) неисправное
электрооборудование, неисправности в электропроводке, электрических розетках и
выключателях, Для исключения возникновения пожара по этим причинам необходимо
вовремя выявлять и устранять неисправности, проводить плановый осмотр и
своевременно устранять все неисправности;
б)
неисправные электроприборы. Необходимые меры для исключения пожара включают в
себя своевременный ремонт электроприборов, качественное исправление поломок, не
использование неисправных электроприборов;
в)
обогревание помещения электронагревательными приборами с открытыми
нагревательными элементами. Открытые нагревательные поверхности могут привести
к пожару, так как в помещении находятся бумажные документы и справочная
литература в виде книг, пособий, а бумага — легковоспламеняющийся предмет. В
целях профилактики пожара предлагаю не использовать открытые обогревательные
приборы в помещении лаборатории;
г) короткое
замыкание в электропроводке. В целях уменьшения вероятности возникновения
пожара вследствие короткого замыкания необходимо, чтобы электропроводка была
скрытой.
д) попадание
в здание молнии. В летний период во время грозы возможно попадание молнии
вследствие чего возможен пожар. Во избежание этого я рекомендую установить на
крыше здания молниеотвод.
В целях
предотвращения пожара предлагаю проводить с инженерами, работающими в
лаборатории, противопожарный инструктаж, на котором ознакомить работников с
правилами противопожарной безопасности, а также обучить использованию первичных
средств пожаротушения.
В случае
возникновения пожара необходимо отключить электропитание, вызвать по телефону
пожарную команду, эвакуировать людей из помещения согласно плану эвакуации, и
приступить к ликвидации пожара огнетушителями. При наличии небольшого очага
пламени можно воспользоваться подручными средствами с целью прекращения доступа
воздуха к объекту возгорания.
7.5.3
Оказание первой помощи при поражении электрическим током
Помощь пострадавшему не
должна заменять собой помощь медицинского персонала и должна оказываться до
прибытия врача. Если пострадавший соприкасается с токоведущими частями,
необходимо быстро освободить его от действия электрического тока. Прикасаться к
человеку, находящемуся под напряжением, опасно для жизни. Поэтому нужно быстро
отключить ту часть установки, которой касается пострадавший. Для освобождения
пострадавшего от провода следует воспользоваться сухой одеждой, доской или
каким-либо другим предметом, не проводящий электрический ток или взяться за его
одежду (если она сухая), избегая при этом прикосновения к металлическим
предметам и открытым частям тела.
Далее необходимо:
- уложить пострадавшего
на спину на твердую поверхность;
- проверить наличие у
пострадавшего дыхания (определить по подъему грудной клетки, запотеванию
зеркала и пр.);
- проверить наличие
пульса на лучевой стороне у запястья или на сонной артерии на переднебоковой
поверхности шеи;
- выяснить состояние
зрачка, широкий зрачок указывает на резкое ухудшение кровоснабжения мозга;
- вызов врача по телефону
03 во всех случаях обязателен.
Если пострадавший находится
в сознании после обморока, его следует уложить в удобное положение, накрыть
одеждой, обеспечить полный покой, непрерывно наблюдая за дыханием и пульсом.
Если пострадавший
находится в бессознательном состоянии, но с устойчивым дыханием и пульсом, его
следует ровно и удобно уложить, расстегнуть одежду, создать приток свежего
воздуха, поднести к носу ватку с нашатырным спиртом, обрызгать лицо водой и
обеспечить полный покой. Если пострадавший плохо дышит (очень редко и
судорожно), ему следует делать искусственное дыхание и массаж сердца.
При отсутствии признаков
жизни нельзя считать пострадавшего мертвым, т.к. смерть бывает кажущейся.
Искусственное дыхание следует проводить непрерывно до прибытия врача. Первую
помощь нужно оказывать немедленно и по возможности на месте происшествия. С
момента остановки сердца должно пройти не более 3-5 мин.
При
правильном проведении искусственного дыхания и массажа сердца у пострадавшего
появляются следующие признаки оживления: улучшение цвета лица, появление
самостоятельного дыхания (все более равномерного), сужение зрачков, появление
самостоятельного пульса
7.5.4
Действия при террористических актах
Общие рекомендации
гражданам по действиям в экстремальных ситуациях.
Терроризм - это метод,
посредством которого организованная группа или партия стремятся достичь
провозглашенных ею целей через систематическое использование насилия. Для
нагнетания страха применяются такие террористические способы (методы), как
взрывы и поджоги жилых и административных зданий, магазинов, вокзалов, захват
заложников, автобусов, угоны самолетов и т.д.
Рекомендации
руководителям предприятий, организаций, учреждений по действиям в экстремальных
ситуациях.
1. Обнаружение
подозрительного предмета, который может оказаться взрывным устройством.
Предупредительные меры:
·
ужесточение
пропускного режима при входе (въезде) на территорию объекта;
·
ежедневные обходы
территории предприятия и осмотр мест сосредоточения опасных веществ на предмет
своевременного обнаружения взрывных устройств или подозрительных предметов;
·
периодическая
комиссионная проверка складских помещений;
·
более тщательный
подбор и проверка кадров;
·
при сдаче
складских помещений в аренду рекомендуется включать в договор пункты, дающие
право при необходимости проверять их по своему усмотрению.
В случае обнаружения:
·
сообщить в
правоохранительные органы;
·
дать указания
сотрудникам находиться на безопасном расстоянии от обнаруженного предмета;
·
при необходимости
приступить к эвакуации людей согласно имеющегося плана;
·
обеспечить
беспрепятственный подъезд к месту обнаружения предмета автомашин
правоохранительных органов, медицинских, пожарных и др.;
·
обеспечить
присутствие лиц, обнаруживших находку, до прибытия следственно- оперативной
группы;
·
дать указания не
приближаться, не трогать, не вскрывать и не перемещать находку.
2. Порядок приема
сообщений, содержащих угрозы террористического характера, по телефону и
письменно:
·
постарайтесь
дословно запомнить разговор и зафиксировать его на бумаге;
·
по ходу разговора
отметьте пол , возраст, особенности речи звонившего (голос, темп речи,
произношение, манера речи и т.д.);
·
отметьте звуковой
фон (шум, звуки, голоса);
·
отметьте характер
звонка (городской или междугородний);
·
зафиксируйте
точное время начала разговора и его продолжительность ;
·
при наличии на
Вашем телефонном аппарате автомата определения номера - запишите определившийся
номер в тетрадь.
При получении письменной
угрозы:
·
уберите документ
в чистый полиэтиленовый пакет и жесткую папку;
·
не оставляйте на
нем отпечатков своих пальцев;
·
не расширяйте
круг лиц, знакомящихся с содержанием документа;
·
анонимные
документы не сшивайте, не склеивайте, не делайте на них надписи, не сгибайте,
не мните. Регистрационный штамп проставлять только на сопроводительных письмах
организаций.
7.6
Эргономические требования к рабочему месту
Проектирование
рабочих мест, снабженных видеотерминалами, относится к числу важных проблем
эргономического проектирования в области вычислительной техники.
Рабочее место
и взаимное расположение всех его элементов должно соответствовать
антропометрическим, физическим и психологическим требованиям. Большое значение
имеет также характер работы. В частности, при организации рабочего места
программиста должны быть соблюдены следующие основные условия: оптимальное
размещение оборудования, входящего в состав рабочего места и достаточное
рабочее пространство, позволяющее осуществлять все необходимые движения и
перемещения. Эргономическими аспектами проектирования видеотерминальных рабочих
мест, в частности, являются: высота рабочей поверхности, размеры пространства
для ног, требования к расположению документов на рабочем месте (наличие и
размеры подставки для документов, возможность различного размещения документов,
расстояние от глаз пользователя до экрана, документа, клавиатуры и т.д.),
характеристики рабочего кресла, требования к поверхности рабочего стола,
регулируемость элементов рабочего места.
Главными
элементами рабочего места программиста являются стол и кресло. Основным рабочим
положением является положение сидя. Рабочая поза сидя вызывает минимальное
утомление программиста. Рациональная планировка рабочего места предусматривает
четкий порядок и постоянство размещения предметов, средств труда и
документации. То, что требуется для выполнения работ чаще, расположено в зоне
легкой досягаемости рабочего пространства.
Моторное поле
- пространство рабочего места, в котором могут осуществляться двигательные
действия человека.
Максимальная
зона досягаемости рук - это часть моторного поля рабочего места, ограниченного
дугами, описываемыми максимально вытянутыми руками при движении их в плечевом
суставе.
Оптимальная
зона - часть моторного поля рабочего места, ограниченного дугами, описываемыми
предплечьями при движении в локтевых суставах с опорой в точке локтя и с
относительно неподвижным плечом.
Для
комфортной работы стол должен удовлетворять следующим условиям:
а) высота
стола должна быть выбрана с учетом возможности сидеть свободно, в удобной позе,
при необходимости опираясь на подлокотники;
б) нижняя
часть стола должна быть сконструирована так, чтобы программист мог удобно
сидеть, не был вынужден поджимать ноги;
в)
поверхность стола должна обладать свойствами, исключающими появление бликов в
поле зрения программиста;
г)
конструкция стола должна предусматривать наличие выдвижных ящиков (не менее 3
для хранения документации, листингов, канцелярских принадлежностей);
д) высота
рабочей поверхности рекомендуется в пределах 680- 760мм. Высота поверхности, на
которую устанавливается клавиатура, должна быть около 650мм.
Большое
значение придается характеристикам рабочего кресла. Так, рекомендуемая высота
сиденья над уровнем пола находится в пределах 420-550мм. Поверхность сиденья
мягкая, передний край закругленный, а угол наклона спинки - регулируемый.
Необходимо
предусматривать при проектировании возможность различного размещения
документов: сбоку от видеотерминала, между монитором и клавиатурой и т.п. Кроме
того, в случаях, когда видеотерминал имеет низкое качество изображения,
например заметны мелькания, расстояние от глаз до экрана делают больше (около
700мм), чем расстояние от глаза до документа (300-450мм). Вообще при высоком
качестве изображения на видеотерминале расстояние от глаз пользователя до
экрана, документа и клавиатуры может быть равным.
Положение
экрана определяется:
а)
расстоянием считывания (0,6. . . 0,7м);
б) углом
считывания, направлением взгляда на 20 градусов ниже горизонтали к центру
экрана, причем экран перпендикулярен этому направлению.
Должна также
предусматриваться возможность регулирования экрана:
а) по высоте
+3 см;
б) по наклону
от -10 до +20 градусов относительно вертикали;
в) в левом и
правом направлениях.
Большое
значение также придается правильной рабочей позе пользователя. При неудобной
рабочей позе могут появиться боли в мышцах, суставах и сухожилиях. Требования к
рабочей позе пользователя видеотерминала следующие:
а) голова не
должна быть наклонена более чем на 20 градусов;
б) плечи
должны быть расслаблены;
в) локти -
под углом 80... 100 градусов;
г) предплечья
и кисти рук - в горизонтальном положении.
Причина
неправильной позы пользователей обусловлена следующими факторами: нет хорошей
подставки для документов, клавиатура находится слишком высоко, а документы -
низко, некуда положить руки и кисти, недостаточно пространство для ног. В целях
преодоления указанных недостатков даются общие рекомендации: лучше передвижная
клавиатура; должны быть предусмотрены специальные приспособления для
регулирования высоты стола, клавиатуры и экрана, а также подставка для рук .
Существенное значение для производительной и качественной работы на компьютере
имеют размеры знаков, плотность их размещения, контраст и соотношение яркостей
символов и фона экрана. Если расстояние от глаз оператора до экрана дисплея
составляет 60...80 см, то высота знака должна быть не менее 3 мм, оптимальное соотношение ширины и высоты знака составляет 3:4, а расстояние между знаками —
15...20% их высоты. Соотношение яркости фона экрана и символов -от 1:2 до 1:15
.
Во время
пользования компьютером медики советуют устанавливать монитор на расстоянии 50-60 см от глаз. Специалисты также считают, что верхняя часть видеодисплея должна быть на уровне глаз
или чуть ниже. Когда человек смотрит прямо перед собой, его глаза открываются
шире, чем когда он смотрит вниз. За счет этого площадь обзора значительно
увеличивается, вызывая обезвоживание глаз. К тому же если экран установлен
высоко, а глаза широко открыты, нарушается функция моргания. Это значит, что
глаза не закрываются полностью, не омываются слезной жидкостью, не получают
достаточного увлажнения, что приводит к их быстрой утомляемости. Создание
благоприятных условий труда и правильное эстетическое оформление рабочих мест
на производстве имеет большое значение как для облегчения труда, так и для
повышения его привлекательности, положительно влияющей на производительность
труда.
7.7 Режим
труда
Как уже было
неоднократно отмечено, при работе с персональным компьютером очень важную роль
играет соблюдение правильного режима труда и отдыха. В противном случае у
персонала отмечаются значительное напряжение зрительного аппарата с появлением
жалоб на неудовлетворенность работой, головные боли, раздражительность,
нарушение сна, усталость и болезненные ощущения в глазах, в пояснице, в области
шеи и руках .
Сведения о
регламентированных перерывах, которые необходимо делать при работе на компьютере,
в зависимости от продолжительности рабочей смены, видов и категорий трудовой
деятельности с ВДТ (видеодисплейный терминал) и ПЭВМ (в соответствии с СанПиН
2.2.2 542-96 «Гигиенические требования к видеодисплейным терминалам,
персональным электронно-вычислительным машинам и организации работ») (Таблица
7.6).
Таблица 7.6
Время регламентированных перерывов при работе на компьютере
Примечание.
Время перерывов дано при соблюдении указанных Санитарных правил и норм. При
несоответствии фактических условий труда требованиям Санитарных правил и норм
время регламентированных перерывов следует увеличить на 30%.
В
соответствии со СанПиН 2.2.2 546-96 все виды трудовой деятельности, связанные с
использованием компьютера, разделяются на три группы: группа А: работа по
считыванию информации с экрана ВДТ или ПЭВМ с предварительным запросом; группа
Б: работа по вводу информации; группа В: творческая работа в режиме диалога с
ЭВМ.
Эффективность
перерывов повышается при сочетании с производственной гимнастикой или
организации специального помещения для отдыха персонала с удобной мягкой
мебелью, аквариумом, зеленой зоной и т.п.
7.8 Оценка
условий труда
Гигиенические
критерии оценки и классификаций условий труда основаны на принципе
дифференциации условий труда по степени отклонения параметров производственной
среды и трудового процесса от действующих гигиенических нормативов в
соответствии с выявленным влиянием этих отклонений на функциональное состояние
и здоровье работающих.
Оценка
классов условий труда по факторам производственной среды (Таблица 7.7).
Таким
образом, можно сказать, что общая оценка условий труда равна 3.2 — т.е. вредные
условия труда второй степени. Это вредные условия труда, характеризующиеся
наличием вредных производственных факторов, приводящих к в большинстве случаев
к росту заболеваемости с временной утратой трудоспособности, повышением частоты
заболеваемости, проявлением начальных признаков профессиональной патологии.
Таблица 7.7 —
Фактическое состояние условий труда на рабочем месте
Продолжение
таблицы 7.7
Общая оценка
условий труда (Таблица 7.8).
Таблица 7.8 —
Общая оценка условий труда
Заключение
В работе,
была изучена предметная область, на основе анализа которой были определены
функции автоматизированной системы и ее назначение. База данных была
разработана с помощью САSЕ-средства
ЕR- Win.
Система
позволяет облегчить работу персонала предприятия в обязанности, которых входит
рациональное планирование финансирования, и приобретение оптимальной по своим
характеристикам вычислительной техники, в том числе запасных комплектующих, и
организация инвентарного учета поступающего оборудования (закрепление его за
материально ответственными лицами), и ведение контроля над перемещением
оборудования между структурными подразделениями организации.
В процессе
обоснование экономической эффективности была проведена оценка эффективности
инвестиционного проекта, связанного с разработкой системы автоматизированного
учёта компьютерного оборудования на предприятии.
Были
рассчитаны и оценены следующие показатели:
а) чистый
дисконтированный доход (ЧДдпр);
Для данного
проекта величина Чддпр=181,105 тыс.руб. , то есть положительна, следовательно
он признается эффективным, обеспечивающим уровень доходности инвестиционных
вложений не менее принятого значения нормативного коэффициента эффективности
единовременных затрат.
б) коэффициент
отдачи капитала(КОК) показывает, величину дисконтированного дохода, полученную
на каждый рубль вложенных инвестиций. КОК=3. Так как коэффициент отдачи капитал
больше единицы, то вложение средств в данный проект принесет прибыль.
в) для
анализа эффективности единовременных затрат на разработку и внедрение системы
используется показатель внутренняя норма рентабельности (ВНР) который
показывает ежегодный процент прироста доходов от проекта. ВНР=0.35. Если
сравнить ВНР с ЕН можно сказать что данный проект обеспечивает доходность.
г) срок
окупаемости (Ток). Данный проект по заданным меркам должен окупиться за 4 года.
Но по проделанным расчетам он укладывается в три с половиной года, что очень
хорошо скажется для заказчика.
Прибыль
заказчика, получаемая в результате экономии от внедрения системы.
Было
проведено исследование с помощью функционально стоимостной оценки проекта.
Удалось выявить расхождения между стоимостями и значимостью некоторых функций,
реализованных в проекте. Которые можно легко устранить. В качестве вариантов
решения данной проблемы могут быть:
а) поиск
более простых методов программирования.
б) повысить
уровень качества некоторых функций.
Кроме того,
был оценен риск проекта. В результате чего можно сделать вывод, что разработанный
инвестиционный проект успешен.
В процессе
изучения безопасности и экологичности проекта дипломной работы были изложены
требования к рабочему месту инженера - программиста. Созданные условия должны
обеспечивать комфортную работу. На основании изученной литературы по данной
проблеме, были указаны оптимальные размеры рабочего стола и кресла, рабочей
поверхности, расчет оптимального освещения производственного помещения, а также
расчет уровня шума на рабочем месте. Соблюдение условий, определяющих оптимальную
организацию рабочего места инженера - программиста, позволит сохранить хорошую
работоспособность в течение всего рабочего дня, повысит как в количественном,
так и в качественном отношениях производительность труда программиста, что в
свою очередь будет способствовать быстрейшей разработке и отладке программного
продукта.
Список
использованных источников
1. Крис дж. Дейт Введение в системы
баз данных, 7-е издание. Перевод с английского — М.: Издательский дом
«Вильямс», 2001. - 1072 с.
2. Пономарёва Н.П. Лекции по
проектированию баз данных, Тюмень.
З. Фаронов В.В. Delphi 5 Учебный курс.-М «Нолидж», 2001. - 608 с.
4. К. дж. дейт, Хью дарвен (перевод
под ред. С.Д.Кузнецова) “Основы будущих систем баз данных: третий манифест”. —
М. :Янус-К, 2004. — 542 с.
5. Методические указания к
лабораторной работе по курсу «Информационные системы»
6. У. Боггс, М. Боггс UML и Rational Rose, «Нолидж», 2004. -584 с.
7. Методические рекомендации по
оценке эффективности инвестиционных проектов. — М, 1999 г. 1\ ВК 477)
8.Инвестиционное проектирование:
Практическое руководство по экономическому обоснованию Инвестиционных проектов
/ Под ред. С.И. Шумилина. — М.: Финстатинформ, 1995.
9. Руднева Л.Н., давыдова Б.Я. Основы
предпринимательской деятельности. — Учебное пособие. — Тюмень: ТюмГВГУ, 1997.
10. Дубовцев В.А. Безопасность
жизнедеятельности. / Учеб. пособие для дипломников. - Киров: изд. КирГII4,
1992.
11. Мотузко Ф.Я. Охрана труда. — М.:
Высшая школа, 1989. — 336с.
12. Безопасность жизнедеятельности.
/Под ред. Н.А. Белова - М.:
Знание, 2000 - 364с.
13. Самгин Э.Б. Освещение рабочих
мест. — М.: МИРЭА, 1989. — 186с.
14. Справочная книга для
проектирования электрического освещения./Под ред. Г.Б. Кнорринга. — Л.:
Энергия, 1976.
15. Борьба с шумом на производстве:
Справочник/ Е.Я. Юдин, Л.А. Борисов; Под общ. ред. Е.Я. Юдина — М.:
Машиностроение, 1985. — 400с., ил.
16. Зинченко В.П. Основы эргономики.
— М.: МГУ, 1979. — 1 79с.