Проектирование и расчет гидроприводов
ВВЕДЕНИЕ
Гидроприводы широко
применяются в элементах технологических систем: в современных металлорежущих
станках, технологической оснастке, элементов автоматизации технологических
процессов. Они позволяют существенно упростить кинематику механизмов,
приводящих в движение исполнительные органы, снизить металлоемкость, повысить
точность надежность работы, а также уровень автоматизации. (1)
Широкое использование
гидроприводов в станкостроении определяется рядом их существенных преимуществ
перед другими типами приводов и, прежде всего возможностью получения больших
усилий и мощностей при ограниченных размерах исполнительных силовых двигателей.
Компактные гидродвигатели
легко встроить в станочные механизмы и соединить трубопроводами с насосной
установкой. Это открывает широкие возможности для контроля, оптимизации и
автоматизации рабочих процессов, применение копировальных, адаптивных и
программных систем управления, модернизации и унификации. К основным
преимуществам гидроприводов следует отнести также достаточное значение КПД,
повышенную жесткость и долговечность.
В данной курсовой работе
рассматриваются вопросы проектирования и расчета гидроприводов для различных
технологических систем, целью ее является практическое усвоение и закрепление
теоретических знаний при изучении курсов гидравлика и гидроприводы.
1. Задание
Разработать гидросхему для
цилиндров 3 и 6.
1.Усилие на штоке, Н:
- гидроцилиндра 3 5000
- гидроцилиндра 6 105
2. Ход штока, м:
- гидроцилиндра 3 0.2
- гидроцилиндра 6 0.5
3. Время срабатывания, с:
- гидроцилиндра 3 20
4. Скорость перемещения
штока
гидроцилиндра 6, м/с 0.2
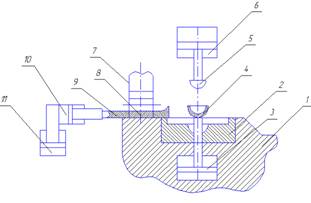
Рисунок 1. Схема
штамповки.
Приведённое выше
устройство работает следующим образом. После установки заготовки 8 в ложемент
матрицы пуансон 5 под действием гидроцилиндра 6 перемещается вниз, производя
вытяжку заготовки. После подъёма пуансона 5 готовая деталь 4 выталкивается из
матрицы 2 посредством штока гидроцилиндра 3. Затем питатель 9 с помощью
гидроцилиндра 10, перемещаясь вправо, сталкивает готовую деталь 4 в тару.
Одновременно питатель перемещает заготовку 8, расположенную в его отверстии, к
матрице. В конечном правом положении отверстие питателя совмещается с
ложементом матрицы, и заготовка падает в ложемент. Затем посредством
гидроцилиндра 11 питатель поднимается в вертикальном направлении, освобождая
заготовку 8, и перемещается влево, при этом его отверстие совмещается с
отверстием накопителя 7, и заготовка под действием собственного веса падает в
отверстие питателя. Затем питатель опускается вниз. Гидроцилиндры питателя 10,
11 работают от одного насоса, а гидроцилиндры 3 и 6 пресса работают от другого
насоса.
2. Разработка
принципиальной схемы гидропривода
Рисунок 2. Гидравлическая
схема.
Схема гидропривода
установки состоит из нерегулируемого насоса 1 с предохранительным переливным
клапаном 2, гидрораспределителей 3 и 4, двух гидроцилиндров 6 и 7. Гидроцилиндр
6 перемещается в вертикальном направлении, выталкивая заготовку из матрицы, а
гидроцилиндр 7 посредством пуансона прессует заготовку. На напорной магистрали
установлен дроссель 5.
Гидропривод работает
следующим образом. При нагнетании давления от насоса 1 масло поступает через
гидрораспределитель 3 в бесштоковую полость гидроцилиндра 7. При достижении
нижнего положения кулачок переключает конечный выключатель 8, перемещая его в
нижнее положение, после чего происходит слив масла из цилиндра 7. При
достижении верхнего положения кулачок переключает конечный выключатель 8,
перемещая его в верхнее положение, тем самым переключая распределитель 4.
Теперь масло нагнетается в гидроцилиндр 6. При достижении верхнего положения
кулачок переключает конечный выключатель 8, перемещая его в верхнее положение,
тем самым переключая распределитель 4. Начинается слив масла из цилиндра 6. При
достижении нижнего положения кулачок переключает конечный выключатель 8,
перемещая его в нижнее положение, при этом переключается распределитель 3 и
опять начинается нагнетание масла в гидроцилиндр 7. Происходит повторение
цикла.
3. Расчет
исполнительных механизмов
В качестве исполнительных
механизмов в гидроприводах в основном используются гидроцилиндры моментные или
поступательного действия, а также гидромоторы.
Для расчета параметров исполнительных
механизмов необходимо знать давление на входе в гидроцилиндр. Обычно давление
принимается равным 80-85% от давления, развиваемого насосом. Объясняется это
тем, что имеются потери давления при движении жидкости по трубопроводам и
элементам управления. Давление насоса выбирают таким, чтобы диаметр цилиндра
был в пределах 40…120 мм. Тогда

4.
Определение длины хода штоков гидроцилиндров
5.
Определение давления в гидросистеме
Наиболее экономичны в
изготовлении цилиндры с диаметром от 40 до 120мм. Тогда давление при заданных
диаметров цилиндра (max и min)
определяется соотношением.
Для гидроцилиндра 6:
Для гидроцилиндра 3:
Давление, развиваемое
насосом должно лежать в пределах:
Предварительно выбираем пластинчатый
насос (с.22
) БГ 12-2
давление насоса
номинальное - 12,5МПа
давление насоса
предельное - 14МПа
6.
Определение диаметров цилиндров
где p=0.8pн
pн – номинальное давление насоса.
P=0.8×12.5=10МПа
Основные параметры
гидроприводов должны соответствовать стандартным рядам (с.8
).
Принимаем:
Принимаем:
7. Выбор рабочей жидкости
Скорость движения
жидкости по трубопроводу выбирается по таблице (с.19
)
50
|
100
|
150
|
200
|
|
Скорость в м/с
|
3
|
4,5
|
5,5
|
6
|
Принимаем скорость 5,5
м/с
При давлении в
гидросистеме до 200 кГс/см2 кинематическая вязкость масла составляет
40÷60 сст. Выбираем масло индустриальное ИГП-49 ТУ 38-101413-78 с
кинематической вязкостью 47÷51 сст при температуре 50˚С.
Расход жидкости
определяется по максимальному расходу жидкости в гидроцилиндрах.
Расход жидкости для гидроцилиндра
6, при подаче жидкости в бесштокувую область, при заданной скорости штока
гидроцилиндра
м3/с ;
Расход жидкости для
гидроцилиндра 3, при подаче жидкости в бесштоковую область, при заданном
времени срабатывания
м3/с;
По табл.1 (стр.
17 [1]) выбираем по расходу для гидроцилиндра 6 пластинчатый нерегулируемый насос
БГ12-22М с номинальной подачей 19,4 л/мин.
8. Расчёт
диаметров условных проходов трубопроводов и управляющей аппаратуры
При известном расходе и
скорости движения жидкости по трубопроводам диаметр трубопровода определяется
по формуле
м =8,6 мм
По нормальному ряду
принимаем dt=10 мм.
Толщина стенки с учётом
возможного отклонения диаметра и толщины стенки вычисляют по выражению
, где
p – максимальное давление жидкости в
кГ/см2;
d – наружный диаметр трубы в см ;
[σp] – допустимое напряжение материала
трубопровода при растяжении (по окружности), которое обычно выбирается равным
30…35% временного сопротивления материала трубопровода, т. е.
[σp]=0,32× σp
m=0,3 – отклонение по диаметру
трубопровода в мм;
n=0,9 – коэффициент, учитывающий отклонение
по толщине стенки трубопровода.
При расчёте трубопровода
временное сопротивление в кГ/см2 примем по качественной стали матки
С20
|
Материал
|
Сталь 20
|
|
σp, кГ/см2
|
4100
|
мм
гидропривод
шток цилиндр механизм
По сортаменту труб
выбираем ближайшую большую по толщине стенки трубу, соответствующего прохода
(стр. 337-342 [1]).
Выбираем трубу по ГОСТ
8734-75: 14×2.
По диаметру условного
прохода и давлению определим конкретные марки управляющей и предохранительной
аппаратуры. Согласно схеме гидропривода, используются следующие виды
гидроаппаратуры:
а) клапан давления 2
выбираем исполнение Г52-2 с условным проходом 10 мм, давлением 0,3…10 МПа с
резьбовым соединением без электрического управления обратного клапана: АГ52-22
б) гидрораспределитель 4
выбираем золотникового типа с электроуправлением , диаметром условного прохода
10 мм, давлением 0,3…10 исполнение 64, электромеханический, ток переменный,
напряжение 220В, частота 50H.
Согласно схеме (стр.129 [1]) выбираем гидрораспределитель 7:
ВЕ10441ОФ/В220-50H
в) гидрораспределитель 2:
ВЕ105746/ФВ220-50H
г) дроссель 5 выбираем: ПГ77-12
9. Определение потерь
давления жидкости от насоса к исполнительным органам
Потери давления при
движении жидкости от насоса до гидроцилиндра определяются соотношением
∑
∑
, где
Δpjтр – потери давления на трение при
движении жидкости по трубопроводу;
Δpim – местные потери при движении
жидкости по элементам управляющей аппаратуры.
Местные потери зависят от
количества элементов управляющей аппаратуры, установленной на трубопроводе.
Величина потерь давления зависит от конструкции и назначения соответствующей
аппаратуры. Как правило, эти данные указываются в таблицах основных параметров
на конкретную аппаратуру [1].
Потери давления на трение
в трубопроводе определяются по следующей методике.
Зная диаметр трубы,
скорость движения жидкости и кинематическую вязкость, определяется режим
движения жидкости по трубопроводу, для чего определяется число Рейнольдса Re [2]
Ламинарному режиму
течения жидкости в гидравлически гладких металлических трубах круглого сечения
соответствует Re≤2200-2300
Потери давления при
ламинарном режиме течения жидкости определяются по формуле
, где при расчётах
L и d – длина и диаметр внутреннего сечения рассматриваемого
трубопровода;
ρ – плотность
жидкости;
Q – расход жидкости в трубопроводе;
f – сечение трубопровода.
λ=
,
МПа
Потери давления на трение
при ламинарном режиме течения
Δp1=0,18 МПа
Далее определяем местные
потери давления при движении жидкости через гидрораспределители ВЕ10441ОФ/В220-50H
и ВЕ105746/ФВ220-50H по номограмме (стр. 109 [1])
Потери давления через
дроссель выбираем по таблице (стр. 86 [1])
Δp3=0,2 МПа
Тогда потери давления при
питании гидроцилиндра 6
МПа
Потери давления при
питании гидроцилиндра 3
МПа , где
Δp1=0,11 Мпа – потери давления на трение при движении
жидкости по трубопроводу;
Δp2=0,05 МПа – местные потери давления при движении
жидкости через распределитель 5 и 7;
Δp3=0,2 МПа – местные потери давления жидкости через
дроссель 6. [1]
Таким образом, давление в
гидроцилиндре 6
МПа
МПа
Давление гидроцилиндра
больше, чем давление, принятое при расчете гидроцилиндра.
ЗАКЛЮЧЕНИЕ
В данной курсовой работе
мы исходя из назначения гидропривода разработали принципиальную его схему, где
выбрали тип источника энергии, исполнительные механизмы, а так же управляющие и
предохранительные элементы. Рассчитали исполнительные механизмы в зависимости
от заданных выходных параметров. Выбрали элементы гидропривода.
После расчета давления с
учётом потерь, получилось, что давления в цилиндрах больше чем
начально-выбранное давление. Следовательно схема разработана и рассчитана
верно.
СПИСОК
ИСПОЛЬЗУЕМОЙ ЛИТЕРАТУРЫ
1. Свешников В.К., Усов А.А.
Станочные гидроприводы: Справочник. – М.: Машиностроение, 1982.
2. Чинёнова Т.П., Чинёнов С.Г. Расчет
гидроприводов: Уч. Пособие.–Челябинск: Изд. ЮУрГУ, 1997.
3. Башта Т.М. Гидропривод и
гидропневмоавтоматика.–М.: Машиностроение,1972.
Размещено
на