|
Маршрут
обработки
поверхности
|
Элементы припуска, мкм
|
Расчетный припуск, мкм
|
Расчетный размер, мкм
|
Допуск по переходам, в мм
|
Предельный размер, мм
|
Предельные припуски, мм
|
|
Rzi-1
|
Ti-1
|
ρi-1
|
εi
|
max
мм
|
min
мм
|
max
мм
|
min
мм
|
|
1
|
2
|
3
|
4
|
5
|
6
|
7
|
8
|
9
|
10
|
11
|
12
|
|
Внутренняя поверхность n40Н7
|
|
|
|
|
|
|
|
|
|
|
|
|
Прокат
|
200
|
300
|
15
|
-
|
-
|
38,1695
|
620
|
38,17
|
37,55
|
-
|
-
|
|
Сверление
|
100
|
70
|
0,9
|
200
|
1401,12
|
39,5706
|
250
|
39,57
|
39,32
|
1,77
|
1,4
|
|
растачивание чистовое
|
6,3
|
15
|
0,045
|
0
|
341,8
|
39,9124
|
100
|
39,9
|
39,8
|
0,48
|
0,33
|
|
шлифование
|
3,2
|
15
|
0
|
35
|
112,6001
|
40,025
|
25
|
40,025
|
40
|
0,2
|
0,125
|
Погрешность установки
заготовок (графа 5) в пневмотиски с призматическими губками при сверлении
εу1=200мкм [5. табл. П 1.3.]; при растачивании без
переустановки - εу2=0мкм; при шлифовании в пневмотисках с призматическими
губками εу3=35мкм.
Расчет минимального
припуска (графа 6) при обработке отверстия
производится по формуле:
для сверления:
2Zimin=2(200+300+√152+2002)=2(500+√225+40000)=2(500+200,56)=1401,12
мкм.
для чистового
растачивания:
2Zi min=2(100+70+√0,92+02)=2(170+0,81)=341,8мкм.
для шлифования:
2Zi min=2(6,3+15+√0,0452+352)=2(21,3+35,00002)=112,6001мкм.
Расчет промежуточных
минимальных диаметров по переходам проводится в порядке, обратном ходу
технологического процесса обработки этой поверхности, т.е. от размера готовой
детали к размеру заготовки, путем последовательного вычитания к наименьшему
предельному размеру готовой поверхности детали минимального припуска 2Zi min.
Результаты заносятся в графу 7.
В графу 10 записываются
размеры по всем технологическим переходам, округляя их увеличением до того же
знака десятичной дроби, с каким задан допуск на размер для каждого перехода. Наибольшие
предельные размеры (графа 9) определяются путем прибавления допуска к
округленному минимальному предельному размеру.
Предельные размеры
припусков Zi max (графа 11) определяются как разность предельных максимальных
размеров и Zi min (графа 12) – как разность предельных минимальных размеров
предшествующего и выполняемого переходов.
2.2 Расчет режимов
резания
Расчет режимов резания на
наружную цилиндрическую поверхность диаметром 80. Шероховатость Ra = 0,63 мкм.
Исходные данные: деталь
«Втулка» из стали ХВГ. Заготовка- «прокат». Обработка производится на токарном
станке. Режущий инструмент – резец с пластинами из твердого сплава Т15К6.
Операция «Токарная».
Переход 1. Точить поверхность 1
предварительно.
1. Глубина резания – t, мм
t = 1,39 мм (данные берутся из расчета припусков).
2. Подача-S мм/об
S = 0,6 мм/об [5. табл. П 2.7.].
3. Скорость резания – Vм/мин
. (5)
втулка
технология резание
По [5. табл. П 2.11.]
выписываем значения Сυ и показатели степеней хυ,
уυ, m.
σв = 750
МПа
Сυ = 350
х = 0,15
у = 0,35
m = 0,20
Период стойкости
инструмента – T = 120 мин
Находим поправочные
коэффициенты
Кυ = Кмυ
· Кпυ · Киυ , (6)
[5. табл. П.2.11.] (7)
где Кмυ -
поправочный коэффициент на скорость резания, зависящий от материала заготовки,
Кпυ –
поправочный коэффициент на скорость резания, зависящий от состояния
обрабатываемой поверхности,
Кпυ = 1
[5. табл. П 2.5.],
Киυ -
поправочный коэффициент на скорость резания, зависящий от режущего инструмента,
Киυ = 1
[5. табл. П 2.6],
пυ= 1 [5.
табл. П 2.2.],
Кr = 1 [5. табл. П 2.2.].
4. Определяем частоту
вращения шпинделя - n, об/мин
об/мин (8)
5. Уточняем частоту
вращения шпинделя по паспорту и корректируем ее в ближайшую меньшую сторону.
Принимаем n = 500 об/мин.
6. Пересчитываем скорость резания, VФ.
Vф – фактическая скорость резания, м/мин:
(9)
Переход 2. Точить поверхность 1
окончательно
1.Глубина резания – t, мм
t = 0,44 мм (данные берутся из расчета припусков).
2. Подача - S мм/об
S =0,144 мм/об. [5. табл. П 2.10.].
3.Рассчитываем скорость
резания – V м/мин
По [5. табл. П 2.11]
выписываем значения Сυ и показатели степеней хυ,
уυ, m.
Сυ =420,
х =0,15,
у = 0,20,
m = 0,20.
Период стойкости инструмента
- Т = 120 мин
Находим поправочные
коэффициенты
Кпυ =
1[5. табл. П 2.5.].
Киυ = 1
[5. табл. П 2.6.].
пυ = 1; Кr = 1 [5. табл. П 2.2.].
Кυ = 1
4. Определяем частоту
вращения шпинделя - n, об/мин
об/мин.
5.Уточняем частоту
вращения шпинделя по паспорту и корректируем ее в ближайшую меньшую сторону.
Принимаем n = 1000 об/мин.
6.Пересчитываем скорость резания, Vф.
Vф – фактическая скорость резания:
.
Расчет режимов резания на
наружную цилиндрическую поверхность диаметром 50. Шероховатость Ra = 0,63 мкм.
Исходные данные: деталь
«Втулка» из стали ХВГ. Заготовка- «прокат». Обработка производится на токарном
станке. Режущий инструмент – резец с пластинами из твердого сплава Т15К6.
Операция «Токарная».
Переход 1. Точить поверхность 1
предварительно.
1. Глубина резания – t, мм
t = 1,39 мм (данные берутся из расчета припусков).
2. Подача-S мм/об
S = 0,6 мм/об [5. табл. П 2.7.].
3. Скорость резания – Vм/мин
По [5. табл. П 2.11.]. выписываем
значения Сυ и показатели степеней хυ, уυ,
m.
σв = 750
МПа
Сυ = 350
х = 0,15
у = 0,35
m = 0,20
Период стойкости
инструмента – T = 120 мин
Находим поправочные
коэффициенты
Кпυ = 1
[5. табл. П 2.5.],
Киυ -
поправочный коэффициент на скорость резания, зависящий от режущего инструмента,
Киυ = 1
[5. табл. П 2.6.],
пυ= 1 [5.
табл. П 2.2.],
Кr = 1 [5. табл. П 2.2.].
4. Определяем частоту
вращения шпинделя - n, об/мин
об/мин
5. Уточняем частоту
вращения шпинделя по паспорту и корректируем ее в ближайшую меньшую сторону.
Принимаем n = 800 об/мин.
6. Пересчитываем скорость резания, VФ.
Vф – фактическая скорость резания, м/мин:
Переход 2. Точить поверхность 1
окончательно
1.Глубина резания – t, мм
t = 0,44 мм (данные берутся из расчета припусков).
2. Подача - S мм/об
S =0,144 мм/об. [5. табл. П 2.10.].
3.Рассчитываем скорость
резания – V м/мин
По [5. табл. П 2.11.].
выписываем значения Сυ и показатели степеней хυ,
уυ, m.
Сυ =420,
х =0,15,
у = 0,20,
m = 0,20.
Период стойкости
инструмента - Т = 120 мин
Находим поправочные
коэффициенты
Кпυ = 1
[5. табл. П 2.5)
Киυ = 1
[5. табл. П 2.6.].
пυ = 1; Кr = 1 [5. табл. П 2.2.].
Кυ = 1
4. Определяем частоту
вращения шпинделя - n, об/мин
об/мин.
5.Уточняем частоту
вращения шпинделя по паспорту и корректируем ее в ближайшую меньшую сторону.
Принимаем n = 1600 об/мин.
6.Пересчитываем скорость резания, Vф.
Vф – фактическая скорость резания:
Расчет режимов резания на
отверстие диаметром 40+0,025. Шероховатость Ra = 6,3 мкм. Исходные данные: деталь «втулка» из стали ХВГ.
Заготовка – «прокат». Обработка производится на вертикально-сверлильном станке.
Режущий инструмент – сверло спиральное, зенкер, развертка. Инструментальный
материал – быстрорежущая сталь Р6М5
Операция «Сверлильная».
Переход 1. Сверлить
отверстие 1.
1.Глубина резания
, мм
, мм (данные берутся из расчета припусков).
2. Находим подачу S, мм/об [5. табл. П 2.16.].
S=0,28 – 0,33мм/об принимаем S = 0,29 мм/об.
1.
Рассчитываем
скорость резания Vм/мин
2.
. (10)
Т – период стойкости, мин
[5. табл. П 2.21]
Т = 45 мин.
Находим неизвестные [5.
табл. П 2.19.].
Сv = 9,8,
q = 0,40,
y = 0,5,
m = 0,2.
Находим поправочные коэффициенты:
,
КMV-коэффициент на обрабатываемый материал
[5. табл. П 2.1-П 2.4.].
[5. табл. П 2.1.]. (11)
,
КИV –коэффициент на инструментальный
материал
[5. табл. П 2.6.].
К1V – коэффициент, учитывающий глубину
сверления:
[5. табл. П 2.22.].
Подставляем значения в
формулу:
м/мин.
4. Рассчитываем скорость
вращения шпинделя n об/мин
об/мин.
5.Уточняем частоту
вращения шпинделя по паспорту и корректируем ее в ближайшую меньшую сторону.
Принимаем n = 200 об/мин.
6. Пересчитываем
фактическую скорость резания V
м/мин:
м/мин.
Переход 2. Растачивание чистовое
отверстия 1.
1.Скорость резания V=150, мм [5.табл. П 2.13].
2.Расчитываем скорость
вращения шпинделя n об/мин
об/мин,
3. Уточняем частоту
вращения шпинделя по паспорту и корректируем ее в ближайшую меньшую сторону.
Принимаем n = 1000 об/мин.
4. Пересчитываем
фактическую скорость резания V
м/мин
м/мин.
2.3 Определение норм
времени
Исходные данные: деталь
«Втулка». Длина обрабатываемой поверхности 7 мм, диаметр 80. Заготовка – «прокат» из стали ХВГ. Обработка производится на токарном станке. Приспособление –
токарный патрон.
Переход 1. Точить наружную поверхность 1 предварительно.
Резец проходной. Угол
резца в плане φ = 45.
1. Основное время

мин, (12)
lр.х = 7 мм – длина рабочего хода инструмента (по
чертежу).
lвр,пер = 2,6 мм – величина врезания и перебега инструмента [5. табл. П 3.17.].
n = 500 об/мин - частота вращения (по
расчету режимов резания).
Sоб = 0,6 мм/об - подача на оборот (по
расчету режимов резания).
2. Вспомогательное время,
связанное с переходом
Твсп1 = 0,09
мин [5. табл. П 3.9.]
Переход 2. Точить наружную поверхность 1 окончательно.
Резец проходной. Угол
резца в плане φ = 45.
1. Основное время

мин,
lр.х = 7 мм – длина
рабочего хода инструмента (по чертежу).
lвр,пер = 2,6 мм – величина врезания и перебега инструмента [5. табл. П 3.17.].
n = 1000 об/мин – частота вращения (по
расчету режимов резания).
Sоб = 0,144 мм/об - подача на оборот (по
расчету режимов резания).
2. Вспомогательное время,
связанное с переходом
Твсп2 = 0,09
мин [5. табл. П 3.9.].
Исходные данные: деталь
«Втулка». Длина обрабатываемой поверхности 21 мм, диаметр 50. Заготовка – «прокат» из стали ХВГ. Обработка производится на токарном станке.
Приспособление – токарный патрон.
Переход 1. Точить наружную поверхность 1 предварительно.
Резец проходной. Угол
резца в плане φ = 45°.
1. Основное время

мин,
lр.х = 21 мм – длина рабочего хода инструмента (по
чертежу).
n = 800 об/мин - частота вращения (по
расчету режимов резания).
Sоб = 0,6 мм/об - подача на оборот (по
расчету режимов резания).
2. Вспомогательное время,
связанное с переходом
Твсп1 = 0,09
мин [5. табл. П 3.9.].
Исходные данные: деталь «Втулка» из стали ХВГ. Заготовка –
«прокат». Обработка производится на вертикально-сверлильном станке. Приспособление
– тиски пневматические с призматическими губками.
Переход 1. Сверлить отверстие 1.
Сверло спиральное.
1. Основное время

мин,
lр.х = 28 мм – длина
рабочего хода инструмента (по чертежу).
lвр,пер = 6 мм – величина врезания и перебега инструмента [5. табл. П 3.18.].
n = 200 об/мин – частота вращения (по
расчету режимов резания).
Sоб = 0,29 мм/об - подача на оборот (по
расчету режимов резания).
2. Вспомогательное время,
связанное с переходом
Твсп1 = 0,1
мин [5.табл. П 3.11.].
3. Конструкторская часть
3.1 Описание конструкции
и принципа работы мерительного устройства
Штангенциркули
Штангенциркуль
ШЦ-II-250-0,05 ГОСТ 166-89, Штангенциркуль ШЦ-II-250-0,1-2 ГОСТ 166-89, Паспорт
ШЦ-II-250.00.000 ПС
НАЗНАЧЕНИЕ ИЗДЕЛИЯ Штангенциркуль типа ШЦ-II ГОСТ
166-89 предназначен для измерения наружных и внутренних размеров и разметочных
работ. Диапазон измерений 0-250 мм, значение отсчета по нониусу 0,05 и 0,1 мм.
Пример обозначения при
заказе штангенциркуля со значением отсчета по нониусу 0,05 мм:
ШЦ-II-250-0,05 ГОСТ
166-89.
То же, со значением
отсчета по нониусу 0,1 мм класса точности 2:
ШЦ-II-250-0,1-2 ГОСТ
166-89
ТЕХНИЧЕСКИЕ
ХАРАКТЕРИСТИКИ
Наименование показателей
ШЦ-II-250-0,05
ШЦ-II-250-0,1-2
Диапазон измерений, мм
0 - 250
0 - 250
Значение отсчета по нониусу, мм
0,05
0,1
Класс точности штангенциркуля - 2
Погрешности измерений, мм
± 0,05
± 0,1
Габаритные размеры, мм
370×125×10
370×125×10
Масса, кг, не более
0,425
0,425
1 - штанга; 2 - рамка; 3
- нониус; 4 - винт стопорный; 5 - движок; 6 - винт
микрометрический; 7 - винт стопорный; 8 – гайка
Рисунок 2 -
Штангенциркуль
Штангенциркуль имеет две шкалы и микрометрическое устройство
для тонкой регулировки рамки. Основная шкала нанесена на штанге с делениями
через 1 мм, вторая шкала - на нониусе, который закреплен на рамке. Фиксация
рамки производиться при помощи стопорного винта. Плавное перемещение рамки
обеспечивается пружиной, расположенной внутри рамки.
Наружные размеры измеряются при помощи обеих пар губок.
Верхние губки используются для разметочных работ. Для измерения внутренних
размеров используются нижние нижние губки. При таких замерах измеряемый размер
равен величине отсчета по шкале штангенциркуля плюс величина губок. Размер
сдвоенных губок маркируется на одной из губок штангенциркуля.
Отсчет размеров производиться методом непосредственной оценки
совпадения деления шкалы с делениями нониуса.
Указание мер безопасности
Во избежание травматизма необходимо:
- осторожно обращаться с острыми разметочными губками;
- не допускать измерений размеров на ходу станка, при движении
режущего инструмента и при вращении измеряемой детали.
Подготовка к работе
Расконсервируйте штангенциркуль после извлечения из чехла:
- протрите штангенциркуль, особенно измерительные
поверхности, салфеткой, смоченной нефрасом;
- обдуйте теплым воздухом или протрите насухо чистой
салфеткой.
Проверьте установку нониуса на ноль. Совместите, при
необходимости, нулевые штрихи шкал и нониуса.
Порядок работы
В процессе работы и по окончании ее протирайте штангенциркуль
салфеткой, смоченной в водно-щелочном растворе СОЖ, затем насухо — чистой
салфеткой.
По окончании работы покройте поверхности штангенциркуля
тонким слоем любого технического масла типа "Индустриальное" ГОСТ
20799-88 и уложите в чехол.
Не допускайте в процессе эксплуатации:
- грубых ударов или падения во избежание изгибов штанги и
других повреждений;
- царапин на измерительных поверхностях;
- трения измерительных поверхностей об контролируемую деталь.
3.2 Описание конструкции
и принципа работы режущего инструмента
Обработка резанием является универсальным методом размерной
обработки. Метод позволяет обрабатывать поверхности деталей различной формы и
размеров с высокой точностью из наиболее используемых конструкционных
материалов. Он обладает малой энергоемкостью и высокой производительностью.
Вследствие этого обработка резанием является основным, наиболее используемым в
промышленности процессом размерной обработки деталей.
Режущий инструмент Резцы
для обработки торцов и уступов. Торцы и уступы обрабатывают подрезными,
проходными, отогнутыми или проходными упорными резцами.
Подрезной резец а) предназначен для обработки
наружных торцевых поверхностей. При подрезании торца подача резца
осуществляется перпендикулярно оси обрабатываемой детали. Подрезной резец б) позволяет
обрабатывать различные торцевые и другие поверхности с продольной и поперечной
подачами. Рисунок 3 –
подрезной резец
Подрезные резцы
изготовляют с пластинами из быстрорежущих сталей и твёрдых сплавов. Главный
задний угол α=10÷15˚, передний угол γ выбирают в
зависимости от обрабатываемого материала.
Рисунок 4 – проходной
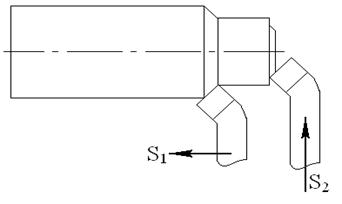
отогнутый резец.
Проходным отогнутым
резцом можно
выполнять подрезку торца при поперечной подачи s1 и обтачивание при продольной подаче s2 резца.
Рисунок 5 - Проходной
упорный резец.
Проходным упорным
резцом можно
подрезать торцы и обтачивать уступы при продольной подаче s1.
Резцы для подрезания
торцов должны устанавливаться точно по оси детали, иначе на торце детали
остаётся выступ. При большом диаметре торцевой поверхности припуск снимают с
поперечной подачей в несколько проходов. Уступы более 2 – 3мм подрезают
проходным резцами в несколько приёмов. Сначала уступ образуется при продольной
подаче s1 резца, а затем подрезается при
поперечной подаче s2
Режимы резанья. При
подрезании торцов и уступов поперечная и продольная подачи определяются так же,
как и при обтачивании цилиндрических поверхностей. Поперечная подача обычно
берётся меньше продольной. Для черновой обработки торцов рекомендуются
поперечные подачи 0,3 – 0,7мм/об при глубине резанья 2 – 5мм, а для чистовой
обработки – 0,1 – 0,3мм/об при глубине резания 0,7 – 1мм.
Скорость резанья для
обработки торцов и уступов обычно на 20% выше, чем при обработке наружных
цилиндрических поверхностей, так как время участия резца в процессе резания
незначительно и он не успевает нагреться до критической температуры.
3.3 Описание конструкции
и принципа работы установочного приспособления
На токарных станках
применяют двух-, трех- и четырехкулачковые патроны с ручным и механизированным
приводом зажима.
В двухкулачковых
самоцентрирующих патронах закрепляют различные фасонные отливки и поковки;
кулачки таких патронов, как правило, предназначены для закрепления одной детали.
В трехкулачковых
самоцентрирующих патронах закрепляют заготовки круглой и шестигранной формы или
круглые прутки большого диаметра.
В четырехкулачковых
самоцентрирующих патронах закрепляют прутки квадратного сечения, а в патронах с
индивидуальной регулировкой кулачков – детали прямоугольной или несимметричной
формы.
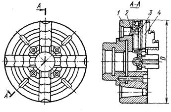
Наиболее широко применяют
трехкулачковый самоцентрирующий патрон.
Рисунок
6 - трехкулачковый
самоцентрирующий патрон.
На одной
стороне этого диска выполнены пазы (имеющие форму архимедовой спирали), в
которых расположены нижние выступы кулачков, а на другой — нарезано коническое
зубчатое колесо, сопряженное с тремя коническими зубчатыми колесами 5. При
повороте ключом одного из колес 5 диск 4 (благодаря зубчатому
зацеплению) также поворачивается и посредством спирали перемещает одновременно
и равномерно все три кулачка по пазам корпуса б патрона. В зависимости от
направления вращения диска кулачки приближаются к центру патрона или удаляются
от него, зажимая или освобождая деталь. Кулачки обычно изготовляют
трехступенчатыми и для повышения износостойкости закаливают. Различают кулачки
крепления заготовок по внутренней и наружной поверхностям; при креплении по
внутренней поверхности заготовка должна иметь отверстие, в котором могут
разместиться кулачки. Кулачковые патроны могут оснащаться механизированным
приводом тяговым или встроенным.
Патроны с
тяговым приводом имеют зажимные элементы, связанные цельными или пустотелыми
тягами с пневмо- или гидроцилиндром.
Рисунок 7 - Патроны с тяговым приводом.
Патрон с
встроенным приводом имеет встроенный пневмоцилиндр 6 с поршнем 5 и
крепится к станку фланцем 1. Резиновое кольцо 11 смягчает удары
поршня о фланец 4. Уплотнительные кольца 10 и 12 обеспечивают
герметичность пневмопривода. Ползуны 7 (с зажимными кулачками 8) имеют
выступы 9, которые входят в пазы поршня 5. Угол наклона пазов 40°30’,
что обеспечивает условия самоторможения. При подаче воздуха по каналам 2 и
З в левую или правую полость цилиндра ползуны 7 перемещаются от центра
патрона или к его центру и через кулачки 8 разжимают или зажимают
заготовку. Четырехкулачковый патрон с независимым перемещением кулачков состоит
из корпуса 1, в котором выполнены четыре паза, в каждом пазу смонтирован
кулачок 4 с винтом 3, используемым для независимого перемещения кулачков
по пазам в радиальном направлении. От осевого смещения винт З удерживается
сухарем 2.
При повороте кулачков на
1800 патрон может применяться для крепления заготовок по внутренней
поверхности. На передней поверхности патрона нанесены концентричные круговые
риски (расстояние между рисками 10—15 мм), с помощью которых кулачки
выставляются на одинаковом расстоянии от центра патрона.
Рисунок 8 -
Четырехкулачковый патрон
Заключение
В результате выполнения КП по Технологии машиностроения был
разработан технологический процесс механической обработки детали «Втулка»,
который включает в себя: операции токарной обработки, сверление, шлифование. На
наиболее точную поверхность осуществлен расчет межоперационных припусков, в результате
выполненного расчета спроектирована заготовка для данной детали. На часть
операций механической обработки определены режимы резания путем аналитического
расчета, а на остальные – назначены по общим машиностроительным нормативам.
Проведенно технологическое нормирование операции механической обработки.
В конструкторской части курсового проекта рассмотрено
устройство и принцип работы установочного приспособления ,мерительного
инструмента, режущего инструмента для токарной операции.
В приложении курсового проекта представлен комплект
технологической документации, который включает в себя: 1) комплект технологической
документации (технологический процесс механической обработки детали «Втулка»);
2) графическая часть (чертеж детали, технологической наладки, режущего
инструмента).
Литература
1. Маталин А.А. Основы технологии
машиностроения. , М. 1986г.
2. Горбацевич А.Ф. Курсовое проектирование
по технологии машиностроения. Минск. «Высшая школа» 1975г. 288с. с ил.
3. Нефедов Н.А., Осипов К.А. Сборник
задач и примеров по резанию металлов и режущему инструменту. Изд. 3-е, перераб.
и доп., М, Машиностроение 1977г. 288с. с ил.
4. Гелин Ф.Д. Металлические материалы
справ. – Мн.: Высш. шк., 1987. – 368с.
5. Дёмина Л.Н. Шадрина Е.Л. Методические
указания и справочные материалы по выполнению курсового проекта. Воронеж. ВГК
ПТЭиС, 2008г.
Приложения
|
|
|
|
|
|
|
|
|
|
|
|
|
|
|
|
Н. контр.
|
|
|
|
|
|
|
|
|
|
|
|
|
|
|
|
|
|
|
|
|
|
|
|
|
|
|
|
|
Технологический процесс изготовления
детали «втулка»
ГОСТ 3.1418-82 Форма 2а
|
Взам.
|
|
|
|
|
|
|
|
|
|
|
|
|
|
|
|
Подп.
|
|
|
|
|
|
|
|
|
|
|
|
|
|
|
|
3
|
4
|
|
|
|
|
|
|
|
|
|
|
|
.60140.
|
010
|
|
|
|
|
|
|
|
|
|
|
|
|
|
|
|
|
|
|
|
|
|
|
П.И.
|
D или В
|
L
|
t
|
l
|
S
|
n
|
V
|
ТВ.
|
ТО.
|
|
О
|
01
|
8. Точить фаску под углом 45°
относительно поверх. 1
|
|
Т
|
02
|
Резец подрезной ВК8 ГОСТ 18868-73.
|
|
03
|
Штангенциркуль ШЦ-250-0,05 ГОСТ
166-80
|
|
Р
|
04
|
80 1 1 1 0,1 800 201 0,012
|
|
05
|
|
|
О
|
06
|
9. Сверлить отверстие Æ13 поверхность 6
|
|
Т
|
07
|
Сверло с коническим хвостовиком
ГОСТ 6648-64
|
|
08
|
Штангенциркуль ШЦ-250-0,05 ГОСТ
166-80
|
|
Р
|
09
|
13 35 6,5 1 0,1 300 12,3 1,2
|
|
10
|
|
|
О
|
11
|
10. Расточить конус под углом 45°
относительно поверхности 6
|
|
Т
|
12
|
Резец расточной ВК8 ГОСТ 18868-73
|
|
13
|
Штангенциркуль ШЦ-250-0,05 ГОСТ
166-80
|
|
Р
|
14
|
25 6 6 1 0,1 300 23,6 0,2
|
|
15
|
|
|
О
|
16
|
11. Расточить отверстие Æ40 поверхность 7
|
|
Т
|
17
|
Резец расточной ВК8 ГОСТ 18868-73
|
|
18
|
Штангенциркуль ШЦ-250-0,05 ГОСТ
166-80
|
|
Р
|
19
|
40+0,025 20 13,5 6 0,07
500 62,8 0,57
|
|
20
|
|
|
21
|
|
|
|
|
|
|
|
|
|
|
|
|
|
|
|
|
|
|
|
|
|
|
|
|
|
|
|
|
|
|
|
|
|
|
|
|
|
|
/