Насосная станция для польдерного осушения
1. Определение расчетной подачи насосной станции
В соответствии с
требованиями СНиП 2.06.03-85 расчетная подача насосной станции для польдерного
осушения определяется максимальной ординатой графика откачки
Qн.с=qmax
, м3/с (1)
где qmax –
максимальная ордината графика расходов воды по периодам , м3/с
Qн.с=qmax
=4,9 м3/с
2. Выбор схемы
гидроузла насосной станции
Под схемой гидроузла НС
понимается последовательное расположение его сооружений от водоисточника до
водопотребителя.
В проекте принимается
схема НС на тупиковом канале, как наиболее часто используемый в мелиоративном
строительстве. Схема представлена на рис.1.
Рис. 2.1. Схема насосной
станции на тупиковом канале:
1 – водоподводящий канал;
2 – аванкамера; 3 – водоприемные сооружения; 4 – здание насосной станции; 5 –
напорные трубопроводы; 6 – водовыпуски; 7 – водоотводящие каналы; 8 –
труба-регулятор; 9 – трубопровод для самотечного сброса воды; 10 –
водоприемник; 11 – ограждающая дамба.
3. Проектирование и
гидравлический расчёт водоподводящего канала
Водоподводящий канал
осуществляет подвод воды от источника к водозаборному сооружению насосной
станции.
Исходные данные к
расчёту:
1.
2.коэффициент заложения
откосов
, т.к. супесь;
3.коэффициент
шероховатости русла
;
4.допускаемая
неразмываемая скорость воды v=0,67
м/с;
5.уклон дна канал i=0,0003
Определяем глубину
наполнения канала hmax:
(3.1)
В зависимости от
и
принимаем
Принимаем глубину канала h= 1,5 м, находим отношение
(3.2)
По таблицам 1. III находим b методом интерполяции:
(3.3)
Находим ширину канала:
, (3.4)
принимаем b=2,5 м,
Для построения
графической связи h=f(Q) выполняем расчёт в табличной форме:
Таблица 1. Параметры для
построения графической зависимости Q-H.
|
b,
м
|
h,
м
|
ωк,
м
|
Χ=b+2h ,
м
|
R=ωк/Χ, м
|
C=R1/6
·1/n, м0,5/с
|
|
Q=ωкC ,
м3/с
|
|
2,5
|
0,3
|
0,89
|
3,58
|
0,25
|
35,21
|
0,30
|
0,27
|
|
2,5
|
0,6
|
2,04
|
4,66
|
0,44
|
38,72
|
0,44
|
0,90
|
|
2,5
|
0,9
|
3,47
|
5,74
|
0,60
|
40,85
|
0,55
|
1,90
|
|
2,5
|
5,16
|
6,83
|
0,76
|
42,42
|
0,64
|
3,30
|
|
2,5
|
1,5
|
7,13
|
7,91
|
0,90
|
43,68
|
0,72
|
5,12
|
|
2,5
|
1,6
|
7,84
|
8,27
|
0,95
|
44,05
|
0,74
|
5,82
|
Чтобы обеспечить забор
расчетного расхода воды в водоподводящий
Проверяем на
неразмываемость:
(3.5)
(3.6)
Так как расчётная
скорость меньше исходной, то размыв отсутствует.
Отметка дна канала
определяется по минимальной отметке уровня воды
в водохранилище:
(3.7)
Рис.
3.1 График зависимости h=f(Q) водопроводящего сооружения.
4. Определение расчетного напора насосной станции
Расчетный напор насосной
станции определяем по формуле:
Hp =Hг.ср + hl + hм, м (4.1)
где, Hг.ср – средневзвешенная геодезическая
высота подъема воды :
Hг.ср = ΣQi ·Hг.i · ti /
ΣQi · ti , м (4.2)
hl - потери напора по длине напорного
трубопровода, м
hм – местные потери напора, м
Расчет ведем в табличной
форме.
Таблица 2. К расчёту
средневзвешенной геодезической высоты подъема воды
|
период работы насосной станции
|
число суток в периоде
ti
|
подача насосной станции Qi,м3/с
|
отметка уровня воды, м
|
геодези-ческая высота подъема, м
|
Qi Hг.i ti
|
Qi ti
|
|
в верхнем бьефе
|
в нижнем бьефе
|
|
01.01…31.01
|
31
|
2,0
|
149,4
|
149,02
|
0,38
|
23,56
|
62
|
|
01.02…15.03
|
43
|
2,2
|
150,5
|
149,15
|
1,35
|
127,71
|
94,6
|
|
16.03…31.05
|
76
|
152,0
|
149,58
|
2,42
|
901,21
|
372,2
|
|
01.06…15.08
|
76
|
3,2
|
149,2
|
150,42
|
-
|
-
|
-
|
|
16.08…31.10
|
76
|
3,9
|
149,6
|
150,95
|
-
|
-
|
-
|
|
01.11…31.12
|
61
|
2,1
|
149,8
|
150,73
|
-
|
-
|
-
|
|
Сумма
|
Σti = 363
|
|
|
|
|
Σti =1052,48
|
Σti =528,8
|
Hг.ср =
=
=1,99 м;
hl =
iхlтр = 3,5
0,043 =0,15 м
Тогда расчетный напор
будет равен:
Hp =Hг.ср + hl + hм = 1,99+0,15+0,9=3,04 м.
5. Подбор основных
насосов
В состав основных насосов входят рабочие насосы и
резервные.
Рабочий насос подбирают по расчетному напору, который
равняется напору насосной станции (параллельное включение насосов) и расчетной
подаче
.
Расчетная подача насоса определяется из выражения
,
(12)
где
– количество рабочих насосов.
Количество рабочих насосов определяем из условия
лучшего покрытия графиков водопотребления (откачки) с учетом получения при этом
максимальной экономической эффективности.
При этом необходимо учитывать следующее:
– увеличение количества насосов приводит к возрастанию
строительного объема здания насосной станции;
– при совместной работе на общий напорный трубопровод
подача насоса уменьшается по сравнению с подачей при индивидуальной его работе,
и чем больше насосов работают вместе, тем больше снижение их подачи;
– чем менее мощный насос, тем ниже его КПД.
Предварительный подбор насоса выполняется по сводным
графикам полей
Q-H [2], а затем, установив тип и марку насоса, по
рабочим характеристикам, находим более подробные сведения о насосе и его
параметрах.
При этом рабочая точка
должна находиться в области максимального К.П.Д. (рабочая область насоса).
Допускается отклонение величины расчетного напора насоса от напорной
характеристики 3%.
Исходя из выше
перечисленных условий выбираем насос ОП6-87.
Рис.5.1 Характеристики насоса ОП6-87
6. Проектирование и расчет подводящих трубопроводов
Подводящие трубопроводы предназначены для
транспортирования воды от водозаборного сооружения к насосам.
При проектировании подводящих трубопроводов необходимо
соблюдать следующие требования:
– число всасывающих трубопроводов должно быть равно
числу насосов, при необходимости допускается устройство общего всасывающего
коллектора;
– трубопроводы следует устраивать стальными;
соединения труб вне здания станции устраиваются сварными, а в пределах здания
станции на фланцах или сварными;
– всасывающие трубопроводы прокладывают с непрерывным
подъемом не менее 0,005 в сторону насоса;
– соединение всасывающего трубопровода и всасывающего
парубка насоса осуществляется с помощью ассиметричного перехода с
горизонтальной верхней образующей;
Рис. 6.1. Схема
всасывающего трубопровода
7. Проектирование
водозаборных сооружений
Водозаборное сооружение насосной станции предназначено
для приема воды из источника и подачи ее к всасывающим трубопроводам основных
насосов. В состав водозаборного сооружения входят аванкамера и водоприемник.
Поскольку подача насоса 4,9 м3/с и высота
всасывания положительная – применяют камерный тип водозаборного сооружения, (рис.2).
Всасывающие трубопроводы насосов располагаются на
торцевом откосе ковша. Расстояние между осями всасывающих трубопроводов (3…4) Двх
(диаметра входного отверстия приемного конуса);
.
Заглубление верхней кромки входного отверстия
приемного конуса под минимальный уровень принимают
, но не менее 0,5м. Входное отверстие
целесообразно устраивать в вертикальной плоскости.
Сороудерживающую решетку предпочтительнее делать
выносной и располагать ее вначале аванкамеры. На входных отверстиях всасывающих
трубопроводов также должны быть предусмотрены решетки.
Определяем длину аванкамеры:
Определяем ширину водозаборного сооружения в плане:
B=b
n+tb
(n-1)=3
3+0,7(3-1)=10,4м
b- ширина пролёта водозаборного сооружения,
м;
n-количество подводящих трубопроводов равная числу основных
насосов;
tb=(0,6-0,8);
b=3,23Д=2,81=3м.
Назначаем длину камеры водозаборного Lk=3м;
Окончательные размеры водозаборного сооружения будут
установлены процессе проектирования здания насосной станции.
8. Проектирование и расчет напорных трубопроводов
Подача воды от насосов осуществляется к
внутристанционным напорным трубопроводам, а от них к напорным трубопроводам.
Внутристанционные трубопроводы с трубопроводной арматурой, полностью
располагаются в здании насосной станции. В общем случае подача мелиоративных
станций значительна, поэтому особенно необходимо, чтобы потери напора во
внутристанционных трубопроводах были минимальными. Практически это достигается
отсутствием в трубопроводах резких поворотов.
8.1 Проектирование внутристанционных трубопроводов
Внутристанционные трубопроводы устраиваются из
стальных труб. Диаметр внутристанционных напорных трубопроводов определяют по расчетному
расходу, величина которого равна расчетной подаче насоса, и экономичным
скоростям, которые принимают:
м/с
для труб диаметром до 1010 мм;
При этом диаметр внутристанционного напорного
трубопровода должен быть не меньше диаметра нагнетательного патрубка насоса.
Переход от нагнетательного патрубка насоса к внутристанционному напорному
трубопроводу осуществляется с помощью прямого диффузора, длина которого
принимается от 6 до 7 разности диаметров трубопроводов и патрубка.
На внутристанционных напорных трубопроводах может
устанавливаться обратный клапан, монтажная вставка, задвижка (дисковый затвор)
и контрольно-измерительная арматура. Масса трубопроводов и арматуры предается
на бетонные фундаменты.
Рисунок 8.1 График водоподачи насосной станции
Qн.т.=Q
, м3/с (8.1)
м3/с
где Q — подача насоса (Q=2,45 м3/с);
t1..t6
– число суток в n-ом периоде, сут;
n1..n6
– определяется по графику для каждого периода;
n – мах из n1..n6;
Т – общая продолжительность периодов, сут.
(8.1)
Принимаем
=880 мм;
8.2 Проектирование напорного трубопровода
Напорные трубопроводы предназначены для подачи воды от
внутристанционных напорных трубопроводов до водовыпуска или водопотребителя.
Напорные трубопроводы проектируют в соответствии со
СНиП 2.04.02-84.
Количество напорных
трубопроводов принимаем равным количеству основных насосов – 3 нитки (длина
напорного трубопровода до 100 м). Напорные трубопроводы проектируем из стали.
Принимаем
=1202мм;
9. Электрооборудование
насосной станции
9.1 Подбор
электродвигателей к основным насосам
В качестве привода к основным насосам на мелиоративных
насосных станциях применяем электродвигатели трехфазного переменного тока,
синхронные и асинхронные, горизонтального и вертикального исполнения.
Для насосов мощностью более 250 кВт рекомендуется
применять высоковольтные синхронные электродвигатели.
При подборе электродвигателя необходимо обеспечивать
заданную для вала насоса частоту вращения и мощность, которая рассчитывается по
формуле:
, Вт (9.1.1)
где
– плотность перекачиваемой жидкой среды, кг/м3,
;
–
максимально возможная подача одного насоса по схеме проектируемой насосной
станции, м3/с,
;
–
напор, соответствующий
,
м,
;
–
КПД насоса, соответствующий
,
;
–
КПД передачи (при соединении насоса с электродвигателем жесткой муфтой
);
–
коэффициент запаса мощности (при
60…300 кВт
1,15;).
Подбираем
электродвигатель синхронный высоковольтный АВ14-31-12
,
9.2 Определение мощности силовых трансформаторов
Электроснабжение насосных станций осуществляется от
высоковольтных линий электропередач (ЛЭП). Напряжение тока ЛЭП выше, чем
напряжение электрооборудования насосных станций, определяемое рабочим
напряжением электродвигателей основных агрегатов.
Для получения электрического тока необходимого
напряжения на насосных станциях предусматривают, понижающие трансформаторные
подстанции.
В состав трансформаторной подстанции входят силовые
трансформаторы и распределительное устройство (высоковольтное и низковольтное).
Электрическое оборудование трансформаторной подстанции размещается чаще всего в
специальных помещениях наземной пристройки здания насосной станций.
Необходимую мощность трансформаторной подстанции
определяют из формулы:
,(9.2.1)
где: kс – коэффициент спроса; при трех
электродвигателях, исключая резервные, kс – 1;
Pgi – номинальная мощность электродвигателей (без
резерва), кВ,
Pgi=320 кВт;
hgi – КПД электродвигателя, принимаемый по мощности: до 50 кВт – 0,92;
cosj –
коэффициент мощности электродвигателя (cosj = (0,9¸0,93);
10 ¸ 50 – нагрузка от вспомогательного оборудования, кВА.
Учитывая возможность выхода из строя одного трансформатора,
допускается временная перегрузка оставшегося до 40% его номинальной мощности.
Принимаем 2
трансформатора мощности которого равны 630 кВа;
Проверка на перегрузку
трансформатора:
(9.2.1)
z- количество рабочих насосов;
St-мощность трансформатора;
П- перегрузка;
10. Проектирование
здания насосной станции
Здание насосной станции должно обеспечивать оптимальный режим
работы оборудования, защиту обслуживающего персонала и оборудования от
атмосферных воздействий.
Широкое применение в
настоящее время получили три типа зданий станций: наземный, камерный и блочный.
10.1 Размещение основных насосов в вертикальной плоскости и
выбор типа здания насосной станции
Отправной отметкой при вертикальной компоновке основных
насосов является отметка минимального уровня воды в источнике. Допустимая
отметка установки насосов Ñ УНдоп рассчитывается по формуле:
(10.1.1)
где:
–
минимальный уровень воды в источнике, м,
;
–
предельно допустимая геометрическая высота всасывания насоса, определяемая по
формуле:

=
, м, (10.1.2)
где:
–
атмосферное давление, Па;
–
давление насыщенных паров жидкости,
= 2354 Па для воды при
Т= 200С;
Ñh – кавитационный запас, м (определяется по характеристикам
насоса),
;
Допустимая отметка установки основных насосов оказалась выше
отметки минимальных уровней воды на водозаборном сооружении (положительная
высота всасывания) . Так как в проекте приняты осевые насосы вертикального
исполнения , их установка в вертикальной плоскости определяется из следующего
выражения:
(10.1.3)
где: hВЭ – высота
вала электродвигателя;
hВН – высота вала насоса;
10.2 Подбор
вспомогательных насосов
Если работа насоса характеризуется положительной
геометрической высотой всасывания, перед запуском его корпус и всасывающий
трубопровод должны быть залиты перекачиваемой средой. На насосных станциях,
здания которых камерного и блочного типов, когда уровень грунтовых
располагается выше поверхности пола машинного зала, устанавливаются дренажные
насосные установки. Они служат для удаления воды, которая фильтруется через
строительные конструкции подземной части здания станции и вытекает через
неплотности сальников насосов.
Для дренажной насосной установки используются самовсасывающие
вихревые насосы (один рабочий и один резервный), а также погружные насосы ГНОМ.
Подача дренажного насоса Qg (л/с) определяется по формуле:
Qg = (1,5……2) Sq=2×3,35=6,7 л/с, (10.2.1)
где: Sq – суммарный фильтрационный расход воды через сальники насосов q1 и через стены и фундамент здания q2:
q1 = qс × n=0,5×2=1 л/с, (10.2.2)
где: qс
– фильтрационный
расход через сальник насоса, л/с; для насосов типа О, ОП и В принимают равным
расходу воды, подаваемому на смазку подшипников согласно данным каталога на
насос, в нашем случае 0,5л/с; n –
количество сальников.
q2 = 1,5 + 0,001 W=
1,5+0,001×849,52=
2,35 л/с, (10.2.3)
где: W –
объем подземной части здания станции ( по наружным размерам), расположенной
ниже уровня грунтовых вод, м3.
Принимаем насос типа ГНОМ 25-20.
Рабочий объем дренажного колодца Vg определяется из формулы:
Vg = S q × T= 0,00335×1200=4,02 м3 , (10.2.4)
Где: T – время
наполнения колодца ( не менее 600 с для камерных зданий и 1200 с для блочных
зданий).
10.3 Размещение основного и вспомогательного оборудования в
плане, определение основных размеров здания станции
Размещение насосных агрегатов в плане определяется формой
машинного зала, типом насосов и способом подвода к ним воды.
Очертание машинного зала в плане следует принимать
прямоугольное. При небольшом количестве насосов типа Д и К (4-5) целесообразно
принимать однорядное их размещение. При относительно большом числе агрегатов
(более 5) принимается двухрядное, шахматное или симметричное размещение
насосов, что позволяет сократить длину здания.
Определение основных размеров здания станции в плане сводим к
установлению ширины и длины наземной и подземной (при наличии) частей.
Ширина здания станции (расчетный пролет) определяется исходя
из габарита насоса, строительной длины арматуры и фасонных частей.
Стандартный пролет здания равен 6,9,12,15 м. Длина здания
определяется исходя из количества основных и вспомогательных насосов, их
габаритов, а также размеров монтажной площадки.
Проход между насосными агрегатами, а также между агрегатами и
строительными конструкциями, должен быть не менее 1 м при напряжении электродвигателей до 1000 В и 1,2 м при напряжении более 1000 В.
Длина верхнего строения здания насосной станции должна быть
кратной 6 м при наличии каркаса и кратной 1,5 м для бескаркасных зданий, в которых плиты покрытий опираются на продольные несущие стены.
Следует отметить, что длина верхнего строения может не
совпадать с длиной подземной части здания насосной станции. Кроме машинного
зала здание насосной станции должно включать диспетчерскую, бытовую комнату,
санузел, трансформаторную подстанцию. Все эти помещения располагают в торцевой
части здания .
10.4 Подбор
подъемно-транспортного оборудования
Подъемно-транспортное
оборудование машинного зала насосной станции выбирают в зависимости от габаритов
здания и массы монтируемого оборудования.
Грузоподъемность
подъемно-транспортного оборудования следует принимать по массе наиболее тяжелой
монтажной единицы с учетом 10% надбавки. За монтажную единицу может быть
принято: горизонтальный насосный агрегат в сборе при наличии заводской
фундаментальной плиты, насос, электродвигатель, задвижку.
При массе груза до 1 т
рекомендуется устанавливать неподвижные балки с талями. При массе груза до 5 т
рекомендуется устанавливать подвесные краны, а при массе груза более 5 т –
мостовые краны. Технические характеристики подъемно-транспортного оборудования
представлены в литературе [1] таблица №25 на странице 107.
В курсовом проекте
используем подвесной кран длиной 5,1 м и грузоподъёмностью 5 тонн с
электроприводом.
Грузоподъемность крана
принимаем с учетом коэффициента запаса:
P = 1.1G = 1.1*5 = 5.5 т
Основные параметры крана:
-Длина крана 5,1 м
-Масса 1,7 т
-Пролет 4,5 м
-h =2,01 м
-швеллер №30
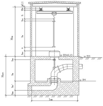
10.5 Определение
основных размеров здания станции в вертикальной плоскости
Высотная компоновка здания станции зависит от его типа.
Расчетная высота верхнего строения здания станции блочного
типа (рис.6.) может быть определена из выражения:
Нстр = hэл + а + hв + hст + (h + НN)
+ 0,1, м (10.5.1)
где hэл – высота корпуса электродвигателя, м,
hэл=2100 мм;
а – запас по высоте при демонтаже вала насоса, а=0,3 м;
hв – высота вала насоса, без рабочего колеса, м, hв=3860 мм;
hст – высота жесткого крепления при демонтаже вала, м, hст=0,3 м;
(h +НN) – размеры подъемно-транспортного
оборудования при полном втягивании грузового троса, м,:
0,1 – конструктивный запас, м.
По стандарту
.
Рисунок 6. К определению высоты верхнего строения и глубины
подземной части здания насосной станции блочного типа.
Глубина подземной части здания равна:
Нзагл = hвэ + hн + hвс + hпл , м (10.5.2)
hн – высота насоса, м, hн=3,86 м;
hвс – расстояние от оси рабочего колеса до низа всасывающей трубы,
м, hст=1,89 м;
hпл – толщина плиты, м, hпл= 0,7 м;
Нзагл = 0,6 + 3,86 + 1,89 + 0,7 = 7,2 м.
11. Проектирование и
расчет водовыпуска
Водовыпускное сооружение
обеспечивает плавное сопряжение напорных трубопроводов с отводящим каналом и
препятствовать обратному току воды при остановке насоса.
Исходные данные к
расчёту:
1) Расчётный расход напорного
трубопровода Qр. = Qн =2,45м3/с
2) Определяем площадь поперечного
сечения диффузора:
м2
3) Принимаем ширину канала по дну B=1100 мм, а высоту H=1400 мм.
4) Диаметр напорного трубопровода dн.т. = 1202 мм
5) Длина диффузора равна:
6) Заглубление верхней кромки диффузора
под min уровень:
7) Длина водобойного колодца равна: Lвк=(2-3) ·Н=2·1,4=2,8 м.
8) Отметка дна:
2=
min УВ –а-Н=149,02-0,43-1,4=147,19 м
9)
Длина крепления
канала: Lкр=(4-5) ·Нк=4· 5,37=21,48м,
где, Нк- max возможная глубина в канале:
max УВ-
дк=153,47-148,1=5, 37 м
10)
Длина переходного
участка: Lп=3 м,
11)
Ширина
водовыпуска на выходе: Lв=В· n+tб · (n-1),
где n- число напорных трубопроводов (ниток):
3
tб- толщина быка, равна 0,8 м
получаем, Lв =1,1· 3+0,8· (3-1)=4,9 м
В проекте принимаем
водовыпускное сооружение с механическим запорным водоустройством. В качестве
механического запорного устройства принимаем обратный клапан.
Список используемой литературы
1. Рычагов В.В., Чебаевский В.Ф.,
Вишневский К.П. и др. “Проектирование насосных станций и испытание насосных
установок”, М., «Колос», 1982.
2. Методические указания и задания к выполнению курсового
проекта по насосным станциям для студентов специальности 74 05 01 – “Мелиорация
и водное хозяйство”.
3. СниП 2.06.03-85. Мелиоративные
системы и сооружения. М., 1985.
4. Рычагов В.В., Флоринский М.М. “Насосы
и насосные станции”, М., «Колос», 1975.
Заключение
В данном курсовом проекте
мы определили расчетную подачу Q = 4,9м³/с и расчетный напор Н = 3,04 м.
Выбрали схему гидроузла для насосной станции. Запроектировали и рассчитали
водоподводящий канал, подобрали основные марки ОП6-87 и вспомогательные насосы,
запроектировали и рассчитали всасывающий и напорный трубопроводы,
запроектировали водозаборное сооружение, подобрали электрооборудование:
электродвигатель типа АВ14-31-12 мощностью Р=320 кВт, два трансформатора со
стандартной мощностью Sт =
630 кВА каждый, по ГОСТ 11.920 – 73, запроектировали здание насосной станции.