Разработка динамической модели привода с фрикционным вариатором

  • Вид работы:
    Дипломная (ВКР)
  • Предмет:
    Технология машиностроения
  • Язык:
    Русский
    ,
    Формат файла:
    MS Word
    1,02 Mb
  • Опубликовано:
    2010-09-15
Вы можете узнать стоимость помощи в написании студенческой работы.
Помощь в написании работы, которую точно примут!

Разработка динамической модели привода с фрикционным вариатором

Донецкий национальный технический университет





Квалификационная работа

На тему:

Разработка динамической модели привода с фрикционным вариатором

 

 

 

 

Выполнил:

Студент гр. МС-03н: Касатка П.О.

Руководитель: Деркач О.В.

Консультант: Горобець I.О.



ДОНЕЦЬК 2007


РЕФЕРАТ


Бакалаврская работа: 38 страниц, 15 рисунков, 1 приложение, 1 таблица, 5 источников.

В данной бакалаврской работе необходимо разработать динамическую модель привода, содержащего фрикционный вариатор; составить дифференциальные уравнения, которые описывают динамические процессы в приводе.

Объект исследования: привод с фрикционным вариатором.

Цель работы: необходимо разработать динамическую модель привода, содержащего фрикционный вариатор, с помощью программного пакета MatLab Sіmulіnk, для обеспечения необходимых параметров переходного процесса.

ФРИКЦИОННЫЙ ВАРИАТОР, ПЕРЕХОДНЫЙ ПРОЦЕСС, ДИФФЕРЕНЦИАЛЬНОЕ УРАВНЕНИЕ, ДИНАМИЧЕСКАЯ МОДЕЛЬ, ГЕОМЕТРИЧЕСКОЕ СКОЛЬЖЕНИЕ, МОМЕНТ ИНЕРЦИИ

Содержание

Введение

1 Общие сведения о фрикционных вариаторах

2 Исходные данные

3 Проектный расчет фрикционного вариатора по контактным напряжениям

4 Разработка динамической модели

4.1 Структурная схема объекта и процесса в нем

4.2 Анализ допущений и факторов, принимаемых при создании модели

4.3 Динамическая модель

4.4 Определение инерционных характеристик подвижных деталей и жесткости элементов привода

4.5 Реализация динамической модели в Simulink

5 Анализ динамических процессов в объекте

5.1 Анализ динамических процессов во временной области

5.2 Представление динамической модели в пространстве состояний

5.3 Проектирование модального регулятора

Заключение

Перечень ссылок

Приложение

Вступление


Большинство современных машин и установок создается по схеме: двигатель – передача – рабочий орган (исполнительный механизм). Необходимость введения передачи как промежуточного звена между двигателем и рабочими органами машины связано с решением задачи повышения производительности, т.е. увеличения их быстродействия.

Время срабатывания фрикционной передачи входит в общее время рабочего цикла машины, следовательно, влияет на производительность машины в целом. Проблема повышения производительности непосредственно связана с разработкой методов динамического исследования машин и выбора их оптимальных параметров и структуры.

С помощью динамической модели производится анализ системы, без участия реального объекта и на ее основе можно построить систему управления объектом, и пронаблюдать поведение системы управления и объекта.

1 Общие сведения о фрикционных вариаторах

Фрикционной называют передачу, работа которой основана на использовании сил трения, возникающих в месте контакта двух тел вращения под действием сжимающей силы Q.

Фрикционные передачи вращательного движения можно разделить на две основные группы: передачи нерегулируемые, т.е. с условно постоянным передаточным отношением, и передачи регулируемые, позволяющие плавно изменять передаточное отношение (бесступенчатое регулирование) (рис. 1.1).

Одной из наиболее простых и во многих случаях достаточно надёжной является фрикционная передача, состоящая в простейшем случае из двух колёс (катков), закреплённых на ведущем и ведомом валах. Для передачи движения без скольжения необходимо приложить к одному из колёс силу Q, достаточную для возникновения трения в месте контакта, при этом касательная сила их сцепления равна по величине передаваемого окружному усилию [1].

Рисунок 1.1 – Лобовой фрикционный вариатор

Достоинствами фрикционных передач являются: плавность и бесшумность в работе, простота конструкции, невозможность поломки при резком изменении крутящего момента на одном из валов благодаря возможности проскальзывания катков, возможность бесступенчатого регулирования скоростей на ходу, без остановки передачи.

Недостатками являются: необходимость прижимного устройства, большие давления на валы и опоры от действия внешней силы прижимного устройства, что увеличивает их размеры и делает передачу громоздкой, а также ограничивает величину передаваемой мощности; непостоянство передаточного отношения из-за проскальзывания катков; сравнительно высокий износ.

Фрикционные вариаторы применяют как в кинематических, так и силовых передачах в тех случаях, когда требуется бесступенчатое регулирование скорости (зубчатая передача не позволяет такого регулирования). Фрикционные вариаторы используются станкостроении, в литейных машинах, подъемных и транспортных машинах, приводах летательных аппаратов и металлорежущих станках, роботах и манипуляторах, цифровых следящих системах, механизмах для сельского хозяйства и других изделиях.

Значение фрикционных вариаторов как бесступенчатых регуляторов скорости возрастает в связи с широким фронтом работ по автоматизации управления производственными процессами.

Один из катков фрикционного вариатора изготовляют из качественных сталей (40, 50, ШХ15 и т.д.), а другой – из серого чугуна, текстолита, фибры и других пластмасс.

Из всех типов фрикционных бесступенчатых передач с твердыми телами касания лобовые фрикционные вариаторы конструктивно наиболее просты. В таком вариаторе возможно перемещать колесо по валу в направлениях, указанных стрелками, при этом передаточное отношение будет плавно меняться в соответствии с изменением рабочего диаметра диска.

Геометрическое скольжение вариатора определяют по формуле:


знак «+» - для ведущего колеса, знак «-» - для ведущего диска (рис 1.2 а и б),


где  - радиус диска, при  скольжение максимальное;

b – ширина диска.

Рисунок 1.2 – Лобовой фрикционный вариатор:

а) с ведущим колесом; б) с ведущим диском

Основной недостаток лобовых вариаторов – большое геометрическое скольжение, поэтому в силовых передачах их диапазон регулирования передаточного отношения приходится ограничивать .

При ведущем колесе его радиус определяют по формуле:

;

где .

При проектном расчете принимают:

- коэффициент запаса сцепления;

- минимальный рабочий радиус диска.

Рабочие поверхности стальных фрикционных колес выполняются шлифованными с шероховатостью Ra 0,63 ... 0,32 мкм.

Соединение дисков с валами рекомендуется осуществлять шариковыми или винтовыми нажимными устройствами (рис. 1.3).

Во избежание чрезмерного скольжения центральную часть диска использовать не следует.


Рисунок 1.3 – Нажимные устройства: а) винтовое; б) шариковое

2 Исходные данные

Рассчитаем лобовую фрикционную передачу для привода ленточного конвейера при условии, что ведущее колесо передает мощность Р = 2 кВт при угловой скорости ω1 =90 рад/с ведомому колесу, вращающемуся с угловой скоростью ω2max = 45 рад/с [2].

В качестве прижимного устройства выбираем винтовое прижимное устройство, обеспечивающее постоянную силу прижатия.

Назначаем материалы колес: меньшего — текстолит ПТК, а большего — сталь 45.

Принимаем диапазон регулирования передаточного отношения


Тогда,

Передаточное отношение определяем по формуле:


Крутящий момент Мn, передаваемый ведущим колесом


Для передачи заданной мощности, выраженной окружной силой  необходимо обеспечить условие  где — сила трения между катками.

Тогда


где β – коэффициент запаса сцепления колес, β=1,3.

Момент трения определяем по формуле:


3 Проектный расчет фрикционного вариатора

по контактным напряжениям

Определим диаметр d1 меньшего колеса из условия контактной прочности. Принимаем коэффициент запаса сцепления колес β=1,3; коэффициент трения по длине контактной линии f=0,3; допускаемое контактное напряжение (текстолит по стали) [σ]k = 70 Н/мм2, модуль упругости для меньшего колеса (текстолит) Е1=6х103 МПа, для большего колеса (сталь) Е2 = 2,15х105 МПа.

Приведенный модуль упругости Е по формуле:

Диапазон регулирования:



где .

При проектном расчете принимают

Конструктивно наибольший диаметр диска:


Геометрическое скольжение при ведущем колесе:

Остальные размеры колес принимают конструктивно.

4 Разработка динамической модели

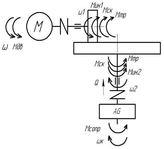
4.1 Структурная схема объекта

Рассматриваемая система состоит из электродвигателя, который создает момент двигателя Мn, муфты, ведущего колеса, ведомого диска, подшипников качения и рабочего органа. Двигатель создает крутящий момент с угловой скоростью ω, который передается через муфту на ведущее колесо, с него на ведомый диск, затем на рабочий орган (рис. 3.1). Винтовое прижимное устройство обеспечивает передачу крутящего момента.

Рисунок 4.1 – Расчетная схема привода.

4.2 Анализ допущений, принимаемых при создании модели

Для создания модели принимаем электродвигатель, обеспечивающий постоянный крутящий момент, муфты с η =0,98, шариковые подшипники качения с η=0,99 и роликовые подшипники качения с η=0,97. Деформации колеса и диска не учитываются.

Рисунок 4.2 – Модель лобовой передачи

4.3 Динамическая модель

Модель имеет 4 степени свободы и движение тел, входящих в модель, описывается системой дифференциальных уравнений, на основании результатов решения которой получим динамические параметры привода. Система дифференциальных уравнений имеет вид [3]:

где Is, Ip – приведенные моменты инерции вращающихся деталей двигателя и рабочего органа;

I1, I2 – приведенные моменты инерции колеса и диска соответственно;

φs, φp, φi – угловые координаты вращающихся масс;

Мn – момент движущих сил (двигателя);

Мо – момент сил сопротивления (рабочего органа);

с1, с2 – жесткости валов;

k1, k2 – коэффициенты демпфирования;

ε – геометрическое скольжение.

На основании дифференциальных уравнений, которые описывают поведение привода в процессе работы, была составлена его динамическая модель. Далее выполняем исследование составленной модели. Нагружаем модель единичным ступенчатым воздействием, которое воздействует на вал двигателя.

4.4 Определение инерционных характеристик подвижных

деталей и жесткости элементов привода

Моменты инерции вращающихся звеньев определяются расчетным путем [4]. Приведенный момент инерции вращающихся деталей двигателя:


где


Приведенный момент инерции вращающихся деталей рабочего органа:


где

Приведенный момент инерции колеса:


где

Приведенный момент инерции диска:

где


Рассчитаем жесткости валов:


где - модуль упругости 2-го рода (сдвига),


Жесткость шлицевого вала:


Жесткость винта:


4.5 Реализация динамической модели в Simulink

На основе системы дифференциальных уравнений (п. 4.3) с помощью интерактивной системы Simulink для моделирования нелинейных динамических систем составим схему динамической модели привода с фрикционным вариатором (рис. 4.3). Обозначения переменных, используемых в схеме динамической модели приведены в таблице 4.1.

Таблица 4.1 - Обозначения переменных, используемых

в динамической модели

Описание переменной

Обозначение

Схема

Ед.

Приведенный момент инерции вращающихся деталей двигателя

Is

Is

кг*м2

Приведенный момент инерции вращающихся деталей рабочего органа

Ip

Ip

кг*м2

Приведенный момент инерции колеса

I1

I1

кг*м2

Приведенный момент инерции диска

I2

I2

кг*м2

Угловые координаты вращающихся масс

φs, φp, φi

-

рад

Момент движущих сил (двигателя)

Мn

Mn

Н*м

Момент сил сопротивления (рабочего органа);

Мо

Мо

Н*м

Жесткость шлицевого вала

с1

с1

Н/м

Жесткость винта

с2

с2

Н/м

Коэффициент демпфирования

k1

k1

-

Коэффициент демпфирования

k2

k2

Коэффициент запаса сцепления колес

β

b

-

Геометрическое скольжение

ε

е

-


Рисунок 4.3 – Реализация динамической модели в Simulink

Исходные данные:

Is=1.3545;

Ip=1.6205;

I1=4.6934;

I2=262.0864;

c1=3163;

c2=3500;

Mn=22.2;

Mo=15;

e=0.08;

k1=0.7;

k2=0.7;

b=1,3.

5 Анализ динамических процессов в объекте

5.1 Анализ динамических процессов во временной области

Из анализа графиков видно, что из-за инерционных свойств объектов,

из-за упругих свойств, геометрического скольжения и силы трения разгон системы происходит замедленно. Перемещение диска в период первой секунды приложения крутящего момента вал двигателя, практически равно нулю (рис. 5.1–5.4).

Это обусловлено упругими свойствами вала и винта и инерционными свойствами колеса и диска, поэтому в момент пуска происходит задержка вращения, затем при преодолении крутящим моментом момента проскальзывания происходит вращение диска.

Рисунок 5.1 – Зависимость угла поворота вала двигателя (рад) от времени (с)

Рисунок 5.2 – Зависимость угла поворота колеса (рад) от времени (с)

Рисунок 5.3 – Зависимость угла поворота диска (рад) от времени (с)

Рисунок 5.4 – Зависимость угла поворота рабочего органа (рад) от времени (с)

5.2 Представление динамической модели

в пространстве состояний

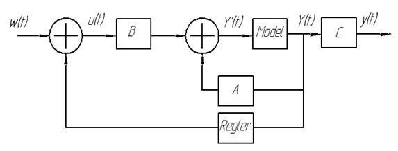
Динамическая модель, описанная дифференциальными уравнениями, может быть представлена в форме матричных уравнений (матрицы А, В, С, D) или представлена в виде передаточной функции. Так как модель имеет 4 степени свободы, то преобразование Лапласа необходимое для получения передаточной функции произвести достаточно трудно. Поэтому представим модель в форме матриц, используя для их расчета интерактивную систему MATLAB.

Дифференциальные уравнения динамической модели:


Преобразуем систему.


Представим модель в матричной форме:

Введем следующие обозначения:



Динамическая модель принимает вид:


Умножим обе части уравнения на обратную матрицу :


Обратную матрицу с помощью MATLAB:

L=[Is 0 0 0; 0 I1 0 0; 0 0 I2 0; 0 0 0 Ip];

inv(L)

ans =

0.7383 0 0 0

0 0.2131 0 0

0 0 0.0038 0

0 0 0 0.6171.

Умножим обратную матрицу на матрицу :

F=[-k1 k1 0 0; 0 -k1 k1 0; 0 k2 -k2 0; 0 0 k2 -k2];

ans =

-0.7000 0.7000 0 0

0  -0.7000  0.7000 0

0  0.7000  -0.7000 0

0  0  0.7000 -0.7000

ans=inv(L)*F

ans =

0 -0.1491 0.1491 0

0 0.0027 -0.0027 0

0 0 0.4320 -0.4320

Умножим обратную матрицу на матрицу :

R=[-c1 c1 0 0;c1 -c1 0 0; 0 0 -c2 c2; 0 0 c2 -c2];

ans=R

-3163 3163 0 0

3163 -3163 0 0

0 0 -3500 3500

0 0 3500 -3500

ans=inv(L)*R

ans =

1.0e+003 *

-2.3352 2.3352 0 0

0.6739 -0.6739 0 0

0 0 -0.0134 0.0134

0 0 2.1598 -2.1598

Умножим обратную матрицу на матрицу :

К=[Mn; -(e-b)*Mn; -(b-e)*Mn; -Mo];

ans=K

22.2000

27.0840

-27.0840

-15.0000

ans=inv(L)*К

16.3898

5.7707

-0.1033

-9.2564

Матрицы А, В, С, D имеют вид:


Введем полученные матрицы в M-file MATLAB и получим передаточную функцию динамической модели, которая описывает реакцию модели на скачкообразное задающее воздействие (рис. 5.5, 5.6).

A=[0 0 0 0 1 0 0 0;

0 0 0 0 0 1 0 0;

0 0 0 0 0 0 1 0;

0 0 0 0 0 0 0 1;

-2335.2 2335.2 0 0 -0.5168 0.5168 0 0;

673.9 -673.9 0 0 0 -0.1491 0.1491 0;

0 0 13.4 13.4 0 0.0027 -0.0027 0;

0 0 2159.8 -2159.8 0 0 0.4320 -0.4320];

B=[0; 0; 0; 0; 16.3898; 5.7707; -0.1033; -9.2564];

C=[1 0]; D=[0].

Передаточная функция имеет вид:

W(s) = (-2.132e-014 s^7 + 16.39 s^6 + 6.586 s^5 + 3.275e004 s^4 - 2343 s^3- 6.166e006s^2 - 7.573e004 s + 1.407e008)/(s^8 + 1.101 s^7 + 5156 s^6 + 3080 s^5 + 6.401e006 s^4 + 6.915e005 s^3 - 1.742e008 s^2 - 2.015e007 s + 2.25e-007).

Рисунок 5.5 – Переходной процесс в динамической модели

Рисунок 5.6 – Амплитудно-фазо-частотная и фазо-частотная характеристики

Из анализа графиков видно, что колебания в модели возрастают и она не устойчива. Поэтому необходимо спроектировать регулятор (корректирующее звено) (рис. 5.7), чтобы динамическая модель имела затухающие колебания при переходном процессе и малое время успокоения (1-5 секунд) с перерегулированием не более 10-15%.

Рисунок 5.7 – Динамическая модель с модальным регулятором

5.4 Проектирование модального регулятора

Идея создания модального регулятора заключается в том, чтобы подобрать его коэффициенты так, чтобы полюса замкнутого контура регулирования оказались в заштрихованной области. Это обеспечит затухающие колебания при переходном процессе и малое время успокоения с перерегулированием не более 10-15% (рис. 5.7).

Рисунок 5.8 – Область расположения полюсов устойчивых систем

Для построения модального регулятора необходима проверка управляемости модели.

Проверку управляемости произведем с помощью критерия Калмана:

если ранг квадратной матрицы Ss(n,n)=[B A*B A2*B … An-1*B] равен порядку матрицы n, то модель, описываемая матрицами А, В, С, D, является управляемой. Порядок матрицы А динамической модели равен 8.

Ранг матрицы – максимальный размер квадратной матрицы, определитель которой не равен нулю.

Ранг матрицы можно определить с помощью функции rank в MATLAB:

Ss=ctrb(A,B);

rank(Ss);

ans=8.

Ранг матрицы А динамической модели равен порядку, значит модель управляема.

Методом подбора назначаем полюса для новой передаточной функции замкнутого контура. С помощью MATLAB можно найти коэффициенты модального регулятора и получить переходной процесс в динамической модели с регулятором (рис. 5.9).

p=[-7-0.2i -7+0.2i -5-0.5i -5+0.5i -5 -6 -17 -10];

k=place(A,B,p);

sysE=ss(A-B*k,B,C,D);

step(sysE)

k=[-237.0116 237.0565 173.5746 -185.8740 8.6474 -8.5860 16.0462 14.2642].

Из анализа графика на рисунке 5.7 видно, что переходной процесс в системе заканчивается через 2,5 секунды без перерегулирования.

Рисунок 5.9 – Переходной процесс в динамической модели c регулятором

Заключение

В данной работе были изучены динамические процессы, возникающие в приводе с фрикционным вариатором. Выбраны исходные данные, приведен проектный расчет фрикционного вариатора, определены инерционные характеристики подвижных деталей и жесткости элементов привода.

Была составлена структурная схема объекта исследования, математическое описание и динамическая модель, позволяющие изучить возможное поведение системы при действии на неё единичной нагрузки.

Также приведен анализ динамических процессов в объекте во временной области и пространстве состояний. Спроектирован модальный регулятор, который обеспечивает завершение переходного процесса в динамической модели за 2,5 секунды.

Литература

1. Гузенков П.Г. Детали машин: Учеб. для вузов. – М.: Высш. шк., 1986. – 359 с.

2. Бакаев Н.А., Волошина О.Н. Основы проектирования фрикционных передач. – Издательство Ростовского университета, 1985. – 176 с.

3. Пронин Б.А., Ревков Г.А. Бесступенчатые клиноременные и фрикционные передачи. – М.: Машиностроение, 1980. – 320 с.

4. Комаров М.С. Динамика механизмов и машин. Машиностроение, М., 1969.

5. Иванов Е.А. Муфты приводов. Машгиз, М, 1959.

Похожие работы на - Разработка динамической модели привода с фрикционным вариатором

 

Не нашли материал для своей работы?
Поможем написать уникальную работу
Без плагиата!
Без нейросетей!