|
Режим
|
Кол-во дней
|
Коэффициент использования
пропускной способности
|
Пропускная способность, млн.куб.м/сут
|
Производительность, млрд.куб.м.
|
|
проект
|
технически возможная
|
сезонная
|
годовая
|
|
проект
|
технически возможная
|
проект
|
технически возможная
|
|
Зимний
|
151
|
0,95
|
274,619
|
248,6
|
39,394
|
35,662
|
93,906
|
82,235
|
|
Среднегодовой (межсезонье)
|
122
|
0,95
|
270,504
|
237,3
|
31,351
|
27,503
|
|
Летний
|
92
|
0,95
|
264,998
|
218,2
|
23,161
|
19,071
|

1.1.3 Марка и число газоперекачивающих агрегатов, установленных на
компрессорных станциях
Найдем
число ГПА необходимых для перекачки проектного числа пропускной способности:
Для
первой нитки на станции Ухта число агрегатов найдем по следующей формуле:

где qa1 – номинальная производительность агрегата ГТ-6-750 с
нагнетателем Н-300-1,23 при стандартных условиях
Вывод:
необходимо установить 3 агрегата ГТ -6-750
Аналогично
найдем число ГПА необходимых для перекачки проектного числа пропускной
способности на других нитках и станциях. Данные расчетов занесем в таблицу 1.4.
Таблица
1.4
|
Станция
|
Расчетное число ГПА
|
Принятое число ГПА
|
|
1-ая нитка
|
2-ая натка
|
3-ая нитка
|
4-ая нитка
|
1-ая нитка
|
2-ая натка
|
3-ая нитка
|
4-ая нитка
|
Ухта
|
2,396
|
1,594
|
2,448
|
3,939
|
3
|
2
|
3
|
4
|
|
Синдор
|
2,396
|
1,594
|
2,448
|
2,448
|
3
|
2
|
3
|
3
|
|
Микунь
|
2,396
|
1,594
|
5,267
|
2,448
|
3
|
2
|
6
|
3
|
|
Урдома
|
2,396
|
1,594
|
2,448
|
2,448
|
3
|
2
|
3
|
3
|
|
Приводино
|
2,359
|
1,594
|
2,448
|
2,448
|
3
|
2
|
3
|
3
|
|
Нюксеница
|
2,359
|
1,594
|
2,448
|
2,448
|
3
|
2
|
3
|
3
|
|
Юбилейная
|
2,359
|
1,263
|
5,267
|
2,448
|
3
|
2
|
6
|
3
|
Но количество ГПА
установленных на станциях отличается от проектного. Количество агрегатов установленных
на станциях указанно в таблице 1.5.
Таблица 1.5
Наименование КС
|
Кол-во цехов
|
Газопровод
|
Привод
|
Нагнетатель
|
Кол-во
|
Ухта
|
4
|
Ухта-Торжок I
|
ГТ-6-750
|
Н-300-1,23
|
5
|
Ухта-Торжок II
|
ГТК-10
|
520-12-1
|
5
|
Ухта-Торжок III
|
ГТК-10
|
370-18-1
|
6
|
ГТН-16м
|
Н-16-76-1,44М
|
2
|
Ухта-Торжок IV
|
ГТК-10
|
235-21-1
|
6
|
Синдор
|
4
|
Ухта-Торжок I
|
ГТ-6-750
|
Н-300-1,23
|
(2х2)+1
|
Ухта-Торжок II
|
ГТК-10
|
520-12-1
|
(2х2)+1
|
Ухта-Торжок III
|
ГТК-10-4
|
370-18-1
|
(2х2)+4
|
Ухта-Торжок IV
|
ГТК-10
|
370-18-1
|
(2х2)+4
|
Микунь
|
4
|
Ухта-Торжок I
|
ГТ-6-750
|
Н-300-1,23
|
(2х2)+1
|
Ухта-Торжок II
|
ГТК-10
|
520-12-1
|
(2х2)+1
|
Ухта-Торжок III
|
ГТК-10И
|
PCL-802/24
|
4+1
|
ГПА-Ц-6,3
|
Н-196-1,45
|
3
|
Ухта-Торжок IV
|
ГТК-10
|
370-18-1
|
(2х2)+4
|
Урдома
|
4
|
Ухта-Торжок I
|
ГТ-6-750
|
Н-300-1,23
|
(1х2)+3
|
Ухта-Торжок II
|
ГТК-10
|
520-12-1
|
(2х2)+1
|
Ухта-Торжок III
|
ГТК-10
|
370-18-1
|
(2х2)+4
|
Ухта-Торжок IV
|
ГПУ-10
|
370-18-1
|
(2х2)+4
|
Приводино
|
4
|
Ухта-Торжок I
|
ГТ-750-6
|
370-17-1
|
(1х2)+3
|
Ухта-Торжок II
|
ГТК-10
|
520-12-1
|
(2х2)+1
|
Ухта-Торжок III
|
ГТК-10И
|
PCL-802/24
|
6
|
ГТН-16М-1
|
2Н-16-76-1,5И1
|
2
|
Ухта-Торжок IV
|
ГПУ-10
|
370-18-1
|
(2х2)+4
|
Нюксеница
|
4
|
Ухта-Торжок I
|
ГТ-750-6А2
|
370-17-1
|
(1х2)+3
|
Ухта-Торжок II
|
ГТК-10
|
520-12-1
|
(2х2)+1
|
Ухта-Торжок III
|
ГТК-10
|
370-18-1
|
(2х2)+4
|
Ухта-Торжок IV
|
ГПУ-10
|
370-18-1
|
(2х1)+6
|
Юбилейная
|
4
|
Ухта-Торжок I
|
ГТ-750-6
|
370-17-1
|
(1х2)+3
|
Ухта-Торжок II
|
ГТК-10
|
370-18-1
|
(2х2)+1
|
Ухта-Торжок III
|
ГТК-10И
|
PCL-802/24
|
4+1
|
ГПА-Ц-6,3
|
Н-196-1,45
|
2+1
|
Ухта-Торжок IV
|
ГПУ-10
|
370-18-1
|
(2х2)+4
|
Из вышеприведенных данных
следует вывод: так как рассматриваемый газопровод отличается от проектного
наличием отборов по трассе, количеством нагнетательных машин установленных на
КС, наличием ограничений по давлению на линейных участках, в результате
получается разная нагрузка как на сам газопровод так и на нагнетательные
машины.
Возникает задача
перераспределения газа между 1) Компрессорными цехами 2) газопроводами.
Задача
перераспределения газа между компрессорными цехами решается путем использования
перемычки перед узлом подключения, а задача перераспределения газа между
газопроводами решается путем использования перемычки после узла подключения
1.1.4 Пропускная способность перемычек
Пропускная
способность перемычки:
где:
Рн и Рк – давление в месте присоединения перемычки к
первой и второй нитке газопровода соответственно, l длина газопровода.

Аналогично
находим пропускную способность других перемычек, кроме перемычки между 3-ей и
2-ой нитками, вблизи КС Нюксеница, особенностью которой является соединение
всасывающей линии 3-ей нитки с нагнетательной линией 2-ой.
Рассчитаем
пропускную способность этой перемычки.
Данные
расчетов других перемычек на всасывающей линии приведены в таблице 1.6.
Таблица
1.6
|
Компрессорная станция
|
Пропускная способность, млн.м3/сут
|
|
Синдор
|
12,4
|
|
Микунь
|
10,5
|
|
Урдома
|
20,7
|
|
Приводино
|
17,1
|
|
Нюксеница 1
|
9,6
|
|
Нюксеница 2
|
9,8
|
|
Юбилейная
|
17,8
|
|
Грязовец
|
21,1
|
Данные
расчетов других перемычек на нагнетательной линии приведены в таблице 1.7.
Таблица
1.7
|
Компрессорная станция
|
Пропускная способность, млн.м3/сут
|
|
Синдор
|
11,7
|
|
Микунь
|
8,3
|
19,5
|
|
Приводино
|
16,3
|
|
Нюксеница
|
13
|
|
Юбилейная
|
17,7
|
1.1.5 Перераспределение
газа между компрессорными цехами
Эта
задача решается путем использования перемычки перед узлом подключения.
Найдем
расстояние от узла подключения до перемычки между первой и второй нитками на
станции Синдор.
Схема соединения газопроводов перемычкой на всасывающей
линии представленна на рисунке 1.


P3
Q2 Р2 2-ая
нитка




q l
L3 L0 1-ая
нитка
Р3
Q0 P0
Q Р1
КС
Синдор КС
Ухта
Рисунок 1
Составим
систему из четырех уравнений:
где:
Давление на выходе из КС Ухта на первой нитке Р1=5,6 [МПа]; давление в месте присоединения лупинга к
первой нитке Р0; давление в месте присоединения лупинга к второй
нитке Р2; давление в конце перегона Р3=3,29 МПа]; расход в первой нитке до
присоединения перемычки Q=526,62 [м3/с];
расход в первой нитке после присоединения перемычки Q0=381,1 [м3/с]; расход во второй нитке
после присоединения перемычки Q2=381,1 [м3/с]; расход в перемычке q=143,5 [м3/с]; длина газопровода до
перемычки L0; расстояние от перемычки до узла подключения L3;
длина перемычки l=100 [м]; диаметр нитки и перемычки
D=1.195 [м]; коэффициент b=94100[К2кг2с/м4].
Решив
систему уравнений методом подбора, найдем расстояние от перемычки до узла
подключения:
L3=30
(м)
Расчет режима работы КС с перемычкой и при ее отключении
Рассчитаем
режим работы компрессорного цеха 1 на станции Синдор при отсутствии перемычки между
первой и второй нитками газопровода.
1.5.1.Определение
коэффициента сжимаемости:
где:
Тв=273,4
[К]; Рв=3,29 [МПа]
1.5.2
Объемная производительность (при условиях всасывания):
где:
Тсm, Рсm – температура и давление при стандартных
условиях.
1.5.3
Приведенная объемная производительность:
где:
nн ,n – номинальная и фактическая частота оборотов
1.5.4
Приведенная относительная частота оборотов:
1.5.5
Приведенная внутренняя мощность
Определяется
по приведенной характеристике в зависимости от Qпр (приложение 8)
1.5.6
Плотность газа при условиях сжатия
1.5.7
Мощность на валу двигателя

где:
Ni
- внутренняя мощность
Nмех
- механические потери (100 кВт при газотурбинном приводе)

1.5.8
Удаленность от границы помпажа

Поскольку
агрегат не
находится в зоне помпажа
1.5.9
КПД агрегата:
КПД
находится по приведенной характеристике в зависимости от Qпр
(приложение 8)
h=0,778
Рассчитаем
режим работы компрессорного цеха 1 на станции Синдор при наличии перемычки
между первой и второй нитками газопровода.
1.5.10 Определение
коэффициента сжимаемости:
где:
Тв=273,4
(К); Рв=3,29 (МПа)
1.5.11
Объемная производительность (при условиях всасывания):
где:
Тсm, Рсm – температура и давление при стандартных
условиях.
1.5.12
Приведенная объемная производительность:
где:
nн ,n – номинальная и фактическая частота оборотов
1.5.13
Приведенная относительная частота оборотов
1.5.14
Приведенная внутренняя мощность:
Определяется
по приведенной характеристике в зависимости от Qпр (приложение 8)
1.5.15
Плотность газа при условиях сжатия
1.5.16.
Мощность на валу двигателя:

где:
Ni
- внутренняя мощность
Nмех
- механические потери (100 кВт при газотурбинном приводе)
1.5.17
Удаленность от границы помпажа
Поскольку
агрегат не находится в
зоне помпажа
1.5.18
КПД агрегата
h=0,835
Рассчитаем
режим работы компрессорного цеха 2 на станции Синдор при отсутствии перемычки
между первой и второй нитками газопровода.
1.5.19 Опредиление
коэффициента сжимаемости
где:
Тв=273,4
(К); Рв=3,29 (Мпа)
1.5.20
Объемная производительность (при условиях всасывания)
где:
Тсm, Рсm – температура и давление при стандартных
условиях.
1.5.21
Приведенная объемная производительность:
где:
nн ,n – номинальная и фактическая частота оборотов
1.5.22
Приведенная относительная частота оборотов:
1.5.23
Приведенная внутренняя мощность
Определяется
по приведенной характеристике в зависимости от Qпр (приложение 8)
1.5
24 Плотность газа при условиях сжатия
1.5.25
Мощность на валу двигателя:

где:
Ni - внутренняя мощность
Nмех
- механические потери (100 кВт при газотурбинном приводе)
1.5.26
Удаленность от границы помпажа
Поскольку
агрегат не находится в
зоне помпажа
1.5.27
КПД агрегата
h=0,839
Рассчитаем
режим работы компрессорного цеха 2 на станции Синдор при наличии перемычки
между первой и второй нитками газопровода
1.5.28 Опредиление
коэффициента сжимаемости:
где:
Тв=273,4 (К); Рв=3,29 (МПа)
1.5.29
Объемная производительность (при условиях всасывания)
где:
Тсm, Рсm – температура и давление при стандартных
условиях.
1.5.30
Приведенная объемная производительность
где:
nн ,n – номинальная и фактическая частота оборотов
1.5.31
Приведенная относительная частота оборотов
1.5.32
Приведенная внутренняя мощность
Определяется
по приведенной характеристике в зависимости от Qпр (приложение 8)
1.5.
33 Плотность газа при условиях сжатия
1.5.34
Мощность на валу двигателя

где:
Ni - внутренняя мощность
Nмех
- механические потери (100 кВт при газотурбинном приводе)
1.5.35
Удаленность от границы помпажа:
Поскольку
агрегат не находится в
зоне помпажа
1.5.36
КПД агрегата
h=0,853
Вывод:
Соединение газопроводов перемычками перед узлом подключения дает возможность
разгрузить перегруженные агрегаты 1-го компрессорного цеха и загрузить
недогруженные агрегаты 2-го цеха, что приводит к работе агрегатов обоих цехов в
области высоких КПД.
Решив
задачу перераспределения газа между КЦ, необходимо решить задачу
перераспределения газа между газопроводами.
1.1.6
Перераспределение газа между газопроводами
Задача
перераспределение газа между газопроводами решается использованием перемычки
после узла подключения.
При использовании перемычки после узла подключения 1-ая и 2-ая нитки
газопровода становятся параллельными, так как они имеют общие начальную и
конечную точки, одинаковые протяженности, начальные и конечные давления.
Схема
соединения ниток перемычкой, установленной после узла подключения представлена
на рисунке 2.
КС
Синдор
Рк q2 Рн

2-ая нитка
3-ая нитка
Рк q1 Рн
Найдем расход установившийся в обеих нитках после открытия перемычки с
помощью коэффициента расхода:
где:
Эквивалентный
диаметр D0=1 [м]
Коэффициент
расхода:
тогда:
Таким
образом, при использовании перемычки после узла подключения решается вопрос
равномерной загрузки газопровода.
Вывод:
Перераспределение газа между нитками и компрессорными цехами позволяет сделать
работу газотранспортной системы более эффективной.
1.2
РАСЧЁТ ОСНОВНЫХ ТЕХНОЛОГИЧЕСКИХ СИСТЕМ
1.2.1
Расчёт оборудования для очистки газа от механических примесей
При
проектировании КС в установке очистки газа используются циклонные пылеуловители
ГП - 144.
Исходные
данные:
Q
= 248.6
qn
= 20
Pв
= 5.2 МПа
Тв
= 299.192 К
2.1.1.
Перепад давления в сепараторе :
,
- коэффициент
сопротивления отнесённый ко входному сечению, по технической характеристике
завода изготовителя
,
- скорость газа во входном патрубке
пылеуловителя
g – ускорение свободного
падения, g = 9.81 м/с2,
2.1.2.Для
заданного количества газа расчётное число пылеуловителей:
где
qn – производительность одного пылеуловителя, по технической характеристике
завода изготовителя qn = 20 млн.м3/сут ,
резервных
Механический
расчёт пылеуловителя.
Расчёт
производится по ГОСТ 14249-80 «Сосуды и аппараты. Нормы и методы расчёта на
прочность».
2.1.3Расчёт
толщины стенки корпуса
- расчётная толщина стенки
корпуса;
Рраб
– рабочее давление, Рраб=7.5 МПа ;
Dвн
– внутренний диаметр пылеуловителя, Dвн=2000 мм;
- коэффициент прочности
сварных соединений,
=1;
- допускаемые напряжения
для стали 16ГС,
=160
МПа.
- рекомендуемая толщина
стенки для данных условий,
= 52 мм.
с
– прибавка для компенсации коррозии, с = 3 мм.
При
условии
Принимается
.
2.1.4
Расчёт толщины стенки днища
при
условии
,
где
- рекомендуемая толщина
днища для данных условий,
= 60 мм.
с1
– поправка для компенсации коррозии , с1 = 3 мм;
с2
– прибавка для компенсации минусового допуска, с2 = 1.3 мм.
с3
– прибавка технологическая, с3=8 мм.
где
Н – внутренняя высота эллиптической части днища аппарата, Н = 500 мм
Принимается
По
данным расчёта принимается к установке 13 пылеуловителей типа ГП - 144.
1.2.2
Расчет аппарата воздушного охлаждения
Для
расчётов принимаю АВО типа 2 АВГ-75.
Характеристика
АВО:
Поверхность теплопередачи
по оребрённым трубкам - НАВО=9930 м2
Количество
теплообменных секций в одном АВО - nсекц=3 шт
Количество
оребрённых трубок в одном АВО - nтр=180 шт
Количество
рядов оребрённых трубок в секции - n0=6
Длина
оребрённой трубки - l0=12 м
Коэффициент
оребрения -
Наружный
диаметр трубок - dн=57.4 мм
Высота
ребра - h=16 мм
Количество
рядов по газу - nр=1
Количество
вентиляторов в одном АВО - nв=2 шт
Диаметр
вентилятора - Dвен=5 м
Частота
вращения вентилятора - nвр.в.=250 об/мин
Установленная
мощность электропривода - NАВО=37 кВт
Масса
одного АВО - mАВО=48360 кг
Расход
воздуха нагнетаемого одним вентилятором - Q2=113.89 м3/с
Свободная
площадь между трубками - Fуд=11.5 м2
Внутренний
диаметр трубок - dвн=25 мм
Расчёт
АВО
Температура
газа на входе в АВО (после сжатия в компрессоре):
t1
– температура газа на входе в АВО в градусах Цельсия.
Температура
газа на выходе из АВО ( t2 ):
Температура
воздуха на выходе из АВО (
):
Температура
воздуха на входе в АВО (
):
Количество
тепла, отведённого в аппарате воздушного охлаждения
(
Qотв):
где
- плотность газа при
стандартных условиях:
Q1
– секундный расход газа:
ср
– изобарная теплоёмкость газа:
ср=2.146
2.2.1
Количество АВО.
М2
– массовый расход воздуха:
- плотность воздуха при
стандартных условиях
ср.2
– изобарная теплоёмкость воздуха:
ср.2=1,005
Округляем
количество АВО в большую сторону.
2.2.2 Средняя
логарифмическая разность температуры в процессе теплопередачи.
и
- начальная и конечная разность температур:
- поправка на противоточность
в зависимости от коэффициентов Рп, R
2.2.3
Коэффициент теплоотдачи от газа к внутренней поверхности трубок
Скорость
газа (V1)
Массовый
расход (М1):
Суммарная
площадь поверхности трубок ( F )
2.2.4
Коэффициент теплоотдачи от наружной поверхности оребрённых трубок в окружающую
среду (
)
2.2.5
Коэффициент теплопередачи от газа в окружающее пространство
Н2
– рассчитываемая поверхность теплопередачи,
Н1
– внутренняя поверхность трубок,
- коэффициент теплопроводности
стальных трубок:
2.2.6
Поверхность охлаждения
2.2.7
Гидравлические потери газа в АВО.
- гидравлическое
сопротивление в трубках:
режим
течения квадратичный, т.к.

II. МЕХАНИЧЕСКАЯ ЧАСТЬ
2.1
Расчет трубопровода на прочность
Кольцевые
напряжения, возникающие только от внутреннего давления
где:
n – коэффициент перегрузки от давления ( n=1,15)
Продольные
напряжения (возникают от Р и Т)
где:
m - коэффициент
Пуассона ( m=0,3)
где:
Е
- модуль упругости
(
)
a - коэффициент
температурного расширения
(
)
Знак
<<->> означает наличие продольных осевых растягивающих напряжений.
Проверка
прочности:
Расчетное
сопротивление материала труб растяжению или сжатию:
где:
нормативное
сопротивление трубной стали принимается равным временному сопротивлению
m
- коэффициент условий работы ( зависит от категории трубопровода)
m=0.75
(1 и 2 категория)
К1
- коэффициент безопасности по материалу ( зависит от характеристики трубы и марки
стали )
К1=1,47
(для 17Г2СФ)
Кн
– коэффициент надежности (зависит от диаметра трубопровода, рабочего давления,
вида перекачиваемого продукта )
Кн=1,1
При
растягивающих продольных напряжениях:
Если
, то
где:
y1 –
коэффициент, учитывающий двуосное напряженное состояние металла трубы
Условие
прочности
где:
y2 –
коэффициент, учитывающий двуосное напряженное состояние металла трубы.
При
растягивающих продольных напряжениях:
Если
, то
Þ 58,2<259,74
Из
этого следует, что условия прочности выполняются.
2.2 Расчет деформации
трубопровода при переходе через реку
Магистральные
газопроводы относятся к сложным техническим объектам, к которым предъявляются
повышенные требования по надежности и безопасности. В общем случае
магистральный газопровод представляет собой протяженную разветвленную
техническую систему с большим разнообразием конструктивно выполненных участков,
грунтово-геологических условий и способов прокладки (подземный, наземный,
подводный и воздушные переходы). Поэтому для оценки надежности магистрального
газопровода целесообразно составление структурной схемы газопровода путем
разделения его на участки, в пределах которых конструкция трубопроводной
системы и условия ее работы на прочность сопоставимы. Так, в отдельные участки
должны быть выделены элементы трубопровода, представляющие повышенную опасность
с точки зрения их работы на прочность. Одним из таких участков, отличающихся от
остальных конструктивно и условиями нагружения являются подводные переходы.
Согласно
[13], подводный переход
магистрального газопровода представляет собой участок линейной части МГ,
пересекающей водную преграду и уложенный, как правило, с заглублением в дно
водоема ( реки, озера, канала, водохранилища и т.
Подводные
переходы сооружают при пересечении трубопроводом рек, водохранилищ, озер,
морских акваторий. В настоящее время в стране эксплуатируется более 5 тысяч
подводных переходов общей протяженностью более 3 тысяч километров.
Наиболее
распространенной схемой прокладки трубопровода через водную преграду является
укладка труб по заглубленной схеме, предназначенной для надежной защиты их от
внешних силовых воздействий. Основным условием данной схемы является
заглубление трубопровода иже прогнозируемого предельного профиля размыва русла
водоема на расчетный период эксплуатации.
Согласно
[13], прогнозируемый предельный
профиль размыва русла – линия, проведенная по наинизшим отметкам дна и берегов
водоема, полученным в результате прогнозируемых переформирований русла за
период эксплуатации подводного перехода.
Особо
следует отметить, что надежность эксплуатации перехода и объема подводных
земляных работ, а следовательно, и стоимости строительства существенно зависит
от прогноза русловых деформаций. При небольшом заглублении трубопровода затраты
на земляные работы будут относительно невелики, но трубопровод может быть с
высокой вероятностью размыт. При чрезмерном же заглублении трубопровода в дно
водной преграды вероятность его размыва будет пренебрежимо мала, но затраты на
земляные работы будут огромны. В этих условиях большое значение имеет достоверность
долгосрочного прогноза русловых деформаций, предопределяющего выбор проектного
решения по заглублению трубопровода.
Для
повышения эксплуатационной надежности в настоящее время используются
конструкции переходов типа «труба в трубе с наружной трубой, используемой в
качестве защитного кожуха. Существенным недостатком такой конструкции является
то, что кожух не несет нагрузки от внутреннего давления и тем самым не улучшает
условия силовой работы внутренней несущей трубы. Кроме того, в данном случае
требуется балластировка всего трубопровода чугунными грузами.
Нарушение
структуры грунтов при разработке траншеи на берегах и в русле приводит к
заметному изменению их свойств по сравнению с грунтами целиком. В частности,
возрастает пористость грунта, снижаются сцепление грунта и сопротивление его
сдвигу. Эти изменения являются одной из причин размыва трубопроводов, особенно
на береговых участках.
Анализ
аварий на трубопроводах показывает, что более всего аварийные ситуации
возникают в результате недостаточной величины заглубления трубопровода в грунт
с последующим его вымыванием. Под величиной заглубления подводного трубопровода
подразумевается толщина слоя грунта от верха балластных грузов или балластного
покрытия трубопровода до поверхности дна водоема, устанавливаемая в
соответствии с действующими нормами с учетом возможных деформаций русла и перспективных
дноуглубительных работ [13]. Постепенное оголение
участков трубопровода и возникающие в них дополнительные напряжения, а также
колебания от воздействия руслового потока являются основной причиной разрушения
подводного перехода и, как следствие, отказ. Согласно, отказ – нарушение
работоспособного состояния подводного перехода ( повреждение трубы, уменьшение
толщины стенки из-за развития коррозии, резкое изменение пространственного
положения трубопровода из-за деформации дна и др.), при котором его дальнейшая
эксплуатация приостанавливается. Значительная часть отечественных переходов
имеет недозаглубленные участки. Внушительный процент эксплуатируемых в
настоящее время подводных трубопроводов имеет участки, где трубопровод не имеет
над верхней образующей слоя грунта или даже значительной величины провиса, т.е.
расстояния от поверхности дна водоема до нижней образующей трубопровода.
Переходы
магистральных трубопроводов через реки относятся к категории пассивных гидротехнических
сооружений, не предназначенных и не способных влиять на ход развития руслового
процесса. Подводные трубопроводы сами подвержены влиянию русловых деформаций и
требуют учета характера, темпов, интенсивности и возможного диапазона плановых
и глубинных деформаций за период их эксплуатации.
Следствием
изложенного является тот факт, что подводные переходы трубопроводов
эксплуатируются в значительно более жестких, чем сухопутная часть магистралей,
условиях, испытывая действие течений, паводкового льда, внешние механические
воздействия, влияние химически агрессивной среды и пр. Снижает надежность и их
недоступность для контроля и диагностики традиционными методами при
строительстве и эксплуатации.
Низкий
уровень надежности подводных переходов через водные преграды приводит к
многочисленным повреждениям и авариям. Повреждения подводного перехода -
нарушение исправного состояния перехода при сохранении его работоспособности
[13]. Сроки ликвидации аварий на подводных переходах во много раз превышают
аналогичные сроки на линейной части газопровода, а их ремонт сопоставим по
сложности и стоимости со строительством нового перехода. Урон экологии наносимый
аварией также может быть весьма значителен.
Аварии
на подводных трубопроводах вследствие механических ударов (якорями, волокушами,
льдом и т.п.), резонансных явлений на размытых участках переходов, нарушения
гидроизоляционного покрытия и коррозии приводят к утечкам транспортируемого
продукта и загрязнению водоема. Загрязнение при нарушении герметичности
подводного трубопровода характеризуется значительно большим объемом и высокой
концентрацией ингредиента, попадаемого в водоем за относительно короткий промежуток
времени (аммиакопроводы, конденсатопроводы).
Как
следствие, масштабы экономического и экологического ущерба, причиняемого
авариями на подводных переходах и сухопутной части, имеющей значительно большую
протяженность, вполне сопоставимы.
Таким
образом, переходы газопроводов через водные преграды в прочностном аспекте
отличаются от других участков линейной части следующими свойствами:
•
переходы имеют в общем случае более сложную систему нагружения;
•
численные характеристики процесса нагружения перехода имеют широкий диапазон и
часто случайный характер изменения своих значений;
•
траектория газопровода на переходе, а следовательно, и общий уровень НДС
материала стенки трубы могут в процессе эксплуатации изменяться;
•
исследование состояния участка перехода более сложно.
Данные
свойства перехода газопровода через водные преграды требуют его отдельного
самостоятельного расчета на прочность и устойчивость с обязательным учетом
перечисленных свойств. При этом необходимо иметь в виду, что каждый трубопровод,
а точнее каждый участок перехода трубопровода, имеет индивидуальную систему
нагружения (в зависимости от системы нагружения, типов применяемых труб,
сварочных материалов различные трубопроводы будут иметь различное время до
разрушения).
В
проекте новой инструкции по освидетельствованию трубопроводов причины разрушения
линейной части классифицированы следующим образом:
•
повреждение трубопровода при эксплуатации;
•
строительный брак;
•
некорректность существующих норм по проектированию в части учета реальных
условий нагружения магистральных трубопроводов.
Оценка
прочности и устойчивости трубопроводов производится в соответствии со СНиП
2.05.06-85. Одним из элементов трубопровода, классифицированным СНиП как
специальный и, следовательно, требующий отдельного самостоятельного расчета,
является переход через водные преграды [З].
Правила
проектирования, сооружения и эксплуатации переходов через водные преграды в
целом сформулированы СНиП 2.05.06-85 и де6тализированы СНиП III –42-80.
СНиП
205.06-85 требует проводить прочностной расчет на основе всех нормативных
нагрузок и воздействий с учетом поперечных и продольных перемещений
трубопроводов в соответствии с правилами строительной механики [3]. Так сооружению подводного перехода
трубопровода предшествует отдельное проектирование с учетом всех
гидрологических, инженерно-геологических и топографических особенностей данного
участка. При этом полный набор действующих на переход возможных силовых
факторов не указывается в силу их случайного характера.
СНиП
четко указывает правила расчета напряжений вызванных давлением продукта
температурным перепадом и поперечным изгибом. Однако, учет влияния остальных
сил, продольных и поперечных перемещений не расшифрован.
Одной
из причин расхождения проектных и реальных условий эксплуатации участка
перехода трубопровода является отклонение пространственной геометрии
трубопровода на переходе от прямой линии.
При
этом отклонения трубопровода от прямой линии могут быть как проектными, так и
непроектными. СНиП II-42-82 регламентирует геометрию прокладки трубопровода на
переходе.
Причинами
отклонений могут быть:
1)
технология прокладки; существуют различные приемы и схемы укладки
трубопроводов, которые по ряду характерных признаков могут быть отнесены к
следующим способам:
¨
протаскивание трубопровода по дну;
¨
укладка погружением с поверхности водоема заливом в трубопровод
(понтоны) воды, отстропкой или пригрузкой различными методами;
¨
опускание трубопровода с опор, оборудованных подъемными устройствами,
установленными на льду или с использованием плавучих кранов;
¨
укладка трубопроводов с трубоукладочных барж различных типов;
¨
наклонное бурение
¨
направленное бурение [5].
Каждый
из перечисленных способов рационально использовать только в определенных условиях
в зависимости от конструкции и параметров перехода, гидрогеологических
топографических и климатических условиях, а также наличия специальной техники
для монтажа и укладки трубопровода.
2)
температурный перепад по длине трубопровода;
3)
движение грунта; следует заметить анализ данных эксплуатации подводных
трубопроводов показывает, что одной из основных причин, вызывающей их неисправное
состояние, является переформирование русел и берегов рек, в результате чего
размытые участки трубопроводов подвергается силовому воздействию потока воды. Под
неисправным состоянием подводного перехода понимается состояние, при котором он
не соответствует хотя бы одному из требований нормативно-технической и
проектной документации [13].
Для
прогнозирования русловых деформаций используют количественные показатели
руслового процесса: скорость. Количественные показатели устанавливают на
основании специальных исследований и сопоставления русловых съемок разных лет.
Такие русловые съемки могут быть выполнены в различные моменты времени, в том
числе в периоды спокойного развития русла реки. Однако существуют периоды,
характеризующиеся интенсивным переформированием и значительными береговыми и
русловыми деформациями, обусловленными гораздо большей скоростью течения воды.
Такие
переформирования наблюдаются, например, во время ежегодного весеннего паводка,
когда не только возрастают скорости деформаций, но и увеличиваются конечные
размеры этих деформаций, в том числе глубины размывов дна реки.
Следует
иметь в виду, что кроме относительно засушливых лет, характеризующихся незначительным
выпадением атмосферных осадков, меньшим стоком рек и соответственно
незначительными деформациями русел рек, в иные годы, вследствие выпадения
обильных осадков могут происходить наводнения со всеми вытекающими отсюда
последствиями, в том числе особо большими размывами берегов и дна рек [15].
Поэтому
прогноз переформирований русла реки, основанный на обработке данных подводной
съемки, выполненной в период спокойного развития русла реки, обладает очевидно
меньшей достоверностью. Детальный анализ причин, приводящих к переформированию
русла реки, довольно сложен и обычно не бывает исчерпывающим.
Рассмотрим
влияние точности измерения прогиба трубопровода в траншее (приближенного
описания упругой линии трубопровода) на его НДС.
При изменении
положения трубопровода в траншее помимо напряжений, связанных с давлением и
температурой потока возникают изгибные напряжения, величина которых
определяется прогибом трубы. При этом возможна инструментальная погрешность
определения истинного положения трубы. Аналогичная погрешность возникает при
использовании упрощенных моделей, описывающих напряжение трубы, вызванное ее
изгибом.
Перемещение
трубопровода в упругой зоне деформации в соответствии с описывается упрощенным
вариантом уравнения движения. При этом считается, что :
- процесс деформации трубы
не зависит от времени или эта зависимость носит дискретный характер;
-давление, скорость и масса
потока в единице длины трубы не зависят от пространственных координат:
- не учитываются нагрузки,
зависящие от перемещения трубы и ее производных.
При указанных упрощениях
и постоянном температурном перепаде уравнение движения трубопровода имеет вид:
C
× у = f (s) (1)
Где
у –вектор перемещения трубопровода, s – координата, направленная вдоль оси
трубопровода, С – в общем случае матрица жесткости трубопровода, f (s) – в
общем случае вектор внешней нагрузки.
Внешняя нагрузка делится
на
- распределенную по
внутренней поверхности трубы осесимметричную нагрузку, вызванную давлением
транспортируемого потока;
- распределенную по
внешней поверхности трубы нагрузку, приводящую к изгибу с числом волн, равном
единице, по полярному углу в цилиндрической системы координат.
Распределенную по
внутренней поверхности нагрузка определяется характеристиками технологического
процесса и поэтому контролируема. Распределенная по внешней поверхности нагрузка
связана, в частности, с условиями эксплуатации, которые изменяются случайным
образом. Именно эта нагрузка приводит к изгибу трубы, поэтому изменение условий
эксплуатации может привести к изменению НДС трубы.
В таблице 2.1
представлены фактические отметки 2000 и 2001 года, а также разница высотных
отметок
Таблица 2.1
|
N сечения
|
Фактические отметки 2000
|
Фактические отметки 2001
|
Y1- Y2, (М)
|
|
X1, (М)
|
Y1, (М)
|
Z1, (М)
|
X2, (М)
|
Y2, (М)
|
Z2,(М)
|
|
1
|
0
|
98.7
|
0
|
0
|
98.7
|
0
|
0
|
|
2
|
6
|
98.3
|
0
|
6
|
98.256
|
0
|
0.0443
|
|
3
|
14
|
97.9
|
0
|
14
|
97.794
|
0
|
0.106
|
|
4
|
20
|
97.8
|
0
|
20
|
97.652
|
0
|
0.1483
|
|
5
|
23
|
97.8
|
0
|
23
|
97.638
|
0
|
0.1622
|
|
6
|
28
|
97.9
|
0
|
28
|
97.74
|
0
|
0.16
|
|
7
|
31
|
98
|
0
|
31
|
97.861
|
0
|
0.1393
|
|
8
|
34
|
98.2
|
0
|
34
|
98.092
|
0
|
0.1082
|
|
9
|
38
|
98.3
|
0
|
38
|
98.248
|
0
|
0.052
|
|
10
|
41
|
98.7
|
0
|
41
|
98.686
|
0
|
0.0138
|
|
11
|
42
|
98.9
|
0
|
42
|
98.9
|
0
|
0
|
По данным таблицы строим
график положения трубы в 2000 и в2001годах
Y,м
N
сечения
В результате
перемещения возникают напряжения, максимальное из которых равно 279,4 МПа.
Рассмотрим
причины которые могли привести к данному перемещению.
Для
проверки возможности расчета напряжений изгиба, вызванных положением трубы,
были использованы отдельные результаты проведенных измерений. Расчет положения
упругой линии данного трубопровода проведен при следующих допущениях:
- граничные условия в
сечении 1 и 11 соответствуют идеальному шарниру;
-
между сечениями 1 и 11 отсутствует какое-либо воздействие на внешнюю
поверхность трубы.
Предположим
что это температурные деформации.
В
таблице 2.2 представлены: реальное перемещение газопровода по вертикали,
вертикальные перемещения от перепада температуры на +200С
Таблица
2.2
|
N сечения
|
Реальное перемещение
|
Перемещение от перепада температуры
|
|
1
|
0
|
0
|
|
2
|
-0.0443
|
-0.0222
|
|
3
|
-0.106
|
-0.0451
|
|
4
|
-0.1483
|
-0.0524
|
|
5
|
-0.1622
|
-0.0524
|
|
6
|
-0.16
|
-0.0469
|
|
7
|
-0.193
|
-0.0403
|
|
8
|
-0.1082н-0.0312
|
|
|
9
|
-0.052
|
-0.0166
|
|
10
|
-0.0138
|
-0.0043
|
|
11
|
0
|
0
|
По данным таблицы делаем вывод: данное
перемещение не может быть результатом перепада температур.
Данный
результат является следствием перемещения узлов 1 и 11 на встречу друг другу на
расстояние 17,4 мм каждый.
В
результате такого перемещения узлы получают перемещения которые представлены в
таблице 2.3
Таблица2.3
|
N сечения
|
Реальное перемещение
|
Перемещение от сдвига крайних узлов
|
|
1
|
0
|
0
|
|
2
|
-0.0443
|
-0.0764
|
|
3
|
-0.106
|
-0.1550
|
|
4
|
-0.1483
|
-0.1800
|
|
5
|
-0.1622
|
-0.1800
|
|
6
|
-0.16
|
-0.16
|
|
7
|
-0.1393
|
-0.1380
|
|
8
|
-0.1082
|
-0.1070
|
|
9
|
-0.052
|
-0.0569
|
|
10
|
-0.0138
|
-0.0146
|
|
11
|
0
|
0
|
В результате
перемещения крайних узлов в трубопроводе возникают осевые напряжения, которые
колеблются по длине рассматриваемого участка в диапазоне от 42,38 до 43,17 МПа,
а также напряжение изгиба, максимальное значение которого равно 142,86 МПа.
Таким образом суммарные осевые напряжения равны 186,03 МПа.
Произведем расчет на
прочность.
Рассчитаем на прочность
переход при реальном перемещении.
Продольные перемещения:
где
;
Кольцевые перемещения
где:
;
Проверка прочности
где
Из этого следует, что
условия прочности не выполняются.
Соотношение продольных и
кольцевых напряжений:
Рассчитаем на прочность
переход при идеальном перемещении.
Продольные перемещения:
где
;
- сумарные осевые напряжения
(
)
Кольцевые перемещения
где
;
;
Проверка прочности
где
Из этого следует, что
условия прочности выполняются.
Соотношение продольных и
кольцевых напряжений:
По соотношению продольных и
кольцевых напряжений видно, что схема НДС отличается от принятой в СниП
Принципиальное отличие
значений напряжений изгиба, рассчитанных для реального и идеализированного
положений упругой линии, связано с сопротивлением грунта, которое обусловило
различное положение трубопровода, и погрешности в измерениях. Здесь необходимо
отметить, что максимальное различие в измеренном реальном положении трубопровода
и рассчитанном по упрощенной схеме составила около 4,9 см. Таким образом, при оценке изменения НДС участка трубопровода, связанного с изменением его
положения в траншее, погрешности измерений могут исказить реальное НДС трубы,
что не позволит оценить действительную работоспособность участка и прогнозировать
его изменение во времени.
Выводы
1)
Напряжения найденные для реальных деформаций и напряжения найденные для
идеальной деформации различаются на 93,37 МПа, при этом суммарное напряжение,
возникающие в трубопроводе при реальных деформациях, требует мер по его
снижению (реконструкции участка).
2)
Напряжения найденные для идеально упругой линии требуют контроля, но не
требуют немедленной реконструкции.
3)
Данная ситуация не регламентирована однозначно СНИП и требует от
обслуживающего персонала принятия ответственных решений.
4)
Для принятия решений необходима оценка причин деформации (в том числе по
поводу повтора аналогичных ситуаций).
5)
Анализ причин возможной деформации говорит о том, что уровень НДС
идеальный. Поэтому данный участок требует контроля своего положения но не
требует немедленной реконструкции.
3. контрольно-измерительные
приборы и автоматика
3.1.
Электрохимическая
защита от
коррозии внутриплощадочных коммуникаций КС и шлейфов
Защитный потенциал
подземных коммуникаций КС создается с использованием одной установки катодной защиты
(УКЗ). Установка катодной защиты оборудуется преобразователями с дистанционным
управлением и автоматическим регулированием "Парсек ИПЕ-1,2", устанавливаемыми
в здании КТП АВО газа. Автоматический ввод резерва обеспечивается блоком БАВР
фирмы "Парсек".
Для
обеспечения штатного режима телеуправления и телеконтроля установкой катодной
защиты применяется блок управления БУ-2 и измерительные преобразователи БИ
фирмы "Парсек", размещаемые в месте установки УКЗ и в точке дренажа.
Величина
защитного тока обеспечивается регулировкой тока анодной цепи заземлителя через
блок типа БДРМ-25-4-40-У1.
На
газопроводе, от преобразователя до точки дренажа прокладывается кабель марки
ВВГ2х25 мм2. Измерительные линии выполняются кабелем марки ВВГ2х6
мм.
Для
равномерного распределения защитного потенциала на площадке и контроля за ним
предусмотрены кабельные перемычки через блоки БДРМ-25-2-11-У1 с контрольно-измерительными
пунктами, оборудованными электродами сравнения длительного действия типа ЭНЕС с
датчиками электрохимического потенциала.
Трубопроводы
дизельного топлива, а также отдельные стальные фрагменты водоводов и
канализации защищаются протекторами ПМ-20У.
Для
организации независимой системы ЭХЗ КС на входных и выходных шлейфах
предусматривается установка изолирующих вставок, зашунтированных регулируемыми
кабельными перемычками.
Катодная поляризация шлейфов осуществляется от
установки катодной защиты расположенной на ПК37+75 км магистрального газопровода Ямал-Европа при помощи кабельных перемычек с блоками совместной защиты
типа БДРМ расположенных на контрольно-измерительных колонках.
3.2.
Электрические
измерения и контроль
При защите металлических сооружений от подземной
коррозии электрические измерения и контроль играют большое значение. Электроизмерительные
работы на подземных трубопроводах выполняют с целью определения эффективности
действия электрохимической защиты и опасности возникновения коррозии. Объем и
состав измерений на КС «Торжокская» устанавливает Торжокское ЛПУ МГ, исходя из
требований ГОСТ Р 51164, ПТЭ МГ, ГОСТ 9602 и руководства по эксплуатации систем
противокоррозионной защиты трубопроводов. Для измерения напряжения и тока при
электроизмерительных работах используют цифровые и стрелочные показывающие
приборы, а также регистрирующие приборы. При работах, связанных с измерением
потенциала сооружения, применяются вольтметры с входным сопротивлением не менее
10 Мом. Рекомендуемые приборы для измерения потенциалов, напряжения и силы
тока: ПКО, ПКИ, мультиметры 43313, Ц 43101, Ц 4354, ампервольтметр ЭВ – 2234,
цифровые регистраторы РАД – 256, самопишущие микроампер-милливольтметрфы Н 399
и ЭН 3001. Удельное электросопротивление грунта и сопротивление растеканию тока
заземлителей определяют с помощью измерительных приборов: Ф – 4103-М1, М 416,
ИС 3-1.
3.2.1 Контрольно – измерительные пункты.
Для осуществления контроля защищенности трубопровода
от коррозии предусматриваются контрольно-измерительные пункты (КИП).
КИП сооружают:
-
в местах пересечения с дорогами;
-
у крановых площадок;
-
в местах подключения дренажного
кабеля к сооружению;
-
в местах установки изолирующих
фланцевых соединений;
-
в местах пересечения с преградами
подземных трубопроводов.
Рис. 3.1 Схема контрольно-измерительного пункта
Контрольно-измерительный пункт состоит из колонки
(стальная труба или пластиковая стойка), на клеммную колодку которой выведен
контрольный провод (вывод) от трубы. Для измерения поляризационного потенциала
в КИП устанавливают долгодействующий электрод сравнения со вспомогательным
электродом. Провода от электродов выводят на клеммную панель колонки.
Контрольный провод КИП для УКЗ приваривают к трубе на расстоянии не менее трех
диаметров от точки приварки дренажного кабеля. Контрольные провода от трубы,
измерительных и вспомогательных электродов и других объектов рекомендуется
маркировать следующим образом:
Т – труба;
П – патрон (защитный кожух);
С – постороннее сооружение (трубопровод);
М – магниевый протектор;
Э – ЭНЕС;
В – вспомогательный электрод;
И – вывод для измерения тока в трубе.
3.2.2 Стационарный неполяризующийся долгодействующий
электрод сравнения типа ЭНЕС с датчиком потенциала
При проведении электроизмерительных работ используют
неполяризующиеся медносульфатные электроды. Стационарный медносульфатный
долгодействующий электрод с датчиком потенциала (вспомогательным электродом)
используют как электрод сравнения при измерении разности потенциалов труба –
земля и поляризационного потенциала, а также в качестве датчика в цепи блока
управления автоматических преобразователей.
Рис. 3.2 Долгодействующий неполяризующийся электрод
сравнения со вспомогательным электродом
Долгодействующий электрод типа ЭНЕС состоит из
пластмассового корпуса, в верхнюю часть которого ввинчена пробка со стержнем из
красной меди марки М1-Т-КР 7. Дно электрода закрыто ионообменной мембраной и
пористой керамической диафрагмой. Полость электрода заполняют насыщенным
раствором медного купороса. Датчик потенциала (вспомогательный электрод)
представляет собой квадратную пластину размером 25×25 мм из легированной
стали марки 1Х18Н9Т, вмонтированную в пластмассовое гнездо. Медный стержень и
вспомогательный электрод снабжены проводами длиной не менее 2 м. Габаритные размеры электрода: высота – 110 мм, диаметр – 120 мм.
3.3 Измерение
поляризационного потенциала
Поляризационный потенциал (электрохимический
потенциал) определяет кинетику электродный реакций и характеризует защищенность
сооружения от коррозии. Пространственно он локализован в области двойного слоя
на границе металл – электролит.
Рис. 3.3 Граница металл-грунт и эквивалентная
электрическая схема катодной защиты
Метод отключения тока поляризации вспомогательного
электрода заключается в измерении потенциала отключения вспомогательного образца-датчика
(имитирующего дефект изоляции трубы) в момент его отключения от трубы.
Рис. 3.4 Измерение поляризационного потенциала методом
отключения тока поляризации вспомогательного электрода. Вспомогательный
электрод
Коммутирующее устройство состоит из накопительного
конденсатора емкостью 4,7 мкФ и реле, обеспечивающего попеременную коммутацию
цепей «датчик – трубопровод» и «датчик – электрод сравнения». Этот метод не требует
отключения системы ЭХЗ. Для измерения применяют приборы: ПКО, ПКИ-02,
мультиметр 43313.1, которые совмещают в себе вольтметр и коммутирующее
устройство. Продолжительность коммутации цепи «датчик электрод сравнения» не
менее 5 мс, продолжительность коммутации цепи «датчик - трубопровод» не менее
50 мс. Вспомогательный электрод представляет собой стальную пластину
определенного размера. Одну из сторон пластины изолируют. Плоскость датчика при
установке должна быть ориентирована перпендикулярно оси трубы. Важно, чтобы
датчик был максимально приближен к трубе. При проведении измерений по этому
методу в измеряемую величину всегда входит и падение напряжения (градиент поля
токов катодной защиты) между электродом сравнения и датчиком. Поэтому
необходимо, чтобы электрод сравнения был максимально приближен к датчику, но
при этом не экранировал его.
Применение метода отключения вспомогательного образца
ограничивается удельным сопротивлением грунта в месте измерения. В высокоомных
грунтах из-за малой силы тока, протекающего через датчик, поляризация его
протекает очень медленно, и получить достоверные данные практически невозможно.
Еще одним ограничением применения этого метода является уровень переменной
составляющей разности потенциала труба – земля, который особенно велик у точек
дренажа УКЗ. Величину переменной составляющей можно оценить тем же
мультиметром; если переменная составляющая превышает 8В, то измерения этим
методом проводить нельзя, так как возможны значительные погрешности в
результатах измерений.
На электромонтажном щитке КИП должны быть устройства
для замыкания проводов от вспомогательного электрода и контрольного вывода.
Вспомогательный электрод должен быть постоянно соединён с защищаемым
трубопроводом и его отключают только на время измерений. Схемы измерения
поляризационного потенциала в контрольно – измерительном пункте представлены на
рисунке 15.
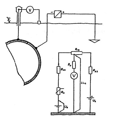
Рис. 3.5 Измерение поляризационного потенциала в
специальных контрольно-измерительных пунктах, оборудованных долгодействующим
электродом сравнения и вспомогательным электродом
IV. Безопасность и экологичность проектных решений
4.1
Выполнение санитарных и противопожарных норм проектирования. Правила техники
безопасности
Технологическая часть проекта КС была разработана в соответствии с
действующими нормами и правилами по взрывной, взрывопожарной и пожарной
безопасности, а также правил пожарной безопасности ППВБ-84 с выполнением
следующих мероприятий:
·
противопожарные разрывы между зданиями и сооружениями на
территории компрессорных станций, выдержаны в соответствии с правилами норм и
СНиП;
·
на территории площадок КС проектом предусмотрен кольцевой проезд
вокруг технической зоны;
·
предусмотрен запасной выезд с территории КС;
·
внутриплощадочные проезды обеспечивают подъезд к основным зданиям
как производственного, так и вспомогательного назначения, в случае
возникновения пожара;
·
на территории площадок КС построены пожарный водопровод, а для
защиты зданий и сооружений от грозовых ударов молнии, предусмотрена установка
молниеотводов;
·
выполнены меры по расположению оборудования и ширине проходов;
·
предусмотрена тепловая изоляция нагретых поверхностей;
·
территория площадок по периметру ограждена металлическими
сетчатыми панелями, закрепленными на железобетонных столбах, высотой 2,15 м (серии 3.017-1);
·
по периметру территории площадок, с внутренней стороны ограды,
предусматривается охранная зона пятиметровой ширины с устройством периметральной
охранной сигнализации;
·
освещение территории площадок в ночное время осуществляется светильниками,
установленными на прожекторных мачтах.
4.1.1 Основные производственные
опасности и вредности на газопроводе
По эксплуатируемому
газопроводу перекачивается газ следующего состава
|
Компонент
|
CH4
|
C2H6
|
CO2
|
N2
|
C4H10
|
|
Объемное содержание
|
97,75
|
0,8
|
0,3
|
0,8
|
0,35
|
Основной
компонент газа - метан, не токсичен, но при больших концентрациях в воздухе вызывает
удушье. Температура самовоспламенения 537 °С, минимальная энергия поджигающей искры
0,28 МПа. Пределы воспламенения в воздухе 5,3 % и 15 % по объему воздуха.
Токсичность газу придает метанол, который используется как средство борьбы с
образованием кристаллогидратных пробок в газопроводе.
В
приборах КИПа используется ртуть, которая является ферментным ядом. ПДК ртути в
воздухе рабочей зоны 0,01мг/м3.
В
воздухе рабочей зоны может так же присутствовать окись углерода, которая
является кровяным ядом. ПДК в воздухе рабочей зоны 20 мг/м3.
Газотурбинные установки при работе создают шум, экспериментальный уровень
которого составляет 96 - 100 дБА, что значительно превышает допустимые уровни
звука на рабочих местах. Наличие вибрации от газотурбинных установок (ГТУ),
компрессоров, а также высасывающего и нагнетательного трубопровода с уровнем
шума 40 дБА может вызывать виброболезнь у работающих.
4.1.2
Мероприятия по технике безопасности
Оборудование
КС отвечает требованиям, обеспечивающим надежную и безопасную работу всей КС в
целом. КС имеет отключающую арматуру от магистрального газопровода на входе и
выходе КС, а также на входе и выходе каждого ГПА, что позволяет быстро
прекратить подачу газа на КС при возникновении аварийной ситуации. Эта арматура
снабжена дистанционным и ручным управлением. Для надежной и безаварийной эксплуатации
нагнетателей предусмотрена установка защитной разметки на всасывающем
трубопроводе, предохраняющая колесо работающего нагнетателя от попадания в него
посторонних предметов.
В
здании компрессорного цеха предусматривается разделительная стенка между
помещением турбины и нагнетателя. Помещения машзала - категории «Г» по пожарной
опасности. Помещение нагнетателя категории «Г» по пожарной опасности, класс взрыво-
и пожароопасности по ПУЭ-«В-1а». В помещениях зданий сооружений КС установлены пожарные
извещатели автоматического и ручного действия.
Предусмотрена
установка сигнализатора взрывоопасной концентрации газа в помещениях с выдачей
показаний сигнала в операторную и включение аварийно-вытяжной вентиляции.
Помещение машзала нагнетателей было оборудовано необходимыми подъемно транспортными
механизмами, обеспечивающими нормальный ремонт и обслуживание ГПА. Края
нагнетательного зала - во взрывобезопасном исполнении.
Все
электрооборудование во взрывоопасных помещениях и наружных установках
применяются во взрывобезопасном исполнении.
Оборудование
КС имеет необходимые средства контроля, автоматики, предохранительную
аппаратуру (сборные и обратные краны, обеспечивающие надежность, безаварийность
работы и безопасность эксплуатации, всех систем).
Предусмотрен
аварийный останов компрессорной станции и всего газа с технологических
коммуникаций от одной кнопки.
Также
выполнены требования следующих норм и правил:
1.
СНиП III-42-80 «Магистральные трубопроводы. Правила производства и приемки
работ».
2.
СНиП 2.05.06-85 «Магистральные газопроводы. Нормы проектирования».
3.
«Стандартные нормы проектирования промышленных предприятий» СП 245-71.
4.
СНиП 11-90-81 «Производственные здания промышленных предприятий».
5.
«Инструкция по проектированию силового и осветительного оборудования
промышленных предприятий» СН 357-77.
6.
«Правила устройства электроустановок» ПУЭ-87.
7.
ССБТ ГОСТ 12.1.005-88. «Воздух рабочей зоны. Общие санитарно-гигиенические
требования».
8.
«Правила безопасности в газовом хозяйстве» 1980 г.
9.
«Правила технической эксплуатации магистральных газопроводов» 1982 г.
10.
«Правила устройства и безопасной работы сосудов, работающих под давлением» 1971 г.
11.
ССБТ ГОСТ 12.1.003-76 «Шум, общие требования безопасности».
12.
СНиП 11-2-80. «Противопожарные нормы проектирования зданий и сооружений».
13.
ССБТ ГОСТ 12.4.026-76. «Цвета сигнальные и знаки безопасности».
14.
ССБТ ГОСТ 12.2.020-76. «Взрывозащищенное электрооборудование».
4.1.3
Технические требования к оборудованию и рабочему инструменту, гарантирующие
безопасность труда
Предусмотрены
меры безопасности обслуживания оборудования:
•
установка кожухов на движущихся частях и деталях оборудования;
•
ограждения на переходных мостиках и площадках обслуживания арматуры и
оборудования.
На
КС взрывоопасные цехи и установки имеют защиту от прямых попаданий молнии и
вторичных ее проявлений.
Для
КС сохраняют свое значение все правила техники безопасности, обязательные при
эксплуатации магистральных газопроводов, а именно:
•
в период эксплуатации компрессорного цеха следить за герметичностью маслопроводов
и газопроводов, исправностью электропроводки, исправностью газоанализаторов и
др.;
•
запрещается хранить в цехе легковоспламеняющиеся средства, промасленные
обтирочные материалы;
•
запрещаются любого вида огневые работы в зале нагнетателей при наличии газа в
коммуникациях КС;
•
необходимо своевременно производить ремонты агрегатов.
При
ремонте агрегаты отключаются от технологических трубопроводов и электропитания,
согласно ПТЭ компрессорных станций.
Инструмент,
применяемый при работе в помещении нагнетателя, должен быть обмеднен.
Территория
КС, помещения и установки оборудованы полным комплексом противопожарного инвентаря
и необходимыми знаками безопасности (ОСТ 51.55-79 «Знаки безопасности для
предприятий газовой промышленности»).
Противопожарный
инвентарь содержится в исправном состоянии и используется только по назначению.
Также
предусмотрены мероприятия по борьбе с шумом на КС.
Основными
источниками шума на КС являются нагнетатели и газовая обвязка нагнетателей.
Снижение
уровня шума до санитарных норм обеспечивается в соответствии с технодокументацией
предприятий-разработчиков газоперекачивающих агрегатов.
Для
шумопоглащения было предусмотрено следующее:
•
звукоизоляция трубопроводов газовой обвязки нагнетателей вибродемпфирующим материалом
с последующей установкой минераловатных матов и окожушиванием алюминиевыми
листами;
•
установка вентиляторов и насосов выполнена на виброизолирующих основаниях и
соединением их с примыкающими трубопроводами (воздухопроводами) при помощи
гибких виброизолирующих вставок;
•
дополнительным экраном от шума служит разделительная стенка и непосредственно
стеновые панели компрессорного цеха;
•
для обеспечения безопасности людей и сохранности зданий и сооружений, а также
оборудования и материалов, находящихся в них от разрушения, взрывов при прямых
ударах молнии, было предусмотрена молниезащита зданий и сооружений в
соответствии с «Указаниями по проектированию и устройству зданий и сооружений.»
- СН 305-77.
Основное
оборудование газопровода:
•
трубы 1420х16,5 мм из стали 17Г2СФ на рабочее давление 7,5 МПа;
•
ГТК-10;
•
пылеуловители циклонные ГП-144 из стали 17Г2С с рабочим давлением 7,5 МПа;
•
аппараты воздушного охлаждения типа 2АВГ-75.
При
выборе этого оборудования учтены требования охраны труда. Прочность газопровода
обеспечена за счет предэксплуатационных испытаний. Наружная температура
изоляции толщиной 50 мм не превышает 45 °С.
Трубопроводы
обвязки нагнетателей звукоизолируются посредствам покрытия труб шумопоглащающей
мастикой в 1 слой с последующим окожушиванием алюминиевыми листами, что снижает
уровень шума на 20-25 дБА.
Защита
газопровода от почвенной коррозии:
а)
пассивная - полимерной пленкой;
б)
активная - с помощью СКЗ.
Установлена
АСУ ТП каждой КС, что обеспечивает соблюдение оптимальных режимов работы и
безопасность труда.
Система
управления кранами обвязки КЦ и охранными кранами реализуется на основе
комплекса «Вега -2».
Система
защиты КЦ от загазованности «Газ-1М» обеспечивает:
• выдачу
сигнала на включение аварийной вытяжной вентиляции при концентрации газа в
воздухе цеха выше 0,5%;
•
предупредительную сигнализацию в ДПКС при достижении концентрации газа в
воздухе 0,5%.
Вспомогательные
установки КЦ оснащены локальными системами автоматизации, обеспечивающими подачу
обобщающего сигнала об их неисправности в ДПКС.
Трубопроводы
внутри КС окрашены в функциональные цвета:
•
желтый - для горючего газа;
•
темно-зеленый - для технической воды;
•
коричневый - для масла;
•
голубой - для воздуха.
Водоснабжение
каждой КС обеспечивают 2 скважины с погружными насосами ЭЦВ-16-160.
Вокруг
каждой скважины установлена зона санитарной охраны строгого режима - 30 м; зона ограничения строительства 300 м.
На
промплощадках КС образуется две категории сточных вод:
•
хозяйственно-бытовые;
•
сточные воды, загрязненные маслом.
Для
полной биологической очистки сточных вод приняты очистные сооружения
производительностью 50 м3 /сутки. Очистка осуществляется методом
полного окисления органических загрязнений с помощью микроорганизмов при
постоянной аэрации. Существует пруд доочистки, после которого биологически
очищенные стоки поступают в контактный резервуар, где происходит
обеззараживание хлором в течение 1 часа. Внутриплощадочные сети канализации
проложены подземно из асбоцементных труб и имеют через каждые 30-40 метров смотровые колодцы.
4.1.4
Размещение оборудования и организация рабочего места
Относительное
расположение каждой КС выбрано с учетом господствующих по местной «розе»
ветров. КС располагается с подветренной стороны жилого поселка и отделена от
него санитарно-защитной зоной шириной не менее 700 м. На площадке КС имеются производственная и служебно-вспомогательная зоны.
В
состав производственной зоны входят здания и сооружения, которые непосредственно
связаны с технологическим процессом компремирования газа. Эта зона размещена со
стороны магистрального газопровода 250-400 м. от его оси.
В
состав служебно-вспомогательной зоны входят:
административно-хозяйственные
здания, склады, объекты линейно-производственного управления. Эта зона
размещена со стороны автодороги.
Все
сооружения технологического назначения выполняются на открытых площадках.
Здание
КЦ каркасно-панельное из сборного железобетонного каркаса и легкобетонных панелей.
Категория по огнестойкости -11.
4.1.5
Средства и оборудование пожаротушения
Основными
огнетушащими средствами на КС является вода и воздушно-механическая пена. Их
выбор основан на том, что они дешевы и эффективны.
Для
ликвидации загорания во всех рабочих помещениях предусмотрены на пожарных щитах
первичные средства пожаротушения: огнетушители ОХП-10, ОУ-5; песок в ящиках на 0,5 м3, лопата, ведра. На площадках КС расположено также устройство противопожарного
водопровода с напором 10 метров водяного столба для наружного пожаротушения
зданий непосредственно от пожарных щитов через каждые 100 м, а также устройство систем внутреннего противопожарного водопровода во всех помещениях с
пожарными кранами.
На
каждой КС установлены по два железобетонных резервуара по 250 м3 для пожарного запаса воды. При включении пожарных насосов, хозяйственно-питьевые
насосы отключены. Включение пожарных насосов предусмотрено:
•
автоматически от комбинированных тепловых и дымовых извещателей КИ-1;
•
автоматически от самого низкого уровня воды в гидравлическом боксе;
•
дистанционно от кнопок, установленных у всех пожарных кранов, у пожарных
гидрокранов, а также в диспетчерском пункте и по месту в насосной.
Для
сигнализации о возникновении пожара в производственно-бытовых и складских помещениях,
эксплуатируемых КС, установлены пожарные извещатели автоматического действия
АТИМ-2; включаемые в охранно-пожарный концентратор «Топаз».
4.1.6.
Средства индивидуальной защиты работающих.
Машинист
имеет:
1)
костюм х/б - на 12 месяцев;
2)
ботинки кожаные или сапоги кирзовые - на 12 месяцев;
3)
рукавицы комбинированные - на 2 месяца.
Дежурные
средства защиты:
1.
Противошумы ВЦНИИОСТ-2М - по 6 шт.;
2.
Противогазы ШС-7; ПШ-1; ПШ-2; ПШ-3; КИП-5; КИП-7;
КИП-8
- по 3 шт.;
3.
Противопылевые респираторы Р-12; РКК-1; РКК-2М; РВА-1 - по 4 шт.;
4.
Диэлектрические перчатки, боты, коврики, подставки - по 6 шт.;
5.
Защитные очки, светофильтры Г-1; Г-2; Г-3; Э-1; Э-2; Э-3 -по 6 шт.;
6.
Защитные очки ЗП-90 - по 4 шт.;
7.
Предохранительные пояса - 3 шт.
Стирку,
сушку, чистку одежды производят на каждой КС, для чего предусмотрены
специальные машины.
4.1.7
Приемы безопасной работы, научная организация труда
При
эксплуатации КС главное внимание уделяется исправному состоянию и нормальной
работе установленного оборудования и трубопроводов.
Трубопроводы
на период ремонта отключаются от действующих коммуникаций, газ стравливается, и
ставятся заглушки, рассчитанные на наибольшее давление.
Концентрация
газа в воздухе не должна превышать 0,7 %.
Безопасность
труда на газопроводе обеспечивается, прежде всего, обучением всех работающих
правилам охраны труда и безопасным методам работы которое проводится поэтапно:
•
вводный инструктаж при поступлении на работу;
•
целевое обучение по охране труда (не менее 10 ч.);
•
инструктаж на рабочем месте;
•
проверка знаний и допуск к самостоятельной работе;
•
повторный инструктаж;
•
массовая пропаганда.
На
КС предусмотрена инженерная должность по охране труда. Ответственным за
состояние охраны труда является главный инженер, а в цехах и на участках,
соответственно, начальники и мастера.
Основные
задачи службы по охране труда:
•
организация работы по созданию безопасных и здоровых условий труда;
•
осуществление контроля за работой производственных подразделений по улучшению
условий труда;
•
предупреждение травматизма и профзаболеваний на основе широкого внедрения
достижений науки и техники;
Мероприятия
по научной организации труда, повышающие уровень безопасности труда:
•
совмещение профессий, специальностей и функций рабочих, инженерно-технических
работников, служащих;
•
организация обслуживания нескольких объектов одной бригадой;
•
паспортизация цехов, оборудования.
4.1.8
Комплекс мер по охране окружающей среды
В
целях бережного и рационального использования природных ландшафтов в районе
эксплуатации комплекса площадок КС, предусматривается ряд мер, направленных на
сохранение почвенно-грунтового режима, растительности и предотвращения развития
эрозионных процессов.
Компактность
площадок, а также размещение площадки КС, базы заказчика и площадки теплиц в
едином комплексе с учетом рационального использования транспортной сети и
коммуникаций, способствует минимальному отводу земель в постоянное пользование,
а, следовательно, минимальному изъятию сельскохозяйственных угодий, сохранности
гослесфонда.
Меры
по охране окружающей среды включают в себя:
1.
По трассам подъездных автодорог в основании землеполотна до начала основных
земляных работ снимался плодородный слой, укладываемый во временные отвалы. Во избежание
выветривания плодородного слоя, поверхность временного отвала при длительном
хранении засевалась быстрорастущими травами.
2. Излишний
растительный грунт вывозился на улучшение малопродуктивных земель.
3.
При расположении площадок и автодорог в лесу вырубка леса производился в
строгом соответствии с нормами отвода земель промплощадок и автомобильных
дорог. На площадках лесных массивов, занятых во временное пользование, (противопожарные
охранные зоны), производилась вырубка леса с последующей корчевкой пней,
засыпкой ям и планировкой территории.
4. Во
избежание размыва, сброс поверхностных вод с территории площадок производится
по лоткам проезжей части внутриплощадочных дорог со сбросом в пониженные места
рельефа, за пределы площадок с укреплением выходов.
Отвод
поверхностных вод от землеполотна автодорог производится по кюветам со сбросом
воды в пониженные места рельефа. Место сброса воды в кювет укрепляется посевом
многолетних трав или щебневанием, в зависимости от уклонов, скорости течения
вод.
В зоне СПК КС предусматривается посадка лиственных пород деревьев и
кустарников. На свободной от застройки территории площадок установлены газоны.
Откосы площадок и землеполотна дорог были укреплены посевами семян многолетних
трав по слою растительного грунта
4.2 Характеристика объектов с точки зрения влияния на окружающую среду
При
эксплуатации технологического оборудования и трубопроводов КС возможны два типа
воздействия на окружающую среду:
•
загрязнение атмосферы природным газом, газовым конденсатом;
•
шумовые загрязнения воздушной среды.
Источником
шума на КС являются работающие ГПА и надземные участки газопроводов.
Утечки
масла из поддонов агрегатов поступают в накопительную емкость с последующей
подачей на склад ГСМ для дальнейшей регенерации. Конденсат от пылеуловителей
поступает в емкости сбора конденсата и далее передвижными средствами вывозятся
в места согласованные с местными органами санэпидемстанции. Система сбора
конденсата и подачи - слива с ГПА выполняются закрытым способом. Емкости сбора
снабжены указателями уровня.
На
площадках эксплуатируемых компрессорных станций, объектов инфраструктуры,
основные технологические процессы осуществляются с ограничением использования
воды.
Вода
расходуется в основном, на хозяйственно-питьевые нужды обслуживающего
персонала, пожаротушение, на производственные нужды (подпитки тепловых сетей
оборотной системы мойки машин) полив зеленых насаждений.
Источниками
водоснабжения эксплуатируемых КС Ухта, КС Синдор и других является
водозабор подземных вод о трех разведочно-эксплутационных скважин (2 рабочие, 1
резервная) на каждой КС.
Оголовки
скважин оборудуются блок-боксами насосных станций над артскважинами ТП 1684-1.4
с насосами ЭЦВ5-4-125.
Согласно "Положению
о порядке проектирования и эксплуатации зон санитарной охраны источников
водоснабжения" №2640-82 проектируется зона санитарной охраны в составе 3-х
поясов.
Зона
первого пояса санитарной охраны была принята 60 х 60 метров.
Границы
второго и третьего поясов согласно "Рекомендаций по гидрологическим
расчетам для определения второго и третьего поясов зон санитарной охраны
подземных источников хозяйственно-питьевого водоснабжения ВНИИ и ВаДГГО
Госстрой СССР, были рассчитаны на стадии рабочей документации.
Расходы
воды на хоз-питьевые нужды рабочих и служащих приняты согласно действующим
нормам. Расходы воды на производственные нужды приняты по заданиям отделов
технологов.
Расчетный
расход воды на пожаротушение принят 25 л/сек. Расход воды на хозяйственно-питьевые
и душевые нужды работающих составит 29.65 м3 /сутки на производственные нужды - 50.5 м3 /сутки. Суммарный расчетный расход воды на
каждой площадке КС составит 85.15 м3 /сутки.
Учет
расхода воды предусматривается водомерными узлами устанавливаемыми в б/б над
артскважинами.
Сточные
воды образующиеся на площадках КС, инфраструктуры, теплицах по характеру
загрязнений относятся к хозяйственно-бытовым.
Сточные
воды с площадок КС и прилегающих к ним объектов вспомогательного назначения по
самотечной сети канализации поступают на канализационные очистные сооружения
полной биологической очистки с последующей их очисткой на песчаных фильтрах
производительностью 50 м3 /сутки по ТП блок-бокс 1682.2-1 разработки
СПКБ ПИГОМ.
Концентрация
загрязнений сточных вод поступающих на очистные сооружения:
·
БПК -350 мг/л
·
взвешенных веществ -300 мг/л
·
рН -6-7
Концентрация
загрязнений после очистных сооружений:
·
БПКполн -406 мг/л
·
взвешенных веществ -5-6 мг/л
·
рН -6-7
Производственные
стоки предварительно очищаются на локальных очистных сооружениях и затем
поступают в сеть хоз-бытовой канализации.
Дождевые
воды с площадок КС отводятся поверхностным способом согласно проекту
вертикальной планировки по лоткам и кюветам в пониженные места рельефа.
Очищенные
и обеззараженные сточные воды отводятся с площадки КС Ухта по напорному
коллектору диаметром 100 мм из политиленовых труб в ближайшую балку,
расположенную на расстоянии 1.5 км северо-западнее КС, с площадки КС Синдор - в
овраг, расположенной в 1.6 км южнее площадки КС.
При
эксплуатации линейной части участка газопровода "Ухта-Торжок IV"
предусматриваются следующие мероприятия, обеспечивающие надежность эксплуатации
и охрану окружающей среды:
·
створы подводных переходов через водные преграды выбраны с учетом
требований рыбохозяйственных органов, направленных на сохранение рыбных запасов
водоемов;
·
линейная запорная арматура газопровода оснащена устройствами автоматического
аварийного закрытия, срабатывающими при резком падении давления газа;
·
на участках сельскохозяйственных угодий (пашня, луг, выгон)
предусматривается рекультивация плодородного слоя в полосе, используемой для
строительства газопровода и его временное, на период строительства, складирование
в отвалах с последующим восстановлением:
·
предусматривается укрепление размываемых берегов рек,
расположенных в зоне укладки газопровода.
Наиболее
ответственным для сохранения экологических условий районов прохождения трассы
являлся период строительства, во время которого должно было быть уделено
большое внимание на проведение продуманной системы мер по охране природы, а
именно:
·
обязательное сохранение границ территорий, отводимых для производства
строительно-монтажных работ;
·
тщательно производить рекультивацию земель, находящихся в
сельскохозяйственном производстве;
·
при расчистке полосы строительства от лесорастительности, рубку
леса и корчевку пней производить в строгом соответствии со строительными
нормами, складировано или захоронение пней производить в специально-отведенных
местах, согласованных землепользователями и местными органами охраны природы;
·
проезд строительной техники и механизмов осуществлять в пределах
рекультивируемой полосы, не допуская проезда вне ее;
·
строго придерживаться дорог и маршрутов перевозки грузов и
проезда автотранспортных средств, согласованных с местными организациями;
·
при производстве работ в сухой период года запрещается разведение
костров, предупреждая этим возможное возгорание леса;
·
запрещается мойка строительных машин и механизмов в водоемах. Для
этих целей должны применяться передвижные моечные механизмы;
·
запрещается слив горюче-смазочных материалов вне
специально-оборудованных для этой цели мест, где устраняется возможность их
попадания в почву;
·
при сварочных и других огневых работах выполнять требования по
противопожарной профилактике:
·
производство строительных работ по сооружению переходов через
реки рыбохозяйственного назначения только в периоды, согласованные с органами
рыбнадзора, с полным исключением периода нереста;
·
строго соблюдать требования местных органов охраны-природы по
сохранению флоры и фауны в районе строительства;
·
с целью уменьшения объема уносимого течением рек грунта при
разработке подводных траншей, приносящего ущерб рыбному хозяйству водоема,
грунт складируется на берегу в специально отведенных местах, согласованных с
землеустроительными местными органами.
Вопросы
охраны природы тесно связаны с надежностью конструктивных решений газопровода,
т.е. нарушения его прочности, проявляется в разрыве труб, резко сказывается на
экологических условиях.
На
данном участке предусмотрены меры по повышению надежности газопровода:
а)
введение повышенной категории для наиболее ответственных участков трассовых и
внутриплощадочных трубопроводов: на участках переходов через водные преграды в
русловой и пойменной части, подземные коммуникации, железные и автомобильные
дороги.
б)
проверка газопровода расчетом на:
·
прочность при подземной прокладке;
·
деформацию из условий температурного режима строительства;
·
прочность из условия упругого изгиба в горизонтальной и вертикальной
плоскостях, а также на прямолинейных участках;
·
оптимальную балластировку;
·
продольную устойчивость;
в)
усиление антикоррозионной защиты за счет использования новых типов изоляционных
материалов и покрытий, совершенствование защиты от блуждающих токов, установка
станций катодной защиты;
г)
укладка шлейфов КС в отдельных траншеях с обеспечением самокомпенсации;
д)
применение систем телемеханики, позволяющих дистанционно перекрыть аварийные
участки газопровода и определить утечки газа;
е)
охлаждение газа на выходе КС с помощью аппаратов воздушного охлаждения.
Охрана
воздушного бассейна от загрязнения
Вредными
выбросами в атмосферу на площадках КС являются продукты сгорания топливного
газа от котельных, природный газ и газовый конденсат.
Источники
газовыделения - продувочные свечи, неплотности соединения газопроводов и
оборудования, сбросы газа после предохранительных клапанов, дыхательные и
дымовые свечи, дымовые трубы.
В
соответствии с указаниями по расчету рассеивания в атмосферу вредных веществ,
содержащихся в выбросах предприятий, а также санитарными нормами проектирования
промышленных предприятий, высота дымовой котельной, продувочной свечи ГПА и
другие свечи КС определяются на основании результатов аэродинамического расчета
и проверяются расчетом рассеивания в атмосферу воздуха вредных веществ.
Котельная
является основным источником теплоснабжения. Дымовая труба котельной,
работающей на природном газе, рассчитывается с учетом выброса окислов азота.
Величина
максимально-приземной концентрации окислов азота при расчете рассеивания в
атмосферу вредных веществ, содержащихся в продуктах выбросов котельных
составляет 0.05 мг/м3. Предельно допустимая концентрация окислов
азота составляет Спо2 = 0.085 мг/м3.
Продувочные
свечи ГПА имеют высоту 12 м, другие свечи на КС - не менее 6 м. Выбросы в атмосферу воздуха, удаляемого системами вытяжной общеобменной вентиляции помещений с
производствами категорий А и Б предусматриваются на высоте не менее 1 м над высшей точкой кровли зданий.
В
целях ослабления вредного воздействия выбросов на воздушный бассейн
предусматривается:
·
применение эффективных конструкций пылеуловителей и фильтров,
обеспечивающих остаточное содержание пыли в выбросах ниже предельно-допустимых
концентраций;
·
выброс загрязненного воздуха местными вытяжными системами через
воздуховод с факельными насадками.
При
монтаже оборудования необходимо тщательно очищать поверхность стыкуемых
деталей, использовать уплотнительные прокладки.
Вышеперечисленные
загрязнения относятся к локальным и временным так как они рассеиваются под
воздействием воздушных потоков, поэтому проводить расчет на рассеивание вредных
веществ для КС не было целесообразно.
4.3 Расчет полей токсодоз
Работа
газопроводных систем сопровождается технологическими, залповыми и
непредвиденными аварийными выбросами газа при полном или частичном разрыве
газопроводов.
Под
аварией понимается повреждение трубопроводных транспортных систем, приводящее к
их частичному или полному разрыву с выбросом под большим давлением вредных
веществ в атмосферу в количествах, которые могут вызывать массовое поражение
людей и окружающей среды.
Рассмотрим
интенсивные, «взрывоподобные» процессы истечения газовой смеси и последующего распространения
ее в атмосфере при авариях на газопроводах.
Исходные
данные:
L=145000
[м]; d=1,387[м ]; Q=82,235*109 [м3/год]; r=0,73 [кг/м3]
P1=7,06
[МПа]; P2=5,24 [МПа]; T=281,1 [к];
t=20 [с]; x=92000 [м];
xа=77100
[м]; xb=100300 [м]; g=1,3 ; m=0,95
; Z=0,792 ;
R=503,88
[м/с2 *к]
l1=14900
[м]; l2=8300 [м]; k3=3 ; k4=4
Где
L-длина газопровода; d-внутренний диаметр трубы; Q-приведенный объемный расход
газа; r-плотность газа
при нормальных условиях;P1иP2-давления в начале и конце
газопровода; T-температура газа в газопроводе; t-время закрытия кранов-отсекателей; x-координата
места разрыва; xа и xb-координаты кранов a и b; g- показатель адиабаты газа;
m-коэффициент расхода;
Z- коэффициент
сжимаемости газопровода; R-газовая постоянная; l1 и l2
–длины участков трубы между местом разрыва и кранами; k1 и k2
– коэффициенты, связанные с законом закрытия кранов.
3.3.1.
Давление в месте разрыва газопровода
Аналогично
находим давление в местах установки кранов
3.3.2.
Найдем средние давления на участках между кранами- отсекателями и местом
разрыва газопровода
3.3.3
Определим плотность газа r0
при давлении P0
3.3.4
Найдем средние плотности на участках слева и справа от разрыва
3.3.4
Найдем средние плотности на участках слева и справа от разрыва



3.3.5.
Найдем массу полного выброса газа в атмосферу
Общая
масса выброшенного углекислого газа:
В
таблице 1 приведены результаты расчета поля токсодоз для устойчивого состояния
атмосферы (категория Е), полученные умножением величин в таблице 3.6 ([8] стр. 20) на массу выброшенного углекислого
газа.
V.
Экономическая часть
Расчёт
капитальных вложений.
Капитальные
вложения в газопровод определяются на основе удельных показателей.
Удельные
капитальные вложения на сооружение 1 км линейной части газопровода в
нормативной базе даются с разбивкой по видам затрат:
-
стоимость строительно-монтажных работ ( СМР );
-
стоимость оборудования;
-
прочие затраты.
Удельные
капитальные вложения на строительство 1 км газопровода на j- ом участке газопровода с учётом территориальных коэффициентов:
где
Ксмр, Коб, Кпр – нормативные удельные затраты
соответственно на строительно-монтажные работы ( СМР ), оборудование, прочие
виды работ, тыс.руб./км ;
- территориальные
коэффициенты соответственно на стоимость СМР, оборудования и прочие затраты.
Капитальные
вложения в линейную часть газопровода определяем из выражения:
где
Кj – удельные капитальные вложения на строительство 1 км газопровода на j-ом участке с учётом территориальных коэффициентов ;
Lij
- протяжённость j-ого участка газопровода при наличии i-ых топографических
условиях местности;
- коэффициент, учитывающий
особенности i-ых топографических условий местности на j-ом участке участка
газопровода;
- коэффициент, учитывающий
отклонения от нормативных условий на j-ом участке участка газопровода .
Затраты
на строительно-монтажные работы:
Капитальные
вложения в строительство компрессорных станций проектируемого газопровода
определяется по формуле:
где
- капитальные вложения
в строительство компрессорного цеха i-ой КС;
- капитальные вложения в
строительство установки охлаждения газа i-й КС;
- капитальные вложения в
строительство воздушных линий электропередачи на i-й КС;
- капитальные вложения в
строительство подстанции i-й КС;
- капитальные вложения в
строительство теплоэлектростанции i-й КС
Аналогично
определяем стоимость строительно-монтажных работ:
Расчёт
капитальных вложений в строительство компрессорного цеха производится по
формуле:
где
- стоимость
строительно-монтажных работ по компрессорному цеху i-й КС;
- стоимость оборудования по
компрессорному цеху i-й КС;
- прочие затраты по
компрессорному цеху i-й КС;
- территориальные
коэффициенты ;
- коэффициент, учитывающий
отклонения условий строительства i-й КС от нормативных.
Все
расчёты по выше приведённым формулам сведены в табл.4.1 и табл.4.2.
Объёмы капитальных
вложений необходимых для реализации проекта представлены в таблице 4.1.
Таблица 4.1
Наименование показателя
|
Объёмы капитальных вложений млн.
руб.
|
|
Объекты промышленно-производственные
– всего, из них 2001
|
89583.9
|
|
- линейная часть
|
82085.5
|
|
- компрессорные станции 2001
|
7498.44
|
Расчёт основных
технико-экономических показателей.
Объём годового поступления
газа ( Qпост) в проектируемую систему магистральных газопроводов
представлен в табл.4.2.
Таблица 4.2.
|
Год
|
Объём годового поступления газа в
систему магистральных газопроводов, млрд.м3/год
|
|
2002
|
82,235
|
Расход
газа на собственные нужды (Qс.н.) определяется по каждой компрессорной
станции (КС) по формуле:
где
N – суммарная мощность работающих на КС газоперекачивающих агрегатов, тыс. кВт;
Yt
– удельный расход топлива, м3/кВт ч
Расход
газа на собственные нужды:
Расчёт
расхода газа на собственные нужды представлен в табл.4.3.
Таблица
4.3 Расход газа на собственные нужды
Год
|
Количество КС, шт
|
Количестворабочих ГПА на всех КС,
шт.
|
Суммарная мощность работающих ГПА,
тыс.кВт.
|
Удельный расход топлива, м3/кВт
ч
|
Число часов работы КС в год, ч.
|
Объём газа на собственные нужды,
млн.м3/год
|
|
2002
|
8
|
108
|
1094
|
0,402
|
8760
|
3853,9
|
Норма
технически неизбежных потерь газа (Qпот.) устанавливается в
процентах к общему объёму поступления (Qпост.) газа в
газотранспортную систему .
Согласно опыту
эксплуатации аналогичных газотранспортных систем норма технически неизбежных
потерь газа принимается равной 0,16 % .
Расчёт
объёма технически неизбежных потерь представлен в табл.4.4
Объём
технически неизбежных потерь.
Таблица
4.4
Год
|
Объём годового поступления газа в
систему магистральных газопроводов, млрд.м3/год.
|
Объём технически неизбежных потерь
газа, млн.м3/год.
|
|
2002
|
82,235
|
131,58
|
При планировании и
анализе работы магистральных газопроводов используется показатель объёма
транспортируемого газа, который определяется как разность между объёмом
поступления и расходом газа на собственные нужды и потерями его при
транспортировке и хранении:
Расчёт
расхода объёма транспортируемого газа представлен в табл.4.5
Таблица
4.5 Объём транспортируемого газа
|
Год
|
Объём годового поступления газа в
систему магистральных газопроводов, млн.м3/год
|
Объём газа на собственные нужды,
млн.м3/год
|
Объём технически неизбежных потерь
газа, млн.м3/год
|
Объём транспортируемого газа, млн.м3/год
|
|
2002
|
82235
|
3853,9
|
131,58
|
78249,52
|
Производственная
деятельность предприятия характеризуется показателем транспортной работы (Атр).
Объём транспортной работы определяется суммой произведений количества поданного
газа каждому потребителю на расстояние от наиболее удалённого поставщика,
включая длину газопровода-отвода , с учётом разницы расстояний между
поставщиками в месте присоединения последнего отвода к газопроводу, то есть:
где
Пк- объём поступления газа k-ому потребителю, млрд.м3
(k=1,…,m);
Lk
– расстояние от максимально удалённого источника поступления газа до места
отбора газа к k-ому потребителю, км;
Объём
транспортной работы представлен в табл.4.6
Таблица
4.6
|
Год
|
Объём транспортируемого газа, млн.м3/год
|
Расстояние от максимально
удалённого источника поступления газа до места отбора газа к k-ому потребителю,
км
|
Объём транспортной работы, млрд.м3
км/год
|
|
2002
|
78249,52
|
1003.8
|
78546,87
|
Объём
тарифной выручки (ТВ) в стоимостном выражении определяем путём умножения
величины транспортной работы (Атр) на установленный тариф (Т) ,
объём тарифной выручки представлен в табл.4.5
Таблица
4.5
|
Год
|
Объём транспортной работы, млн.м3
км/год
|
Тариф, руб/тыс.м3 100км
|
Тарифная выручка, млн.руб.
|
|
2002
|
78546,87
|
27
|
2120765,5
|
Тариф
принят равным действующим в настоящее время тарифам за перекачку газа по территории
Российской Федерации.
Расчёт
численности работников производится по 2001 году. Планирование численности
работников связано прежде всего с показателем использования рабочего времени.
Среднее число часов и дней работы одного работника в год определяется на основе
баланса рабочего времени, который включает три этапа:
1)
расчёт среднего фактического числа рабочих дней;
2)
установление средней продолжительности рабочего дня;
3)
определение среднего ( эффективного ) фонда рабочего времени.
Таблица
4.6 Баланс рабочего времени
|
Показатели
|
Единицы измерения
|
Величина
|
|
Календарный фонд времени
|
Дни
|
365
|
|
Выходные и праздничные дни
|
Дни
|
114
|
|
Номинальный фонд времени
|
Дни
|
251
|
|
Неявки на работу*
в том числе
-
очередные и все
виды отпусков
-
выполнение гос.
обязанностей
-
отпуска по
болезни
|
Дни
Дни
Дни
|
16,84
0,62
10,2
|
|
Реальный фонд времени
|
Дни
|
223,34
|
|
Номинальная продолжительность рабочего
дня
|
Дни
|
7,8
|
|
Годовой эффективный фонд рабочего
времени (одного рабочего)
|
Часы
|
1742
|
*Неявки
на работу – данные статистического учёта по обществу
Вторым
этапом планирования численности является определение норм обслуживания.
Руководствуясь
действующими в Обществе «Нормативами численности руководящих работников,
специалистов, служащих и рабочих», определяется состав персонала. В соответствии
с последним определяется явочная численность, по формуле:
На
основании баланса рабочего времени
К=1.12(251/223.34)
Где
К – коэффициент среднесписочного состава и является частным от деления
номинального фонда рабочего времени на планируемое число рабочих дней.
Явочная
численность персонала.
Общая
явочная численность персонала 2001 год
,
где
Чсп – нормативная численность специалистов 2000 год, Чсп=518
чел.;
Чраб.
– нормативная численность рабочих 2001 год, Чраб.=1078 чел.;
Чя.об.=518+1078=1596
чел.
Среднесписочная
численность 2000 год:
в том числе:
специалистов
– 579 человек;
рабочих
– 1208 человек.
Нормы
обслуживания для расчёта плановой численности приняты в зависимости от объектов
обслуживания и сменности персонала ( двухсменная работа по 12 часов ).
Расчёт
производительности труда.
Объём
товарного газа ( Qтов. ) в расчёте на одного работника , занятого в
транспорте газа, определяется по формуле:
Объём
товарного газа в расчёте на одного работника.
Объём
транспортной работы ( Атр ) в расчёте на одного работника, занятого
в транспорте газа ( Чоб ) находим по формуле:
.
Таблица
4.8 Объём транспортной работы в расчёте на одного работника
|
Год
|
Объём транспортной работы, млрд.м3/год
|
Общая численность (Чоб)
, чел.
|
Объём транспортной работы в расчёте на одного работника,
млрд.м3/чел
|
|
2002
|
78546,87
|
1596
|
49,21
|
Расчёт
фонда заработной платы на 2001 год.
Для
планирования фонда заработной платы используются типовые положения по оплате
труда работников газовой промышленности и действующая тарифная сетка ОАО
Газпром.
Средний
тарифный оклад рабочих – 2500 рублей , специалистов – 3500 рублей.
Для
определения часовой тарифной ставки используется номинальный фонд рабочего
времени:
,
где
С – часовая тарифная ставка;
Тн
– номинальный фонд времени, Тн=251.
tр.д.
– номинальная продолжительность рабочего дня, tр.д.=8 час.
Среднемесячное
количество часов работы принимаемое при определении тарифной ставки:
,
,
следовательно
часовая тарифная ставка рабочего:
,
где
Зокл.р. – средний тарифный оклад рабочего, Зокл.р.=2500
р.
,
Часовая
ставка специалиста:
,
где
Зокл.сп – средний тарифный оклад специалиста, Зокл.сп.=3500
р.
,
Общий
годовой тарифный фонд может быть рассчитан на основе средней тарифной ставки,
численности персонала и годового эффективного фонда рабочего времени.
Расчёт тарифного фонда
заработной платы.
Таблица
4.9
|
Наименование категорий персонала
|
Часовая тарифная ставка
|
Численность
|
Эффективный ФРВ (час.)
|
Тарифный фонд заработной платы
|
|
Специалисты
|
20.9
|
579
|
1742
|
21080116,2
|
|
Рабочие
|
14.9
|
1208
|
1742
|
31354606,4
|
|
Всего
|
|
1787
|
|
52434722.6
|
Структура годового фонда заработной платы.
Таблицы
4.10
|
№
|
Элементы фонда зарплаты.
|
Затраты на заработную плату в год,
руб.
|
|
1.
|
Оплата по тарифным ставкам (тарифной
фонд заработной платы)
|
52434722.6
|
|
2.
|
Доплата за работу в ночное время.
|
3284065,6
|
|
3.
|
Доплата за работу в праздничные дни
|
93768
|
|
4.
|
Прочие виды доплат и надбавок
|
10486,92
|
|
5.
|
Текущая премия
|
50279889,552
|
|
6.
|
Надбавка по районному коэффициенту
|
8050231,5
|
|
7.
|
Оплата очередных и дополнительных
отпусков.
|
5803202,6
|
|
8.
|
Оплата за выполнение государственных
обязанностей
|
171332,65
|
|
9.
|
Всего
|
120127699,4
|
Расчёт
материально-технического обеспечения.
Потребность
в конкретном виде материально-технического ресурса проектируемого
газотранспортного предприятия находим по формуле:
,
где
Нij – норма расхода i-того материала на единицу продукции (работ) j
на период t;
Bj
– объём производства j-е вида работ на период t.
Расчёт
потребности в основных горюче-смазочных материалах.
Расчёт
потребности в основных горюче-смазочных материалах приведен в табл.4.11
Потребность
в основных горюче-смазочных материалах.
Таблица
4.11
|
Показатели
|
Объём работ км/год
|
Наработка маш/час
|
Норма расхода на единицу работ
|
Норма расхода на единицу работ
|
Потребность литров
|
А) Бензин
|
|
|
|
|
|
|
Грузовые авто
|
680520
|
-
|
25.9
|
|
176254.7
|
|
Легковые авто
|
441600
|
-
|
14
|
|
61824
|
|
Спец. авто
|
423200
|
-
|
71.6
|
|
303011.2
|
|
Автобусы
|
800800
|
-
|
32.6
|
|
261060.8
|
|
ИТОГО:
|
|
|
|
|
802150.7
|
|
Б)Диз. топливо
|
|
|
|
|
|
|
Грузовые авто
|
997854
|
|
41.8
|
|
417102.9
|
|
Строительно-дорожные машины
|
|
49400
|
|
17.2
|
849680
|
|
Спец. авто
|
407400
|
|
102
|
|
415548
|
|
Прочие механизмы
|
|
800
|
|
13.5
|
10800
|
|
ИТОГО:
|
|
|
|
|
1693130.9
|
Расчёт
потребности в турбинных маслах.
Расчёт
потребности в турбинных маслах приведён в табл. 8.2.15.
Таблица
4.12
|
№ КС
|
Количество ГПА на КС
|
Типы ГПА
|
Объём работы КС, маш.час.
|
Норма расхода масла, кг/маш. час
|
Потребность на эксплуатацию, база, тонн.
|
|
1
|
8
|
ГТК-10
|
8760
|
1,1
|
77
|
|
2
|
8
|
ГТК-10
|
8760
|
1,1
|
77
|
|
3
|
8
|
ГТК-10
|
8760
|
1,1
|
77
|
|
4
|
7
|
ГТК-10
|
8760
|
1,1
|
67.4
|
|
5
|
7
|
ГТК-10
|
8760
|
1.1
|
67.4
|
|
6
|
6
|
ГТК-10
|
8760
|
1,1
|
57.8
|
|
7
|
7
|
ГТК-10
|
8760
|
1,1
|
67.4
|
|
8
|
3
|
ГТК-10
|
8760
|
1,1
|
28.9
|
|
Итого
|
54
|
ГТК-10
|
8760
|
1,1
|
520.3
|
Потребность в
основных материалах.
Потребность
в основных материалах приведена в табл. 4.13
Потребность
в основных материалах.
Таблица
4.13
|
Наименование материала
|
Единица измерения
|
Норма расхода
|
Потребность на эксплуатацию
|
|
Прокат
|
кг./млн.м^3
|
1.5
|
61.5
|
|
Трубы
|
кг./млн.м^3
|
1.0
|
41
|
|
Деловая древесина
|
м^3/млн.м.
|
0.006
|
0.246
|
|
Цемент
|
кг./млн.м^3
|
1.2
|
49.2
|
|
Стекло
|
м^3/млн.м.
|
0.15
|
6.15
|
|
Масла прочие
|
кг./млн.м^3
|
0.25
|
|
Метанол
|
кг./млн.м^3
|
4.8
|
196.8
|
|
Одорант
|
кг./млн.м^3
|
0.4
|
16.4
|
|
Нефтебитумы
|
кг./млн.м^3
|
0.3
|
12.3
|
Расчёт
себестоимости, прибыли и рентабельности.
Определение
затрат по статье электроэнергия покупная базируется на расчёте общей
потребности как для производственных, так и для хозяйственных нужд. Стоимость
электроэнергии определяется по прейскуранту № 09-01. Прейскурант
предусматривает двухставочные тарифы.
По
двухставочному тарифу оплачивается электроэнергия, расходуемая на всех
промплощадках ЛПУмг с присоединённой мощностью свыше 750 киловольт –ампер.
Двухставочный тариф состоит из основной и дополнительной платы. Основная
предусматривает годовую оплату за 1 кВт заявленной потребителем мощности. Под
заявленной мощностью имеется в виду наибольшая получасовая мощность в кВт ( не
ниже 500 кВт), отпускаемая потребителям в часы суточного максимума нагрузки
энергосистемы.
Дополнительная
плата двухставочного тарифа предусматривает оплату за киловатт-час потребляемой
электроэнергии, учтённой счётчиком.
В
данном проекте расчёт потребности в электроэнергии проводится укрупнённо по
формуле:
где
Nэ – установленная мощность КС;
t
– число часов работы агрегата в год;
n
– индивидуальная норма расхода электроэнергии в год.
Расходы
электроэнергии по КС на прочие нужды принимаются равными 10% для КС.
Зная
потребность в электроэнергии данной КС и тариф, определяем стоимость
потреблённой электроэнергии. Вся эта сумма составляет дополнительную плату за
электроэнергии, а основная плата складывается из оплаты за заявленную
максимальную нагрузку установленной мощности, умноженной на тариф заявленной
мощности.
Общая
стоимость потребляемой электроэнергии по каждой КС приведена в табл.8.2.21.
Общая
стоимость потребляемой электроэнергии по каждой КС.
Таблица
4.14
|
Название КС
|
Стоимость потребляемой
электроэнергии по основной плате, тыс.руб.
|
Стоимость потребляемой электроэнергии
по дополнительной плате, тыс. руб.
|
Общая стоимость потребляемой
электроэнергии, тыс.руб.
|
|
КС 1
|
1000
|
1360
|
2360
|
|
КС 2
|
1000
|
1360
|
2360
|
|
КС 3
|
1000
|
1360
|
2360
|
|
КС 4
|
1000
|
1360
|
2360
|
|
КС 5
|
1000
|
1360
|
2360
|
|
КС 6
|
1000
|
1360
|
2360
|
|
КС 7
|
1000
|
1360
|
2360
|
|
КС 8
|
1000
|
1360
|
2360
|
|
Всего
|
8000
|
10880
|
18880
|
Затраты
связанные с расходом газа на собственные нужды определяем исходя из объёма газа
идущего на собственные нужды и цены покупки газа.
Затраты
связанные с расходом газа на собственные нужды приведены в табл. 8.2.22.
Стоимость
газа на собственные нужды принята равной 55.75
(средняя цена продажи газа по трассе
Ухта-Грязовец).
Затраты
связанные с расходом газа на собственные нужды.
Таблица
4.15
|
Год
|
Объём газа на собственные нужды,
млн.м3/год
|
Стоимость газа на собственные
нужды, руб тыс.м3
|
Затраты , тыс.руб.
|
|
2002
|
3853,9
|
55.75
|
214854,9
|
Стоимость
потерь газа при транспортировке и хранении определяются произведением
средневзвешенной цены покупки газа на объём потерь и приведена в табл. 4.16.
Стоимость
потерь газа при транспортировке и хранении принята равной 55.75
( средняя цена продажи газа на
участке Ухта-Грязовец).
Стоимость
потерь газа при транспортировке и хранении.
Таблица
4.16
|
Год
|
Объём технически неизбежных потерь
газа, млн.м3/год
|
Стоимость потерь газа при
транспортировке и хранении, руб/тыс.м3
|
Затраты, тыс.руб.
|
|
2002
|
131,58
|
55.75
|
7329
|
Для
определения суммы амортизационных отчислений производится группировка основных
фондов в соответствии с их структурой, установленными нормами амортизационных
отчислений по группам основных производственных фондов (табл. 4.17).
Структура основных производственных фондов и норм амортизации по группам
ОПФ.
Таблица 4.17
|
Группа ОПФ
|
Структура ОПФ
|
Среднегодовая стоимость ОПФ,
млн.руб.
|
Норма амортизации
|
Амортизационные отчисления,
млн.руб.
|
|
Линейная часть
|
91.6
|
82085.5
|
3
|
2462.5
|
|
Компрессорная станция
|
8.4
|
7498.4
|
3
|
224.9
|
|
Всего
|
100
|
89583.9
|
|
2687.5
|
Затраты по экономическим элементам.
Таблица
4.18
|
Затраты по экономическим элементам.
|
Год 2002
|
|
|
Млн.руб.
|
%
|
|
Заработная плата
|
120.12
|
2.9
|
|
Отчисления на соц. страхование
|
46.25
|
1.14
|
|
Электроэнергия покупная
|
18.88
|
0.47
|
|
Газ на собственные нужды
|
214.85
|
5.3
|
|
Потери газа
|
7.33
|
0.18
|
|
Материалы всего
|
20.96
|
0.52
|
|
Амортизация ОПФ
|
1791.7
|
66.34
|
|
Итого
|
2220.07
|
76.9
|
|
Прочие денежные расходы
|
666.03
|
23.1
|
|
Всего затрат на транспорт газа
|
2886.1
|
100
|
Прочие
денежные расходы принимаются равными 30% от суммы затрат всех вышеперечисленных
экономических элементов.
Отчисления
на социальное страхование производится в размере 38.5% от всего фонда
заработной платы.
Себестоимости
1000 куб.м. товарного газа приведена в табл. 4.19
Себестоимость товарного газа.
Таблица
4.19
|
Год
|
Объём транспортируемого газа, млн.м3/год.
|
Общая сумма затрат на транспорт
газа, млн.руб.
|
Себестоимость товарного газа,
руб/тыс.м3.
|
|
2002
|
78249.52
|
2886.5
|
27.1
|
В
таблице 4.20 приведены основные экономические показатели.
Таблица
4.20
|
Показатели
|
2001
|
2002
|
2003
|
2004
|
2005
|
2006
|
2007
|
2008
|
2009
|
2010
|
|
|
Объем
перекачки, [млрд.м3/год]
|
0
|
82,235
|
82,235
|
82,235
|
82,235
|
82,235
|
82,235
|
82,235
|
82,235
|
82,235
|
|
|
Тарифная
выручка, [млн. руб.]
|
0
|
30098,01
|
30098,01
|
30098,01
|
30098,01
|
30098,01
|
30098,01
|
30098,01
|
30098,01
|
30098,01
|
|
|
Кап.
вложения, [млн. руб.]
|
89583,9
|
0
|
0
|
0
|
0
|
0
|
0
|
0
|
0
|
0
|
|
|
Эксплутац.
затраты, [млн. руб.]
|
0
|
2886,1
|
2886,1
|
2886,1
|
2886,1
|
2886,1
|
2886,1
|
2886,1
|
2886,1
|
2886,1
|
|
|
В т.ч. на
амортизацию [млн. руб.]
|
0
|
1791,7
|
1791,7
|
1791,7
|
1791,7
|
1791,7
|
1791,7
|
1791,7
|
1791,7
|
1791,7
|
|
|
Прибыль, [млн.
руб.]
|
0
|
21192,31
|
21192,31
|
21192,31
|
21192,308
|
21192,308
|
21192,308
|
21192,308
|
21192,308
|
21192,308
|
|
|
Сумма налога
на прибыль по ставке, [млн. руб]
|
0
|
6357,692
|
6357,692
|
6357,692
|
6357,6924
|
6357,6924
|
6357,6924
|
6357,6924
|
6357,6924
|
6357,6924
|
|
|
Чистая
прибыль, [млн. руб.]
|
0
|
14834,62
|
14834,62
|
14834,62
|
14834,6156
|
14834,6156
|
14834,6156
|
14834,6156
|
14834,6156
|
14834,6156
|
|
|
Поток
наличности (деньги на руках), [млн. руб.]
|
0
|
16626,32
|
16626,32
|
16626,32
|
16626,3156
|
16626,3156
|
16626,3156
|
16626,3156
|
16626,3156
|
16626,3156
|
|
|
Чистый поток
наличности, [млн. руб.]
|
-89583,9
|
16626,32
|
16626,32
|
16626,32
|
16626,3156
|
16626,3156
|
16626,3156
|
16626,3156
|
16626,3156
|
16626,3156
|
|
|
ЧТС, [млн.
руб.]
|
-78928,5
|
12906,4
|
11371,3
|
10018,7
|
8827,1
|
7777,2
|
6852,1
|
6037,1
|
5319,0
|
4686,4
|
|
|
Внутр. норма
рентабельности (ЧТС=0), [млн. руб.]
|
-77517,9
|
12449,2
|
10772,4
|
9321,5
|
8066,0
|
6979,6
|
6039,5
|
5226,1
|
4522,2
|
3913,1
|
|
|
Результат, [млн.
руб.]
|
-78928,5
|
-66022,2
|
-54650,9
|
-44632,2
|
-35805,1
|
-28028,0
|
-21175,8
|
-15138,7
|
-9819,7
|
-5133,3
|
|
|
НДС
|
0,2
|
|
|
|
|
|
|
|
|
|
|
|
Тариф на
перекачку
|
45,75
|
[руб./тыс.м3.]
|
|
|
|
|
|
|
|
|
|
Налог на
прибыль
|
0,3
|
|
|
|
|
|
|
|
|
|
|
|
Нормативный
коэфф.
|
0,135
|
|
|
|
|
|
|
|
|
|
|
|
ВНР
|
0,1556538
|
|
|
|
|
|
|
|
|
|
|
|
НДС
|
0,2
|
|
|
|
|
|
|
|
|
|
|
|
Показатели
|
2011
|
2012
|
2013
|
2014
|
2015
|
2016
|
2017
|
2018
|
2019
|
2020
|
|
|
Объем
перекачки, [млрд.м3/год]
|
82,235
|
82,235
|
82,235
|
82,235
|
82,235
|
82,235
|
82,235
|
82,235
|
82,235
|
|
|
Тарифная
выручка, [млн. руб.]
|
30098,01
|
30098,01
|
7072,21
|
7072,21
|
7072,21
|
7072,21
|
7072,21
|
7072,21
|
7072,21
|
7072,21
|
|
|
Кап.
вложения, [млн. руб.]
|
0
|
0
|
0
|
0
|
0
|
0
|
0
|
0
|
0
|
0
|
|
|
Эксплутац.
затраты, [млн. руб.]
|
2886,1
|
2886,1
|
2886,1
|
2886,1
|
2886,1
|
2886,1
|
2886,1
|
2886,1
|
2886,1
|
2886,1
|
|
|
В т.ч. на
амортизацию [млн. руб.]
|
1791,7
|
1791,7
|
1791,7
|
1791,7
|
1791,7
|
1791,7
|
1791,7
|
1791,7
|
1791,7
|
1791,7
|
|
|
Прибыль, [млн.
руб.]
|
21192,308
|
21192,308
|
2771,668
|
2771,668
|
2771,668
|
2771,668
|
2771,668
|
2771,668
|
2771,668
|
2771,668
|
|
|
Сумма налога
на прибыль по ставке, [млн. руб]
|
6357,6924
|
6357,6924
|
831,5004
|
831,5004
|
831,5004
|
831,5004
|
831,5004
|
831,5004
|
831,5004
|
831,5004
|
|
|
Чистая
прибыль, [млн. руб.]
|
14834,6156
|
14834,6156
|
1940,1676
|
1940,1676
|
1940,1676
|
1940,1676
|
1940,1676
|
1940,1676
|
1940,1676
|
1940,1676
|
|
|
Поток
наличности (деньги на руках), [млн. руб.]
|
16626,3156
|
16626,3156
|
3731,8676
|
3731,8676
|
3731,8676
|
3731,8676
|
3731,8676
|
3731,8676
|
3731,8676
|
3731,8676
|
|
|
Чистый поток
наличности, [млн. руб.]
|
16626,3156
|
16626,3156
|
3731,8676
|
3731,8676
|
3731,8676
|
3731,8676
|
3731,8676
|
3731,8676
|
3731,8676
|
3731,8676
|
|
|
ЧТС, [млн.
руб.]
|
4129,0
|
3637,9
|
719,4
|
633,8
|
558,5
|
492,0
|
433,5
|
381,9
|
336,5
|
296,5
|
|
|
Внутр. норма
рентабельности (ЧТС=0), [млн. руб.]
|
3386,0
|
2930,0
|
569,1
|
492,4
|
426,1
|
368,7
|
319,0
|
276,1
|
238,9
|
206,7
|
|
|
Результат, [млн.
руб.]
|
-1004,3
|
2633,5
|
3352,9
|
3986,8
|
4545,2
|
5037,3
|
5470,8
|
5852,7
|
6189,2
|
6485,7
|
|
|
|
|
|
|
|
|
|
|
|
|
|
|
|
НДС
|
0,2
|
|
|
|
|
|
|
|
|
|
|
|
Тариф на
перекачку
|
55,75
|
[руб./тыс.м3.]
|
|
|
|
|
|
|
|
|
|
|
Налог на
прибыль
|
0,3
|
|
|
|
|
|
|
|
|
|
|
|
Нормативный
коэфф.
|
0,135
|
|
|
|
|
|
|
|
|
|
|
|
ВНР
|
0,1556538
|
|
|
|
|
|
|
|
|
|
|
|
Показатели
|
2021
|
2022
|
2023
|
2024
|
2025
|
2026
|
2027
|
2028
|
2029
|
2030
|
Всего
|
|
Объем
перекачки, [млрд.м3/год]
|
82,235
|
82,235
|
82,235
|
82,235
|
82,235
|
82,235
|
82,235
|
82,235
|
82,235
|
82,235
|
2384,815
|
|
Тарифная
выручка, [млн. руб.]
|
7072,21
|
7072,21
|
7072,21
|
7072,21
|
7072,2
|
7072,21
|
7072,21
|
7072,21
|
7072,21
|
7072,21
|
458377,89
|
|
Кап.
вложения, [млн. руб.]
|
0
|
0
|
0
|
0
|
0
|
0
|
0
|
0
|
0
|
0
|
89583,9
|
|
Эксплутац.
затраты, [млн. руб.]
|
2886,1
|
2886,1
|
2886,1
|
2886,1
|
2886,1
|
2886,1
|
2886,1
|
2886,1
|
2886,1
|
2886,1
|
83696,9
|
|
В т.ч. на
амортизацию, [млн. руб.]
|
1791,7
|
1791,7
|
1791,7
|
1791,7
|
1791,7
|
1791,7
|
1791,7
|
1791,7
|
1791,7
|
1791,7
|
51959,3
|
|
Прибыль, [млн.
руб.]
|
2771,668
|
2771,668
|
2771,668
|
2771,67
|
2771,7
|
2771,668
|
2771,668
|
2771,67
|
2771,668
|
2771,668
|
283005,41
|
|
Сумма налога
на прибыль по ставке, [млн. руб]
|
831,5004
|
831,5004
|
831,5004
|
831,5
|
831,5
|
831,5004
|
831,5004
|
831,5
|
831,5004
|
831,5004
|
84901,624
|
|
Чистая
прибыль, [млн. руб.]
|
1940,168
|
1940,1676
|
1940,168
|
1940,17
|
1940,2
|
1940,168
|
1940,168
|
1940,17
|
1940,168
|
1940,168
|
198103,79
|
|
Поток
наличности (деньги на руках), [млн. руб.]
|
3731,868
|
3731,8676
|
3731,868
|
3731,87
|
3731,9
|
3731,868
|
3731,868
|
3731,87
|
3731,868
|
3731,868
|
250063,09
|
|
Чистый поток
наличности, [млн. руб.]
|
3731,868
|
3731,8676
|
3731,868
|
3731,87
|
3731,9
|
3731,868
|
3731,868
|
3731,87
|
3731,868
|
3731,868
|
160479,19
|
|
ЧТС, [млн.
руб.]
|
261,2
|
230,2
|
202,8
|
178,7
|
157,4
|
138,7
|
122,2
|
107,7
|
94,9
|
83,6
|
8062,9
|
|
Внутр. норма
рентабельности (ЧТС=0), [млн. руб.]
|
178,9
|
154,8
|
133,9
|
115,9
|
100,3
|
86,8
|
75,1
|
65,0
|
56,2
|
48,7
|
0,0
|
|
Результат, [млн.
руб.]
|
6746,9
|
6977,1
|
7179,9
|
7358,5
|
7515,9
|
7654,6
|
7776,8
|
7884,5
|
7979,3
|
8062,9
|
|
|
НДС
|
0,2
|
|
|
|
|
|
|
|
|
|
|
|
Тариф на
перекачку
|
55,75
|
[руб./тыс.м3.]
|
|
|
|
|
|
|
|
|
|
|
Налог на
прибыль
|
0,3
|
|
|
|
|
|
|
|
|
|
|
|
Нормативный
коэфф.
|
0,135
|
|
|
|
|
|
|
|
|
|
|
|
|
|
|
|
|
|
|
|
|
|
|
|
|
|
|
Литература
1. Юфин В.А., Москва, Недра 1978 г., «Трубопроводный транспорт нефти и газа».
2. Деточенко А.В. и др., Москва, Недра 1978 г., «Спутник газовика».
3. СНиП 2.05.06-85, Москва 1985г, «Магистральные
газопроводы»
4. Справочное пособие, Москва, Недра 1987г.,
«Эсплуатационнику магистральных газопроводов»
5. Шпатаковский М.М., Методические указания, Москва
ГАНГ 1991г.,
6. Белоусов В.Д. и др., Москва ГАНГ 1983г.,
«Технологический расчет газопроводов».
7. Комарова Л.А., Москва, Недра 1989г., «Экономика
транспорта и хранения нефти и газа».
8. Гриценко А.И., Миляев В.Б., Р.Г.Рыбальский,
«Методические рекомендации по расчету параметров выброса газовой смеси и ее
рассеивания в атмосфере при аварийных разрывах газопроводов», Москва, ГАНГ,
ВНИИГАЗ, 1992г.
9. Бородавкин П.П., Москва, Недра 1979г., «Подводные
трубопроводы»
10. Самойлов Б.В., Москва, Недра 1995 г., «Сооружение подводных трубопроводов»
11. Поршаков Б.П., Москва 1992г., «Газотурбинные
установки».
12. «Регламент по техническому обслуживанию подводных
переходов магистральных газопроводов через водные преграды», РД 51-3-96.