Разработка технологического процесса изготовления отливки

  • Вид работы:
    Курсовая работа (т)
  • Предмет:
    Технология машиностроения
  • Язык:
    Русский
    ,
    Формат файла:
    MS Word
    2,51 Mb
  • Опубликовано:
    2010-02-27
Вы можете узнать стоимость помощи в написании студенческой работы.
Помощь в написании работы, которую точно примут!

Разработка технологического процесса изготовления отливки














Курсовая работа

разработка технологического процесса изготовления отливки

Содержание

1. Введение

2. Литье

3. Характеристика материала детали

4. Технология песчано-глинистой формы

5. Изготовление нижней полуфомы

6. Изготовление верхней полуформы

7. Выбор способа формовки

8. Основная характеристика формовочной смеси

9. Основная характеристика стержневой смеси

10. Характеристика песчано-глинистой смеси (стержневой) для отливки зубчатого колеса

11. Эскиз детали и технологичность конструкции

12. Выбор положения отливки в форме и плоскость разъёма модели и формы.

13. Припуски на механическую обработку и технологически припуски отливки.

14. Выбор стержней.

15.Формовочные уклоны

16. Прибыли и выпоры.

17. Требования при конструировании прибылей.

18. Литниковая система.

19. Расчёт литниковой системы.

20. Литниковая система.

Список используемой литературы

1. Введение

Данный курсовой проект включает в себя все элементы литейного производства, начиная с выбора марки материала и заканчивая готовой отливкой, со всеми расчётами припусков для последующей механической обработки детали. Отливка ведётся в песчано-глинистой форме, что является наиболее выгодным в условиях единичного производства. В качестве материала отливки выбрана сталь 40X, как наиболее подходящая по литейным свойствам соответственно, так как конечный продукт производства - «звёздочка», возможны значительные нагрузки и данный материал в соответствии с выбранным способом литья является наиболее приемлемым, как с технологической, так и с экономической точки зрения.

2. Литье

Литье (литейное производство) – один из основных способов изготовления металлических заготовок и деталей. Отливки – продукция литейного производства. Сущность получения отливок заключается в том, что расплавленный и перегретый металл или сплав заливается в заранее приготовленную литейную форму, внутренняя полость которой с максимальной степенью приближения воспроизводит конфигурацию и размеры получаемой отливки. Заполнение литейной формы (полости) расплавом осуществляется через каналы, называемые литниковой системой. Наружные очертания отливки образуются стенками полости формы, а внутренние поверхности и отверстия образуются с помощью специальных вставок в литейные формы, называемых стержнями. При затвердевании в литейной форме металл приобретает (сохраняет) очертания полости литейной формы и стержней.

3. Характеристика материала детали

Для производства отливок используется сплавы черных металлов: высокопрочные, ковкие и другие виды чугунов; углеродистые и легированные стали; сплавы цветных металлов; медные (бронзы и латуни), цинковые, алюминиевые и магниевые сплавы; сплавы тугоплавких материалов: титановые, молибденовые, вольфрамовые и другие.

Литейные сплавы должны обладать высокими литейными свойствами (высокой жидкотекучестью, малыми усадкой и склонностью к образованию трещин); требуемые физическими и эксплутационными свойствами. Для изготовления стальных отливок используют углеродистые и легированные стали. Механические свойства легированных литейных сталей определяются количеством легирующих элементов. Легирование значительно повышает механические и эксплутационные свойства (жаропрочность, износостойкость, коррозионную стойкость).

Для изготовления детали «звездочка» способом литья используется материал — сталь 40Х ГОСТ 4543-71.

Литейные стали, имеют плохие литейные свойства: пониженную жидкотекучесть, значительную усадку (до 2,5%), что приводит к образованию усадочных раковин и пористости в отливках; стали склонны к образованию трещин.

Механические свойства легированных литейных сталей определяются количеством легирующих элементов:

Таблица 1.

Марка стали

Предел

текучести

Временное

сопротив-

ление

Относительное

удлинение

Относитель-

ное сужение

Ударная

вязкость


МПа

МПа

 %

 %

кДж/М2

40Х

500

650

12

25

400


Состав стали 40ХЛ по ГОСТ 4543-71:

Массовая доля элементов:

Таблица 2.

С,%

Si,%

Mn,%

Cr,%

0.36 – 0.44

0.17 – 0.37

0.5 – 0.8

0.8 – 1.1


4. Технология песчано-глинистой формы

Весь цикл изготовления отливки по данному способу состоит из ряда основных и вспомогательных операций, осуществляемых как параллельно, так и последовательно: изготовление модельного комплекта; приготовление формовочных и стержневых смесей; изготовление стержней и литейной формы; сушка стержней и форм; сборка формы; заливка формы расплавом; затвердевание и охлаждение металла в форме; выбивка отливки из формы; удаление элементов литниковой системы; удаление стержней и очистка поверхностей отливки.

5. Изготовление нижней полуфомы

На ровном основании устанавливается модель низа в перевёрнутом положении. Прикладывают модель питателя, устанавливается опока, далее изготовляется формовочная смесь, особенно тщательно в узлах и у стенок опоки. Далее делаются проколы для вывода образующихся газов.

6. Изготовление верхней полуформы

Устанавливается литниковая система:

а) модель стояка;

б) модель прибыли;

в) модель выпора.

Затем в том же порядке устанавливается опока, уплотняется формовочная смесь, делаются проколы.

Когда изготовление верхней и нижней полуформ закончено, изготовляют из голов формы модель. Для этого в модель ввертывают подъём, а затем её слегка расталкивают ударами молотка по подъёму. Извлекают модель не разбивая полуформ. В заключении повреждённые участки заделывают и в целях повышения потребительски качеств, полуформы высушивают.

7. Выбор способа формовки

При использовании песчано-глинистых смесей в процессе формовки выполняют следующие технологические операции:

1) уплотнение смеси, позволяющее получить точный отпечаток модели в форме и придать ей необходимую прочность и другие свойства;

2) устройство в форме вентиляционных каналов, облегчающих выход из полости формы образующихся при заливке расплавов газов.

3) извлечение модели из формы;

4) отделку и сборку формы.

Исходя из характера производства (единичное) выбираем ручную формовку. Следует отметить, что ручная формовка в тяжелом машиностроении оснащена большим количеством вспомогательных механизмов для уплотнения формовочной смеси. Таким образом, в единичном производстве ручная формовка в чистом виде почти не используется. По способу формовки - формовка в опоках.

8. Основная характеристика формовочной смеси

Формовочная смесь – это многокомпонентная смесь формовочных материалов, соответствующая условиям технологического процесса изготовления литейных форм. Формовочные смеси по характеру использования разделяют на облицовочные, наполнительные и единые.Формовочные смеси должны иметь высокую огнеупорность, достаточную прочность и газопроницаемость, пластичность, податливость.

Таблица 3.

Смесь

Масса отливки, кг

Толщина стенки отливки, мм

Свойства смеси

Газопроницаемость, Ст.ед.

Влажность, %

Предел прочности при сжатии, кПа

Единая для формовки по-сырому

До 100

25

90

4

39

9. Основная характеристика стержневой смеси

Стержневая смесь – это многокомпонентная смесь формовочных материалов, соответствующая условиям технологического процесса изготовления литейных стержней. Стержни при заливке расплавленного металла испытывают значительные тепловые и механические воздействия по сравнению с формой, поэтому стержневые смеси должны более высокую огнеупорность, газопроницаемость, податливость, малую газотворную способность, легко выбиваться из отливок.

Таблица 4.

Состав смеси, масса %

Зерновой состав песка

Отработанная смесь

Кварцевый песок

Глина

Сульфитная барда

70

16,5

5

0,5

016А


Газопроницаемость - т.е. способность пропускать газы и водяные пары при заливке формы расплавом.

Податливость - способность формовочной смеси несколько уменьшаться под воздействием сжимающих сил, возникающих при усадке металла в процессе его затвердения и дальнейшего охлаждения.

Огнеупорность - свойство формовочной, а также стержневой смеси не оплавляться, не разминаться, не спекаться под воздействием высоких температур, возникающих при литье готовой продукции.

10. Характеристика песчано-глинистой смеси (стержневой) для отливки зубчатого колеса

Таблица 5.

Состав смеси

Зерновая часть, %

Связывающ. мат. и вес зерновой части смеси

Зерновая основа

Влажность

Глиностерж.

Газопроницаемость во

влажном состоянии

Предел прочности

Смеси, %

По весу, %

Кварцевого песка

Глины

Неводные материалы

Водные материалы сульфатно-смертного барда, удельный вес

При сжатом влажном состоянии

При разрыве в сухом состоянии

96 – 97

2,0 - 4,0

2,5 - 3,5

50 - 100

3,5 - 4,5

4 - 7

min 100

0,1 - 0,2

4


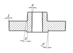
11. Эскиз детали и технологичность конструкции

колесо зубчатое

Рисунок 1.

Назначение:

1. Отливки третей группы сложности.

2. Внешнее очертание и конструкция литой детали простые, модель и форму для неё можно изготовить с одним плоским разъёмом; части модели легко извлекаются из формы. Это можно проверить с помощью метода теневого рельефа.

3. По характеру внутренних полостей и отверстий в отливке применяется стержень простой формы.

4. Толщина стенки назначается наименьшей, но обеспечивающий необходимую прочность детали;

5. Чтобы исключить осыпание формовочной смеси в углах модели при её извлечении из формы, выполняют округление при сопряжении стенок отливки.

6. Отливку в форме располагают так, чтобы затвердевание начиналось в тонких местах, постепенно распространяясь на более толстые и заканчивается в прибылях установленных на самых массивных местах.

7. Вся отливки располагается в нижней опоке, во избежание перекоса и других дефектов. Положение отливки в форме должно обеспечивать применение min качества стержней, обрабатываемые поверхности ответственного назначения располагаются в нижней части формы.

8. Количество разъёмов должно быть минимальным. В данном случае имеется 1 разъём, а поверхность разъёма плоская.

12. Выбор положения отливки в форме и плоскость разъёма модели и формы

Решение вопроса о положении отливки производится с учётом требований равномерного и направленного затвердевания металла. Необходимо так же учесть, что положение отливки в форме должно обеспечивать удобство изготовления и сборки формы.

Всю отливку рекомендуется расположить в одной (нижней) опоке во избежания перекосов, смещений и других факторов. По данной рекомендации и учитывая совокупность требований, получаем:

• положение отливки горизонтально;

• применяется 1 стержень;

• отливка располагается в верхней и нижней опоках.

13. Припуски на механическую обработку и технологически припуски отливки

Припуск на механическую обработку -дополнительный слой металла, который удалится в процессе механической обработки, чтобы обеспечить заданную точность и качество поверхности отливки. Припуск на механическую обработку зависит от материала отливки, способа ее изготовления, расположения отливки в форме и наибольшего габаритного размера литой детали.

Припуск зависит от класса точности и при наибольшем размере 402,5 мм, по таблице ПЗ принимаем следующие припуски на механическую обработку: 3 мм на сторону внешнюю и 2 мм на все остальные.

Технологический припуск применяется для упрощения и облегчения процесса изготовления отливки. В данном случае назначаются формовочные уклоны (для удобства извлечения модели из формы без разрушения её), напуски (для упрощения изготовления отливки и назначаются взамен электронов, которые не выполняются при литье).

14. Выбор стержней

Для получения крупных отверстий и полостей в отливке применяются, стержни места соединения литейной формы со стержнем называются знаковыми частями (знаками). Их функция заключается в обеспечении правильного и устойчивого положения стержня в форме.

Размеры знаков стержней и зазоры между знаками стержней и модели принимают по ГОСТ 3606-80. Размеры знаков имеют важное техническое значение. Они определяются удобством сборки формы, требованием точной фиксации, а также с учётом действующих на стержень усилий при заливке.

Рисунок 2.

Таблица 6.

Высота знака

h1

35

h

35

Длина стержня

L

135

Зазоры

S1

2,1

Зазоры

S2

2,1

Диаметр стержня

Dc

85

15. Формовочные уклоны

Формовочные уклоны модельного комплекса служат для удобства извлечения модели из формы без ее разрушения и для свободного удаления стержня из стержневого ящика. Уклоны выполняют в направлении извлечения модели из формы. Величина уклона зависит от материала модели, способа изготовления отливки и высоты боковой поверхности и составляет 0,5-3.

Величина уклонов зависит от размеров и места расположения поверхности.

Принимаем деревянный модельный комплект по ГОСТ 3212-80 (табл. П9).

Формовочные уклоны осн. Формообразующих поверхностей модельного комплекта для применения песчано-глинистой смеси.

Рисунок 3.

Высота

Формовочный уклон

поверхности,

модельного комплекта

мм


H

148

 

 32’

9,9

 

2o17’

h2

88

 

32’

h3

6,5

 

43'

 

16. Прибыли и выпоры

Прибыли применяются при изготовлении отливок из стали. Прибыль - специальный технологический прилив к поверхности отливки, затвердевающий позднее самой отливки. В прибыли формируется усадочная раковина, поэтому применение прибылей позволяет получить отливки без усадочных дефектов. Прибыли различают по месту расположения: верхние, боковые; по конфигурации: открытые, закрытые; по способу заливки: проточные, сливные, независимого действия; по способу воздействия на металл, для его перемещения в отливке: гравитационные, газовые, атмосферные; по условию обогрева: обычные, утеплённые, подогревные; по способу отделения от отливок: отрезаемые и отбиваемые. Форма прибылей определяется геометрией питательного теплового узла.

17. Требования при конструировании прибылей

Прибыль должна застывать позже отливки и обеспечивать в течении всего периода затвердевания достаточное питание теплового узла. Прибыль следует размещать по возможности в верхней части отливки с тем, чтобы она выполняла ещё и выпора. Конструкция прибыли должна обеспечивать удобства формовки и удаления её при обработке отливки.

Выпоры предназначены для вывода воздуха и газа из плоскости формы при заливке. Их используют также для уменьшения динамического давления металла на форму.

Выпоры используют для питания отливки жидким металлом в процессе её затвердевания. В выпоре образуется усадочная раковина, при кристаллизации высота выпора равна высоте верхней опоки.

18. Литниковая система

Литниковая система – это система каналов, через которые расплавленный металл подводят в полость формы. Литниковая система должна обеспечивать заполнение литейной формы с необходимой скоростью, задержание шлака и других неметаллических включений, выходов паров и газов из полости формы, непрерывную подачу расплавленного металла к затвердевающей отливке.

19. Расчёт литниковой системы

Расчёт является определением размеров основных элементов литниковой системы: питателя, коллектора, стояка.

М=1,3*m,

 М — масса отливки с учётом припусков на механообработку и технологических припусков, но без прибылей и выпоров. Для определения массы отливки m определим её объём и умножим на плотность сплава.

m=р*V

р = 7800 кг/м3 (плотность легированных конструкционных сталей).

V=V1+V2+V3

V1= *l1*(R12-R22)

V2= *l3*(R22-R32)

V3= *L*(R32-r12)

V= *(l1(R12-R22)+ l3(R22-R32)+ L(R32-r12)=0.0051 м3

m = 7800*0.0051 = 39,43 кг

M = 1,3*39,43 = 51,26 кг

Определим:

1) плотность жидкого металла =7800 кг/ м3

2) коэффициент расхода литниковой системы, зная толщину стенки t=64,8 мм ( =0,3)

3) время заполнения формы металлом =19,4 (с)

4) расчётный напор жидкого металла при заливке формы

Нст - высота стояка над питателем, мм;

Hom - общая высота отливки;

h - высота отливки выше места подвода металла (высота отливки над питателями), м.

Нст = 0,1 (м);

Hom = 0,077 (м);

h= 6,2 мм = 0,0062 (м);

Нр = 0,1 (м)

В итоге получаем

Fnum = 385,53 мм

Fпит = 192,7 мм2

Соотношение площадей поперечных сечений всех элементов литниковой системы можно принять следующим:

Fпит: Fл.х: Fст=1:1,1:1,2 ;

Где Fл.х. - площадь сечения литникового хода (коллектора или шлакоуловителя).

Fл.х = 192,7*1,1 = 212,04 мм2. .

Fст = 385,53 = 520,46 мм2.

20. Литниковая система

Рисунок 4. 1-чаша (воронка). 2-стояк.

Список используемой литературы

1) М.Д Харчук, В.И. Черменский, Г.А. Сидоренко. Методические указания к курсовому проекту по разделу «Литейное производство», 1985.-30 с.

2) А.М. Дальский, Н.П. Дубинин, И.А. Артюнова и др. Технология конструкционных материалов: учебник для машиностроительных специальностей вузов, 2-е., перераб. и доп. – М.: Машиностроение, 1985.–488 с., ил.

3) А.И. Чегаев. Основы прогрессивных технологий: Учебное пособие. Екатеринбург: Изд-во Урал. гос. экон. ун-та, 1999.-155 с.

4) В.Н. Журавлев, О.И. Николаева. Справочник Машиностроительные детали. - М.: Машиностроение, 1999.-480 с., ил.

5) А.П. Емильянова. Технология литейной формы: Учебное пособие. М.: Машиностроение, 1979.-240 с., ил.

Похожие работы на - Разработка технологического процесса изготовления отливки

 

Не нашли материал для своей работы?
Поможем написать уникальную работу
Без плагиата!
Без нейросетей!