Разработка конструкции и технологии производства упаковки из картона для пельменей

  • Вид работы:
    Дипломная (ВКР)
  • Предмет:
    Технология машиностроения
  • Язык:
    Русский
    ,
    Формат файла:
    MS Word
    1,78 Mb
  • Опубликовано:
    2010-11-30
Вы можете узнать стоимость помощи в написании студенческой работы.
Помощь в написании работы, которую точно примут!

Разработка конструкции и технологии производства упаковки из картона для пельменей














ДИПЛОМ

Разработка конструкции и технологии производства упаковки из картона для пельменей

Реферат

В дипломном проекте разработана конструкция и оптимальная технология производства упаковки из картона. Проведено маркетинговое исследование упаковки для пельменей. Осуществлен выбор специализированного программного обеспечения, способа печати, способа отделки для используемого картона и полимерной пленки.

Данный дипломный проект состоит из 107 страниц. В дипломной работе содержится 8 таблиц, 1 схема и презентация. Для разработки дипломной работы использовано 18 литературных источников.

Ключевые слова: картон, упаковка, штанцевание, штанцформа, проектирование, технология, полимер, биговка, эжекторный материал, контрматрица, офсетный способ печати.

Содержание

Реферат

Содержание

Введение

1 Современное состояние упаковочной отрасли

1.1 Современное состояние упаковочного производства

1.2 Современные проблемы отрасли

2 Особенности разработки упаковки

2.1 Комплексный анализ

2.2 Маркетинговые исследования упаковок, представленных на рынке

2.3 Анализ упаковываемого продукта

2.4 Этапы разработки упаковки

3 Выбор материала для упаковки

3.1 Выбор картона для упаковки пельменей

3.2 Выбор полимера для вклейки окошек

4 Обзор программных продуктов САПР

4.1 Impact

4.2 ArtiosCad

4.3 MarbaCad

5 Взаимосвязь автоматизированного проектирования и производства упаковки из картона

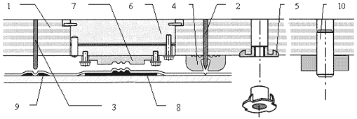
5.1 Конструирование упаковки для пельменей

5.2 Автоматизированное проектирование и производство штанцевальных форм

6 Разработка технологии производства упаковки для пельменей

6.1 Допечатные процессы

6.2 Печатные процессы

6.3 Отделочные процессы

6.4 Упаковочные процессы

7 Расчет себестоимости полиграфической продукции

Заключение

Список литературы

Введение

Упаковка стала неотъемлемой частью нашей жизни. Сейчас трудно представить, что еще 10-15 лет назад нам в магазинах предлагали купить товар без фирменной упаковки. В повседневной жизни мы не задумываемся над тем, какие задачи выполняет упаковка. А между тем она играет главную роль в связи между производителями продукции и потребителями.

За последнее десятилетие ситуация резко изменилась. На рынке появились высокотехнологичные и производительные штанцевальные автоматы, автоматические линии многоточечной склейки, инлайн линии. А повышение степени автоматизации производства неизбежно ведет за собой выработку определенных стандартов и требований как к производимой продукции, так и к используемым инструментам и расходным материалам. Не в последнюю очередь это относится и собственно к конструкции упаковки, и в свою очередь приводит к необходимости использования специализированных инструментов для ее разработки. Такие инструменты представлены на западном рынке в достаточном количестве (это пакеты программ Marbacad, Impact, Artios CAD, Score и другие). На российском рынке эти программы в настоящее время не получили широкого распространения из-за своей высокой стоимости. Поэтому наиболее актуальным является использование для проекирования и изготовления упаковки специализированного программного обеспечения и высокотехнологичной штанцевальной оснастки.

1 Современное состояние упаковочной отрасли

1.1 Современное состояние упаковочного производства

Упаковка за последние десятилетия 20в. стала наиболее важным, приоритетным продуктом в экономике индустриально развитых стран мира. Она является одним из десяти самых крупных секторов промышленности каждой страны. Весь мировой рынок упаковки оценивается на сегодняшний день в более чем 500 млрд. долл. США. В 1990 г. он составлял 300 млрд. и к концу первого десятилетия XXI в., по прогнозам специалистов этот показатель достигает 760 млрд. долларов США.

В этой отрасли занято 100 тыс. крупных фирм, изготавливающих упаковку и насчитывающихся 5 млн. служащих. Как правило, по сведениям Всемирной организации упаковщиков (УКО), упаковочная индустрия обеспечивает 1-2% валового национального продукта.

Потребление упаковки отличается по регионам мира. В промышленно развитых странах потребление на душу населения значительно выше, чем в развивающихся странах. Поэтому имеются возможности дальнейшего роста за счет увеличения объемов мировой торговли, изменение образа жизни, сокращения состава семьи и тяги к удобствам. При этом, как показывают статистические данные, реальные возможности для роста существуют в развивающихся странах за счет активного прироста населения.

Для рынка потребительской упаковки России характерно превышение импорта над экспортом в 12 раз. Таким образом, вместо того чтобы развивать свою промышленность по производству упаковочных материалов, Россия ежегодно импортирует различные виды упаковки на сотни миллионов долларов США, хотя этих средств достаточно было бы для организации и налаживания производства упаковочных материалов и изделий непосредственно в Российской Федерации [1].

Развитию упаковочной отрасли в России в последние годы во многом способствовали такие факторы, как расширение ассортимента продуктов на рынке, изменение структуры потребления (в том числе появление среднего класса), улучшение инфраструктуры розничной торговли и распределения, признание важности упаковки как средства обеспечение сохранности продукции на протяжении всего логического цикла, осознание необходимости маркетинга и роли упаковки в создании потребительских предпочтений.

На современном уровне технологического развития упаковочная отрасль является одной из основных, формирующих инфраструктуру рыночной экономики. Развитие упаковочной индустрии в стране взаимосвязано с состоянием и темпами роста многих сырьевых, производящих и распространяющих отраслей, таких как агропромышленный комплекс, машиностроение, химическая промышленность, транспорт, торговля и др. Немаловажным обстоятельством в условиях рыночной экономики является и то, что продукция упаковочного производства в большинстве своем имеет краткосрочный производственный цикл и реализуется непосредственно населению вместе с продуктами питания и товарами первой необходимости; и это приводит к быстрой оборачиваемости и накоплению собственных средств предприятия, обуславливает возможность оперативного усовершенствования производства, стимулирует развитие отечественного предпринимательства, в том числе малого и среднего бизнеса, и способствует появлению новых рабочих мест.

Однако, по мере создания в России новых и возрождения старых упаковочных производств, освоения ими современных упаковочных технологий, налаживания связей с российскими предприятиями-потребителями упаковки все большую долю российского рынка упаковки осваивают отечественные производители. Они эффективно используют свои преимущества - близость к предприятиям-потенциальным потребителям упаковки, знание и учет особенностей российского рынка и так далее. В условиях сокращения импорта многих товаров, в том числе и упаковочных изделий, вырос объем выпуска в России практически всех видов упаковки. Большое количество отечественных предприятий смогло закрепить и утвердить свои позиции на упаковочном рынке, найти новых потребителей своей упаковки. Одновременно происходило улучшение дизайна и потребительских свойств производимой в стране упаковки. По данным 2002 года на фоне прироста ВНП России на 2,2% увеличился спрос на упаковку на 4,4 % [2]

Сегмент российского рынка, занимаемый тем или иным видом упаковки, во многом определяется как изменением требований потребителей, так и технологическим процессом в отечественной упаковочной индустрии. Самыми быстрыми темпами развиваются сегменты гибкой полимерной упаковки, ПЭТФ-бутылок, самоклеящихся этикеток, металлической тонкостенной упаковки.

Сегмент упаковки из бумаги, картона и гофрокартона является самым крупным на рынке отечественной упаковки. Потребление этих видов упаковки в нашей стране составляет 20 кг на душу населения, то есть 40% от среднего мирового уровня. При этом отечественные производители удовлетворяют потребности российского рынка коробок из картона хром-эрзаца на 60%, этикетки - на 45-55% и гофрированной тары - на 75%. Изготовлением гофрированной тары в нашей стране занимается целый ряд крупных и средних производителей, например, таких как ЗАО «ГОТЭК», ПО «ГОФРА», ЗАО «ВЕСТА» и другие. Согласно прогнозу фирмы «Мез1а-8ег1а», выпуск гофрокартона и коробок из него в России увеличится к 2010 году в 4 раза по сравнению с 1997 годом и достигнет 2,2 млн. тонн и 0,9 млн. тонн соответственно [2]. Рынок картонной упаковки в России за последние годы резко расширился за счет применения картона (обычно ламинированного полимерами) для упаковки жидких продуктов. Картонные коробки вытеснили стеклотару и гибкие полимерные пакеты в ключевых секторах молочных продуктов, фруктовых соков, минеральной воды. В ближайшие 5 лет этот сегмент продолжит свой рост, но более низкими темпами - за счет перехода на выдувные бутылки для жидких молочных продуктов [2]. Однако сохраняется возможность развития новых ниш рынка для картонных коробок - упаковка винных бутылок и моющих средств.

Общей тенденцией в России, как в целом по миру, является дальнейшее развитие полимерных материалов и постепенный выход их на ведущие позиции в области упаковки. Дальнейший рост этого сегмента рынка будет происходить за счет повышения производства безалкогольных напитков отечественными производителями, захватывающими новые ниши и вытесняющими импорт. Например, ожидается ежегодное возрастание на 20-25 % потребления ПЭТФ-бутылок для разлива минеральной воды, как за счет увеличения ее производства, так и за счет сокращения доли стеклянных бутылок. В 2000 году возрос выпуск пластиковой тары для разлива пива до 500-550 млн. бутылок в год, за счет частичного уменьшения доли стеклянных бутылок и металлических банок, а также уменьшения потребления дешевого нерасфасованного пива. Использование ПЭТФ-бутылок для товаров бытовой химии также будет расти, по оптимальным прогнозам экспертов, на 30% в год [3].

Одновременно с этим сохраняется и даже возрастает спрос на продукции: отечественного стеклотарного производства. В целом по России объем реализация стеклянных бутылок ежегодно увеличивается на 20,4%, а по Центральному регион) - на 34,1%. При этом из общего годового объема 7850 штук (в пересчете на бутылок} емкостью 0,5 литра) 4500 штук были применены при разливе пива и 2335 - водкой, вином и винными напитками. По мнению экспертов, постоянно возрастающий спрос на пивные бутылки требуется строительства и ввода новых мощностей по их производству, причем конъюнктура остается благоприятной по крайней мере НЕ ближайшие 5 лет [2].

Несмотря на рост отечественного производства и постоянное обсуждение актуальности замещения импорта, общий объем его в Россию растет. Так, в 2000 году на первые места по импорту стеклотары вышли Украина и Польша - 28% и 25%, соответственно. Финляндия сократила свои поставки до 4% рынка, то есть в 7 раз. Страны Западной Европы (Германия, Франция, Австрия, Италия) по совокупности обеспечили в 2000 году 22% российского импорта стеклотары [4]. Стекло сохраняет свои позиции и в упаковке для парфюмерной и косметической отрасли. Опыт показывает, что стеклянная тара вызывает доверие покупателя и влияет на потребительский выбор. Поэтому товар такого рода помещают в упаковку из стекла или пластика, имитирующего стекло, однако, соотношение стекла и пластика составляет приблизительно 1:8 в пользу последнего. Упаковка и этикетирования для парфюмерно-косметической промышленности являлось одним из перспективных направлений в 2001-2002 годах.

На фоне роста российского упаковочного рынка самый высокий темп роста в ближайшие 5 лет ожидается в секторе гибкой упаковки на основе полимерных пленок и алюминиевой фольги. При этом происходит определенное вытеснение гибкой упаковки на основе бумаги. Современные гибкие упаковочные материалы представляют собой полимерные однослойные и многослойные пленки. Алюминиевую фольгу, а также комплексные многослойные ламинаты, сочетающие слои бумаги, фольги и различных полимеров. Такие материалы предоставляют упаковке, особенно в пищевом секторе, невиданные ранее возможности - долговременное хранение пищевых продуктов в неконсервированном виде, в том числе хранение свеженарезанных мясных и рыбных продуктов; активное воздействие на упаковочный продукт с целью сохранения и улучшения его свойств, регулируемая газо- и влагопроницаемость упаковки; и многое другое. Все это сочетается с такими важными для рыночной экономики показателями, как малая масса упаковки относительно упаковываемого продукта и прекрасные возможности дизайна и многокрасочной печати.

Получение качественной конкурентоспособной упаковки требует не только освоения современных упаковочных технологий, но и использования соответствующего упаковочного оборудования. Согласно статистике, три четверти всех упаковочных автоматов, работающих сегодня в России, были закуплены за рубежом, а в наиболее сложном секторе - разливочные автоматы для жидкой продукции - работает 90% импортных машин. Более половины импортного оборудования изготовлено в Италии и Германии, во Франции, Швеции и США [3]. Основными покупателями упаковочных машин и оборудования были предприятия пищевой, фармацевтической, химической, табачной и целлюлозно-бумажной промышленности.

Российский сектор производства упаковочных машин и оборудования пока начинает свое развитие. Уже более 180 российских предприятий освоили выпуск целого спектра упаковочных машин и приборов для них. По оценке западных экспертов, упаковочные машины российского производства зачастую уступают импортным в эффективности, многие из них являются незаконными копиями зарубежных разработок, да и номенклатура их не достаточна. Но они примерно в 10 раз дешевле своих зарубежных аналогов. К тому же приобретение импортного оборудования зачастую связано с необходимостью использования импортных же упаковочных материалов. Приобретение оборудования отечественного производства не создает такой зависимости. Оборудование для фасовки и упаковки сыпучих продуктов и жидкостей таких отечественных предприятий, как компания «БЕСТРОМ», «Русская трапеза», компания «Сигнал-Пак» пользуется заслуженным спросом [1].

Как известно, российский рынок производства упаковки еще очень молод и относительно недавно ориентируется на стандарты индустрии, принятые в развитых странах. Около 10 лет назад парк полиграфического оборудования, предназначенного для послепечатной обработки (высекальные прессы, фальцевально-склеивающие линии и т.д.) был представлен в основном образцами советского производства и слабо автоматизирован. Проектирование же упаковки и вовсе находилось в зачаточном состоянии и выполнялось в лучшем случае грамотными чертежниками по всем правилам машиностроительного черчения, а в большинстве случаев производственники обходились эскизами и приблизительными допусками. Однако за последнее десятилетие ситуация резко изменилась. На рынке появились высокотехнологичные и производительные штанцевальные автоматы, автоматические линии многоточечной склейки, инлайн линии. А повышение степени автоматизации производства неизбежно ведет за собой выработку определенных стандартов и требований как к производимой продукции так и к используемым инструментам и расходным материалам. Не в последнюю очередь это относится и собственно к конструкции упаковки, и в свою очередь приводит к необходимости использования специализированных инструментов для ее разработки.

Такие инструменты представлены на западном рынке в достаточном количестве (это пакеты программ Marbacad, Impact, Artios CAD, Score и другие). На российском рынке эти программы в настоящее время не получили широкого распространения из за вполне понятной причины: ни для кого не секрет, что 90% используемых у нас программ – это пиратские «бесплатные» копии, в то время как «бесплатного» оборудования не бывает. В связи с этим мы еще не привыкли покупать лицензионные программы, и предпочитаем пользоваться пиратскими. А так как рынок весьма узок, найти пиратские версии программ для проектирования упаковки очень и очень не просто, поэтому в основном у нас для этих целей используются полиграфические программы или широко распространенный AutoCAD. Тем не менее отставание программного обеспечения от оборудования все более и более очевидно и многие предприятия сейчас приходят к необходимости использования профессионального программного обеспечения в области конструирования упаковки.

В ближайшие годы упаковочная отрасль будет интенсивно развиваться и станет одной из наиболее приоритетных в российской экономике. С ее развитием емкость рынка упаковочной продукции в нашей стране будет непрерывно расти. При этом будет развиваться международная интеграция. Участие российских производителей упаковочных материалов, изделий, машин и оборудования в специализированных выставках, проводимых за рубежом, позволит им выйти на международный рынок.

В настоящее время коробки и ящики из картона и гофрокартона являются самыми популярными и широко применяемыми видом тары. Объяснение этому кроется в их низкой стоимости, удобстве автоматического выполнения с ними основных технологических операций: изготовления, сборки, заполнения продукцией, укупоривания, штабелирования и так далее. Способность складывания в плоские заготовки позволяет экономить место при их хранении и транспортировки заказчику. При полиграфическом исполнении может быть использован практически любой способ печати и отделки, поэтому складные коробки отличаются прекрасным внешним видом, необычным разнообразием дизайнерских решений. Они имеют различные конструкции и широкий ряд типоразмеров.

Складные коробки и ящики из картона и гофрокартона преимущественно используются для упаковки продовольственных товаров, фармацевтической продукции, изделий химической промышленности. В США производством складных коробок занято около 600 заводов, перерабатывающих 3 миллиона тонн картона. Их объем продаж превышает миллиард долларов. Распределение используемых в США складных коробок и ящиков по видам упаковываемой продукции приведено в таблице 1.1 [1].

Таблица 1.1 Распределение складных коробок и ящиков из картона и гофрокартона по видам упаковываемой продукции.

Вид упаковываемой продукции, %

Объем использования коробок, %

Продовольственные товары

 47

Фармацевтическая продукция

 9

Стиральные порошки

 8

Скобяные товары

 8

Перевозка напитков

 7

Ассортиментные коробки

 5

Текстиль

 3

Остальное

 13

1.2 Современные проблемы отрасли

Дальнейшее развитие российской упаковочной отрасли в целом сдерживается на сегодняшний день следующими основными факторами:

· дефицит высококвалифицированных кадров;

· отсутствие современного упаковочного оборудования в необходимом

 ассортименте;

· экологические аспекты;

· несовершенство нормативно-законодательной базы;

· недостаток поддержки со стороны правительственных органов [3].

Проблема обеспечения кадрами российской упаковочной отрасли содержит две составляющие. Во-первых, в нашей стране до 1996 года вообще не готовили специалистов по упаковке. Поэтому необходимо введение соответствующих специальностей в вузах страны с целью базовой подготовки молодых инженеров-упаковщиков и насыщение этими кадрами постоянно растущей отечественной упаковочной индустрии. Во-вторых, специалисты, уже сегодня работающие на предприятиях отрасли, в большинстве своем обладают познаниями в достаточно узком диапазоне, что не дает им возможности правильно выбирать производимую продукцию и рынки сбыта ее. Кроме того, даже в своем конкретном сегменте они зачастую мало знакомы с современными материалами, технологиями и оборудованием. Следовательно, необходима система повышения квалификации для специалистов в области современных упаковочных технологий [3].

В ближайшие годы в сфере упаковки будет развиваться прикладная наука. Будет, наконец, создана отечественная школа подготовки и переподготовки кадров для упаковочной отрасли. Стандартизация и дизайн отечественной упаковки будет приближаться к общеевропейскому уровню. При этом все сильнее будут развиваться черты национального дизайна упаковочной продукции. Все это позволит вступить во Всемирную торговую организацию.

С развитием российской упаковочной индустрии емкость рынка упаковочного оборудования в нашей стране непрерывно растет. Насытить оборудованием такой огромный, постоянно ратующий упаковочный рынок только за счет импорта попросту невозможно. Таким образом, развитие отечественного упаковочного машиностроения является необходимым условиям существования, как независимой упаковочной индустрии, так и всей экономики страны в целом.

Одновременно с ростом объема производства упаковки в ближайшие годы будут расти объемы отходов. В этой связи срочно надо создать в крупных городах России единую систему сепаративного сбора и переработки отходов упаковки. К концу столетия отходы упаковки станут для многих стран Западной Европы основным источником топливно-энергетических ресурсов. Постепенно этот процесс так или иначе коснется и России.

Интенсивное развитие, рост российской упаковочной отрасли, увеличение ее влияния на другие отрасли, а также активная разъяснительная работа профессиональных упаковочных организаций приносят свои плоды. Во властные структуры России постепенно приходит понимание важности этого сектора экономики. Так, в декабре 1999г. в Гражданский кодекс РФ были введены статьи, обязывающие продавца передавать покупателю товар в упаковке, а также обусловливающие ответственность за ненадлежащее качество упаковки. В Федеральном законе РФ «О качестве и безопасности пищевых продуктов» предусмотрены требования к упаковочным материалам и изделиям. Закон запрещает розничную продажу не расфасованных и неупакованных пищевых продуктов.

Однако существует еще целый ряд отраслевых проблем, которые требуют направленного вмешательства государственных органов. К ним относится прежде всего несовершенство налогового и таможенного законодательства. Так, таможенные ставки на ввоз из-за рубежа упаковочных материалов и сырья для них зачастую превышают ставки на ввоз готовой упаковки в 3-4 раза, что совсем не стимулирует отечественных изготовителей упаковки. Высокие таможенные пошлины на комплектующие зарубежного производства, используемые при производстве отечественных упаковочных машин, значительно удорожают оборудование, собранное на российских предприятиях, и т.д.

Недостаток законодательной базы мешает хоть сколько-нибудь заметному проникновению в жизнь и такого важного для российских производителей упаковки и упаковочного оборудования рыночного инструмента, как лизинг. Ведь на упаковочную отрасль не распространяется государственное кредитование лизинга, действующее, например, в производстве сельскохозяйственной продукции. Хотя эти отрасли очевидно взаимосвязаны.

Отсутствие официального государственного «упаковочного» органа, а также дефицит профессиональных знаний по упаковке у лиц, подготавливающих и принимающих соответствующие программные решения на уровне государства, зачастую замедляют формулирование и проведение необходимых мер, а иногда приводят к появлению предложений, эффект от которых может быть обратным ожидаемому. В стране до сих пор нет четко продуманной, утвержденной на государственном уровне программы развития упаковочного сектора экономики.

2 Особенности разработки упаковки

2.1 Комплексный анализ

Для создания упаковки удовлетворяющей многочисленным и разнообразным требованиям, еще на стадии разработки конструкции следует проводить комплексный анализ, позволяющий сделать оптимальный выбор во взаимосвязанной цепочке важнейших элементов упаковки:

· материал;

· конструкция;

· дизайн;

· метод изготовления;

· метод упаковывания;

· сеть и условия распространения;

· особенности использования;

· утилизация использованной упаковки.

Комплексный анализ и выбор оптимальных решений при разработке упаковки можно разделить на три основных этапа. Первый этап включает сбор необходимой информации. Второй этап – непосредственно комплексный анализ собранной информации. Третий этап- принятие оптимального решения разработка мероприятий по изготовлению упаковки[9].

2.2 Маркетинговые исследования упаковки, представленной на рынке

Выполняемые перед проектированием маркетинговые исследования направлены на изучение особенностей рынка потребления продукции в упаковке, которую предполагают конструировать. Особенностью упаковки является то, что она служит средством привлечения внимания потенциального покупателя, побуждает его к покупке упакованной продукции. Покупатель в местах розничной торговли прежде всего рассматривает упаковку и лишь потом изучает особенности самого продукта. Привлекает внимание покупателя сочетание цвета, графики, формы и текстуры упаковки. Эти факторы обеспечивают новизну, узнаваемость, уровень авторитетности и признания. Эффект привлечения внимания дополняется размещённой на упаковке рекламой и полезной информацией. Удачная упаковка способна сформировать высокий имидж продукта. Для побуждения потребителя к покупке его необходимо увлечь сочетанием упаковка-продукт, выделить это сочетание среди подобных на витрине. Кроме того, упаковка играет роль молчаливого продавца продукта.

 Для обеспечения сбыта продукции очень важно знать специфические особенности покупателей. Эти особенности определяются сочетанием демографических и психологических факторов. Демография делит население на группы по полу, возрасту, этнической принадлежности и социально-экономическому статусу. Психология идёт дальше в своей попытке разбить население на группы в зависимости от того, что оно думает и чувствует. Эта наука является субъективной по своей природе и поэтому менее точной, чем демография. Но психология должна входить в состав исследований, целью которых является прогнозирование сбыта упакованной продукции путём удовлетворения запросов потребителей.

 Для обеспечения максимального сбыта продукции за счёт упаковки необходимо иметь достоверную информацию по целому ряду вопросов:

· Кто собирается купить продукцию?

· Какие качества и особенности продукции и упаковки будут особенно значимы для различных категорий покупателей?

· Какие специальные требования к особенностям потребления продукции и к конструкции упаковки предъявляют различные категории покупателей?

· Какой имидж продукту должна придать упаковка?

· Как выделить за счёт упаковки сходные продукты потребления?

 Ответ на эти и другие вопросы поможет принять правильное решение при конструировании упаковки. Это особенно важно при существовании общепринятого стереотипа восприятия потребителем упаковки для традиционного ассортимента продукции. В этом случае риск при вверении принципиально новой концепции упаковки может быть слишком высоким.

 Маркетинговые исследования важны и для определения оптимального уровня стоимости данного продукта. Исследования выявляют факторы, влияющие на решение о стоимости упаковки. Базовыми показателями в этих вопросах являются размеры рынка потребления и реальные объёмы сбыта продукции. От этих показателей зависит, может ли прибыль от реализации продукции окупить расходы по полному циклу процессов конструирования и подготовки производства принципиально новой упаковки. Стоимость упаковки определяет возможности её художественного оформления и соответствующей отделки.

 Сведения о размерах рынка потребления служат основой при выборе технологии производства и подготовки к упаковыванию продукции и упаковки, определении параметров технологического оборудования (тип, формат, скорость и т. п.) для всех этапов жизненного цикла упаковки.

 Информация о рынке важна для определения этапов и сроков подготовки производства и продвижения упакованной продукции. Чётко спланированные и проведенные маркетинговые исследования рынка позволяют составить грамотное техническое задание на проектирование упаковки и определить объём всех стадий разработки проекта.

В том или ином варианте пельмени существуют в кухнях многих стран, и каждая из них претендует на пальму первенства в этом виде кулинарного искусства. Тем не менее мы считаем этот продукт абсолютно русским. А значит, нашу страну предъявить без них сложно. Постараемся вспомнить, какими они были лет 15-20 назад.

Даже в эпоху тотального дефицита этот продукт периодически на прилавках появлялся. И магазинные пельмени были весьма популярны. Ответ на вопрос об их качественных характеристиках пусть останется в прошлом, важно, что продукт пользовался стабильным спросом. Активно потреблялись они по нескольким причинам: во-первых — недорого, во-вторых — сравнительно просто готовить (засыпать в кипяток и дождаться пока всплывут), в-третьих — сытно. Одна вот была беда: сказать про тогдашние пельмени, что это было не только дешево и сытно, но и вкусно, как-то не получалось... Но знали мы и другие пельмени: если удавалось уговорить маму или бабушку налепить их собственноручно, то из будничного этот продукт превращался в праздничный — такому обеду радовались и его ждали. Из этого следует, что пельмени бывают еще и вкусными!

С тех пор много воды утекло, однако пристрастия нашего народа не изменились и пельмени по-прежнему охотно покупают. В любом супермаркете легко встретить десятки всевозможных их сортов и видов. Причин тому несколько:

·   Традиционная популярность пельменей у нашего народа. Испокон веков их ели, едят и есть будут.

·   Огромное разнообразие их видов и рецептов. В свое время в каждом районе Советского Союза имелся свой собственный, подчас уникальный, рецепт. А если приравнять к пельменям еще и вареники (с точки зрения технологии производства, внешнего вида продукта и их упаковки это одно и то же), ассортимент расширяется многократно.

·   Пельмени, пожалуй, единственный продукт, который может быть как недорогим обиходным, так и престижным праздничным. А это еще больше увеличивает число видов продукта.

Таким образом, к настоящему времени сформировалась определенная номенклатура пельменей и однотипных продуктов (равиоли, манты, вареники и т. д.) — далее для простоты все их будем считать пельменями.

В рыночный процесс вовлечено множество фирм и компаний, поэтому для каждого производителя естественен и актуален вопрос: как заставить купить продукцию своего предприятия при наличии у покупателя огромного выбора. На помощь здесь приходит упаковка. Необходимо проанализировать какие тенденции существуют сегодня в упаковке пельменей, какие идеи эксплуатируются компаниями для того, чтобы привлечь как можно больше покупателей, и попробовать эти идеи как-то сгруппировать. Такая структуризация позволит правильно сориентироваться и выйти на рынок с новыми идеями.[5]

При тщательном осмотре полок супермаркетов были выявлены несколько основных направлений развития рынка пельменей. Среди всего их многообразия можно выделить несколько групп.

Большие объемы производства. Пельмени сегодня не производит только ленивый. Но большая доля рынка принадлежит нескольким ведущим торговым маркам, которые выпускаются массовым тиражом, и именно эти пельмени заполняют холодильники в подавляющем большинстве супермаркетов, оставляя остальным видам лишь небольшую часть территории. Для того чтобы заполнить как можно больше пространства в магазине, производителю приходится выпускать широкий ассортимент всевозможных видов пельмени (например, одних только пельменей «Дарья» можно насчитать десятки сортов).

Насколько они на самом деле отличаются на вкус, сказать сложно, однако цель свою производитель достиг — пельменей его торговой марки в магазинах всегда много. А значит покупатель, пришедший в магазин «за пельменями», с большей долей вероятности возьмет продукт именно этой компании — потому, что его существенно больше.

Собственно упаковка для такого типа продуктов, как правило, не отличается особым изыском — в подавляющем большинстве случаев: заваренный полимерный пакет с напечатанным изображением. Обязательно крупно выделяется логотип компании, чтобы не путали с товаром других производителей.

Попытки выделиться. Сюда следует отнести массовую продукцию некоторых компаний, которые, используя стандартную упаковку (полимерный пакет), тем не менее стремятся сделать свои изделия более узнаваемыми. Вход могут идти различные приемы, однако один из наиболее действенных — улучшенный (более яркий, выразительный и привлекательный вид упаковки). Хороший результат дает применение металлизированной пленки. Правда, этот эффект будет работать до тех пор, пока другие компании не последуют хорошему примеру.

 «Улучшенный продукт». Тоже довольно многочисленная группа — это продукты, которые позиционируются производителями, как товар более высокого качества. И чтобы подчеркнуть данную характеристику, они обладают, соответственно, более дорогой и привлекательной упаковкой. В подавляющем большинстве случаев это картонная коробка с красивым и качественно исполненным изображением.

Такую упаковку приятно брать в руки, красочное оформеление притягивает взгляд. Коробку хочется получше рассмотреть, а подержав ее в руках несколько минут, появляется желание попробовать то, что внутри. И пельмени перемещаются в тележку покупателя.

Ностальгический вариант. Сравнительно недавно в магазинах появился продукт, аналогичный по форме и виду упаковки тому, который существовал 15-20 лет назад. Очевидно, что маркетинговый расчет построен на приятных воспоминаниях, связанных с прошлым, которые есть у всех. Люди более старшего поколения вспоминают о советских временах с ностальгией. Визуальные образы прошлого обычно долго сохраняются в нашем сознании и подсознании. Глядя на знакомую упаковку, человек вспомнит что-то радостное, веселое, связанное с теми годами, да и купит «те же пельмени, что и тогда...»

Насколько эффективен такой подход к продвижению продукта, однозначно сказать сложно, однако, на наш взгляд, это все равно лучше, чем безликая упаковка, которой и так много. Лучше уж чем-то отличаться, чем не отличаться вообще.

«Домашний» продукт. Уже отмечено, какую радость доставляли нам пельмени домашние, сделанные руками мам или бабушек (или даже своими собственными). Это нефабричный продукт, и производитель именно на этом делает акцент. Для такого рода пельменей целенаправленно не разрабатывается какая-либо особая упаковка — используется стандартный контейнер. Сверху помещается напечатанная в одну-две краски простейшая этикетка, на которой обязательно будет выделено, что этот продукт «изготовлен вручную».

Так подчеркивается основное преимущество изделия — то, что это малотиражный и hand-made, как теперь принято говорить, продукт. А, следовательно, ему не требуется специальная упаковка («домашний» продукт должен и упаковываться «по-домашнему»). Кстати, эта идея поддерживается и в магазине, на полке которого одновременно лежат, как правило, лишь несколько подобных упаковок, показывая, что пельменей руками в домашних условиях много не сделаешь.

Именной продукт. Некоторое время назад возникло увлечение именными (фамильными) продуктами. Обычно «фамильные» названия ассоциируются с семейным производством, поэтому предполагается, что продукт должен быть более высокого качества, как бы «домашней кухни». Считается также, что производитель побоится ставить свою фамилию в названии продукта, если он не отвечает определенным требованиям.

Существует несколько серий продуктов, объединенных той или иной фамилией (например, продукты от Ильиной).

Этот продукт оформляется с претензией на высокое качество: для упаковки используются необычные коробки с многокрасочной печатью высокого качества, с высеченными окнами.

Такие продукты выкладываются на прилавок магазина в небольшом количестве, чтобы обеспечить им некоторую элитарность.

 Стилизация. Отдельную группу престижных продуктов составляют пельмени, упаковка которых вызывает какие-либо специальные ассоциации. Как известно, в старину на Руси пельменей, готовили помногу, впрок, и хранили в замороженном виде в холщовых мешках в погребе на льду. Точно так же в Сибири пельмени скаладывали в деревянные бочки и хранили всю зиму в замороженном виде. В наши дни в магазине можно встретить пельмени, упакованные в небольшие мешочки или даже маленькие деревянные бочонки. По-видимому, это должно вызывать ассоциации с «веками одобренным» продуктом, выполненным «по старинным рецептам», что в общем означает неоспоримо высокое качество. И хотя такие продукты в магазинах встречаются не так часто, а если выставлены на витрину, то в небольшом количестве, тем не менее они не залеживаются, даже несмотря на высокую цену.

Во всяком случае «Пельмени бочковые» не лежат в магазине более одного дня. Это может быть связано с тем, что их изначально очень мало привозят, и с тем, что продукт быстро разбирают, польстившись на упаковку.

Но даже если и первое, факт остается фактом — покупателей не останавливает высокая (раза в 3-4 выше обычной) цена пельменей. Что значит интересная идея, интересная упаковка!

2.3 Анализ упаковываемого продукта

Производство мяса и мясных продуктов всегда было и остается наиболее трудоемкой и дорогостоящей отраслью АПК. Мясные изделия являются высокоценной пищей, обеспечивающей потребности человека в животных белках, витаминах, минеральных веществах.

 К качеству мяса предъявляются высокие требования. При выборе упаковки для мяса и мясных продуктов следует учитывать микробиологические и биохимические процессы, протекающие в мясных продуктах, подвергающихся кулинарной и тепловой обработке, сроки реализации, условия хранения и транспортирования. Мышечная ткань состоит из воды, белков, небольшого количества азотосодержащих экстрактивных веществ, жиров, минеральных солей, углеводов, углекислоты, азота, а также ферментов. Действие ферментов, выполняющие в живом организме биологические функции, после убоя животных не прекращается, но процессы обмена принимают другое направление, развиваются процессы распада.

Таким требованиям отвечают материалы как полимерные, так и упаковка из бумаги и тканей. Но к наиболее «дорогой» и представительной больше относится упаковка из последних материалов. Упаковываемый продукт будет позиционироваться как высококачественный, поэтому упаковка для него должна удовлетворять высоким требованиям потенциального покупателя. А это значит материал для упаковки пельменей должен быть экологически чистым, обеспечивающим защитные свойства и интересное дизайнерское решение как конструктивного, так и графического характера. Анализируя исследование рынка пельменей можно сделать вывод о предпочтительном материале и способе отделки упаковываемой продукции: наиболее доверительным отношением покупателей пользуется картонная упаковка, следовательно, для потиснения на рынке конкурентов новому продукту необходима упаковка из аналогичных материалов с оригинальным конструкторским решением, выгодно выделяющим его от других аналогичных товаров.

2.4 Этапы разработки упаковки

На этапе разработки упаковки осуществляется выбор материала (конкретной марки и других характеристик картона), определение формы и габаритных размеров упаковки, цветового решения, разработка текста и изображений и разработка конструкции упаковки, куда входят выбор клеевых соединений, замковых затворов, конструкций дна, крышки и т. д.

Оптимальное соотношение основных размеров коробок должно обеспечивать их хорошую устойчивость как при транспортировке и хранении, так на витрине и стеллажах магазина. Коробки с товаром не должны падать, иначе теряется благоприятное впечатление при покупке.

Увеличение объема производства и повышение производительности предъявляют новые требования к упаковке со стороны сфер распределения и розничной торговли. Прежде всего это сокращение затрат за счет рационализации распределения, экономии трудовых ресурсов и уменьшении потерь.

Одним из наиболее эффективных путей снижения затрат на распределение и продажу является создание групповых модульных упаковок, пригодных для транспортировки и хранения и выкладки на стеллажи в магазинах. Для этого габаритные размеры упаковок должны быть кратны размерам групповой модульной упаковки, которая в свою очередь, создается с учетом размеров стандартных поддонов и магазинных стеллажей.

Стандартные поддоны имеют размеры 800х1200мм и 1000х1200.

Размеры проектируемой упаковки: 158х 245х48,5

1. 5 коробок на 4 коробки с люфтом 22 см, 20 коробок

2. 4 коробки на 7 коробок с люфтом 9,4см, 28 коробки

Очевидно, что проектируемая упаковка для пельменей будет экономичнее штабелироваться на паллете размером 1000х1200.

В магазинах самообслуживания индивидуальные потребительские коробки выполняют роль продавца. Они должны иметь привлекательный внешний вид и вполной мере выполнять требования информационной функции - отражать индивидуальные особенности товара, предоставлять необходимую информацию о нем, рекламу их.

К процессу проектирования упаковки из картона относят разработку чертежа развертки упаковки, разработку графического дизайна упаковки, верстку графического дизайна упаковки и изготовление опытного образца упаковки. Автоматизация проектирования способствует облегчению процесса проектирования, уменьшению трудоемкости процесса проектирования, сокращению количества ошибок при проектировании. Основным средством автоматизации разработки чертежа развертки упаковки являются САПР – системы автоматизированного проектирования. Различают универсальные САПР и специализированные САПР, ориентированные на специфику конкретной индустрии (в нашем случае - индустрии упаковки из картона). Как правило, специализированные САПР входят в состав сложных программных комплексов, которые помимо САПР включают системы автоматизированного управления технологическими процессами (АСУТП).

Составление технического задания

 
Рис.9. Схема технологии производства упаковки из картона

 

Разработка упаковки

 
                                                                                    

 


Верстка графического дизайна

 
                                                                                                              

 

Изготовление макета

 
 

 

Раскладка на лист

 
                                                                                    

                                                                                                                               

Разработка чертежей штанц. оснастки

 

Изготовление печатных форм

 
 

                                                                                                                                   

Печать и отделка

 

Изготовление штанц. оснастки

 
 

                                                                                                             

 

Отделение облоя

 
                                                                       

Отделение заготовок коробок

 
                                                                        

Фальцовка

 
                                                                         

 

Склеивание

 
 

 


                                                                                                                   

3 Выбор материала для упаковки

3.1 Выбор картона для упаковки пельменей

Подход к каждой из систем «пищевой продукт-упаковка» индивидуален. Выбор материала упаковки определяется составом упаковываемого продукта, условиями и сроком хранения. Зная биохимический состав продуктов можно сформулировать основные требования к упаковочным материалам и выбрать метод упаковывания. Необходимо учитывать тот факт, что в процессе хранения происходят сложные биохимические процессы в продукте, а также взаимодействие между продуктом и упаковкой с одной стороны, упаковкой и окружающей средой с другой. Поэтому при выборе упаковки для того или иного продукта важно учитывать барьерные свойства упаковочного материала, которые зависят от его проницаемости по отношению к различным средам (влага, пары, газы, жиры), свету, запахам.

Характеристики проницаемости упаковочного материала в сочетании с чувствительностью пищевых продуктов к комплексу факторов внешней среды позволяют установить расчетным путем срок хранения продукта в упаковке. При этом взаимодействие внешней среды с пищевым продуктом можно рассматривать как состоящую из компонентов: внешняя среда–внутренняя среда–пищевой продукт.

Пищевой продукт постоянно находится в непосредственном контакте со средой внутри упаковки, состав которой зависит от условий хранения и внешней средой, взаимодействие с которой определяется барьерными свойствами упаковочных материалов.

Выбор упаковки определяется несколькими критериями:

·   биохимическим составом упаковываемого продукта;

·   условиями хранения;

·   свойствами упаковочного материала (барьерные, санитарно-гигиенические, физико-механические, технологические, устойчивость к старению и ряд др.);

·   кинетикой изменения качества продукта и упаковки.

Физиолигическая безвредность – одно из важнейших требований к упаковочным материалам, находящимся в непосредственном контакте с пищевыми продуктами. Под физиологической безвредностью понимается невозможность перехода в пищевой продукт из материала упаковки посторонних (особенно низкомолекулярных веществ), изменяющих вкус и запах продукта и оказывающих вредное влияние на организм человека. В полимерном материале такими веществами могут быть низкомолекулярные продукты его синтеза (мономеры), а также применяемые при синтезе и недостаточно отмытые катализаторы, инициаторы, эмульгаторы, красители и другие вспомогательные компоненты.

В каждом конкретном случае применения полимерного материала для упаковки пищевого продукта должно быть получено разрешение специального органа здравоохранения в соответствии с утвержденным в каждой стране санитарно-гигиеническим законодательством. В Российской Федерации процесс санитарно-гигиенических исследований упаковочных материалов, поступающих на потребительский рынок, многоступенчатый и осуществляется в соответствии с ГОСТ 22648—92 «Пластмассы. Методы определений гигиенических показателей». Санитарно-гигиенические исследования составляют единый комплекс и включают три этапа: органолептическую оценку; санитарно-химические исследования; токсикологическую проверку на животных. Получение на любом из этих этапов отрицательных результатов является основанием для отклонения материала для контакта с пищевыми продуктами и запрета на использование его в качестве упаковочного.

Органолептические исследования основываются на высокой чувствительности вкусового и обонятельного аппарата человека и позволяют в ряде случаев не только определять посторонние привкус и запах, но даже идентифицировать их. Органолептическая оценка всегда предшествует санитарно-химической. Объектом ее может являться как полимерный материал, так и упаковываемый в него продукт. Органолептическая оценка позволяет по привкусу, запаху, внешнему виду выявить недопустимое воздействие исследуемого материала на пищевой продукт (или наоборот).

Санитарно-химические исследования осуществляют, как правило, аналитическими методами и сводят к количественной интегральной или специфической оценке миграции посторонних веществ из упаковки в пищевой продукт. Этими методами могут быть идентифицированы мономеры и вспомогательные вещества, используемые в процессе синтеза полимера. В отечественной практике используется метод санитарно-химических исследований, предусматривающий комплексное определение по определенной схеме посторонних веществ в трех фазах: твердой, жидкой и газообразной.

Токсикологические исследования проводятся с целью установления критерия токсичности.

Перечисленные выше требования, предъявляемые к контактирующим с продуктами питания полимерным материалам, в значительной степени ограничивают их число.[8]

Упаковочные картоны имеют многослойную структуру - она увеличивает толщину и жесткость материала. Основным сырьем для их изготовления служат беленая и небеленая целлюлоза, древесная масса, макулатура. В дальнейшем речь будет идти о мелованных упаковочных картонах.

Картоны, содержащие макулатуру, несколько дешевле, однако они, как правило, обладают меньшей жесткостью. Для увеличения жесткости, прочности и влагостойкости используется целлюлоза повышенной прочности (крафт). Качество того или иного сорта картона характеризует совокупность его потребительских свойств: печатных, жесткостных, барьерных. Важно выбрать марку картона с оптимальным сочетанием цены и перечисленных свойств. Рассмотрим группы картонов и попытаемся разобраться, чем они отличаются друг от друга.

Несмотря на то, что картоны из первичных волокон имеют существенные преимущества по жесткости и гладкости (даже без дополнительной обработки), у них есть один существенный недостаток - высокая цена. Поэтому, если к дизайну и прочностным характеристикам не предъявляется особых требований, использование материалов этой группы вряд ли оправдано. Скорее, они могут использоваться для упаковки товаров, которые позиционируются как дорогие и эксклюзивные, хотя, из любого правила существуют исключения.

К материалам из первичных волокон относятся и более дешевые картоны из крафт-целлюлозы. Они отличаются характерным коричневатым (кофе с молоком) цветом оборотной стороны и повышенными жесткостными и барьерными свойствами.

Учитывая, что крафт-картоны более жесткие и устойчивые к влаге, чем макулатурные, можно значительно расширить сферу их использования при изменении отношения к эстетическим свойствам «кофейного» оборота. Картоны из крафт-целлюлозы обходятся производителю упаковки дешевле, а значит, появляется возможность снизить цену конечного продукта.

При производстве материалов этой группы наряду с целлюлозой и древесной массой значительную весовую долю составляет макулатура. Это снижает стоимость картона, но приводит к уменьшению жесткости материала. При одинаковой плотности, макулатурные картоны на 20-30% менее жесткие, чем картоны из первичных волокон. Следовательно, если из-за экономических или каких-либо других соображений производителю приходится переходить на макулатурный картон, то для сохранения прочностных свойств упаковки нужно будет выбирать более плотный по сравнению с чистоцеллюлозным материал.

Как правило, макулатурные картоны используются для массового производства, где требования к снижению стоимости упаковки особенно жесткие: продукты питания (чай, кофе, пельмени), пачки для недорогих табачных изделий, коробки для стиральных порошков, лекарственных препаратов, детских игр. Следует, правда, иметь в виду, что макулатурные слои упаковочных картонов не допускаются к прямому контакту с пищевыми продуктами. Решением проблемы может служить использование дополнительной упаковки (так называемого «пакета в коробке»). При этом сохраняется требуемая жесткость конструкции, а контакт картона с продуктом исключается.

Для изготовления красочной упаковки, как правило, используют мелованные (покрытые) картоны. Качество покрытия лицевой стороны играет важнейшую роль для полноцветной печати, в особенности, если предполагается лакирование или тиснение. В качестве показателей качества покрытия приводятся только белизна, глянец и гладкость поверхности.

Помимо качества мелованного покрытия, при производстве коробок существенны высечные свойства картонов. Стандартных измеряемых показателей этих свойств нет, поэтому приходится проверять их опытным путем.

· лучше ведут себя при высечке и биговке картоны из первичных волокон;

· чем выше пухлость картона, тем лучше он высекается и бигуется.

Жесткость картона является одной из его главных характеристик, так как упаковка должна, в первую очередь, выполнять функцию защиты содержимого. При одной и той же плотности картоны разных марок могут обладать различными жесткостными характеристиками.

Жесткость картона определяется его толщиной и упругими свойствами сырья, причем толщина влияет на жесткость нелинейно. Под жесткостью материалов обычно понимается их сопротивляемость деформациям, возникающим под воздействием внешних сил и нагрузок. Это определение, принятое в курсе сопротивления материалов, полностью применимо к листу бумаги или картона, а также изделиям из них.

Факторы, повышающие жесткость:

· увеличение веса, а следовательно, толщины;

· увеличение объемного веса картона, не содержащего в композиции минеральных наполнителей (без снижения толщины);

· проклейка связующими веществами;

· преобладание в бумажной композиции длинноволокнистой целлюлозы;

· высокая степень помола бумажной массы.

Факторы, понижающие жесткость:

· противоположные перечисленным;

· каландрирование.

Пухлость зависит от композиции бумажной массы, используемой для изготовления бумаги или картона. Значительное количество волокон предварительно высушенной или замороженной целлюлозы способствует получению пухлой бумаги. Коротковолокнистые материалы (например, целлюлоза из лиственных пород древесины) или материалы, склонные к укорочению в процессе размола волокон сульфитной целлюлозы, отбраковка от вискозной целлюлозы, большое количество макулатуры и сухого оборотного брака также увеличивают пухлость бумаги.

Связь между пухлостью материала и его жесткостью при этом выражена значительно слабее, чем для макулатурных картонов. Характерной чертой картонов с крафт-целлюлозой является меньшее значение толщины (и, следовательно, пухлости) при тех же значениях жесткости.

Ценовым ориентиром при выборе картона (без учета его остальных свойств) должна являться не стоимость тонны, а стоимость 1 м2 при фиксированной (необходимой для данного вида упаковки) жесткости. Зная жесткостные характеристики картонов, можно сравнить ценовую привлекательность той или иной марки.

Барьерные свойства.

От правильного выбора барьерных свойств материала зависит не только внешний вид упаковки, но и срок хранения продукта и величина потерь на этапе его транспортирования.

Для упаковки замороженных продуктов должны использоваться картоны с низкой восприимчивостью к влаге. Этого требует цикл транспортировки и хранения продуктов глубокой заморозки. Если в таких случаях используются неспециальные картоны, то при неизбежных перепадах температуры влага как правило приводит к короблению и даже нарушению упаковки, что ухудшает внешний «товарный» вид и сохранность содержимого упаковки.

Важным показателем в данном случае является показатель стойкости к влаге. Устойчивость картона к влаге измеряется количеством воды, которое впитывается 1 м2 какой-либо стороной картона в течении определенного времени. Для картонов без специального покрытия типичное значение составляет от 30 до 60 г/м2. Измерения проводятся по методу Кобба. Время измерения - 60 сек. Для упаковки замороженных продуктов должны использоваться картоны с показателем впитываемости влаги оборотной стороны меньше 45 г/м2 . Такой показатель может достигаться, к примеру, специальной пропиткой бумажной массы при изготовлении картона.

Требования европейских потребителей, предъявляемые к картону для упаковки различных продуктов питания указаны в таблице:

Вид продукта


Жиростойкость,КИТ, не менее



Впитываемость влаги

не более, г/м2

Сухой корм для животных


10


--

Замороженные продукты


8


Кообб180, 45

Выпечка и балалея


7


Кообб80, 25

Масло и маргарин


8


Кообб80, 25

Еда быстрого приготовления


6


Кообб80, 25

Мясо, птица


8


Кообб80, 25

Таблица 7. Требования, предъявляемые к картону для упаковки различных продуктов питания

Выбранная марка картона:

TECTABase

Картон с дисперсионным покрытием для производства упаковки, требующей водо-, паро- и термопрочных свойств. Дисперсионное покрытие на водной основе не содержит соединений хлора, фтора и тяжелых металлов, а также смол. Изделия из картона TECTA могут скрепляться клеем, термоклеем или механически. Обладает избирательной способностью удерживать или высвобождать влагу и тепло.

Плотность 305 г/м2

Поставляется в листах формата: 62х94, 70х100 [10]

3.2 Выбор полимерной пленки для вклеенных окошек

Так как упаковываемый продукт подвергается заморозке, то помимо санитарно–гигиенических требований к полимерному материалу, предъявляется и требование к возможности эксплуатации его при низких температурах. При этом пленка должна обладать хорошей прозрачностью.

Полипропилен широко используемый для упаковки продуктов не удовлетворяет условиям эксплуатации при низких температурах.

Поливинилхлорид не удовлетворяет требованиям санитарно-гигиенических норм, т. к. последнее время экологии обнаруживают миграцию мономеров в продукт.

Полистирол наиболее подходящий полимер для применения его в условиях заморозки, а также обладает хорошей прозрачностью и удовлетворяет экологическим нормам.

4 Обзор программных продуктов САПР

Примерами специализированных CAD/CAM систем, которые включают в свой состав модули разработки чертежа развертки упаковки, являются MarbaCAD и Impact фирмы Arden Software, Artios фирмы Barco Graphics, Elcede DieCAD фирмы Elcede и т. д. Среди универсальных САПР наибольшее распространение получила система AutoCAD фирмы AutoDesk. Необходимо отметить, что применение других программных средств (например, программ обработки векторной графики) является непрофессиональным и лишенным системности подходом. Файл, полученный на этапе разработки чертежа развертки упаковки, в дальнейшем станет основой файлов, управляющих работой автоматизированного оборудования, поэтому качество выполнения чертежа (отсутствие разрывов, смещения узловых точек, дублирования элементов чертежа и др.) является критичным фактором. Специализированные САПР содержат соответствующие функции, завершающие разработку чертежа (например, функцию удаления «двойных» линий), поэтому даже в случае использования универсальных САПР для разработки новой конструкции предпочтительным является последующий «прогон» файла сквозь «сито» специальных функций модуля разработки чертежа развертки упаковки в составе специализированной CAD/CAM системы. Это предъявляет к специализированным программным средствам требование возможности импорта данных в формате универсальных САПР (в случае AutoCAD – файлы формата DXF). Также желательной является возможность импорта данных в формате других специализированных САПР.

В качестве средств разработки графического дизайна упаковки из картона используются те же программные пакеты, что и в традиционной полиграфии: Adobe Illustrator, Macromedia FreeHand, CorelDraw, Adobe PhotoShop. Также можно отметить программное решение ArtPro фирмы Artwork Systems, полностью ориентированное на дизайн этикетки и упаковки.

Под версткой графического дизайна упаковки из картона понимается совмещение графического дизайна и чертежа развертки упаковки и внесение необходимых изменений в дизайн. Оптимальным решением для выполнения верстки является работа со специализированными CAD/CAM системами. Точно так же, как в случае с инструментами разработки чертежа по отношению к универсальным САПР, в случае с инструментами обработки графики специализированные САПР содержат «облегченную» версию универсальных графических пакетов. Заметим, что в общем случае имеющихся в специализированных САПР инструментов вполне достаточно, так как на этапе верстки графический дизайн уже не претерпевает значительных изменений. Таким образом, к специализированным САПР предъявляется требование обеспечить возможность импортирования графических данных наиболее распространенных форматов.

Опытные образцы упаковки обычно изготавливают на плоттере, оснащенном инструментальными головками для резки и биговки. При этом для управления современными плоттерами (плоттеры, специализированные для индустрии упаковки, фирм Zünd, Lasercomb) используется набор команд языка HPGL (сокращение от Hewlett-Packard Graphics Language). Таким образом становится актуальной задача конвертации данных из формата САПР в формат HPGL. Некоторые модели плоттеров, не просто специализирующиеся для применения в индустрии упаковки из картона, а именно предназначенные для изготовления опытного образца (макета) упаковки (например, модель Lasercomb HSP), поддерживают возможность непосредственного управления из САПР, а также возможность работы в сети. В данном случае плоттер можно рассматривать как обычное сетевое устройство, и работа с ним аналогична работе с сетевым принтером. Среди последних тенденций в изготовлении опытного образца упаковки из картона можно отметить применение лазерных технологий и технологий фрезерования, причем возможно использование как отдельных лазерной или фрезерной установок, так и модулей лазерной или фрезерной резки в составе плоттерной системы.

Для печати опытного образца упаковки широко применяются струйные печатающие модули в составе плоттерных систем. В настоящее время прослеживается тенденция к переходу на использование цифровых печатных машин класса Computer-to-Print. В зарубежной литературе существует специальный термин “Sampleprinter”, который определяет подмножество цифровых печатных машин, нашедших наибольшее применение в макетировании упаковки из картона.

4.1 Impact

Сейчас на рынке есть несколько программных продуктов CAD/CAM, являющихся основой описанных автоматизированных программно-техничеких комплексов. Одна из них — программа Impact английской компании Arden Software.

Это программный продукт, обеспечивающий выполнение полной технологической цепочки от разработки кроя до изготовления штампов (плоских или ротационных). Он включает в себя процедуры работы с кроем, раскладкой, доской штампа, контрматрицей, штампами для удаления отходов, резиной, выводом на различные исполнительные устройства (плоттеры, лазерные резаки, фрезерные станки, водорезки), а также имеет набор фильтров импорта-экспорта.

Многие базовые концепции, заложенные еще в DOS-версии, оказались настолько удачными, что их следы можно встретить и самой последней версии программы Impact 2.1. К таковым можно отнести:

· вся работа ведется в единой пользовательской среде, базой которой является очень хороший графический редактор;

· программа «разделена» на ядро и функциональные блоки;

· используется «простая», но технологически ориентированная база данных;

· организация вывода на исполнительные устройства позволяет настроить процесс требуемым для пользователя образом;

· все функционирование программы «определяется» множеством настроек.

В графическом редакторе используются примитивы следующих типов: точка, прямая линия и отрезок, дуга, окружность и кривые Безье. Каждому примитиву назначается технологический признак — палитра, чтобы определить, что эта, например, линия высечки, а та — биговки. Таким образом, выполняя в программе различные процедуры, при условии правильного выбора типов палитр, пользователь всегда имеет «поддержку» от самой программы в виде подсказок или автоматизации определенных этапов обработки чертежа.

Блок раскладки кроя на листе картона

Графический редактор позволяет легко построить любой крой новой конструкции коробки. В принципе, этот способ разработчики Impact считают основным. Хотя ими же поддерживается обширная библиотека стандартных коробок, пользоваться которой достаточно просто — следует выбрать требуемый крой и задать несколько размеров. Далее крой автоматически рассчитается для заданных параметров с учетом типа выбранного материала. Но следует сказать, что для обеспечения этой «легкости», предварительно должна быть сделана настройка по типам картона, которые предполагается использовать на предприятии.

Рис.10.

Мастер создания раскладки коробки

Для создания кроя можно использовать отсканированный эскиз и функцию преобразования растрового изображения в векторное. И самое главное, каким бы способом ни была построена коробка, ее всегда можно редактировать, сохраняя при этом предшествующий вариант.

Положительной особенностью Impact является возможность сделать любой чертеж параметрическим, то есть проставив определенным образом размеры и заменив часть из них на параметры, пользователь превращает чертеж кроя в подобие стандарта из библиотеки: изменяются значения параметров, и коробка после пересчета перестраивается автоматически.

 Рис.11.

Расстановка ножей

Блок раскладки кроя на листе картона (или доске штампа) осуществляет свои задачи автоматически. Однако пользователь может значительно влиять на конечный результат, меняя соответственные параметры. На листе можно раскладывать несколько типов кроя с учетом, например, тиражности каждого. Кроме того, имеются настройки, которые определяются типом используемого высечного пресса. Это влияет на размер передней и задней кромок, «запасы» по бокам листа. Если на предприятии используется несколько типов прессов, то следует подготовить настройки для каждого из них, а в процессе раскладки необходимо указать программе, настройки для какого пресса использовать. Естественно, в раскладке крой может укладываться «нож в нож» или с заданным зазором.

Вышеперечисленные функциональные возможности входят в пакет Impact Designer, который предназначен для пользователей, занимающихся только разработкой коробок и заказывающих штампы «на стороне».

Для тех компаний, которые вовлечены в процесс изготовления различной оснастки для высечки, предлагается пакет Impact Diemaker, который в дополнение к функции конструктора включает в себя блоки создания доски штампа, штампов для удаления отходов, разработки контрматрицы, размещение резины. Все эти процедуры автоматизированы, «поведение» их при работе определяется многочисленными настройками, которые при необходимости можно (или следует) менять. Коротко перечислим, что можно делать с помощью этих процедур: удалять «общие ножи», размещать ножи для разделения на части краевых и внутренних отходов, формирования форм самих досок (верхней и нижней) для удаления отходов, размещение служебных символов, создавать все элементы контрматрицы (каналы на основе бигов, внешние «отрезные» контуры с учетом использования двух типов фрез, с углами 160 и 120° при вершине), размещение различных типов резины на штампе и редактирование профилей резины, раскладка резины одного типа на листе для кроя.

Программа также позволяет подготовить файлы для автоматизированного оборудования изготовления ножей штампа.

Блок вывода Impact позволяет управлять плоттером, чтобы либо просто вывести чертеж, либо изготовить образец коробки из обычного или гофрированного картона. Соответствующие настройки вывода также обеспечат правильную процедуру фрезерования контрматрицы на соответствующем оборудовании или же «раскрой» доски (роторной заготовки) на лобзике или лазерном резаке.

 

Рис. 12.

Предварительный просмотр готовой коробки

В конструкторский пакет входит модуль трехмерной графики, который позволяет экспортировать (отсканировать) изображение и разместить его должным образом на чертеже кроя коробки. Далее эту коробку можно «сложить», при этом вся графика будет видна в соответствии с ракурсом объекта. Сложенную коробку можно подсветить одним или несколькими источниками света, переместить, повернуть в плоскости или в пространстве, «положить» в нее «товар», созданный в соответствующем программном обеспечении и затем импортированный сюда. Удачные сцены пользователь может «сфотографировать», и более того, записать анимацию, например, процесса складывания коробки. Таким образом, можно создавать презентационные сцены или даже ролики.

4.2 ArtiosCAD

ArtiosCAD позволяет конструировать любые виды упаковки из различных материалов, а также изготавливать оснастку для изготовления высекальных форм. ArtiosCAD состоит из нескольких программных модулей, организованных в разветвленную структуру. Созданные в Style Maker раскрои могут быть добавлены в библиотеку стилей.

Рис.13,

Connection является базовым компонентом любой конфигурации ArtiosCAD и позволяет тем дизайнерам упаковки, которые ее не создают и не меняют ее дизайн, подключаться к системе, открывать работы, проверять их и отправлять на вывод. Connections позволяет открывать подготовленные в ArtiosCAD раскрои упаковки, делать электронные монтажи, открывать трехмерные изображения упаковки. Открытый файл может быть распечатан на принтере или отправлен непосредственно на режущий плоттер для изготовления оснастки штампа. При изготовлении образцов упаковки в Connections оператор может выполнять тонкую настройку раскроя с учетом правил изготовления высекальных форм, в частности, высекания в углах во избежание зацепов при сборке упаковки.

Рис.14.

Главная задача модуля Layout — оптимально разместить раскрои. Builder позволяет в считанные секунды на базе библиотеки упаковочных раскроев и стилей создать новый раскрой для упаковки из картона или гофрокартона. Библиотека может пополняться новыми стилями из StyleMaker. Connection и Builder в большинстве случаев дают все возможности, которые требуются от CAD-систем для разработки упаковки, если, конечно, не создавать какую-то принципиально новую конструкцию. Библиотеки содержат все распространенные в мире типы раскроя. Стандартные стили очень просты в использовании, а: разветвленная справочно-информационная система позволяет задать основные параметры, на основании которых все остальные рассчитываются автоматически.

Designer — это модуль для создания новых раскроев. В комбинации с Builder он позволяет добавлять новые элементы или изменять геометрию раскроев выбранного стиля. После создания раскроя в Designer можно задать запечатываемые участки и участки выборочной лакировки несколькими щелчками мыши для обработки оформительского дизайна и форм для лакирования с помощью модуля DieMaker.

StyleMaker позволяет создавать настраиваемые раскрои упаковки с использованием любого из инструментов ArtiosCAD. Параметры формы и размеров могут задаваться в виде переменных, количество которых может быть неограниченным. Мощный программный инструмент Rebuild Playback автоматически разбирает порядок и последовательность действий конструктора-дизайнера раскроя, создавшего анализируемую упаковку. Этот инструмент позволяет понять логику создания раскроя и упрощает внесение изменений.

Рис.15

Изготовление высекальных форм можно ускорить с помощью модуля DieMaker

При создании корпоративной библиотеки стилей упаковки каждый стиль должен сопровождаться самодокументированием того, какие параметры могут использоваться и какие нет для конкретного стиля. Такое документирование обеспечивает специальный модуль Advanced StyleMaker. Использование созданного стиля становится доступным множеству других пользователей с разным уровнем профессиональной подготовки. Графический редактор позволяет задавать алгоритмы вычисления параметров по умолчанию. Например, размеры клапана для нанесения клея могут высчитываться автоматически на основании задания длины и ширины стороны коробки в виде рекомендованных минимальных и максимально возможных размеров клапана. Конструктор-дизайнер может принять предлагаемые программой размеры или задать свои.

Information Enhancement оснащает среду ArtiosCAD дополнительными инструментами управления информацией. Для этой цели создаются различные фильтры, позволяющие сортировать информацию о стилях, раскроях, оформлении, заказчиках и другую информацию собранную в банке данных.

Рис.16.

Информация, полученная с помощью Cost/Estimating, выводится в виде отчетов.

ArtMaker — собственный модуль графического дизайна системы ArtiosCAD, который позволяет изготавливать и совмещать графическое оформление с готовым раскроем упаковки. Раскрой упаковки является отправной точкой для графического дизайна с помощью ArtMaker. Возможна и обратная последовательность действий. Например, первоначально создается графический дизайн, а затем модуль AutoTrace создает соответствующий ему геометрический раскрой. Использование опции трехмерной «сборки» упаковки позволяет проверить соответствие графического дизайна раскрою на каждой стороне поверхности упаковки. Файл с трехмерной «сборкой» можно отправить заказчику по электронной почте, и заказчик может сам сфальцевать, собрать и разобрать проектируемую упаковку. Часто один и тот же раскрой используется с различным дизайном. Например, один раскрой упаковки может использоваться для ванильного, шоколадного или клубничного мороженого.

Каждый заказчик упаковки и каждый пользователь CAD-системы хочет как можно быстрее увидеть трехмерное изображение упаковки вместе с оформительской графикой. Это позволяет очень быстро позволяет сделать модуль Artios3D.

ArtiosCAD Layout предназначен для клонирования готового раскроя и создания монтажа для изготовления высекального инструмента. С помощью мыши можно на одном печатном формате разместить несколько различных раскроев для максимально полного заполнения листа. В случае необходимости Layout вычисляет координаты позиций единичных раскроев на листе и формат самого листа. Layout автоматически учитывает тип картона или бумаги, сторону, направление бумажных волокон, направление движения. Раскрой автоматически позиционируется на листе с учетом параметров материала.

Рис.17

Так выглядит работа в программе Esko-Graphics Plato

ArtiosCAD Intelligent Layout представляет собой программу оптимизирования раскроя упаковки и размещения на листе с точки зрения снижения производственных расходов. После задания модели печатной и высекальной машины и тиража для каждого варианта графического дизайна программа предлагает несколько оптимизированных вариантов на выбор. Оператор может поставить в соответствие каждому из вариантов перечень правил-ограничений в печати или обработке. Вместе с модулем Cost/Estimating программа Intelligent Layout принимает во внимание все расходные статьи и высчитывает расходы для определения оптимального варианта. Оператор сравнивает калькуляции расходов на печать и высечку каждого варианта и выбирает оптимальный. Выбранное решение готово к производству. В некоторых случаях не существует оптимального решения, позволяющего выполнить заказ, размещая раскрои на одном листе. Тогда программа комбинирует на одном листе два разных заказа.

База данных ArtiosCAD регистрирует все версии графического оформления, использованные для каждого раскроя. Печатался уже в прошлом этот мотив? Какая именно версия графического дизайна использовалась в последний раз для этого заказчика? Ответы на подобные вопросы быстро находятся с помощью базы данных.

DieMaker позволяет быстро изготавливать высекальные формы и формы для выборочной лакировки: определяются края ножей, их балансировка, рассчитываются отверстия под монтаж ножей. Функция Autorepeat следит за тем, чтобы высекальные формы для одного и того же раскроя упаковки были одинаковыми. DieMaker использует набор параметров для запоминания самой подходящей из всех возможных конфигураций высекального инструмента. Rotary DieMaker представляет собой программный инструмент для изготовления форм для ротационных высекальных машин.

Cost/Estimating с помощью интеллектуальных алгоритмов производит подсчеты производственных расходов для различные вариантов размещения раскроев упаковки на листе. Для работы модуля необходимо задать параметры расходных статей. Программа делает калькуляцию расходов на подготовку и выполнение заказа в зависимости от тиража для каждой статьи расходов. В частности, рассчитывает расход каждой краски в зависимости от запечатываемой площади. Редактор интеллектуальных алгоритмов позволяет задать производственные параметры для расчетов путем выбора из таблиц. Например, скорость работы офсетной машины задается в зависимости от красочности заказа и тиража. Или степень сложности высекальной оснастки влияет на скорость высекальной машины. Программа может подсчитать расходы в зависимости от тиража, а это часто требуется для подготовки коммерческого предложения на изготовление упаковки. Окончательная калькуляция расходов позволяет увидеть общую стоимость или с разбивкой по статьям расходов.

ReportMaker подготавливает шаблоны отчетов по заказу. Такой отчет может включать раскрой, любой вид собранной упаковки в трех измерениях, цвет, графику оформления, размеры, все параметры калькуляции, любую специфическую информацию из банка данных о заказчике и заказе, логотипы и т. д.

Esko-Graphics Plato — мощный программный инструмент для реализации функции step-and-repeat по размещению на печатной форме макетов этикетки или упаковки. Он позволяет импортировать файлы в форматах CFF, DDES, ArtiosCAD, CFF2, PostScript 3, PDF и др. При изготовлении монтажа принимаются во внимание все особенности, включая параметры step-and-repeat, формат печатного листа, особенности изготовления высекального инструмента, инструмента для выламывания облоя. Plato позволяет учесть особенности изготовления упаковки из картона, высечки этикетки на плосковырубных или ротационных машинах, особенности изготовления гибкой упаковки. Монтаж начинается с задания шаблона, затем следует импорт файлов CAD-файлов раскроя, импорт файлов графического дизайна, задание отступов, полей, клапанов, меток, затем — контроль, пробная печать и экспонирование.

При изготовлении электронного монтажа можно запретить печать на отдельных участках, например, на клапанах для нанесения клея. Plato автоматически создает метки сигнатуры для, например, контроля печати, метки углов, центральные и метки реза, которые автоматически будут изменяться с изменением формата листа бумаги или картона, номера принятой во внимание краски. Esko-Graphics Plato позволяет задать параметры наложений (overlapping) раскроев. После определения правила наложения оно автоматически применяется по всему формату монтажа.

Все чаще в современном упаковочном производстве выполняется печать с оборота. Plato позволяет создать монтаж не только лицевой стороны, но и оборота в полном соответствии друг другу. Esko-Graphics Plato поддерживает любые комбинации красок, позволяет задать линиатуру, угол растра, применить таблицы компенсации растискивания, подсчитать расход краски, задать выборочную лакировку или другой вид отделки.

Возможности компонентов, составляющих ПО Esko-Graphics, в значительной степени перекрываются. Каждый из пакетов вполне может использоваться автономно или в связке с общеизвестными издательскими системами. Такая политика фирмы позволяет разработчику упаковки сконфигурировать систему дизайна, купив только необходимые ему программы. Можно, подобрав, небольшой начальный набор ПО, в дальнейшем добавлять новые дополнительные модули.

4.3 MarbaCAD

MarbaCAD представляет из себя разветвленную систему проектирования как собственно упаковки так и всей сопутствующей оснастки (штанцформ, контрматриц, оснастки для удаления отходов и разделения заготовок (начиная с 3-й версии)). Имеется встроенная настраиваемая база данных по оборудованию, клиентам, пользователям, материалам и т.д. Основное окно программы выглядит традиционно для таких приложений: большое рабочее поле и ряд выпадающих меню и настраиваемых кнопочных панелей (рис.18).

Рис. 18.

Как и любая программа редактирования векторной графики, MarbaCAD предоставляет в распоряжение пользователя широкий набор инструментов для создания и изменения графических примитивов (линия, многоугольник, окружность, дуга, эллипс, гладкая кривая). Широко используется система привязок (как в AutoCAD) для указания отдельных координат (окончание, середина, центр примитива; пересечение объектов, привязка к сетке и начальной точке блока). Если необходимо ввести точные координаты, используется специальный инструмент – «ввод с клавиатуры», а начиная с 3-й версии программы можно просто вводить относительные приращения координат с одновременным использованием полярной привязки, что значительно ускоряет процесс рутинной прорисовки по сравнению, например, с CorelDraw. Опыт непосредственного проектирования показывает, что предлагаемый инструментарий для отрисовки вручную отдельных элементов находится на уровне лучшего представителя из лагеря САПР общего назначения – AutoCAD 2002. При этом имеется ряд проявляющихся при дальнейшей работе преимуществ, о которых мы поговорим далее более подробно. Для дальнейшего наращивания производительности рекомендуется активно пользоваться «быстрыми клавишами» - для каждой часто используемой команды можно назначить свою удобную комбинацию.

Чертеж представляет собой иерархическую «слоистую» структуру, где каждый слой соответствует различным процессам производства (чертеж отдельной упаковки, раскладка на листе, штанцформа, 3-х мерный вид и т.д.). Таких слоев может быть сколь угодно много. Одновременно могут быть открыты несколько чертежей.

После выбора необходимых параметров и запуска макроса вычерчивается соответствующая коробка с проставленными размерами и указанными местами склейки. Полученный чертеж - это обычный набор линий, дуг, окружностей, который можно редактировать дальше. Например, при помощи других специализированных макросов. Ведь кроме стандартных конструкций есть еще стандартные элементы, как то: замки, евродырки, распространенные варианты дна коробки и т.д. Для их удобной отрисовки также предусмотрены свои программы.

Рис.21. Добавление замка к коробке.

Наборы встроенных макросов легко настроить под конкретные нужды, например под изменившуюся толщину материала.

Рис.22. Добавление нового материала к каталогу FEFCO.

После добавления нового материала каждому макросу (типу коробки) можно добавить соответствующие допуска и отступы в предназначенных для этого диалогах.

Если же необходимая конструкция не представлена среди стандартных, и часто нужно ее чертить с разными размерами, то есть 2 выхода из ситуации:

3.   Писать свой макрос в любом редакторе (практически программировать диалог от и до). Это больше подходит для продвинутых пользователей или больших компаний с выделенными программистами.

4.   Воспользоваться функциями параметрического проектирования.

При помощи параметрического дизайна один раз начертив какую-либо конструкцию и расставив соответствующие связи можно легко получать аналогичные конструкции с другими линейными размерами.

Таким образом, MarbaCAD располагает богатым инструментарием для проектирования упаковки. Но не менее важно иметь возможность проверить конструкцию и представить ее перед клиентом в наиболее привлекательном виде. Для этого служит отдельный глубоко разработанный модуль 3-х мерного моделирования. С помощью этого модуля можно без больших трудозатрат проверить складываемость конструкции до вырезания макета на плоттерном оборудовании. На рис. 23а представлен 3-х мерный вид коробки FEFCO 0210 из микрогофрокартона 1.8 мм.

3-D режим предоставляет достаточные возможности для создания качественной 3-х мерной сцены. Можно накладывать на объекты различные текстуры, управлять источниками света, осуществлять обмен моделями с такими пакетами, как 3D Studio, сохранять файлы в VRML формате для дальнейшей публикации в Интернет. Также имеется возможность записывать несложные видеоролики, показывающие конструкцию со всех сторон. Это может служить и для наглядных инструкций по сборке многосоставной сложной упаковке.

Напоследок остановимся на коммуникационных возможностях пакета, что немаловажно для конструктора упаковки – ведь часто приходится иметь дело с электронными исходными данными, а клиенту электронная версия нужна в 100% случаев. Эти возможности достаточно широки: поддерживается импорт всех наиболее распространенных форматов векторных файлов (*.ai, *.eps, *.dxf, *.dwg, *.hpg, *.cf2) и растровых изображений. Для последних предусмотрена возможность получения их напрямую со сканера и дальнейшее переведение в векторный вид. Экспорт поддерживает те же форматы данных. Формат CFF (*.cf2) особенно важен, так как распознается большинством программ верстки. Ну и конечно о чертеже может быть предоставлена самая полная информация – площадь, габаритные размеры, расход линеек, количество отходов и т.д. Также необходимо сказать о возможностях исправления неграмотных исходных чертежей. Это и устранение двойных линий, и улучшение совпадения концов отрезков, и сглаживание ломаных линий.

MarbaCAD – это один из наиболее сбалансированных и универсальных пакетов для проектирования упаковки и сопутствующей оснастки из представленных на рынке. Программа позволяет ощутимо быстрее и надежнее, чем при использовании САПР общего назначения, проектировать сложные конструкции. Достигается это за счет автоматического выполнения рутинных операций и возможностей накопления собственных наработок в удобном виде. Немаловажную роль играет и 3-D проверка чертежа без вырезания макета. Пакет определенно будет полезен крупным разработчикам и производителям упаковки.

 

5 Взаимосвязь автоматизированного проектирования и производства упаковки из картона

Организационная структура, применяемое технологическое оборудование и уровень автоматизации производств находятся в тесной зависимости от серийности тиражей выполняемых заказов. По организационно – техническим признакам выделяют единичное, мелко-, средне- и крупносерийное, а также массовое производство упаковки из картона. Эти типы производства отличаются по используемым технологиям печати и получения плоской заготовки упаковки, а, следовательно, и средствами автоматизации. Для каждого из этих типов производств характерны специфические особенности завершающего этапа автоматизированного проектирования упаковки – разработки чертежа раскладки заготовок.

Процесс раскладки заготовок состоит в позиционировании разверток коробок на листе картона. В индустрии упаковки из картона раскладка является сложной оптимизационной задачей, причем намного более сложной по сравнению с задачей раскладки в традиционной полиграфии из-за невозможности обеспечить кратность размеров развертки упаковки стандартным форматам листа. Раскладка определяет важнейшие характеристики процесса производства складных коробок. Во-первых, это технико-экономические показатели. От оптимальности позиционирования зависит количество отходов картона, а также производительность процесса производства. Общеизвестен факт, что стоимость материала составляет до 40-60 % стоимости упаковки. Числовым показателем оптимальности позиционирования является коэффициент использования материала (КИМ), определяемый отношением суммарной площади получаемых из него разверток коробок () к площади листа картона ():

(5.1).

Чем больше значение КИМ приближается к единице, тем меньше отходов картона и ниже себестоимость изготавливаемых коробок.

 Во-вторых, от правильности позиционирования зависит качество печати, отделки, штанцевания, удаления отходов и разделения заготовок. При позиционировании следует предусматривать возможность равномерного распределения давления в процессе печати, балансировки штанцформ по осям симметрии .

 В-третьих, позиционирование определяет механические свойства упаковки. Развертки упаковки необходимо ориентировать относительно машинного направления при изготовлении картона .

 Как следует из вышеизложенного, качество раскладки имеет многокритериальную зависимость, поэтому принципиальным является использование формализованного опыта профессионалов упаковочной индустрии, заложенного в функциях специализированных САПР. Для создания раскладки в специализированных САПР применяется так называемый «мастер» раскладки, который поддерживает несколько вариантов алгоритма построения раскладки (среди которых есть и алгоритм оптимизации КИМ). При этом сгенерированная раскладка сохраняется в отдельном слое и меняется автоматически при изменении чертежа развертки упаковки.

5.1 Конструирование упаковки для пельменей

 

Потребители требуют от производителей упаковки качественную продукцию. При этом, под качеством упаковки подразумевают комплекс свойств: привлекательный внешний вид (ведь часто упаковка является единственным продавцом на полках магазинов), высокие эксплуатационные свойства (упаковка должна удовлетворять всем требованиям, предъявляемым к ней, начиная с транспортировки и складирования и заканчивая утилизацией) и оптимальные характеристики при сборке и упаковывании.

Технологические допуски при конструировании картонной коробки для пельменей.

Обечайка.

Если бы мы строили геометрическую развертку параллелепипеда, то высота верхней стороны обечайки должна была бы быть равна нижней стороне обечайки. Но у нас упаковка из материала, имеющего определенную толщину, а следовательно, минимум на эту толщину и надо уменьшить ширину дна обечайки, т. е. панель, к которой присоединяется клеевой клапан, должна быть на 0,5 мм меньше, чем симметричная ей часть. Это особенно важно при использовании автоматических фальцевально-склеивающих линий. Если сделать обе панели одинакового размера, может случиться так, что часть стенки будет торчать. При этом здесь надо учесть один момент. Клеевой клапан должен приклееваться к стороне, противоположной верхней крышке, для придания более эстетического вида упаковке. Само основание клеевого клапана нужно уменьшить на ширину толщины материала, чтобы скомпенсировать возможные неточности при автоматической склейке клапана. Слишком узкий клапан приводит к тому, что соединение получается непрочным. Чересчур широкий клапан приводит к неоправданному расходу материала. Оптимальная ширина клеевого клапана, как правило, колеблется от 10 до 30 мм, в зависимости от общих габаритов упаковки. Назначение скосов по его сторонам — при такой форме он не будет торчать из-за допустимых погрешностей склейки. Угол скоса делать слишком большим не рекомендуется. Правильная величина угла в 10-15°, вместо 45°. Дело в том, что клеевой слой наносится не вплотную к месту бига, а на определенном расстоянии.

 

Рис.42. Проектирование клеевого клапана.

При угле в 45° и более по краям остается большая непроклеенная область, что ослабляет соединение.

Коробка.

Здесь также необходимо учесть, что материал имеет определенную толщину. Поэтому при конструировании была учтена невозможность равнозначных размеров бортика коробки и клапанов, фальцуемых внутрь.

Изображенная на чертеже замковая конструкция коробки не самая массовая. Она не имеет клеевого сцепления, а значит, от того, насколько правильно будет построена развертка, зависит прочность дна. Для надежной сборки такой конструкции было предусмотрено зацепление клапанов друг с другом, для чего сделан скос 2-х из них под острым углом.

Особенно хочется заострить внимание на двух деталях. Первая — это место сочленения клапанов, линий биговки и режущих ножей. Там выполнена технологическая выемка, во избежание разрыва материала. И вторая, не менее важная деталь — это небольшой скос на загибающемся клапане. Это делается для того, чтобы дно не выпирало наружу из-за неизбежных перекосов при сборке.

Зацепление замка расположенного на обечайке происходит с прорезью под этот замок в соответствующем месте самой коробки. Полуокружность разработана с радиусом необходимым и достаточным для удобного зацепления его двумя пальцами в процессе эксплуатации.

Для предотвращения выпадания продукта из коробки предусмотрена следующая замковая конструкция:

Варианты разверток коробки для пельменей:

Рис. 44.

Рис.45.

Рис.46.

Рис.47.

Рис.48.

Окончательный вариант с отверстиями для специй и язычками для лучшего скрепления с коробкой

Рис.49. Окончательный вариант развертки коробки.

Выбор раскладки на лист обусловлен не только оптимальным КИМ, но и учетом последующих операций как печати, так и лакирования.

5.2 Автоматизированное проектирование и производство штанцевальных форм

Производству штанцевальных форм предшествует трудоемкий этап их проектирования. Задача проектирования штанцевальной оснастки состоит в определении типов и видов элементов штанцформы в зависимости от конфигурации развертки и раскладки, вида и типа картона, объема тиража и других факторов.

 К оптимизируемым элементам штанцевальных форм относят:

- основание штампа;

-  вид и тип рабочего инструмента (высекальных, биговальных, перфорационных и других видов линеек);

-  количество и место установки перемычек между развертками;

-  количество и место расположения арок в линейках;

-  конфигурацию отдельных элементов линеек;

-  тип, марку и габаритные размеры пружиняще-эжекторных элементов;

-  технологию их приклеивания к основанию штампа;

-  вид и тип элементов, образующих систему биговальных каналов и т. д.

 В качестве средств автоматизации разработки штанцевальной оснастки выступают модули разработки штанцевальной оснастки в составе специализированных CAD/CAM систем. Основу подобных модулей составляют базы данных по штанцевальному оборудованию.

 Модули разработки штанцевальной оснастки в соответствии с выбранными маркой и моделью штанцевальной машины выполняют функции:

- автоматической расстановки арок в линейках;

-  расстановки перемычек в диалоговом режиме;

-  автоматического создания чертежа основания штанцформы (со всеми необходимыми отступами, отверстиями для крепежа, компенсационными ножами);

-  определения размеров, места расположения пружиняще-эжекторных элементов;

-  автоматического проектирования системы биговальных каналов контрштампа с выполнением чертежа;

-  автоматической подготовки чертежей оснастки для удаления отходов и разделения заготовок.

Традиционно в качестве основания штанцформы используется фанера. Задача подготовки основания штанцформы к сборке состоит в прорезании в основании пазов для линеек. Наибольшее распространение сегодня получает применение специализированных лазерных установок с числовым программным управлением (ЧПУ типа CNC – computer numerical control) для прожигания пазов в основании штампа. Недостатки фанеры (наличие полостей, сучков, двойных слоев) вынуждает искать альтернативные материалы основания штанцформы. На сегодняшний день в этом качестве выступают металлические («сэндвич») и неметаллические (дурамар) конструкции. В первом случае для подготовки основания также используется лазер, а во втором – установки резки струей воды.

 Максимальную автоматизацию подготовки линеек штанцформы обеспечивает применение автоматизированного комплекса оборудования, включающего в свой состав автоматические машины для нарезки, пробивки арок и гибки, максимальную автоматизацию подготовки пружиняще-эжекторных элементов штанцформы - устройства резки струей воды с ЧПУ типа CNC.

 Сейчас в России самым массовым способом формирования системы биговальных каналов является использование ленточных биговальных матриц, но эта технология представляется неперспективной: отсутствие автоматизации (матрицы нарезаются вручную) приводит к большой трудоемкости процесса приладки, а также к низкому качеству контрштампа. Все большее распространение в качестве системы формирования биговальных каналов получает технология биговальных матриц из пертинакса. В отличие от ленточных биговальных матриц биговальные матрицы из пертинакса изготавливаются посредством фрезерования: либо на фрезерных установках с ЧПУ (CNC), либо на плоттерных установках, оснащенных модулем фрезерования. Сейчас в Европе для формирования системы биговальных каналов достаточно широко используется технология стальных пластин marbagrid, для производства которых применяется лазер.

 При изготовлении форм для удаления отходов (в том случае, если они выполнены на фанерном основании) используются лазерная или фрезерная установки.

 Все вышеперечисленное оборудование (лазерная, фрезерная установки, устройство резки струей воды, плоттерные системы) обладают высокой степенью автоматизации, комплекс для подготовки линеек работает в автоматическом режиме. Для управления плоттерами и некоторыми моделями лазеров, поддерживающих данный формат, используется набор команд языка HPGL. Для управления станками с ЧПУ типа CNC - набор команд языка CFF2 (сокращение от Common File Format версии 2 – стандарт обмена данными в специализированных для индустрии упаковки из картона CAD/CAM системах) или DDES2 (сокращение от Digital Diecutting Exchange Standard версии 2 – стандарт Международной ассоциации производителей штанцформ IADD).

Как в России, так и в Европе до сих пор достаточно распространены штанцевальные системы, в которых одна из операций (например, разделение заготовок) осуществляется либо с помощью ручных приспособлений, либо вообще вручную. Однако последние тенденции однозначно показывают, что будущее за подходом к построению полностью автоматизированных штанцевальных систем. Признанным лидером на рынке штанцевальных комплексов является группа компаний Bobst. Последние модели Bobst способны работать со скоростью свыше 10000 ударов в час.

Новейшие тенденции в области автоматических фальцевально-склеивающих линий предусматривают модульный подход к их построению. Таким образом решаются проблемы небольших тиражей, фальцовки и склеивания упаковки сложных конструкций. Особое внимание уделяется интегрированным устройствам контроля качества, обеспечивающим однородность и точность обрабатываемых заготовок.     Как правило, в штанцевальных и фальцевально-склеивающих линиях функция стапелирования выполняется автоматически.

Выбор штанцформ:

Качество упаковки из картона складывается из многих факторов, среди которых оснастка для штанцевания – один из основных. Оснастка для штанцевания в значительной степени определяет поведение упаковки при фальцовке и склеивании, а затем и при упаковывании.

Именно поэтому ведущие зарубежные производители уделяют большое внимание вопросам совершенствования технологий штанцевания, производства штанцформ, а также качеству материалов, используемых в их производстве. Причем, наряду с повышением качества упаковки, не менее актуальной является задача повышения экономической отдачи от эксплуатации штанцформ. Основными направлениями работ в рамках этой задачи являются:

· сокращение времени приправки при запуске тиража,

· увеличение тиражестойкости штанцформ,

· повышение реальной производительности штанцевальных машин.

Как видно из табл. 2, производители упаковки в России пока не используют все многообразие возможных решений для штанцевания, тем самым принципиально ограничивая собственные возможности по повышению качества упаковки и увеличению объемов прибыли от использования штанцевальных машин.

Табл.2. Сравнение ассортимента оснастки для штанцевания в России и Западной Европе.

Вид оснастки

Россия

Западная Европа

Штанцформы для производства упаковки

На фанерном основании со стальными линейками

Со стальными линейками (в том числе повышенной износостойкости) на основаниях:

· фанера, фанера улучшенного качества (marbaplex)

· композиционные материалы (duramar)

· стальной «сэндвич» («sandwich»)

С биговальными пластинами

Ответные части штанцформ

Ленточные биговальные каналы

Контрматрицы из прессшпана и пертинакса

Ленточные биговальные каналы

Контрматрицы из пертинакса, латуни, ветронита

Стальные биговальные контрпластины

Оснастка для удаления отходов

Традиционное исполнение Технология marbastrip

Традиционное исполнение Технологии marbastrip, marbastrip-s, clip strip

Оснастка для разделения заготовок (нижняя часть)

Комбинированное «экономичное» исполнение Цельнометаллическая сварная конструкция

Комбинированное «экономичное» исполнение
Цельнометаллическая сварная конструкция



Основание штанцформы

Рис.24. Виды дефектов фанеры.

 

Первая проблема – неоднородность фанеры. Наличие полостей, сучков, двойных слоев ведет к дефектам при лазерной резке пазов, что приводит к снижению прочности крепления линеек в основании штампа. Причем это снижение как правило не ощутимо при сборке штанцформы. Подобные недостатки сказываются в процессе эксплуатации штанцформы и могут приводить к необходимости непредвиденного ремонта. Таким образом, из-за экономии 20-30 долларов на качестве фанеры, штанцевальная машина может простаивать от несколько часов до целой смены. Поэтому важно использовать фанеру высшего качества из отборного шпона.

Вторая проблема – низкая влагостойкость фанеры (рис. 24). Под воздействием влаги фанера меняет свои геометрические размеры. Тем самым особые требования предъявляются к условиям хранения и транспортировки фанеры и штампов на фанерном основании. Эти требования сами по себе влекут дополнительные затраты, а их несоблюдение приводит к невозможности выполнения заказа и простою оборудования. Выходом в этом случае является использование фанеры со специальным покрытием, которое обеспечивает повышенную стабильность внешних размеров основания штанцформы.

Но и этим не исчерпываются недостатки фанеры. Физические свойства фанеры и стали, из которой изготавливаются линейки и основание контрштампа, различны, поэтому температурные колебания, возникающие в процессе штанцевания, становятся проблемой для точности совмещения штампа и контрштампа. При возникновении подобной ситуации штанцевальное оборудование опять же вынуждено простаивать. Кроме того, низкая прочность фанеры допускает не более одной замены линеек в основании при условии сохранения качества.

Для устранения дефектов, возникающих при работе штанцформы на фанерном основании, зарубежные производители стали применять в качестве основания штанцформ альтернативные материалы.

Наилучшими характеристиками обладает стальное основание «сэндвич» («sandwich»), получившее название из-за своей структуры: «сталь – полимерный компаунд - сталь». Основание, изготовленное по этой технологии, обладает исключительной прочностью (тиражестойкость – более 10 млн. ударов; может выдержать более 10 замен линеек). При эксплуатации штанцформы «sandwich» не возникает проблемы совмещения штампа и контр-штампа.

Высокая стоимость штанцформ на металлическом основании обуславливает применение неметаллических материалов, наибольшее распространение из которых получил дурамар (duramar) – многослойная стеклоткань с наполнителем из полиэстера. По своим характеристикам дурамар значительно превосходит другие материалы, такие как пертинакс (pertinax), пермаплекс (permaplex), акриловое стекло (acrylglas).

 В таблицах приведен сравнительный технико-экономический анализ использования штанцформ с различными типами оснований. Предполагается, что штанцформы оснащены режущими линейками повышенной износостойкости, которые требуют замены через 1 млн. ударов.

Таблица 3.

Технико-экономические характеристики штанцформ с основаниями из различных материалов.

Материал основания

Стоимость, $

Тиражестойкость, млн. ударов

Стоимость замены линеек, $

Возможное число замен линеек

Фанера

~700

2

~490

1

Дурамар

~1800

5

~540

4

«Sandwich»

~3200

>10

~540

> 10


Таблица 4.

Стоимость штанцформы в расчете на 1 тиражный лист, руб.

Тираж, листов

100 тыс.

200 тыс.

500 тыс.

1 млн.

2 млн.

5 млн.

10 млн.

Фанера

0,22

0,11

0,04

0,02

0,02

0,02

0,02

Дурамар

0,56

0,28

0,11

0,06

0,04

0,02

0,02

«Sandwich»

0,99

0,5

0,2

0,1

0,06

0,03

0,02


Данные, приведенные в табл. 2 и 3, говорят сами за себя. Но хотелось бы отметить, что здесь не учтены возможные затраты при простое оборудования. Вероятность таких простоев при использовании фанерного основания нельзя не принимать во внимание (причины этого описаны выше). Необходимо также подчеркнуть, что использование дурамара и особенно основания «sandwich» обеспечивает максимально возможное качество упаковки.

Режущие линейки.

Основной проблемой традиционных линеек с острой режущей кромкой является то, что эти линейки подвергаются значительной деформации в течение первых 20–50 тысяч ударов (рис. 25). Вследствие этого штанцевальный автомат приходится часто останавливать для дополнительной приправки и регулировки давления.

Рис.25. Тестирование режущих линеек с кромкой традиционной формы.

Рис.26. Линейка mpower.

Линейки нового поколения повышенной износостойкости с особой конфигурацией режущей кромки – со скруглением (компании Marbach, рис. 5) или с плоской площадкой малого размера (компании Essmann+Schaefer) обходятся приблизительно в 1,5–2 раза дороже, чем стандартные, но зато обладают значительными преимуществами:

· сведено к минимуму время приправки,

· значительно увеличен срок службы режущей линейки (минимум в 2 раза),

· отсутствует различие в качестве биговки, связанное с износом режущих линеек (изменением их высоты).

Большое влияние на время приправки и износостойкость штанцформ оказывает технология подготовки линеек перед сборкой штанцформы Новые технологии подготовки и монтажа линеек (шлифование каналов, скосов и др., рис. 27), осуществляемые при помощи автоматического оборудования, позволяют сократить время на местную приправку штанцформ за счет уменьшения количества и повышения надежности оставшихся «проблемных» мест (большие углы, малые радиусы изгиба линеек, стыковка линеек под острыми углами). Использование автоматического оборудования для подготовки линеек повышает точность заготовки отрезков линеек до ±0,02 мм. Это обеспечивает изготовление идентичных по размерам коробок на многоместных формах и воспроизводимость штанцформ при ремонте и повторном изготовлени.

Рис.27.Технология шлифования линеек.

Анализ времени приправки с применением новых технологий на примере технологии mpower фирмы Marbach, приведен в табл. 4.

Таблица 5.

Время приправки при выполнении новых заказов.

 

1 работа

2 работы

В неделю

В месяц

В год

Стандартная штанцформа

3 ч

6 ч

36 ч

144 ч

1728 ч

Штанцформа с линейками mpower

1,5 ч

3 ч

18 ч

77 ч

864 ч

Экономия (из расчета 100 долларов - стоимость машинного часа)

150 $

300 $

1800 $

6700 $

86400 $


Из табл. 3 видно, что при использовании линеек с особой конфигурацией режущей кромки экономия средств из расчета на одну штанцевальную машину приближается к 100000 долларов в год. Можно установить следующую зависимость: чем чаще меняются тиражи, тем больше экономия.

Экономия средств значительно увеличивается при больших тиражах, требующих замены линеек (табл. 5).

Таблица 5.

Расчет затрат на изготовление тиража 2 млн. листов.

Затраты

Обычная штанцформа

Штанцформа с линейками mpower

Штанцформа

700 $

750 $

Первая приправка

3 час. x 100 $/ час. (простой оборудования) = 300 $

1.5 час. x 100 $/ час. = 150 $

Замена линеек

490 $

-

Вторая приправка

300 $

-

ИТОГО

1790 $

900 $


Таким образом, только на одном тираже за счет использования линеек повышенной стойкости можно выиграть 900 $. Нужно учесть также, что сокращение количества ремонтов штанцформ значительно облегчает задачу планирования загрузки оборудования. Наиболее распространена односторонняя заточка с односторонней фаской. Угол заточки для картона =21-22 0. При высечке заготовки по периметру изделия ножи устанавливают фаской наружу, в сторону обрезков. При высечке отверстий в заготовкеножи размещают фаской внутрь, в сторону удаляемой части материала. Эжекторные материалы, применяемые для оклейки штанцформ, существенно влияют на качество конечной продукции и скорость работы штанцевального пресса. Удовлетворить указанным условиям позволяет употребление только специальных материалов, к которым предъявляются следующие требования:

· обеспечение необходимой степени деформации (сжатия) и усилия;

· быстрое восстановление первоначальных размеров при скоростях до 15000 циклов в час (и более);

· сохранение характеристик на протяжении всех циклов деформации (тиражестойкость);

· отсутствие эффекта старения при длительном хранении штанцформ.

Современные специальные материалы (резины и полиуретаны) отвечают всем этим требованиям. По выполняемым функциям их можно разделить на 3 группы:

· пориcтые резины твердоcтью 35-40 ед. – для простого выталкивания картона;

· сплошные резины специального профиля твердостью 55-60 ед. – для надежной фиксации картона вдоль режущих линеек, разделяющих заготовки (сохранения картонных перемычек);

· твердые сплошные резины твердостью 60 ед. – для выталкивания отходов малых размеров (в узких щелях, малых отверстиях).

В настоящее время существует два способа подготовки эжекторных материалов для оклейки штанцформ:

· стандартная процедура - ручная подготовка отрезков нужной длины из полосовых материалов с последующим приклеиванием им к основанию штанцформы спецклеями;

· новая технология – нарезание водоструйным автоматом цельных кусков оригинальной конфигурации из листовой резины с самоклеящейся пленкой, а также автоматическая нарезка полосовых резин специального профиля (из рулона с самоклеящейся пленкой) с одновременной разделкой концов под нужным углом. Файлы раскроя листовой и рулонной резины создаются теми же программами, что и файл штанцформы (например MarbaCAD/Impact). Новая технология кроме существенного повышения производительности труда на операции оклейки штанцформ (что важно для их изготовителя), дает и определенные преимущества потребителю штанцформ:

· резина с самоклеящейся пленкой, приклеиваемая к ламинированной фанере, может быть впоследствии легко удалена и приклеена вновь при дополнительной пропилке засечек на режущих линейках или их замене (ремонте),

· из-за отсутствия мелких отдельных кусков резины для сложных криволинейных ножей (при стандартной технологии обрезинивания) повышается общая надежность крепления эжекторных материалов к основанию штанцформы.

Кроме уже рассмотренных выше компонентов штанцформы (основание, режущие линейки, эжекторные материалы) существенное воздействие на качество высеченной упаковки, а именно линий сгиба – биговки, оказывает технология бигования. Обычно она осуществляется с помощью биговальной линейки и ответного канала. При таком способе процессы формирования биговок с присущей им деформацией растяжения картона и его высечки происходят одновременно. Основными проблемами при использовании стандартной технологии являются:

· меняющееся качество биговки (сопротивления высеченной заготовки изгибу) в ходе тиража, связанное с разрушением кромок ленточных биговальных каналов или пертинаксовых матриц, а также приближением биговальных линеек к ответной поверхности из-за износа режущих линеек;

· отсутствие возможности регулировки глубины (приправки) биговки;

· необходимость обеспечения большого количества перемычек между высекаемыми изделиями из-за воздействия на них напряжений растяжения в картоне. Воздействие таких напряжений приводит к частичной или полной потере прочности перемычек и, как следствие, к разрушению листа при выходе из секции штанцевания пресса.

· невозможность получения качественной биговки на «проблемных» материалах: двустороннеламинированных картонах (упаковка для напитков), различных пластиках, так как данные материалы требуют специальных профилей биговок (то есть биговальных каналов и бигующих профилей).

Несколько лет назад компания MARBACH разработала и запатентовала принципиально новую технологию бигования. В основу положен принцип разделения процессов биговки и высечки, позаимствованная из ротационной высечки in-line машин, где сначала один инструмент осуществляет бигование материала, а затем второй – высечку. Технология носит имя «биговальной пластины». В штанцформе на основании Duramar, изготовленной таким способом, отсутствуют биговальные линейки, вместо них на слое специального эластомера размещается изготавливаемая гравированием оригинальная биговальная пластина из анодированного алюминия. Кромки биговальных профилей в отличие от традиционных штанцформ находятся выше кромок режущих линеек и первыми касаются обрабатываемого материала. Только после окончания процесса бигования за счет деформации эластомера происходит проникновение режущих линеек в материал. Между эластомером и основанием штанцформы располагается калиброванная прокладка, заменяя которую можно приправлять биговки. Ответной частью для такой штанцформы служит цельная стальная пластина с биговальными каналами. Новая технология позволяет:

· сохранять постоянное качество биговки от первого до последнего листа тиража;

· приправлять биговку;

· существенно сократить количество перемычек на картоне из-за отсутствия вредного воздействия на них напряжений растяжения, что позволит увеличить скорость работы штанцавтомата;

· получать совершенную биговку на «проблемных» материалах, а также получать эксклюзивные виды биговок (например, для сигаретных коробок со скругленными гранями).

Разновидности ответных биговальных частей для штанцформ. Принципиально их можно поделить на:

· ленточные биговальные каналы, закупаемые в качестве обычных расходных материалов к конкретной штанцформе. Количество производителей (не изготовителей штанцформ) велико, ассортимент типов (пластик, металл, прессшпан и др.) и размеров разнообразен;

· оригинальные контрматрицы (см. рис. 30) на единичное изделие многоместной штанцформы из материалов пертинакс (Pertinax), ветронит (Vetronit), латунь;

· цельные (на всю штанцформу) стальные контрпластины с биговальными каналами, получаемыми путем механического гравирования, электроэррозионной обработкой (углубленные) и прожигаемые лазерным лучом (сквозные).

Первые два типа применяются со штанцформами на фанерном основании как вследствие небольшой тиражестойкости, так и относительно невысокой стоимости. Кроме того, далеко не идеальная точность позиционирования линеек в фанерном основании требует отдельно совмещать либо каждую биговальную линейку с ее ответной частью (ленточные каналы), либо линейки одного изделия (коробки) с матрицей для него. Большая часть технологий, о которых шла речь, пока не востребована российскими производителями картонной упаковки, а иногда и совсем им не знакома. Крайне редко за рубежом заказываются штанцформы Duramar со стальными контрпластинами. Чаще используются фанерные штанцформы, причем с ленточными биговальными каналами, намного реже - с пертинаксовыми контрматрицами, что свидетельствует, на наш взгляд, о неподготовленности отечественного рынка к потреблению hi-tech оснастки, использование которой характерно для давно сформировавшегося рынка западной Европы. При отсутствии устойчевого спроса на hi-tech оснастку, учитывая также исторически сложившееся технологическое отставание от остального мира в вопросах штанцевания, российский рынок сегодня не имеет собственного предложения по оснастке западно-европейского уровня. Ассортимент отечественных изготовителей оснастки исчерпывается фанерными штанцформами и биговальными контрматрицами из пертинакса.

Таблица 6.

ХАРАКТЕРИСТИКИ ОТВЕТНЫХ ЧАСТЕЙ ШТАНЦФОРМ

 

Тип ответной части

Срок службы, циклы

Стоимость

Время установки/приладки

Точность совмещения со штанцформой

1

Ленточные биговальные каналы

~100000

*

*

*

2

Rillma® Pertinax

~300000

***

***

***

3

marbagrid®

~1000000

*****

****

***

4

Гравированная стальная контрпластина

~2000000

*****

*****

***

5

Эродированная стальная контрпластина

~5000000

*******

*****

*****


С точки зрения степени воздействия на производимый продукт (картонную упаковку) штанцформы и ответные части для них являются наиболее важным компонентом комплекта высекальной оснастки, так как от качества их изготовления напрямую зависит и качество высекаемых изделий. В понятие «качество» по отношению штанцформ и ответных частей мы вкладываем совокупность их качеств и параметров, позволяющих потребителю получить упаковку с заданными характеристиками (геометрические размеры, сопротивляемость изгибу по линиям биговки/рицовки/перфорации, отсутствие внешних дефектов от воздействия оснастки) при максимально возможной производительности штанцевального оборудования. Кроме того, обязательным компонентом «качества» считается также применение при изготовлении штанцформы и ответной части материалов и технологий, оптимальным образом удовлетворяющих требуемой точности ее изготовления, а также необходимой тиражестойкости.

BOBST Autoplatine SP (BOBST SA), WPM (WUPA), Iberica (Iberica AG). К оснастке для указанных машин предъявляются достаточно жесткие технические требования с целью обеспечения качества производимой упаковки и поддержания максимально высокой производительности, которая подчас достигает 8 000 листов в час.

Плоским штанцеванием является процесс обработки листовых и рулонных материалов плоскими штанцевыми формами с применением биговальных контрматриц или биговальных каналов, придающий изделию фигурную форму.

Сменный инструмент, изготовленный по оригинальной конфигурации, соответствующей конкретной работе по штанцеванию материала, принято называть штанцевальной оснасткой (оснасткой для штанцевания). Упомянутые штанцевые формы (далее «штанцформы») и биговальные контрматрицы (или каналы) являются лишь одним из компонентов комплекта штанцевальной оснастки, используемого на оборудовании, осуществляющем автоматическое штанцевание, удаление отходов и разделение высеченных заготовок.

В комплект штанцевальной оснастки для такого оборудования могут также входить:

· оснастка удаления отходов;

· оснастка разделения заготовок;

В зависимости от конкретного вида работы по штанцеванию, от запроса заказчика, а также принятой у изготовителя технологии производства компонентов оснастки она может быть изготовлена в различной комплектации и исполнении, подразумевающем использование различных расходных материалов, технологий их обработки и сборки. Ниже приводятся общее описание наиболее часто встречающихся способов исполнения компонентов штанцевальной оснастки для плоского штанцевания.

Плоская штанцформа состоит из плоского основания с прорезанными в нем пазами, в которые вставлены режущие, биговальные и другие специальные типы стальных линеек.

Рисунок 32 Плоская штанцформа (схема устройства)

1 - основание штанцформы; 2 - режущие линейки; 3 - биговальные линейки; 4 - выталкивающие (эжекторные) элементы; 5 - крепежные детали; 6,7 - специальная вставка с матрицами для тиснения; 8 - матрицы для тиснения; 9 - биговальные контрматрицы; 10 - позиционирующие штифты.

Наиболее распространенным материалом для основания плоской штанцформы является фанера из твёрдых пород дерева (береза, бук, клен), пригодная для лазерной резки. Вдоль контура режущих, перфорационных и других линеек, проникающих при штанцевании вглубь обрабатываемого материала, на рабочую (обращенную к обрабатываемому материалу) поверхность основания клеями специальных типов приклеиваются выталкивающие (эжекторные) материалы. Они могут иметь различный профиль сечения, быть изготовлены из различных материалов (резина, пробка, специальные материалы) с различными характеристиками твердости и временем релаксации. Применение конкретного эжекторного материала определяется характеристиками обрабатываемого материала, а также типом и производительностью штанцевального оборудования.

В основание штанцформы также могут быть вмонтированы специальные детали, например, резьбовые втулки особого «Т» образного профиля для крепежа в штанцевальной машине. При одновременном совмещении плоского штанцевания с процессом конгревного (рельефного) тиснения штанцформа в своем основании может иметь специальные вставки с матрицами для тиснения. В таком случае штанцформа также может быть укомплектована контр-матрицами для тиснения. Штанцевание производится с применением, как уже было сказано выше, биговальных контрматриц или каналов. Для установки оригинальных биговальных контрматриц в отверстия основания штанцформы монтируются позиционирующие штифты (как правило, стальные).

По запросу заказчика штанцформа дополнительно может укомплектовываться в оговоренных количествах как биговальными каналами или контрматрицами, так и приправочным листом, представляющим собой тонкий лист специальной бумаги, пластика или кальки с нанесенным на него контуром расположения линеек штанцформы. Приправочный лист используется для выравнивания давления по рабочей поверхности в штанцевальных машинах.

Биговальной контрматрицей называется специальное устройство, являющееся ответной частью биговальных линеек плоской штанцформы. Как правило, на каждую часть штанцформы, соответствующую одному высекаемому изделию (при многоместной штанцформе), изготавливается отдельная контрматрица. Таким образом, один комплект биговальных контрматриц составляет количество, равное числу расположенных на штанцформе изделий (мест) плюс некоторое количество запасных контрматриц. Заказчик может заказать несколько комплектов контрматриц. Биговальные контрматрицы (см. рис. 33) изготавливаются фрезерованием из специального листового материала пертинакс, имеющего клеевой слой, защищенный силиконовой бумагой. Пертинакс представляет собой многослойный армированный специальной тканью пластик и может иметь различную толщину (от 0,3 до 1,0 мм) в зависимости от толщины материала, предназначаемого для бигования с помощью данной контрматрицы. Габаритные размеры и конфигурация контрматриц зависит от конструкции конкретного изделия, которое будет высечено с их помощью.

Рис.33. Биговальная контрматрица (в разрезе)

1 - пертинакс; 2 - клеевой слой; 3 - силиконовая бумага;

Биговальный канал представляет собой специальное устройство ленточного типа. Биговальный канал состоит из направляющего пластикового устройства, собственно биговальной канавки со скошенными внешними кромками, стального или тонкопленочного пластикового основания с клеевым слоем и защитной силиконовой бумаги. Бортики биговальной канавки могут изготавливаться из различных материалов: пластика, прессшпана. В зависимости от назначения биговальный канал может располагаться несимметрично относительно оси симметрии сечения биговальной линейки, а также быть сдвоенным (две параллельные биговальные канавки на одном основании).

Рис.34. Конструкция биговального канала

1 - юстировочная направляющая; 2 - биговальная канавка; 3 - пластиковое основание с клеевым слоем; 4 - защитная силиконовая бумага;

Оснастка для удаления отходов

Верхняя часть оснастки для удаления отходов представляет собой конструкцию, состоящую из плоского фанерного основания с прорезанными в нем лазерным лучом пазами и отверстиями, в которые вставлены детали, выполняющие роль пуансонов, которые проталкивают отходы через отверстия в нижней части оснастки для удаления отходов. Пуансоны могут быть изготовлены из различных материалов: дерева, фанеры, стали, цветных металлов и сплавов, пластмассы и пр. Кроме того, верхняя часть оснастки имеет приклеенные к фанерному основанию прижимные устройства в виде полос из поролона различной твердости и плотности в зависимости от свойств обрабатываемого материала. Также в фанерное основание оснастки могут быть вмонтированы специальные детали для крепежа оснастки в штанцевальной машине (здесь, например, резьбовые втулки особого «Т» образного профиля) и другие детали.

Нижняя часть оснастки для удаления отходов состоит из плоской фанеры с вырезанными в ней по оригинальной конфигурации удаляемых отходов отверстиями. Кромки отверстий обрабатываются специальными фрезами для получения фасок особой формы и размеров. В необходимых случаях в фанеру могут быть вмонтированы стальные линейки для разделения (сепарирования) отходов друг от друга. К фанере по согласованию с заказчиком могут быть прикреплены балки специального профиля из фанеры либо другого материала для крепления оснастки в штанцевальной машине.

Для совместной транспортировки и хранения верхней и нижней частей оснастки для удаления отходов они могут быть соединены между собой при помощи специальных стальных либо пластиковых винтов и гаек с применением промежуточных втулок.

Оснастка для разделения заготовок

Верхняя часть оснастки для разделения заготовок представляет собой конструкцию, состоящую из выдавливающих высеченные заготовки элементов, смонтированных на плоском фанерном основании и вмонтированных в него деталей для крепежа оснастки в штанцевальной машине. Выдавливающие элементы могут состоять из деталей, изготовленных из фанеры, дерева, пластика либо металла и оклеены специальной пористой резиной со стороны, обращенной к обрабатываемому материалу. При определенных видах работ в фанерное основание могут быть вмонтированы специальные прижимные устройства, закрепляемые при помощи резьбовых крепежных изделий.

Нижняя часть оснастки для разделения заготовок в зависимости от вида работы и специфических требований заказчика может быть изготовлена в различных видах. Основными из них являются: комбинированное исполнение и цельнометаллическое.

Комбинированая оснастка состоит из перестраиваемой под различные форматы металлической рамы, для облегчения конструкции, как правило, изготавливаемой из алюминиевых сплавов, и съемной решетки, вырезаной лазерным лучом из плоской фанеры или специального пластика. К фанерной решетке винтами крепятся стапелирующие кронштейны, аналогичные представленным на рис. 6, но несколько иной конструкции. Затем решетка винтами крепится к раме. Оснастка имеет специальный позиционирующий кронштейн, используемый для установки оснастки в штанецевальной машине.

Цельнометаллическая оснастка представляет собой раму с внутренней решеткой, детали которых изготавливаются из стали методом лазерной или водоструйной резки по оригинальной конфигурации. Затем детали проходят финишную механическую обработку и соединяются сваркой. К сваренной конструкции крепятся специальные металлические раздвижные кронштейны для стапелирования разделяемых заготовок. Рама имеет специальное приспособление для точного позиционирования оснастки в штанцевальной машине.

Проектирование штанцевальной оснастки в среде САПР MarbaCAD.

Остановимся подробнее на проектировании центральной оснастки для послепечатной обработки – штанцформе. В MarbaCAD предусмотрено несколько облегчающих задачу утилит:

- автоматическая отрисовка основания штанцформы по имеющейся информации о раскладке. В базе данных присутствуют все автоматы BOBST с соответствующими требованиями по размещению контуров относительно фанеры. Осуществляется проверка допустимости раскладки по габаритным размерам. Возможно добавление дополнительных типов высекальных машин. Также имеется возможность отрисовки основания для широко распространенных тигельных машин с ручным накладом – просто фиксированный отступ от крайних ножей до края фанеры.

- Расстановка компенсационных линеек согласно рекомендациям BOBST с возможностью ручной подстройки.

- Расстановка массивов символов (например, крепежных отверстий, соответствующих основанию данного автомата) с отслеживанием пересечения с ножами. Остаются только те элементы, с которыми не пересекаются элементы чертежа.

На рис.37. представлена штанцформа для BOBST SP 104. Видно паз системы centerline для крепления в машине, ножи для дробления отходов и компенсационные ножи, а также ряд отверстий для более надежного крепления штанцформы.

Рис. 37 Спроектированная штанцформа для BOBST SP 104.

Отдельного упоминания заслуживает автоматическая программа по расстановке так называемых перемычек – технологических пропусков в резе для обеспечения целостности основания штанцформы. В большинстве случаев программа без участия оператора расставляет перемычки оптимальным образом (исходя из нескольких настраиваемых алгоритмов) как на прямых так и на кривых участках. Вообще расстановка перемычек, или, по другому, мостов является внутренним свойством объектов в MarbaCAD, таким же, как, например, цвет или тип линии. Этим чертеж кардинально отличается от аналогичных, изготовленных в неспециализированных программах, где для обеспечения пропуска в резе примитивы разрываются на части. Естественно, процесс расстановки перемычек полностью настраивается и может быть продолжен вручную в особо сложных случаях.

Также очень полезной является утилита отслеживания двойных линий (когда в чертеже друг на друга накладываются несколько отдельных примитивов). После запуска команды все 2-е линии выносятся в отдельный блок и делаются одинарными. Это позволяет избежать неточностей в расценке заказов и сбоев в лазерной резке.

Для расстановки ножей для разделения (дробления) отходов и засечек на ножах используются отдельные команды. Их преимущество заключается в том, что одинаковые места в чертеже отслеживаются согласно блочной структуры чертежа и необходимо обрабатывать одинаковые места только 1 раз.

Полученный чертеж штанцформы, после добавления отверстий для крепления контрматриц и элементов тиснения можно напрямую отправлять на лазерное оборудование для вырезания из материала основания. Постпроцессоры для большинства распространенных лазерных систем входят в комплект поставки, а нестандартные могут быть поставлены дополнительно.

Перейдем теперь к технологии проектирования одного из вариантов ответной части для штанцформы – контрматрицы. Контрматрица является альтернативой широко распространенным контр-биговальным каналам и обладает рядом преимуществ – большим сроком службы, гибкостью в выборе формы и расположения каналов, быстротой установки. Контрматрица выполняется обычно из пертинакса на фрезеровальном оборудовании и рассчитана на одноразовое применение. В MarbaCAD предусмотрена мощная утилита по проектированию контрматриц. На рис.37. представлен результат запуска автоматической утилиты применительно к медицинской коробки.

Рис.37. Контрматрица для медицинской коробки.

В ручном ассистируемом режиме расставляются отверстия для совмещения контрматрицы и штанцформы. Так как вся работа ведется в разных слоях одного чертежа, вероятность несовпадения штанцформы и контрматрицы практически равна нулю. Так же в полуавтоматическом режиме имеется возможность подредактировать полученный контур обхода фрез, спозиционировать отверстия для элементов тиснения. В сложных случаях (например, сигаретные пачки), можно воспользоваться ручным режимом задания путей движения инструментов. Чертеж контрматрицы является управляющей программой для соответствующего фрезерного оборудования, что устраняет необходимость конвертации форматов.Подготовив основу штанцевой формы для лазерной резки, а контрматрицы для фрезерования, самое время заняться изготовлением режущих линеек. Для этой цели в MarbaCAD встроен модуль разбивки чертежа штанцформы на отдельные контуры ножей с последующим изготовлением этих ножей на автоматическом оборудовании. На рис. 4 показан процесс редактирования ножа для межклапанного паза медицинской коробки. Сначала выбирается начало и конец контура, затем независимо указываются условия на обоих концах подготавливаемой линейки (укоротить, удлинить, рубить с усом или без уса). Расставляются маркеры боковой шлифовки и линейка готова к изготовлению. Сначала она нарезается в размер с пробитыми арками автоматом HUGO, затем шлифуется и гнется на полуавтоматическом или автоматическом гибочном оборудовании. Таким образом к моменту, когда вырезано основание штанцформы, линейки уже заготовлены и мастеру остается только инсталлировать их в прорезанные пазы. Это позволяет достичь более чем 30% экономии времени на общее изготовление штанцформы.


Рис. 38а. Проектирование контурной резины. Рис.38б. Размещение резины на листе.

Вообще инструментарий оптимального размещения любых контуров в заданном листе представлен в MarbaCAD весьма полно и может быть использован для оптимизации любого рода сборок элементов.

Заканчивая с оснасткой для 1-й секции высекальных автоматов, на рисунке представлен общий вид штанцформы, оклеенной по контурной технологии, полученный с помощью 3D модуля MarbaCAD.

Рис.39. 3D изображение штанцевой формы.

Теперь остановимся на стрипперной секции машин типа BOBST, предназначенной для удаления из листа ненужных отходов. Различают 2 способа изготовления оснастки для этой секции – с нижними штифтами (классическую) и без нижних штифтов (экономичную, MarbaStrip). В первом случае (классическая технология) отверстия, куда проталкивается отход, делаются больше по всему периметру, и удаление отхода осуществляется за счет фиксации его между нижними и верхними штифтами и последующего движения вниз. Во втором случае (MarbaStrip) отверстия имеют более сложную форму и в некоторых местах уже отхода. Отход проталкивается в эти отверстия за счет верхних штифтов и упругой деформации. И та и другая технологии имеют широкое распространение и поддерживаются MarbaCAD. Например, на рис. 40a представлена верхняя панель классической стрипперной оснастки (папа), а на рис. 40б – средняя панель (мама). Нижняя часть оснастки (штифты), является перенастраиваемой оснасткой машины и отдельно не изготавливается.

В обоих вариантах оснастки MarbaCAD предлагает удобные средства по получению необходимых контуров внутренних отверстий и периметра. Например, внешний контур «мамы» получается за 4 щелчка мышью, что существенно ускоряет процесс. Аналогично обстоит дело с внутренними отверстиями – их достаточно обозначить щелчком мыши, и либо согласиться с настройками по умолчанию, либо подредактировать контур и расположение выталкивающих линеек. Если в чертеже есть несколько одинаковых отверстий, то они обрабатываются за один раз. И конечно проектировщик видит одновременно контур удаляемого отхода и контур отверстия, что исключает грубые ошибки. Для машин без стрипперной секции аналогично проектируется оснастка для удаления передней кромки листа.

Наименее распространенная, и как следствие, наиболее проблемная, секция для разделения заготовок для машин комплектации ER (секция блэнкинга, или 3-я секция). Разделение заготовок целесообразно применять только при очень больших тиражах, поэтому к оснастке для 3-й секции предъявляются повышенные требования. Обычно это наиболее дорогостоящий элемент всего комплекта. Некоторая автоматизация проектирования оснастки для блэнкинга появилась только в 3-й (последней) версии MarbaCAD, и на настоящий момент находится на этапе изучения.

Рис.41. Проектирование оснастки для секции разделения заготовок.

Подводя итог, можно сказать, что MarbaCAD является мощной средой проектирования всего комплекса оснастки, необходимого для послепечатной обработки листовых материалов в различных высекальных автоматах. Прибавив сюда продвинутые возможности по ведению полной базы данных по клиентам и оборудованию, а также возможность интеграции с широким набором различных устройств, мы получаем один из наиболее мощных и универсальных продуктов, представленных на рынке в данной области.

6. Разработка технологии производства упаковки для пельменей

6.1 Допечатные процессы

ТЕХНОЛОГИЯ CTP (компьютер-печатная форма-сокращенно называемая СTР) - это способ изготовления печатных форм, при котором изображение на форме создается тем или иным методом на основе цифровых данных, полученных непосредственно из компьютера. При этом полностью отсутствуют какие-либо промежуточные вещественные полуфабрикаты: фотоформы, репродуцируемые оригиналы-макеты, монтажи и т.д.

По своей сути СTР представляет собой управляемый компьютером процесс изготовления печатной формы методом прямой записи изображения на формный материал. Этот процесс, который реализуется с помощью одного или нескольких лазеров, более точный, так как каждая пластина является первой оригинальной копией, изготовленной с одних и тех же цифровых данных. В результате обеспечиваются большая резкость точек, более точная приводка, более точное воспроизведение всего диапазона тональности исходного изображения, меньшее растаскивание растровой точки одновременно со значительным ускорением подготовительных и приладочных работ на печатной машине.

Технология Сomputer-to-Р1аtе известна полиграфистам более 30 лет, но только в последние 5 лет она стала широко внедряться. Это обусловлено тем, что созданы реальные условия для ее внедрения. Появились требуемые для прямой лазерной записи формные материалы, высокоэффективное оборудование, надежные программные средства для оперативной допечатной подготовки изданий.

Внедрение СTР-технологии обеспечивает очевидные преимущества по сравнению с традиционной технологией фотонабора и формного процесса, которые можно сформулировать следующим образом:

• Сокращается время технологического цикла изготовления печатных форм (исключаются операции обработки фотоматериала, копирования фотоформ на формные пластины и в ряде случаев обработки экспонированных формных пластин). Исключаются из производства фотонаборные автоматы, проявочные машины, копировальное оборудование, а это экономия производственных площадей, затрат на приобретение и эксплуатацию техники, электроэнергии; сокращение численности обслуживающего персонала. При малых тиражах прямое экспонирование пластин, несмотря на их несколько более высокую стоимость, часто оказывается более экономичным, нежели традиционное, прежде всего за счет отсутствия затрат на изготовление фотоформ.

• Повышается качество изображения на печатных формах благодаря снижению уровня случайных и систематических помех, возникающих при экспонировании и обработке традиционных фотоматериалов (вуаль, ореольность) и копировании монтажей на формные пластины. Поскольку при изготовлении форм прямым экспонированием монтаж пленок отпадает, проблемы, связанные с неточностью монтажа или ошибками в нем, полностью исключены.

• Улучшаются экологические условия на полиграфическом предприятии из-за отсутствия химической обработки пленок; повышается культура производства и совершенствуется организация технологического процесса.

В настоящее время в системах СТР, ориентированных на изготовление офсетных и фотополимерных форм высокой и флексографской печати, применяют лазерные экспонирующие устройства - рекордеры трех основных типов:

• барабанные, выполненные по технологии «внешний барабан», когда форма расположена на наружной поверхности вращающегося цилиндра;

• барабанные, выполненные по технологии «внутренний барабан», когда форма расположена на внутренней поверхности неподвижного цилиндра;

• планшетные, когда форма расположена в горизонтальной плоскости неподвижно или совершает движение в направлении, перпендикулярном направлению записи изображения.

 Экспонирование осуществляется многолучевым лазерным источником с длиной волны 830 нм, который может обеспечивать как среднетемпературную обработку термополимерных пластин (400°С), так и высокоэнергетический импульсный режим для термоаблационных материалов. Отсутствие искажения на стадии контактного копирования формы, использование высококонтрастных термопластин (принципиально отсутствует эффект краевой вуали точки) в сочетании с прецизионным лазерным лучом квадратного сечения, выполненным по запатентованной технологии Сгео, позволяют получать офсетные пластины такого качества, какое полиграфия аналогового (доцифрового) периода не могла даже представить.

В отличие от традиционных технологий СTР, где лазер работает в видимом волновом диапазоне, при термальном экспонировании используется тепловая энергия лазерного луча. С ее помощью генерируются точки изображения на поверхности формной пластины.

Термопластины содержат слой эмульсии, нанесенной на алюминиевую подложку (основу пластины). Экспонирование лазером вызывает нагревание эмульсии, что приводит к химической реакции в эмульсионном слое, ускоряющей ее отверждение (задубливание).

Нагрев, предваряющий проявление, ускоряет химическую реакцию в области экспонирования, что завершает процесс задубливания и сцепления эмульсионного слоя с основой пластины. Участки, не экспонированные лазером, смываются проявителем и счищаются щеткой в процессоре.

Цифровая цветопроба. Особенность этой пробы состоит том, что она выполняется с помощью печатающих устройств непосредственно с компьютера. В этом случае отсутствует стадия работы с фототехническим материалом и химико-фотографическая обработка. Это особенно актуально при использовании технологии Соmputer-to-Р1аte, не предусматривающей использование фотоформ.

В настоящее время в качестве устройств для получения цифровых цветопроб используются принтеры, работающие с различными технологиями перенесения красочного пигмента на основу. Различают принтеры, работающие по принципу термопереноса, сублимационные, струйные, лазерные и принтеры на твердых чернилах.

В основу работы принтера с термопереносом положен перенос цветных красителей со специальной лавсановой пленки на бумагу под действием высокой температуры. Красители содержат в своем составе воскоподобное вещество, которое при нагревании плавится и позволяет красителю перейти с лавсановой подложки на бумагу.

В процессе печати на лавсановой подложке создается высокая температура в тех местах, где должно находиться изображение соответствующего цвета. Каждый цветной оттиск печатается в четыре прогона. Разрешающая способность подобных принтеров обычно 300 dpi, при печати применяется специальная бумага.

Сублимационные принтеры используют практически такой же принцип переноса красящего вещества на подложку, как и предыдущая технология, только в отличие от последней не создаются растровые точки. Запечатывание происходит равномерно и полностью, а изображение имеет фотографический вид (оно лишено растровой структуры).

В этих принтерах используют специальные красители, которые обладают повышенной прозрачностью, поскольку при формировании изображения красители накладываются точно друг на друга. Формирование того или иного оттенка цвета зависит от толщины слоя базового красителя, перенесенного на бумагу. Процесс переноса красителя достаточно сложен, он основывается на нагревании красителя до состояния, близкого к парообразному. Испарившийся краситель соприкасается со слоем специального химического покрытия, которое нанесено на бумагу, и проникает в него. Степень переноса красителя зависит от степени прогрева в конкретной точке. После завершения процесса для четырех базовых цветов на бумаге формируется изображение.

Основные недостатки сублимационной печати - высокая стоимость отпечатка, невозможность печати на простой бумаге и воспроизведения растровой структуры.

Струйные принтеры - наиболее распространенные устройства для получения цифровых цветопроб. Это связано не только с относительно малой стоимостью отпечатка, но и с дешевизной самого устройства, возможностью работы с различными материалами.

Струйные принтеры охватывают наибольший диапазон рынка компьютерных периферийных устройств. Это могут быть как простейшие принтеры для офиса, так и принтеры для печати рекламных плакатов для уличных стендов размерами 3x8 м.

Общий принцип печати основан на перенесении жидких цветных чернил на лист бумаги. Чернила наносятся микроскопическими каплями, которые попадают из четырех резервуаров и отрываются от них под действием электрического поля. Сформированные таким образом капли чернил разгоняются в направлении листа бумаги и, попав на него, впитываются.

Принтеры подобного типа используют четыре цвета чернил (могут использовать и три). И хотя чернила имеют цвета полиграфической триады, они отличаются от них по своим колориметрическим характеристикам. Чем более качественные работы должен выполнять принтер, тем сложнее становится механизм развертки, требуется большая разрешающая способность, более приближенный цвет к цвету, получаемому при печати, и соответственно повышается стоимость устройства.

К недостаткам этих принтеров относится разбрызгивание краски при ударе о бумагу, приводящее к снижению четкости изображения, особенно при воспроизведении векторных элементов изображения (текста), опасность засорения форсунок (у устройств с непрерывной подачей чернил), а также печать водорастворимыми красками, требующими дополнительного ламинирования.

Принцип работы цветных лазерных принтеров такой же, как и черно-белых, только процесс записи изображения на барабан и перенос его на бумагу повторяются 4 раза в соответствии с количеством красок тонера. Максимальное разрешение, достигаемое принтерами, составляет 1200x1200 dpi. К недостаткам этих принтеров можно отнести относительно невысокую точность позиционирования листа и возникающие в связи с этим неточности в воспроизведении изображения. Кроме того, прозрачность тонера значительно ниже прозрачности полиграфических красок, что влияет на цветовой охват устройств.

Использование принтеров на твердых чернилах получает в настоящее время все большее распространение. В основу работы этих устройств положено термическое плавление твердого красителя, разгон капли красителя (обычно в электрическом поле) и быстрое ее застывание при соприкосновении с бумагой. При подобном нанесении красителя удается избежать двух проблем струйных принтеров - смешения чернил и растекания при впитывании. Выброс образовавшегося расплава краски из сопла (форсунки) осуществляется с помощью пьезоэлектрических элементов.

6.2 Печатные процессы

Листовая офсетная офсетная печать по сравнению с другими способами обладает преимуществами с экономической точки зрения и с позиции качества продукции. К ним прежде всего, надо отнести возможность печати широкого ассортимента продукции и довольно низкую ее стоимость при высочайшем качестве и широком спектре тиражей. Цветовые возможности в офсетной печати укладываются в интервал от одной, включая четырехкрасочную печать, до двенадцати красок. Листовым офсетом могут запечатываться материалы самых различных форматов и плотностей. Короткое время занимает подготовка к печати.

Неуклонно растущие потребности и ожидания потребителя стимулируют развитие рынка. Машина Speedmaster CD 102 Благодаря технологической гибкости Speedmaster CD 102 является идеальной машиной для выпуска коммерческой продукции,печати этикеток и запечатывания материала складных коробок. Смена тиража и материала выполняется легко и быстро, так же как бесконтактная печать по любому материалу от тонкой бумаги до плотного картона причем на предельных скоростях.

Технические характеристики:

Запечатываемый материал:

Толщина от тонких сортов бумаги до 1,00мм

 картон

Форматы листа

Макмимальный 720 х 1020 мм

Минимальный 280 х 420 мм

Максимальная запечатываемая поверхность

710 х 1020 мм

Высота стапеля

Самонаклад 1070 мм

Приемка 1045 мм

1 С1еаnStar. Система очистки воздуха для высокопроизводительной приемки Heidelberg значительно сокращает присутствие пыли и порошка в печатном цехе.

2 Ехаtronic Duo Plus. Новая система подачи противоотмарывающего порошка на обе стороны запечатанного листа обеспечивает экономию порошка до 30%.

3 Система направляющих для проводки листа. Создает стабилизирующую воздушную подушку под листом для перемещения его без отмарывания.

4 Удлиненная приемка обеспечивает оптимальное время прохождения листов и прекрасные результаты сушки, в особенности, при лакировании.

5 Система сушки DryStar. Имеются различные версии сушек модульной конструкции, которая обеспечивает их взаимозаменяемость и оптимальный режим прохождения листа.

6 Секция лакирования. Лаки наносятся с помощью двухваликовой системы.

7 Полностью автоматизированная регулировка приводки на рабочем ходу сокращает время настройки.

8 InkLine/ InkLine Direkt. Система подачи краски Heidelberg автоматическим наполнением и контролем уровня краски в ящике.

9 Модульная система смывки полотна. Обеспечивает быструю и качественную смывку.

10 AirTransfer. Система воздушной проводки листа по запатентованной технологии Вентури обеспечивает бесконтактное прохождение любого листового материала через печатные секции без отмарывания.

11 Дистанционное управление раскатным цилиндром. Регулировка осевого растира осуществляется в процессе печати с пульта управления СР2000.

12 AutoPlate Plus. Полностью автоматизированная смена форм с управлением с центрального пульта СР2000.

13      Preset самонаклад. Высокопроизводительный самонаклад обеспечивает плавное, без перекосов перемещение листового материала толщиной до 1,0мм.

Рис.50. Speedmaster CD 102 (4+L)

Контроль качества

Денситометр

В некоторых случаях в условиях печатного производства необходимо контролировать оптическую плотность краски непосредственно на самом оттиске. Это можно сделать, используя денситометры на отражение.

Применение подобных денситометров предусматривает возможность контроля не только печатного оттиска, но и непосредственно печатной формы. В отличие от денситометров, работающих с прозрачными материалами, рассматриваемый тип измеряет коэффициент отражения и пересчитывает его в оптическую плотность. В случае повышения оптической плотности (D) образца уменьшается отражение света, а следовательно, увеличивается его поглощение D=lgl/r (r - коэффициент отражения).

Относительная спектральная чувствительность денситометра на отражение определяется распределением энергии в спектре источника излучения, спектральной чувствительностью фотоприемника, спектральным пропусканием светопоглощающей среды денситометра и спектральным пропусканием светофильтров. В большинстве зарубежных приборов, работающих с отраженным светом, используются фильтры, источники света и полосы пропускания фильтров согласно стандарту DIN16536.

Денситометры, работающие на отражение, так же как и денситометры на пропускание, состоят из оптико-механической части и измерительного электронного блока. Основные отличия моделей - расположение осветителя и приемника света, использование большего количества светофильтров и применение других алгоритмов при расчете измеряемых величин. Оптико-механическая часть представляет собой фотометрическую головку, соединенную световодом с узлом светофильтров, обычно расположенную в измерительном блоке.

Денситометры на отражение могут измерять большее количество величин, нежели денситометры, работающие с прозрачными материалами, а именно: оптическую плотность краски; растаскивание; размер растровых точек на оттиске и печатной форме; относительный контраст печати; треппинг (переход краски); ошибку цветового тона; баланс «по серому».

Измерение каких-либо из перечисленных выше величин в большинстве случаев затруднительно производить по сюжетам отпечатанного изображения, поэтому для оценки качества полученных изображений на оттиске стали применять специально разработанные контрольные шкалы, изготавливаемые, в основном, по стандартам FOGRA. Подобные шкалы используются почти всеми фирмами-производителями денситометрического оборудования и существуют не только в вещественном виде для применения на стадии копирования фотоформ в контактно-копировальных рамах, но и в электронном виде для размещения на полосе издания в процессе верстки.

В зависимости от условий проводимых измерений могут использоваться поляризационные фильтры, применение которых обусловлено изменением оптической плотности красочного слоя в процессе высыхания. В условиях производства приходится проводить оперативный контроль в процессе печати тиража. Разность измеренных значений до и после высыхания красочного слоя может составлять 0,1-0,2 единицы оптической плотности.

Основная причина такой разницы плотности сырого и сует оттисков - неодинаковые свойства их поверхности. Сырой оттиск является глянцевым, а сухой - матовым, так как происходит частичное проникновение краски в поры и частичное проникновение которые выявляют текстуру бумаги. При этом изменяется соотношение рассеянного и достигающего фотоприемник света.

Поляризационные светофильтры предотвращают попадание части рассеянного света от сухого оттиска на фотоприемник тем самым препятствуют уменьшению измеряемых плотностей.

Другими словами, сухой оттиск измеряется этим денситометром как сырой, хотя никакого влияния на физические характеристики этого оттиска не оказывает.

Для получения корректных результатов необходимо постоянно заботиться о проведении различного рода тестовых и профилактических мероприятий. Одно из основных условий правильной работы денситометра - проводимая с определенной периодичностью калибровка. Обычно этот процесс осуществляется при установке, тестировании и настройке прибора на печатные процесс, в случае изменения типа запечатываемого материала, резкого изменения температуры окружающей среды, а также с периодичностью, установленной фирмой-производителем.

Для оперативной калибровки прибора фирмы-производители применяют специальные шкалы, так называемые Density Calibration Reference, которые содержат определенные поля триады красок, поля со значениями белого для различных видов бумаг (мелованные, немелованные и т.д.). Используя их, пользователь подстраивает чувствительность светоприемников под производственные условия.

Исходя из общих принципов работы и назначения, можно сформулировать основные требования к современному денситометрическому оборудованию:

• простота использования;

• портативность и возможность работы без подключения к электрической сети;

• наличие функций диагностики;

• наличие определенного набора измеряемых величин;

• точность измерений (значения измеренных величин при измерении одного и того же поля должны различаться на 0.01 D.

Спектрофотометр

Для проведения любых оценочных действий необходимо применение некоторых объективных количественных оценок характеристик цвета и цветовых различий, которые называются колориметрическим методами. Они разделяются на два типа:

• методы, в которых цвета предметов сопоставляют с цветовым эталоном образцов и записывают условными номерами и буквенными обозначениями, принятыми для этой системы образцов;

• методы, основанные на трехцветной теории зрения.

Цветовые эталонные образцы широко применяют в виде оттисков, полученных типовыми красками на разных бумагах. Из них составляют различного рода цветовые шкалы. Однако эти методы не дают количественную характеристику воздействиям на глаз цветов различных излучений.

Для объективной количественной характеристики цвета используются методы второго типа, позволяющие производить измерения цвета приборами путем аддитивного синтеза. В основе любых цветовых измерений лежит возможность точного определения цветовых координат. Как было сказано выше, пространства цветового синтеза RGB и СМУК являются не стандартизованными и аппаратно-зависимыми, поэтому было предложено цветовое пространство СIЕLаb. Оно было стандартизовано и используется в современных системах допечатной подготовки и контроля качества.

Прибором, призванным обеспечивать контроль цвета, является спектрофотометр. Главная его задача - расчет цветовых координат и построение спектральной кривой измеряемого объекта.

Большинство представленных на мировом рынке моделей спектрофотометров для полиграфических нужд различных фирм-производителей имеют возможность получать координаты цвета в международных системах ХУZ, СIЕLab, СIЕ LСН.

Отличие спектрофотометрических измерений от измерений человеческим глазом состоит в том, что на показания прибора не оказывают влияния посторонние факторы, такие как индивидуальные характеристики человеческого глаза, а все условия проведения измерений стандартизованы. Так как отпечатанная полиграфическая продукция может наблюдаться при различном внешнем освещении, то и человек видит один и тот же цвет по-разному (это явление было названо метамеризмом).

Для получения представления о воспроизводимых цветах будущего печатного издания при различном освещении в спектрофотометрах используют стандартизованные источники излучения О50, О65, А, В, С и т.д., имеющие определенные спектральные характеристики. Например, источник А - норма среднего искусственного света, эквивалентная цветовой температуре 2858 К, что соответствует излучению лампы накаливания. В -норма прямого солнечного света с цветовой температурой, близкой к 4800 К. С - норма рассеянного дневного света с температурой около 6500 К. В65 имеет температуру, почти строго равную 6500 К (применяется во всем мире, кроме Германии, где стандартным считается О50 с цветовой температурой 5000 К).

В некоторых случаях наиболее критичными элементами изображения являются фирменный цвет логотипа или точное воспроизведение памятных цветов. Человеческий глаз замечает изменения цвета только в случае превышения так называемого цветового порога (минимального изменения цвета, заметного глазом). Применяемые в современных спектрофотометрах технологии позволяют учитывать данный фактор и определять величину отклонения цвета от оригинала, названную показателем цветовых различий.

Это измерение позволяет оперативно и точно определить возможные корректировки технологических режимов печати, например подачу краски, увлажняющего раствора, давления в печатной паре, или внести предыскажения еще на стадии допечатной подготовки, например цветокоррекции.

6.3 Отделочные процессы

1. Штанцевание осуществляется на горизонтальном автоматическом прессе SP Bobst 102. С максимальным форматом по ножам 1020 х 720мм, с максимальной производительностью 8,5 тыс./ч.

Наиболее часто на практике используются ножи высотой Н=23,8 мм. Для высечки картона используются ножи, как правило, толщиной 0,71 мм. Наиболее распространенный угол двойной заточки a=52-54 0 . На каждый погонный метр длины такого ножа прикладывается усилие около 1 тонны.

С точки зрения твердости к ножам предъявляют противоречащие друг другу требования. С одной стороны твердость режущей поверхности должна быть максимальной: чем выше твердость режущей кромки, тем долговечнее нож. С другой стороны ножи должны обладать высокой пластичностью для обеспечения требуемых остаточных деформаций в процессе гибки с целью получения сложной конфигурации, соответствующей развертке высекаемых изделий.

При позиционировании разверток на листе учитываются необходимые допуски на захват валами печатной машины, по 10 мм с каждой стороны, 15 мм на клапан в «голове» листа, 10 мм на «хвост» листа. Следующие рисунки демонстрируют технологически необходимый клапан под захват листа в штанцевальном оборудовании, который составляет 13 мм.

Рис.51.

Рис.52.

Рис.53.

Рис.54.

Рис.55.

Выбор необходимой твердости резины зависит от схемы расположения рабочего инструмента на штампе и от вида и свойств штанцуемого материала.

Если расстояние между соседними режущими ножами меньше 8 мм, то рекомендуется использовать в качестве пружинящего материала резину твердость от 40 до 60 ед. по Шору. Если это расстояние больше 8 мм, то резина должна быть менее твердой – от 20 до 35 ед. по Шору.

Сплошная монолитная резина отличается высокой твердостью и жесткостью. Из нее чаще всего изготавливают пружинящие элементы различного профиля в сечении.

Пружинящий элемент с сечением в виде равнобедренной трапеции с углом у основания 22° характерен тем, что при сжатии форма его сечения преобразуется в прямоугольную, а боковое расширение отсутствует. Такие пружинящие элементы применяют между близко расположенными режущими ножами.

Более сложную форму имеют пружинящие элементы с кзь кообразным сечением. Их используют между близко расположенными биговальными и режущими ножами. Отрицательный угол наклона профильной боковой поверхности к плоской опорной поверхности «А» выполняет две основные функции. Во-первых, предохраняет картон от появления оттисков в районе краевой зоны биговальной матрицы при контакте жестким пружинящим элементом. Во-вторых, компенсирует возникающие в процессе биговки в картоне значительные растягивающие напряжения, ухудшающие качество резки. Особенно эффективно применение таких профилей в местах образования перемычек, удерживающих на листе заготовки коробки. Если расстояние I между режущим и биговальными ножами меньше 10 мм, для изготовления профилей рекомендуется применять резину твердостью от 45 до 70 ед. по Шору. При расстоянии I > 10 мм для профилей используют более мягкие сорта резины твердостью от 35 до 55 ед. по Шору.

Газонаполненная резина характеризуется меньшей твердостью и жесткостью, поэтому из нее изготавливают пружинящие элементы преимущественно прямоугольного сечения. Резина поставляется в виде листов, из которых нарезают пружинящие элементы требуемой ширины. Важным показателем качества резки является обеспечение вертикальности боковых стенок пружинящих элементов. Если одна из сторон резины имеет текстильную поверхность, часто называемую коркой, то пружинящий элемент должен быть приклеен к основанию штампа коркой вверх. В противном случае возможно прилипание картона к пружинящему элементу.

Резина с открытыми ячейками, иначе называемая резиной с открытыми порами, отличается наименьшим значением бокового расширения Хб. При сжатии пружинящего элемента воздух выходит из открытых пор. При восстановлении воздух входит обратно в поры. Для процесса заполнения воздухом пор при обратном ходе штампа требуется определенное время, поэтому такая резина не может применяться в высокоскоростных штанцевальных установках. Вместе с воздухом в поры попадает пыль, образующаяся в процессе штанцевания. Это приводит к постепенному увеличению жесткости резины с открытыми порами. Такую резину целесообразно использовать для штанцевания высококачественных сортов картона с наименьшим пылеобразованием.

Резина с закрытыми ячейками по пружинящим и эжекторным свойствам занимает промежуточное положение между сплошной монолитной резиной и резиной с открытыми ячейками. Наилучшим комплексом свойств обладают резины на основе синтетического каучука. Замкнутые ячейки заполнены преимущественно воздухом, реже азотом. Усталость таких материалов при многократном циклическом нагружении проявляется в остаточной деформации и сморщивании ячеек. При превышении допустимой степени сжатия стенки ячеек могут лопнуть, разрушиться.

Вспененные полиуретаны имеют закрытые ячейки очень малых размеров — микроячейки, поэтому их часто называют микропористыми материалами. При сжатии они отличаются маленьким значением бокового расширения Хб, поэтому чаще всего пружинящие элементы из них используют между близко расположенными режущими ножами. [9]

Так как на развертке коробки практически нет расположенных близко друг с другом режущих ножей штанцформы, то используемой резиной в основном будет резина с открытыми ячейками, отличающая наименьшим значением бокового расширения Хб.

Используемая марка резины: F1.25, с условной твердостью по Шору 25 ед., максимальная степнь сжатия 40%, скорость штанцевания – 7000 ч-1.

В местах близко расположенных режущих и биговальных ножей целесообразнее использовать сплошную монолитную резину с клыкообразным сечением с условной твердостью по Шору 45 ед.

Важно разместить режущие ножи в области овала фаской внутрь, в сторону удаляемой части материала, используя ножи с односторонней заточкой, так как они позволяют более точно высекать сложный контур коробки. Для всех остальных контуров целесообразнее использовать ножи с двусторонней заточкой с прямолинейной фаской из-за более высоких эксплуатационных характеристик по сравнению с более дешевыми ножами с односторонней заточкой. Толщина ножей для картона m=305 г/квм составляет 0,71 мм, высота 23,8 мм.

2. Автоматическая вклейка «окошек» будет осуществляться на машине Kohmann Starlet FEMS с максимальным форматом развертки 680Х680 мм

245 х 158мм формат обычайки

Максимальный размер «окошка» - 380х420 мм.

75 Х 165 мм формат «окошка»

Производительность- до 120 000 коробок /сут.

6.4 Упаковочные процессы

Для упаковки пельменей целесообразно применять весовой дозатор Нотис ДВДДП-3,0 для замороженных продуктов.

Дозатор весовой дискретного действия Нотис ДВДДП-3,0 может работать как самостоятельно, так и в комплекте с упаковочным оборудованием. В дозаторе используется микропроцессорное управление, позволяющее плавно менять производительность вибропитателя, что обеспечивает быстрый и точный набор дозы.
Дозатор имеет следующие функции:

· дозирование продукта в соответствии с заданной массой дозы;

· возможность задания с блока управления (в пределах, установленных на данный тип дозатора) требуемой массы дозы;

· автоматическое бракование набранной дозы, если отклонение действительного значения её массы от заданного превышает установленный пользователем предел;

· накопление и хранение информации о количестве навешанных доз и суммарной массы навешанных доз не менее чем за 10 часов работы;

· индикация на алфавитно-цифровом дисплее текущего значения веса, режима работы дозатора, наименование и значения вводимых параметров, сообщения об ошибках и неисправностях;

· аварийной остановки и блокировки работы в случае нарушения режима работы дозатора (прекращение поступления дозируемого продукта, неверно набранной дозы, и т.п.).

Таблица 8.

Основные параметры дозатора приведены в таблице.

Наименование параметра

ДВДДП-3,0

Пределы дозирования (грамм)

5-3000

Погрешность взвешивания

0.2%

Объём бункера (л)

50/90

Длительность цикла не более (сек)

8


Дополнительные модификации: Расширение температурного дипазона ДВДД до -20С

7 Расчет себестоимости полиграфической продукции с учетом себестоимости единицы продукции

 

Этот способ подразумевает использование прайс-листов на основные виды продукции. Основным назначением прайс-листа является обеспечение оперативной работы с заказчиком.

В общепринятом смысле прайс-лист содержит рекламную информацию о продукции и услугах и отпускной ее стоимости. Но не исключается возможность содержания в нем данных о затратах на производство единицы продукции определенного вида. Прайс-лист с такой информацией является внутренним документом предприятия и выполняет не рекламную функцию, а используется для оперативных расчетов себестоимости продукции на этапе подготовки изделия к производству [18].

Тираж 100 000

Обрезной формат по штампу

Красочность 4+0

Отделка УФ-лак, высечка, вклейка окошек

Количество листов необходимое для печати тиража:

100 000/2=50 000 листов.

Количество листов полимера необходимое для вклейки окошек:

0,165 х 0,75мм х 100 000=12 400/0,70 х0,50=35 500 листов формата А2.

36 000 листов полистирола, толщиной 200 мкм необходимо для вклейки окошек.

1 лист А2 стоит 0,05у.е., итого 1800 у.е.

Расчет необходимого количества листов на приладку:

печать в 4 краски + лак Þ 1 приладка на печать + приладка на лак

2500+1500=4000 листов

Итого листов: 50 000+ 4000=54 000

Расчет бумаги на производство коробок:

0,70х1,0х1,55х 0,305х 54 000 = 17 870 у. е.

CTP 65 у. е.

Печать: приладка + работа

200 у. е.+25у. е. х 50, 000=200+2500= 1250 у. е.

УФ-лак 50 000 х 0.025= 1250 у. е.

Макет 50 у. е.

Изготовление штампа:

Метраж ножей 18 м

Штамп 18м х 25у. е. 450 у. е.

Штанцевание

50 000 ударов х 0,025=1250у. е. + приладка 120у. е.=1370 у. е.

Вклеивание окошек 100 000шт. х 0,02 у. е. = 2000$

Фальцовка 100 000 х 0,005 = 500 у. е.

Упаковка 300у. е.

Итого: 26 905 у. е.

Себестоимость1 продукции – 0,27у. е.

Заключение

Дипломный проект посвящен разработке конструкции и технологии изготовления упаковки из картона для пельменей. Перед разработкой упаковки был проведен комплексный анализ, позволяющий сделать оптимальный выбор во взаимосвязанной цепочке важнейших элементов упаковки. В результате материалом для упаковки выбран картон TECTABase с дисперсионным покрытием для производства упаковки, требующей водо-, паро- прочных свойств. Дисперсионное покрытие на водной основе не содержит соединений хлора, фтора и тяжелых металлов, а также смол. Изделия из картона TECTA могут скрепляться клеем, термоклеем или механически. Оптимальной плотностью 305 г/м2. Выбор формата листа и позиционирование проведены с технологически необходимыми полями для последующей обработке в печатной и штанцевальной машине. Выбранная полимерная пленка из полистирола позволит не только визуально оценить предлагаемый продукт, но и обеспечивает необходимую прочность при низких температурах хранения.

Конструкция разработанной упаковки обеспечивает привлечение покупателя к продукту за счет формы, отличающей ее от всех остальных упаковок, представленных на прилавках магазинов. При конструировании использованы приемы снятия концентрации напряжения в материале, учитывалась толщина картона для получения геометрически правильных контуров, а также необходимые припуски с учетом последующей склейки на фальцевальном оборудовании.

Благодаря технологической гибкости Speedmaster CD 102 является идеальной машиной для выпуска коммерческой продукции, печати этикеток и запечатывания материала складных коробок. Смена тиража и материала выполняется легко и быстро, так же как бесконтактная печать по любому материалу от тонкой бумаги до плотного картона причем на предельных скоростях.

Штанцевание осуществляется на горизонтальном автоматическом прессе SP Bobst 102. С максимальным форматом по ножам 1020 х 720мм, с максимальной производительностью 8,5 тыс./ч. Выбранная оснастка и расходные материалы позволяют осуществлять штанцевание с максимально большим экономическим эффектом.

Проведенный расчет себестоимости единицы продукции позволяет сделать вывод о доле стоимости упаковки в конечном продукте.

Список литературы

1. Козырев А. Анализ мирового производства и потребления коробочного картона. /Тара и упаковка, 1999. №2. С. 20-22.

2. Гроб Б. Тенденции развития упаковочной индустрии в следующем тысячелетии/

Полиграфия 1999. №4. С.70-72.

3. Стефанов С. И. Путеводитель в мире полиграфии. М.: Унисерв, 1998. 320с.

4.  Самарин Ю. Н. Сапошников Н. П. Синяк М. А. Допечатное оборудование/ Издательство МГУП, 2000

5. Амангельдыев А. Пельменная палитра. Как стимулировать спрос с помощью упаковки/ Пакет, 2004. №1. С.11-16.

6. Упаковка. Краткий курс упаковочных технологий/ Ассоциация «СОЮЗУПАК», Москва 2003

7. Полиграфия № 2 , 2003

8.  Аксенова Т. И., Ананьев В. В., Дворецкая Н. М./Технология упаковочного производства /М.: Колос, 2002.-184с.

9. Ефремов Н. Ф. Тара и ее производство /Учебное пособие. М.: МГУП 2001.

10.  Продукт-каталог Гейдельберг СНГ. Системные решения / Октябрь 2000.

11.  Буклет «Бумага и картон»/ Центральная бумажная компания, 2003

12.  Иконников В. Н. PakkoGraff / 2002 №2

13.  Гротов А. Проектирование упаковки в среде САПР MarbaCad / Полиграфия №3 2001.

14. Каверин В.А., Феклин К. П. Выбор, изготовление, испытания тары и упаковки/ М.: 2002

15. Киппхан Г. Энциклопедия по печатным средствам информации. Технологии и способы производства. М.: МГУП 2003.

16. Варепо Л. Г. Производство бумаги из бумаги, картона и гофрокартона: Учеб. Пособие. Омск: Изд-во ОмГТУ, 2002. 200с.

17. Bobst Doctech / Autoplaten SP / 1998

18. Миронова Г. В., Осипова Г. И. Организация полиграфического производства: Конспект лекций. М.: Изд-во МГУП «Мир книги», 1998. 94с.

Похожие работы на - Разработка конструкции и технологии производства упаковки из картона для пельменей

 

Не нашли материал для своей работы?
Поможем написать уникальную работу
Без плагиата!
Без нейросетей!