Проектирование аппарата для очистки сточных вод от фенола и нефтепродуктов
1. Введение
2. Исследовательская часть
2.1 Подбор носителя, культуры микроорганизмов и метода
иммобилизации
2.1.1 Методы иммобилизации клеток микроорганизмов
2.1.2 Адсорбционная иммобилизация микроорганизмов
2.1.3 Виды адсорбентов
2.1.4 Приемы адсорбционной иммобилизации клеток
микроорганизмов
2.1.5 Выделение и культивирование микроорганизмов
2.1.6 Иммобилизация микроорганизмов
2.2 Разработка лабораторной установки
2.3 Отработка режимов иммобилизации и очистки
3. Разработка технологической
схемы очистки
4. Расчет материальных потоков
5. Разработка и расчет
промышленного аппарата
5.1 Технологический расчет
5.2 Механические расчеты
6. Расчет и подбор
вспомогательного оборудования
7. Технико-экономические расчеты
7.1 Технологическая схема производства
7.2 Расчет производственной мощности
7.3 Расчет капитальных затрат
7.4 Расчет годовых эксплуатационных затрат
7.5 Проектная калькуляция себестоимости очистки
7.6 Расчет ежегодной экономии на платежах предприятия при
снижении выбросов вредных веществ в сточные воды.
7.7 Расчет основных технико-экономических показателей
8. Безопасность
жизнедеятельности.
8.1 Анализ опасных и вредных производственных факторов
8.2 Классификация производства
8.3 Мероприятия по безопасному выполнению работ
8.3.1 Общие мероприятия
8.3.2 Порядок допуска к выполнению работ
8.3.3 Организация контроля за состоянием охраны труда
8.3.4 Применение средств индивидуальной защиты работников
8.5 Расчет заземляющего устройства электропривода насоса
Обезвреживание разнообразных органических отходов,
жидких стоков производственных предприятий все чаще проводится с помощью
микробиологических методов. Наиболее широко применяются микроорганизмы –
деструкторы, которые используют кислород воздуха для окисления различных
органических соединений. Такие аэробные методы очистки реализуются, в основном,
в аэротенках, главные недостатки которых — необходимость перемещения биомассы
(активного ила) и удаления избыточных ее количеств. Чтобы избежать этих
недостатков и реализовать проточный принцип очистки, применяют иммобилизацию
микроорганизмов на различных носителях.
Целью работы был подбор
методов и расчет аппарата для очитки сточных вод от фенола и нефтепродуктов.
Фенол и его производные (особенно галоген-производные, диоксины) являются
крайне токсичными соединениями. Их ПДК составляют тысячные доли миллиграмма на
литр. В то же время масштабы выбросов фенола и его производных говорят о
необходимости разработки эффективного метода их утилизации. Основными
поставщиками фенола в окружающую среду являются ЦБК, предприятия –
производители кабельно – проводниковой продукции, фенол- формальдегидных смол,
фанеры, пластика. Микроорганизмы-деструкторы были выделены из активного ила
очистных сооружений города Перми. Выделение и культивирование бактерий производили
на среде Е при 37°С с содержанием
фенола 0,1 мг/л.
Поскольку фенол является трудноокисляемым соединением,
был предложен биосорбционный метод очистки, позволяющий снизить токсическое
действие фенола на микроорганизмы и повысить скорость разложения
нефтепродуктов.
Отработаны методы выделения и культивирования
микроорганизмов-деструкторов фенола и нефтепродуктов. Иммобилизацию производили
сорбционным методом без использования модифицирующих реагентов. Полученный
иммобилизованный сорбент обладает повышенной окислительной активностью по
сравнению со свободно растущими клетками.
В качестве носителя для иммобилизации был предложен березовый
активированный уголь марки БАУ-4, так как он обладает высокой сорбционной
емкостью, как по нефтепродуктам, так и по клеткам микроорганизмов. Поскольку
размеры частиц активированного угля не превышают 5 мм, для реализации процесса
был предложен аппарат с псевдоожиженным слоем.
В результате
экспериментов были определены удельные скорости окисления загрязняющих веществ,
и они составили 0,2 и 5 г/кг*сут для фенола и нефтепродуктов соответственно.
При этом скорость окисления фенола иммобилизованными клетками превосходит
аналогичный показатель для активного ила примерно в 1,5 раза.
С использованием полученных кинетических характеристик
биосорбента был спроектирован аппарат для очистки производственных сточных вод
объемом 15 м3 и производительностью 7000 м3/сут.
Установка для очистки сточных вод состоит из двух колонных
аппаратов и циркуляционного насоса. Колонные аппараты разделены на две зоны:
аэрационную и биосорбционную, расположенных коаксиально. В аэрационной зоне
происходит насыщение подаваемых сточных вод кислородом, а в биосорбционной зоне
– очистка вод от загрязнителей в псевдоожиженном слое биосорбента.
Циркуляционный насос обеспечивает стабильность кипящего слоя при колебаниях
расхода сточных вод, а так же их разбавление.
Данная установка позволяет эффективно удалять из сточных вод
фенол и нефтепродукты и может быть использована как для очистки
производственных сточных вод, так и в системах оборотного водоснабжения.
2.2.1 Методы иммобилизации клеток
микроорганизмов
В настоящее время иммобилизованными полагают такие клетки, для
которых созданы искусственные ограничения подвижности во внешней среде, а
материальный посредник, обеспечивающий эти ограничения подвижности, считается
носителем. В целом система клетка-носитель называется иммобилизованным
биокатализатором.
В ряде случаев в качестве носителя используются
нерастворимые материалы, к которым конкретный тип клеток прикрепляется в
реальных условиях (например, древесина, почва, шерсть, минералы и др.), тогда
жизнедеятельность клетки в иммобилизованном состоянии является для нее
естественной, отличающейся от природной только искусственно поддерживаемыми в
биотехнологическом процессе внешними параметрами (температура, давление,
влажность и т.д.) и набором подаваемых клетке веществ.
Иммобилизация микроорганизмов (т.е. удерживание их носителем)
может быть как необратимой, так и временной. Когда иммобилизуют растущую,
интенсивно делящуюся культуру, часто наблюдается постепенный переход клеток из
фазы носителя в окружающую среду, даже если исходная биомасса была фиксирована
носителем необратимо. Когда же в процессе эксплуатации иммобилизованного
биокатализатора со временем нарушается первоначальная целостность носителя, то
вымываться из него могут даже неживые клетки. Но иногда оказывается удобной
именно обратимая фиксация, чтобы можно было удалить отработавшие свой срок
клетки и вновь иммобилизовать свежую их порцию. Такой подход к регенерации
биокатализаторов удается применять, например, в случае адсорбционных вариантов
иммобилизации. Ко всем методам иммобилизации клеток и к используемым при этом
носителям предъявляются определенные требования, которыми обычно
руководствуются при разработке того или иного биотехнологического процесса,
предусматривающего применение содержащих клетки иммобилизованных
биокатализаторов.
1. Прежде всего, используемый способ иммобилизации
не должен в значительной степени затрагивать ферментативные системы клетки,
необходимые для реализации конкретной технологии. Поэтому при проведении
иммобилизации желательно либо совсем исключить, либо свести к минимуму контакт
клеток с токсичными для них веществами, а также предотвратить нежелательное
воздействие на микроорганизмы температурных и осмотических стрессов.
2. Как правило, предпочтительно осуществлять иммобилизацию
таким образом, чтобы в результате клетки надежно удерживались носителем.
3. Желательно, чтобы трудоемкость стадии иммобилизации была
по возможности минимальной, как и число манипуляций с клетками (существенно для
сохранения стерильности).
4. Необходима хорошая операционная стабильность получаемых
иммобилизованных биокатализаторов для их длительной эксплуатации, что зависит
от механической, химической и биологической устойчивости носителя в условиях
конкретного технологического процесса.
5. Очень важным моментом, особенно при работе с
живыми клетками, является обеспечение иммобилизованных микроорганизмов
питательными веществами, газообразными субстратами (например, кислородом для
дыхания аэробных клеток) и отвод продуктов жизнедеятельности, т.е. материал
носителя не должен создавать значительных диффузионных препятствий
массообменным процессам.
6. Существенную, а при крупномасштабном производстве зачастую
определяющую роль играет экономическая сторона вопроса, т.е. необходимы невысокая
стоимость применяемого метода иммобилизации клеток и доступность исходных
компонентов, так как даже очень хороший вариант, для которого использованы
экзотические вещества и уникальное оборудование, имеет, к сожалению, мало
шансов на промышленное воплощение.
Конечно, выполнить все эти требования каким-то единственным,
универсальным методом иммобилизации микроорганизмов, учитывая к тому же
огромное разнообразие их видов и функциональных особенностей, представляется
маловероятным. Поэтому любой конкретный биотехнологический процесс на основе
иммобилизованных клеток это - компромисс между «идеальным» и «реально
возможным». Но, чтобы как можно в большей степени приблизиться к наилучшему
варианту, конечно, необходимо представлять себе, к каким последствиям для
биологических функций клетки может привести тот или иной способ ее иммобилизации.
Результативность работы биокатализатора в целом во многом
определяется эффективностью снабжения иммобилизованной популяции питательными
веществами или субстратами, а также легкостью отвода метаболитов. Эти факторы
зависят главным образом от диффузионных барьеров, создаваемых материалом
носителя. Поэтому способы иммобилизации классифицируют по принципу конечного
состояния удерживаемой носителем клетки. Существуют следующие варианты
иммобилизации клеток:
1.
Иммобилизация клеток на носителе или на поверхности носителя.

Поверхность или часть поверхности
удерживаемой носителем клетки свободно "омывается" внешней средой
(жидкой или газообразной); при этом потребление субстратов и выделение
продуктов жизнедеятельности микроорганизма определяются преимущественно
биологическими факторами, т. е. функциональными возможностями конкретного
штамма в среде используемого состава. В качестве носителей для иммобилизации в
данном варианте используются различные адсорбенты и ионообменные материалы.
2.
Иммобилизация клеток в носителе или в массе (объеме) носителя


Между внешней средой и
клеткой в результате иммобилизации последней появляется слой материала
носителя, и обмен веществ клетка-среда осуществляется через этот слой, где
происходит диффузионно-контролируемый транспорт питательных веществ и отвод
метаболитов. В данном случае свойства носителя (например, его пористость,
заряд, гидрофильность) могут в значительной степени сказываться на работе
иммобилизованного биокатализатора и на уровне реализации потенциальных
возможностей микроорганизма. В данном варианте иммобилизации микроорганизмов в
качестве носителей применяются либо полимерный гель, либо полимерная пленка,
либо полимерное волокно.
3.
Иммобилизация клеток с использованием мембранной технологии или
иммобилизация в мембранных реакторах.
Клетка и небольшая часть
внешней среды помещены в замкнутый объем, отделенный от остальной среды
полупроницаемой мембраной, размеры пор в которой таковы, что субстраты и
продукты через нее проникают, а клетки удерживаются внутри замкнутого объема.
Здесь микроорганизмы находятся непосредственно в среде, с искусственной же
мембраной как носителем контактирует лишь слой у поверхности мембраны;
остальные клетки фактически не имеют затруднений в движении, если их
концентрация не слишком высока.
2.1.2 Адсорбционная иммобилизация
микроорганизмов
В случае адсорбционной иммобилизации используется
естественная способность многих микроорганизмов закрепляться на разнообразных
твердых или гелеобразных носителях и продолжать свою жизнедеятельность в таком
обездвиженном состоянии. При этом собственно процедура искусственной
иммобилизации предусматривает зачастую просто пропускание суспензии клеток
через реактор с адсорбентом.
Адсорбционные методы иммобилизации относятся к числу наиболее
простых и "естественных". В природе почти всегда микроорганизмы и их
ассоциаты существуют не в изолированной (свободной) форме, а в адсорбированном
состоянии. Примером этому являются микробные популяции почвы, кишечника, рубца,
некоторые азотфиксирующие микроорганизмы растений и т.д.
В данной работе был
выбран именно адсорбционный способ иммобилизации.
Разнообразие свойств поверхности клеток и адсорбентов
обусловливает различные механизмы адсорбционного взаимодействия и различные
виды сил адгезии. Адгезия клеток на адсорбенте определяется следующими
причинами:
1) Образование химических связей между поверхностями клетки и
адсорбента (хемосорбция);
2) Ион - ионные взаимодействия, образование ионных пар и
триплетов, например, NH3+.. .~ —ООС— и —СОО—~... Са2+
... ~ —ООС—;
3) Электростатические (неионные) взаимодействия заряженных
поверхностей клеток и адсорбента;
4) Силы Ван-дер-Ваальса (взаимодействие диполь—диполь,
диполь—наведенный диполь, ион —диполь);
5) Влияние электролитов, гидратационных эффектов, капиллярных
свойств;
6) Флокуляция и коагуляция;
7) Гидрофобное взаимодействие;
При адсорбционной иммобилизации клеток, которая обусловлена
электростатическими силами, одновременно реализуется несколько типов
адгезионного взаимодействия, поэтому трудно выделить роль каждого из них по
отдельности. Тем не менее наибольшее влияние на связывание микроорганизма с
носителем оказывают ковалентные и ионные взаимодействия.
Адсорбенты для иммобилизации могут быть органическими или
неорганическими, природными, искусственными, синтетическими. Используют также
комбинированные адсорбенты, представляющие собой подложку из одного материала с
поверхностным слоем (пленкой) из другого. Поверхностный слой может быть привитым
или нанесенным, он может формироваться и из материала подложки после ее
физической или химической обработки (промывка, травление, обработка кислотой
или щелочью, карбонизация, термообработка, обработка электроразрядом и т.д.).
Носители
для адсорбционной иммобилизации
Природные неорганические
Глины (например, бентонит, каолинат, кордерит); кизельгур
(целит и другие диатомовые земли); песок; цеолиты; природные кремнеземы;
силикаты; карбонаты; фосфаты; угли; графит; туф; перлит; морская губка.
Природные органические (поммерные)
Хитин/хитозан; декстран (поперечно-сшитый); древесина (разные
сорта, щепа, стружка, опилки); багасса; хлопок; целлюлоза; лигнин; шерсть;
волосы; шелк; коллаген.
Неорганические искусственные
Кремнеземы; силикагели; стекла (эти материалы применяются в
виде гранул, волокон, ершей, пластин); графитированные материалы (сажа,
активированный уголь, ткани, волокна, углеродные материалы); кирпич; керамика
(гранулы, пластины, кольца и т.д.); нержавеющая сталь (пластины, диски,
волокна, шарики); медь (волокно); металлические сплавы; магнетит; оксиды и
гидроксиды Тi (IV), Zr (IV), Sn (IV), V (III),
Al(III), Fе(II, III).
Полилеры синтетические
DEAE-целлюлоза; ТЕАЕ-целлюлоза; ЕСТЕОБА-целлюлоза; DEHPAE-
целлюлоза; фосфоцеллюлоза (торговые марки ионообменников на основе целлюлозы -
Cellex фирмы Bio-Rad, Sephaoel (фирмы Pharmacia, Servaoel, фирмы Serva, Whatman
одноименной фирмы); ацетилцеллюлоза; целлофан; анионообменные смолы на основе
сополимеров стирола и дивинилбензола с пришитыми аминами (Amberlite марок IBA,
IRA, XAD, XE; Dowex марки 50-W-X, 1-Х, Bio-Rad марок AG-1, AG-2, AG-21);
DEAE-сефадекс; полиэтилен; полипропилен; политетрафторэтилен; сополимер
тетрафторэтилена и гексафторпропилена; полиэтилентерефталат; полипропилекоксид;
поливинилхлорид; поливиниловый спирт; сополимер винилового спирта и этилена;
эпоксидированные смолы; фенолформальдегидные смолы; полистирол; тефлон;
производные полиакриловых кислот; сополимеры 2-оксиэтил-метакрилата и
этилендиметакрилата (сфероны); найлон, капрон (полиамиды - продукты
гомополиконденсации аминокарбоновых кислот, например s-аминокапроновой кислоты
или ее лактама); полиуретаны (продукты взаимодействия изоционата с полиоксидо-
соединениями); поликарбонат; полиацетат; полиэфир; силикон.
Комбинированные (нанесенные, привитые)
Туф + желатина; целлюлоза + полиэтиленимин (ПЭИ); стекло +
ПЭИ; сталь + ПЭИ; сталь + полипропилен; сталь + сополимеры метакриловой
кислоты; полиэтилен + альбумин; полиэтилен + коллаген; полиэтилен н- лектин;
полистирол + альбумин; полиэтилен + сополимер акриламида и акриловой кислоты;
силикагель + слой липидов; сажа + слой липидов.
К достоинствам многих органических адсорбентов относятся
химическая стабильность, большие возможности изменения химических свойств их
поверхности и варьирования структуры пор, возможность придания частицам
адсорбента заданной геометрической формы - получения гранул правильной формы с
узким распределением по размерам, получения волокон, пленок, листов, труб и
т.д.
Неорганические адсорбенты обладают высокой биологической
стабильностью, доступны и дешевы, легко регенерируются.
Пористость и химические свойства природных неорганических
адсорбентов менять более трудно, в ряде случаев они достаточно хрупки.
Адсорбенты на основе кремнеземов (стекол, силикагелей, силохромов)
характеризуются повышенной растворимостью при щелочных значениях рН.
Возможность устранить ее заключается в модифицировании поверхности кремнеземов,
например, путем покрытия пленками оксидов металлов (циркония, алюминия, гафния,
титана), обработкой солями переходных металлов (титана, ванадия, олова, железа
и др.), нанесением полимерных пленок.
Перспективными адсорбентами являются металлы и их оксиды,
поскольку они дешевы, пористость их легко изменить, обладают отличными
гидродинамическими свойствами, налажены промышленные методы получения из них
макропористых порошков и гранул. То же самое относится и к пористой керамике,
причем еще одним преимуществом ее является возможность варьировать заряд
поверхности в зависимости от использования глинозема или кремнезема с добавками
различных металлов.
К достоинствам адсорбционной иммобилизации относится
исключительная простота методов ее проведения. По существу, иммобилизация
происходит при контакте водной суспензии микроорганизмов с адсорбентом
(исключение составляет иммобилизация с помощью электроадсорбции, методика
которой рассмотрена выше).
Способы иммобилизации разделяются на статические, с перемешиванием,
а также путем нанесения на колонке. Статический способ наиболее прост и
заключается в том, что адсорбент вносят в суспензию клеток и смесь инкубируют
некоторое время без перемешивания. Иммобилизация достигается за счет осаждения
клеток и последующей их адсорбции на частицах адсорбента. Недостатком способа
является необходимость длительного контакта адсорбента с суспензией клеток.
Способ с перемешиванием предусматривает непрерывное поддержание суспензии
клеток и частиц адсорбента в диспергированном состоянии, что обеспечивает более
быстрое завершение процесса адсорбции и более равномерное заполнение
поверхности адсорбента клетками. Способ нанесения в колонке заключается в
прокачивании (с рециклом) суспензии клеток через колонку, заполненную адсорбентом.
Если суспензию прокачивают снизу вверх, то скорость потока устанавливается
такой, чтобы поддерживать частицы адсорбента во взвешенном состоянии при
условии, что это позволяет масса и размер частиц. В случае использования
закрепленных форм матрицы адсорбента, например, зафиксированных в неподвижном
состоянии волокон, ершей, пленки, пакетов, труб, колец, сеток и т.д., а также
при подаче потока суспензии клеток в колонку сверху, реализация "кипящего
слоя" адсорбента не нужна. Способ нанесения клеток в колонке имеет то
преимущество, что позволяет проводить нанесение и последующий процесс с
использованием иммобилизованных клеток в одной и той же колонке.
Модификация указанных методов заключается в том, что
иммобилизацию проводят в гравитационном поле, когда статический способ
реализуют в центрифуге, существенно ускоряя таким образом осаждение суспензии
клеток на адсорбенте. Осаждение клеток на поверхности адсорбента осуществляют
иногда при вакуумировании системы или при охлаждении, например до 4 °С.
Кроме того, если адсорбент имеет макрогеометрическую форму
(палочки, пластинки, ерши и т.д.), его погружают на определенное время в
концентрированную (густую) суспензию клеток, после чего адсорбент вынимают,
промывают и помещают в реактор, в котором в дальнейшем предполагается
использование иммобилизованного биокатализатора.
Существует
ряд требований к производственным микробиологическим штаммам:
1.
распространенность
в окружающей среде,
2.
простота методики
выделения и культивирования,
3.
возможность
иммобилизации несколькими методами,
4.
удобные для
лабораторной работы условия роста,
5.
простота методики
определения жизнеспособности,
6.
возможность
простого определения количества клеток в иммобилизованном состоянии.
7.
рост на дешевых
субстратах,
Также бактерии должны:
1.
обладать высокой
скоростью роста или давать высокий выход продукта за короткое время;
2.
проявлять
синтетическую активность, направленную в сторону получения желаемого продукта,
образование побочных продуктов должно быть низким;
3.
образовывать
максимально высокую концентрацию целевого продукта, чтобы затраты на его
выделение были экономически оправданы;
4.
быть устойчивыми
к различным типам инфекций;
5.
не быть
токсичными для людей и окружающей природы.
Исходя из этих требований, для очистки сточных вод из
активного ила очистных сооружений г. Перми были выделены микроорганизмы,
обладающие наибольшей скоростью роста на среде с фенолом.
Фенол и его производные
(особенно галоген-производные, диоксины) являются крайне токсичными
соединениями. Их ПДК составляют тысячные доли миллиграмма на литр (для фенола –
0,001мг/л). Бактерии разлагают фенол в соответствии со следующей схемой:
Фенол очень медленно разлагается в природных условиях, так
как обладает антибактериальными свойствами, поэтому для селекции
микроорганизмов применяли среды с большим содержанием фенола. При концентрации
фенола 0,1 г/л выживают и размножаются только те микроорганизмы, которые
способны к эффективной утилизации фенола и использовании его в качестве
единственного источника углерода и энергии.
Выделение и культивирование микроорганизмов проводили на
минеральной среде Е, состав которой представлен в таблице №1, с добавлением
фенола.
Для выделения бактерий был произведен отбор пробы ила из
аэротенка очистных сооружений г. Перми. Затем 10 мл пробы ила инокулировали в
100 мл среды Е с добавлением фенола до концентрации 0,1 г/л и поставили колбу
со средой на качалку на 5дней.
Таблица 1. Состав
среды Е.
|
Формула вещества и концентрация раствора
|
Объем раствора, мл
|
|
8,7 г/л KH2PO4
|
994
|
|
5М NH4Cl
|
1
|
|
0,1М Na2SO4
|
1
|
|
62мМ MgCl2
|
1
|
|
1 мМ CaCl2
|
1
|
|
0,005мМ (NH4)6MoO24·4H2O
|
1
|
|
Раствор микроэлементов
|
1
|
|
pH
|
7.0
|
|
Состав раствора микроэлементов
|
В 10% -ной HCl, (г/л)
|
|
ZnO
|
0.41
|
|
MnCl2·4H2O
|
2.00
|
|
CoCl2·6H2O
|
0.48
|
|
FeCl2·6H2O
|
5.4
|
|
CuCl2·2H2O
|
0.17
|
|
H3BO3
|
0.06
|
После появления бактериальной мути 1 мл полученной
накопительной культуры был перенесен с помощью пипетки в стерильную чашку
Петри, на 2/3 заполненную гелем агар-агара (среда Е +0,1г/л фенола +2%
агар-агара).
Смесь была распределена по поверхности геля шпателем
Дригальского. Остатки жидкости на шпателе были последовательно распределены по
поверхности геля в шести аналогичных чашках Петри. Далее чашки
пронумеровывались и термостатировались в течение 5 дней при температуре 370С.
Для дальнейших экспериментов были выбраны наиболее крупные бактериальные
колонии, то есть обладающие наибольшей скоростью роста на среде с фенолом.
Затем, при помощи
пипетки Пастера выбранные бактерии были пересеяны в стерильные пробирки со
скошенным агар-агаром и термостатированы при Т=370С. Через 5 дней
методом смыва чистые культуры из пробирок были пересеяны в колбу с жидкой
средой Е (на 100 мл среды 10 мл инокулята), содержащей 0,01г/л фенола.
Колба со
средой ставится на лабораторную качалку на 3-5 дней. Полученную накопительную
культуру использовали в дальнейшем для иммобилизации.
Сначала нами была проведена
работа по иммобилизации клеток микроорганизмов на слоистых двойных гидроксидах.
В качестве исходной матрицы для иммобилизации был выбран двойной гидроксид
железа-магния, структура которого показана на рис. 1:
Рис. 1. Структура
слоистого двойного гидроксида состава [Mg4Fe(OH)8]Cl3·2H2O.
Материалы на основе
двойного слоистого гидроксида железа-магния были выбраны в качестве носителя
потому, что при изменении их состава и условий получения можно добиться
изменения свойств материала в широких пределах.
В частности, можно
увеличивать межслоевые пространства при замещении одних анионов другими, более
крупными. Кроме того, меняя степень окисления железа можно влиять на поверхностный
заряд матрицы носителя в процессе ее формирования. Таким образом, отрицательно
заряженные клетки притягиваются к положительно заряженной матрице, увеличивая
степень связывания клеток с носителем.
Существуют
следующие способы иммобилизации микроорганизмов на матрице двойных гидроксидов Mg-Fe:
1)
Соосаждением
гидроксидов с микроорганизмами,
2)
Осаждением
гидроксидов в присутствии крупных органических анионов с последующим их
замещением в структуре гидроксидов микробными клетками,
3)
Интеркаляцией клеток
в структуру гидроксидов на стадии окисления ионов в составе гидроксидов.
Эксперимент был направлен на выбор способа интеркаляции,
определение условий ее осуществления и оценку полученных результатов.
Первым был испытан метод соосаждения двойного гидроксида Mg-Fe с микроорганизмами. Установлено, что в ходе осаждения
гидроксида Fe(II)-Mg возможно
повышение рН среды до 10,5, что может снижать жизнеспособность большинства
видов микроорганизмов. Фенол – разлагающие микроорганизмы живут при рН от 5 до
8 с оптимумом при рН=5,5, поэтому данный способ иммобилизации не подходит.
Для реализации метода иммобилизации микроорганизмов,
основанного на замещении анионов в составе двойного гидроксида, были предложены
следующие органические анионы: оксалат-ион, ацетат-ион, бензоат-ион,
терефталат-ион и стеарат-ион. Однако последние три иона обладают антимикробными
свойствами, поэтому их применение нежелательно. Органические ионы с длинной
углеродной цепью (стеарат-ион) слишком прочно связываются с матрицей носителя,
поэтому их применение также ограничено. Соответственно, для практической
реализации метода были рекомендованы оксалат-ион и ацетат-ион.
Известно, что межслоевые пространства способны изменять свой
размер при замещении в их объеме одних ионов другими, более крупными.
Возможность расширения межслоевых пространств за счет интеркаляции ионов на
примере двойного гидроксида [ZnII(1-x)AlIIIx(OH)2]Clx показаны на рис. 2 (по данным [12]).
Рис. 2. Изменение межслоевых пространств двойного гидроксида
в ходе обмена анионов.
Подобный метод увеличения
межслоевого расстояния применены для иммобилизации микроорганизмов. Процесс
иммобилизации можно представить следующими уравнениями:
где
-отрицательно заряженные клетки Bacillus sp.
Образцы приготовленного таким путем материала были испытаны в
процессе разложения фенола. Оценку эффективности работы биокатализатора
осуществляли по изменению концентрации фенола в среде. Все измерения
проводились при одинаковой степени аэрации среды и температуре. Они показали
низкую активность (рис. 3).
Следующий метод иммобилизации основан на том, что
при окислении FeII®FeIII в составе гидроксидных
слоев двойного гидроксида Mg-Fe
в матрице материала накапливается избыточный положительный заряд. При
иммобилизации микроорганизмов избыточный положительный заряд матрицы
компенсируется за счет присоединения отрицательно заряженных микробных клеток
:
Полученные таким путем образцы материала обладают
повышенной активностью (рис. 3), которая примерно в 1,5 раза больше, чем у
свободных клеток активного ила (рис. 4). Преимущество этого метода в том, что
он позволяет проводить закрепление бактерий на гидроксиде уже после его отмывки
от избыточной щелочи, избегая влияния высоких рН на жизнеспособность клеток.
Рис. 4.
Интенсивность разложения фенола свободным активным илом и иммобилизованным
сорбентом.
Таким образом, по результатам проведенных экспериментов
биокатализа был выбран метод иммобилизации клеток двойными гидроксидами Mg-Fe, основанный на процессе окисления FeII®FeIII в составе гидроксидов, как наиболее
перспективный. Полученные образцы иммобилизованного сорбента обладают довольно
высокой активностью в процессе разложения фенола.
Перспективным
направлением интенсификации процессов биологической очистки сточных вод,
основанным на адсорбционной иммобилизации, является биосорбционный метод,
осуществляемый путем добавления порошкообразного или гранулированного
активированного угля в зону аэрации. Добавленный материал в данном случае
выполняет двойную функцию: во первых, является носителем иммобилизованных
микроорганизмов; во вторых, благодаря его большой сорбционной емкости,
обеспечивается быстрая адсорбция токсичного субстрата.
Поскольку фенол является трудноокисляемым соединением, был
предложен именно биосорбционный метод очистки, позволяющий снизить токсическое
действие фенола на микроорганизмы и повысить скорость разложения
нефтепродуктов.
Далее была проведена
работа по использованию биосорбционного метода для иммобилизации фенол –
разлагающих микроорганизмов.
Для иммобилизации фенол
– разлагающих микроорганизмов использовали предварительно отмытый гранулированный
активированный уголь марки БАУ-4. Этот материал, в отличие от двойных
гидроксидов, обладает повышенной емкостью как по отношению к клеткам, так и к
фенолу и нефтепродуктам. Иммобилизацию проводили адсорбционным методом,
прокачивая концентрированную суспензию клеток через колонку с углем в течение
4,5 часов, поддерживая режим кипящего слоя. В данном случае, закрепление
микроорганизмов осуществляется только за счет адсорбционных сил, без каких-либо
дополнительных механизмов связывания.
2.2 Разработка лабораторной установки
Поскольку размеры частиц
активированного угля не превышают 5 мм, а размеры гранул слоистых двойных
гидроксидов лежат в пределах 0,1-1 мм, для реализации процесса был предложен
аппарат с псевдоожиженным слоем.
Применение взвешенного
(псевдоожиженного) слоя для биологической очистки сточных вод значительно
меняет традиционную технологию. Установка с псевдоожиженным слоем песчаной
загрузки «Окситрон», предназначенная для биологической очистки сточных вод с
применением технического кислорода, разработана совместно фирмами «Эколотрон» и
«Дорр-Оливер» (США) [4]. В настоящее время этот процесс получает широкое
распространение в передовых зарубежных странах.
В установке со
взвешенным слоем объединены преимущества аэротенков и биофильтров.
Технологическая схема включает биореактор, в котором очищаемая сточная жидкость
проходит снизу вверх со скоростью, достаточной для взвешивания загрузки,
находящейся в реакторе. Как и в биофильтре, популяция микроорганизмов покрывает
зерна загрузки. Частицы носителя обеспечивают значительную площадь поверхности
для роста микроорганизмов активного ила. Процесс стабилен при залповых
нагрузках и менее подвержен токсическому влиянию загрязнений сточных вод.
Концентрация биомассы в
реакторе может составлять от 12 до 40 г/л, эффективность использования
подаваемого кислорода составляет до 90%. Процесс не требует разделения иловой
смеси, поскольку выходящая из загрузки жидкость содержит незначительное
количество взвешенных веществ.
Физико-химические
методы, такие как коагуляция, окисление озоном, сорбция на активированном угле,
позволяют значительно снизить остаточное содержание органических веществ,
однако эти методы требуют дорогостоящих реагентов и оборудования, а термическая
регенерация активированных углей сложна и связана со значительными потерями
сорбента, поэтому немалый интерес представляет возможность непрерывной
регенерации активированного угля в процессе очистки биологическим методом.
Результаты исследований,
выполненных во ВНИИ ВОДГЕО [4] на респирометре, показали, что присутствие
активированного угля в системе с активным илом не приводит к увеличению
скорости потребления кислорода. В то же время по полученным данным можно
сделать предположение о наличии биологической регенерации активированного угля
в присутствии микроорганизмов активного ила. Использование активированного угля
(порошкообразного ила гранулированного) в системах с активным илом, как
правило, способствует более стабильной работе сооружений биологической очистки
и обеспечивает некоторое увеличение глубины очистки как по БПК, так и по ХПК.
При этом окислительная мощность сооружений возрастает.
Существенное снижение
концентрации органических загрязнений, СПАВ и цветности воды происходит в
результате сорбции на уголь и биохимического окисления сорбированных веществ.
Эффективность снижения ХПК составляет 40-70%, БПК — 85-95%, СПАВ — 95-100%,
цветности —30-40%, что существенно превосходит соответствующие показатели
аэротенка.
Опыт использования
лабораторной установки в течение длительного времени подтвердил возможность
биологической регенерации активированного угля в процессе очистки. Стабильная
непрерывная работа установки без дополнительного введения активированного угля
дает возможность предполагать, что система находилась в динамическом равновесии
и в ней наблюдалась непрерывная регенерация активированного угля
микроорганизмами активного ила. Возможность непрерывной биологической
регенерации активированного угля непосредственно в биосорбере исключает
необходимость его периодической замены или пополнения.
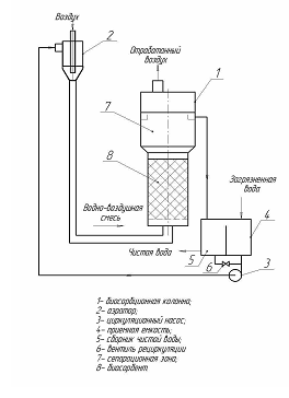
На рис. 5 представлена
конструкция лабораторной установки (биосорбера) для очистки фенол-содержащих
сточных вод.
Рис. 5. Лабораторная установка для очистки сточных вод от
фенола.
Лабораторный биосорбер
представляет собой полипропиленовую колонну диаметром 50 мм и высотой 200 мм,
заполненную псевдоожиженным слоем сорбирующей загрузки (активированным углем
или слоистым двойным гидроксидом железа-магния). Загрузочный материал
насыпается на полиэтиленовую сетку, расположенную у дна аппарата и исключающую
попадание частиц загрузки во входной трубопровод.
Для насыщения воды
кислородом рядом с биосорбером предусмотрена аэрационная колонна диаметром 10
мм с аэратором типа «кольцевое сопло». Аэрационная колонна сообщается с
биосорбером трубопроводом Dу=10 мм. Для
предотвращения выноса частиц загрузки из аппарата в верхней части биосорбера
предусмотрена сепарационная зона диаметром 100 мм и переливом высотой 20 мм. В
крышке аппарата сделано отверстие для выхода отработанного воздуха.
Ниже уровня
биосорбционной колонны располагаются приемная емкость и сборник чистой воды. В
приемной емкости находится погружной центробежный насос, подающий воду в
аэратор. Сборник и приемная емкость находятся в одном корпусе, разделенном
перегородкой, не доходящей до верхнего края на 20 мм. Кроме того, в нижней
части они сообщаются трубопроводом с краном рециркуляции. Это позволяет
исключить неравномерность подачи и отвода жидкости, переполнение любой из
емкостей, а также обеспечивает стабильность кипящего слоя и заданную кратность
рециркуляции.
Установка работает
следующим образом. Сточная вода подается в приемную емкость. Далее насосом она
подается в аэрационную колонну, после чего поступает под псевдоожиженный слой
сорбента. При контакте сточных вод с насадкой происходит очистка от фенола и
других органических загрязнений в результате их адсорбции загрузочным
материалом. На поверхности последнего образуются микрозоны с повышенной
концентрацией органических веществ. При достаточной концентрации кислорода
создаются благоприятные условия для развития микроорганизмов, осуществляющих
биоокисление адсорбированных загрязнений, т. е. биорегенерацию сорбента. Избыточная
масса микроорганизмов в виде взвеси потоком воды выносится из псевдоожиженного
слоя в сепарационную зону и задерживается в ней, а очищенная вода собирается в
лотках перелива и отводится из установки.
Данная установка
позволяет проводить не только процесс очистки, но и иммобилизацию
микроорганизмов в одном аппарате, без перемещения загрузки.
2.3 Отработка режимов иммобилизации и
очистки
Для дальнейших
исследований в качестве носителя для иммобилизации микроорганизмов был выбран
активированный уголь, поскольку иммобилизованный сорбент на его основе обладает
набольшей эффективностью по разложению фенола.
Поскольку лабораторный
биосорбер (рис. 5) позволяет проводить иммобилизацию микроорганизмов и
дальнейшее использование полученного сорбента в одном аппарате, то процесс
иммобилизации клеток проводился в режиме кипящего слоя путем прокачивания
концентрированной суспензии клеток микроорганизмов через колонну с носителем.
Далее был проведен
эксперимент по определению оптимального времени иммобилизации. Для этого
производился отбор проб жидкости из сборника и определение ее оптической
плотности на фотоэлектрокалориметре ФЭК-3. Поскольку содержание микроорганизмов
в жидкости пропорционально ее оптической плотности (при условии, что для
культивирования используются прозрачные среды), то для определения количества
иммобилизованных клеток использовали наиболее простой турбидиметрический метод.
Результаты эксперимента представлены на рис.6.
Как видно из графика,
количество клеток в среде уменьшается, а количество иммобилизованных клеток,
соответственно, увеличивается при проведении процесса до 4,5-5 часов. То есть
за это время иммобилизация проходит полностью, и проведение процесса более
длительное время нецелесообразно. Увеличение оптической плотности после 5 часов
работы установки, по-видимому, связано с завершением адаптации микроорганизмов
и началом их интенсивного размножения.
Отработка процесса
очистки сточных вод с использованием биосорбента сводится к определению
удельной скорости окисления загрязняющих веществ, так как этот технологический
параметр необходим для нахождения количества биосорбента, необходимого для проведения
очистки конкретных стоков, а, следовательно, и объема аппарата.
Эксперимент проводился
следующим образом. Навеска активированного угля m=1.953
г. помещалась в биосорбционную колонну лабораторной установки. Далее проводили
иммобилизацию клеток микроорганизмов путем прокачивания концентрированной
суспензии клеток через установку в течении 5 часов. Отработанную культуральную
жидкость сливали и колонну выдерживали 2 часа.
Затем установка
заполнялась модельным стоком (водопроводная вода с добавлением фенола в
концентрации 0,056 мг/л и отработанного минерального масла в концентрации 3
мг/л). Рабочий объем жидкости в установке – 2000 мл. Далее один раз в сутки
производился отбор проб объемом 1 мл и пробы анализировались на содержание
фенола и нефтепродуктов. Концентрацию фенола определяли по фотометрически с
использованием реактива Фолина-Чокольтеу. Содержание нефтепродуктов определяли
гравиметрически, путем экстракции CCl4.
Результаты экспериментов
показали, что удельная скорость окисления фенола составляет 0,2 мг/(л*сут), а
нефтепродуктов –4.9 мг/(л*сут).
Удельные массовые
скорости окисления будут равны:
Эти параметры были в
дальнейшем использованы для проектирования промышленного аппарата для очистки
сточных вод.
В ходе эксплуатации
лабораторной установки (см. раздел 2.2) было выявлено, что применяемая
технологическая схема может быть применена и при проектировании промышленной
установки очистки сточных вод.
Однако следует отметить,
что для крупных промышленных аппаратов существенное влияние оказывают такие
факторы, как структура потока, процессы массо- и теплообмена. Поэтому при
проектировании необходимо учитывать все значимые факторы.
Ввиду низкой
концентрации загрязняющих веществ в поступающей сточной воде прирост избыточной
биомассы будет незначителен. Практически все новые клетки будут адсорбироваться
на носителе, постепенно сменяя старые, отмершие клетки, которые десорбируются и
уносятся потоком жидкости. Кроме того, температура поступающей сточной воды
относительно стабильна, а из-за небольших концентраций загрязнений выделение
физиологического тепла будет незначительным, поэтому процессы теплообмена при
проектировании не учитываем.
Существенное влияние на
процесс окисления фенола и нефтепродуктов оказывает концентрация растворенного
кислорода. Поскольку при нормальных условиях эта величина не превышает 8-10
мг/л, то процесс растворения кислорода является лимитирующим, при отсутствии
других замедляющих факторов.
Наиболее эффективные и
экономичные эжекционные и струйные аэраторы, применяемые в аппаратах технологии
очистки сточных вод не позволяют обеспечить захват необходимого количества
воздуха, поэтому появляется необходимость установки нескольких аэраторов.
По этой причине при
разработке технологической схемы было предложено использование не одного, а
двух биосорбционных колонн, на каждой из которых будет установлен аэратор. Это
позволит не только подать необходимое количество кислорода на очистку, но и
снизит общее гидравлическое сопротивление установки, что существенно снизит
энергетические затраты на перекачивание жидкости. Кроме того, использование
двухступенчатой схемы очистки способствует пространственной сукцессии
микроорганизмов, что значительно увеличивает степень деструкции различных
органических соединений.
В биосорбере I ступени происходит наиболее
активная утилизация легкодоступных для микроорганизмов веществ, биосорбер II ступени выполняет функции доочистки и разложения
трудноокисляемых соединений.
Непрерывная
биологическая регенерация активированного угля непосредственно в сооружении
исключает необходимость его периодической замены или пополнения.
Ниже уровня биосорбера II ступени располагаются усреднитель и сборник чистой воды.
Из усреднителя сточная вода непрерывно подается центробежным насосом в аэратор
колонны I ступени, что обеспечивает стабильность
псевдоожиженного слоя в обоих колоннах. Сборник и усреднитель находятся в одном
корпусе, разделенном перегородкой, не доходящей до верхнего края. Эти емкости
сообщаются между собой в нижней части трубопроводом с вентилем рециркуляции.
Это позволяет исключить опорожнение усреднителя и переполнение сборника. Кроме
того, при аварийном сбросе большого количества сточной воды, часть жидкости из
усреднителя через перегородку будет перетекать в сборник и, таким образом, исключается
переполнение усреднителя. Вентиль рециркуляции позволяет поддерживать
постоянную степень рециркуляции при установившемся режиме на низких расходах
сточной воды.
Установка работает
следующим образом. Сточная вода подается в усреднитель. Далее насосом она
подается в напорный аэратор I ступени типа «кольцевое
сопло», после чего газожидкостная смесь поступает в нижнюю часть первого
биосорбера. При контакте сточных вод с иммобилизованным сорбентом происходит
очистка от фенола и других органических загрязнений. Далее жидкость отделяется
от частиц сорбента и отработанного воздуха в сепарационном пространстве и
самотеком поступает в аэратор II ступени типа шахтного
водосброса. Пройдя через слой загрузки второй ступени, вода окончательно
очищается и, отделившись от воздуха и частиц сорбента в сепарационном
пространстве, самотеком поступает в сборник чистой воды. Из сборника очищенная
вода может сбрасываться в природный водоем.
Установка может быть
применена для очистки сточных вод с последующим их использованием в системах
производственного водоснабжения, а также в системах локальной очистки сточных
вод с целью создания замкнутых систем водоснабжения.
Исходные данные:
Сточная вода
м3/сут
м3/с
Загрязняющие вещества:
фенол
НП (нефтепродукты)
ПДК (предельно допустимые концентрации), для водоемов рыбо-хозяйственного
назначения:
Фенол – 0,001 мг/л
Нефтепродукты – 0,05 мг/л
Носитель:
Активированный уголь марки БАУ-4 плотностью 
Насыпная плотность: r=650
Расчет:
1.
Найдем расход
воздуха
Так как концентрации загрязняющих веществ очень низки,
принимаем La =300, La – БПКполн поступающих сточных вод;
Lt=3,
Lt – БПКполн очищенных сточных вод.
Удельное количество воздуха, необходимое для окисления
органических веществ рассчитываем по формуле:
При полной очистке (БПКполн <10) Z=1.1;
M=0.5 – коэффициент, учитывающий повышение степени
использования кислорода;
K=7,88 – коэффициент, зависящий от глубины погружения;
подбирается по высоте аппарата, K=7,88
при h=15.8 м – (см. главу 5);
tср= 16°C – средняя температура поступающих сточных вод;
;n=0.92
–коэффициент, учитывающий температуру сточной воды;

-средняя концентрация кислорода в биосорбере;
СТ=9,82
-растворимость в воде
кислорода воздуха при данной температуре;
Расчетная концентрация кислорода в биосорбере будет равна:
Cp =17.352
Тогда удельный расход воздуха для окисления органических
веществ равен:
q возд =2,82 м3/м3 сточной воды;
Расход воздуха на процесс биологической очистки равен:
Qвозд=0,2286 м3/с.
Qсут= Qвозд·24·3600=19751,04 м3/с.
2.
Поскольку данные
о наличии в поступающей сточной воде других загрязняющих веществ, а именно
соединений азота и фосфора, отсутствуют, считаем, что их содержание находится
на уровне, достаточном для развития микроорганизмов.
3.
Материальный
баланс жидкой фазы.
Процесс полного окисления загрязняющих веществ
происходит в соответствии с уравнениями:
Фенол: C6H5OH + 7O2à6CO2 + 3H2O
Нефтепродукты (в пересчете на С15): C15H32 + 23O2à15CO2 + 16H2O
Считаем, что количество образовавшейся биомассы
незначительно, и весь субстрат целиком превращается в продукт.
Массовый расход поступающих загрязнений:
Mф.п=Gсут·Сф=7000·0,056·10-3=0,392
кг/сут
MНП.п=Gсут·СНП=7000·3·10-3=21
кг/сут
Массовый расход сбрасываемых загрязнений:
Mф.с=Gсут·ПДКф=7000·0,001·10-3=0,007
кг/сут
MНП.с=Gсут·ПДКНП=7000·0,05·10-3=0,35
кг/сут
Массовый расход разложившихся загрязнений:
Mф= Mф.п - Mф.с =0,392-0,007=0,385 кг/сут
MНП= MНП.п - MНП.с =21-0,35=20,65 кг/сут
Тогда по уравнениям реакций получаем следующие
массовые расходы веществ:
Массовый расход выделяющейся при окислении воды:
МH2O.р= МH2O.ф + МH2O.НП=0,221+28,053=28,274 кг/сут.
Массовый расход очищенной воды:
МH2O.оч= МH2O.п+ МH2O.р =6999978,608+28,274=7000006,882
кг/сут.
4.
Материальный
баланс газовой фазы.
На аэрацию подается воздух следующего состава (по массе):
О2 – 23,3%; N2 – 76,7%. Массовый
расход компонентов воздуха:
Q м.сут = Qсут ·ρвозд=19751,04·1,226=24214,78
кг/сут
MО2.п= Q м.сут ·СО2=24214,78 ·0,233=5642 кг
/сут
MN2.п= Qсут ·СN2=24214,78 ·0,767=18572,78 кг/сут
В отработанном воздухе будут следующие компоненты: СО2,
О2,N2.
Массовые расходы омпонентов:
MCO2= MCO2.ф + MCO2.НП=1,08+64,23=65,31кг/сут
MO2= MО2.п -MO.ф - MO.НП=5642-0,917-71,69=5569,39 кг/сут
MN2= 18572,73 кг/сут., азот не участвует в реакциях.
5.
Составляем по
расчетным данным таблицу материального баланса:
Таблица 2. Материальный баланс очистки сточной воды.
|
Приход
|
Расход
|
|
Содержание, %
|
Массовый расход, кг/сут
|
|
Содержание, %
|
Массовый расход, кг/сут
|
|
1. Сточная вода:
|
|
|
1. Очищенная вода:
|
|
|
|
Фенол
|
5,6·10-6
|
0,392
|
Фенол
|
1·10-7
|
0,07
|
|
Нефтепродукты
|
3·10-4
|
21
|
Нефтепродукты
|
5·10-6
|
0,35
|
|
Вода
|
99,9997
|
6999978,608
|
Вода
|
99,999995
|
7000006,88
|
|
Итого:
|
100
|
7·106
|
Итого:
|
100
|
7000007,3
|
|
2. Воздух:
|
|
|
2. Отработанный воздух:
|
|
|
|
О2
|
23,3
|
5642
|
О2
|
|
5569,39
|
|
N2
|
76,7
|
18572,78
|
N2
|
|
18572,78
|
|
Итого:
|
100
|
24214,78
|
СО2
|
|
65,31
|
|
|
|
Итого:
|
100
|
24207,48
|
|
Итого:
|
|
7024214,78
|
|
|
7024214,78
|
Исходные данные:
Сточная вода
м3/сут
м3/с
Загрязняющие вещества:
фенол
НП (нефтепродукты)
Носитель:
Насыпная плотность: r=650
-
средний диаметр частиц носителя
- минимальный диаметр частиц носителя
Удельные скорости окисления загрязняющих веществ:
-
по фенолу: 
-
по
нефтепродуктам: 
Расход воздуха на процесс биологической очистки:
q возд =2,82 м3/м3 сточной воды;Qвозд=0.2286 м3/с.
Другие данные:
К ПС=2 – рекомендуемый коэффициент псевдоожижения [4]
5.1 Технологический расчет
1.
Найдем плотность
сточной воды:
Объемные концентрации загрязняющих веществ:




2.
Плотность
поступающей смеси:



3.
Вязкость смеси:

4.
Необходимое
количество биосорбена рассчитывается по формуле:


Объем насадки:
м3
5.
Рассчитаем
диаметр насадки:
- средний диаметр частиц носителя
Критерий Архимеда:
Критерий Рейнольдса:
Критическая скорость:
м/с
Принимаем коэффициент псевдоожижения
по литературным
данным [4] более высокий коэффициент экономически невыгоден, К=1,5...2
Тогда реальная скорость составит:
м/с
Площадь сечения
6.
Диаметр
аэрационной камеры.
Скорость газа принимаем равной 15 м/с: 
- напорный аэратор захватывает 1,5-2 объема воздуха на каждый
объем жидкости. 
-объемный расход газа;


Принимаем 
По литературным данным [4] объем газожидкостной смеси
увеличивается в 1,5 раза по сравнению с объемом поступающей жидкости.





Принимаем
С учетом зоны аэрации (наружный диаметр аэрационной
трубы равен 140):
S=0.754 м
d=0.988 м
Принимаем по нормальному ряду d=1 м.
Реальная скорость будет равна:

м/c
Тогда коэффициент псевдоожижения равен:
7.
Найдем скорость
витания наименьших частиц
- минимальный диаметр частиц носителя




Площадь сечения
С учетом зоны аэрации:


-минимальный диаметр зоны сепарации
Принимаем
м
8.
Высота слоя
неподвижной насадки


9.
Высота
взвешенного слоя
Порозность слоя


Порозность неподвижного слоя

Принимаем высоту слоя
10.
Гидравлическое
сопротивление слоя
11.


По литературным данным [1] высоту сепарационного
пространства принимают не менее 1,5 м.
Принимаем
Принимаем высоту аппарата
Разбиваем аппарат на 2 колонны, принимаем первую колонну
высотой 8 м.
Так как при расчете удельного расхода воздуха, требуемого для
окисления требуется знать высоту аппарата, которую можно узнать, только после проведения
всех необходимых расчетов, то вначале принимают некоторую высоту аппарата, а
затем, получив реальное значение, корректируют начальное значение высоты. Таким
образом, точное значение высоты аппарата получается лишь методом подбора и
многократного проведения весьма трудоемких рассчетов
С целью сократить время расчета все дальнейшие вычисления
производились в программе MathCad Professional с использованием циклических процедур. Таким образом,
составленная программа сама выполняет подстановку значений высоты аппарата и
находит ее точную величину.
Далее приведен текст программы для расчета параметров
биосорберов I
и II ступеней. Программа выполнена на
основе формул представленных выше, и с использованием тех же стандартных
обозначений величин.
Программа.
Расчет биосорбера I ступени.



С учетом зоны аэрации (диаметр аэрационной трубы равен 140):







hсеп=2 м - высота сепарационного пространства.
Принимаем высоту аппарата
h=hc+hсеп=8+2=10 м.
Во второй колонне будет сорбента:

Жидкость во вторую аэрационную колонну поступает самотеком.
Используется аэратор типа шахтного водосброса;
- удельный расход воздуха в м3/м3
жидкости, рекомендуемый для данного типа аэраторов [4]. При этом объем
газожидкостной смеси составляет 1,0-1,2 объема жидкости (принимаем 1,1).

м3/с



Принимаем 
С учетом зоны аэрации (наружный диаметр аэрационной трубы
равен 530):

м2










- высота сепарационного пространства.
Принимаем высоту аппарата


Гидравлическое сопротивление насадки в аппаратах:
Диаметр газового трубопровода во 2 аппарате:
мм.
Принимаем dу=80 мм.
Расчет толщины обечайки
м - внутренний диаметр обечайки;
(MПа) - давление в аппарате;
В аппарате находится коррозионная среда (водно-воздушная
смесь), и хотя содержание органических примесей невелико, микроорганизмы,
развивающиеся на насадке, увеличивают скорость коррозии металла. Из условия
коррозионной стойкости [3] выбираем материал обечайки (днища, крыши) - сталь
Х18Н10Т co скоростью проникновения коррозии
МН/м2 - допускаемое напряжение для стали марки
Х18Н10Т при Т=20°C;
Срок эксплуатации аппарата:
Прибавка к расчетной толщине стенки аппарата
определяется по формуле:
Поправка С находится в пределах допустимых величин
Коэффициент прочности сварного продольного шва:
Выбираем двусторонний стыковой шов при автоматической сварке


Принимаем по нормальному ряду
Границей применимости формулы является условие:
Условие выполняется:
Допускаемое избыточное давление в обечайке можно определить
из формулы:
Расчет толщины днища:
Для аппаратов диаметром 273 – 3000 мм, работающих под
давлением, рекомендуется применять конические днища с углами при вершине 60°
(ГОСТ 12619-78). Днища могут быть изготовлены с толщиной стенки от 4 до 30 мм.
Толщину стенки конического днища
определяем вначале по напряжениям изгиба в тороидальном переходе по формуле:
,
где Р - давление на стенки днища, МПа.
Для стандартных конических днищ с α=60º Y=1.4
Коэффициент прочности кольцевого шва
принимается равным
0.8 для стыкового кольцевого шва, свариваемого с одной стороны.
м
Принимаем
мм.
Толщина стенки конической части днища
определяется по формуле:
м,
где ДР - расчетный диаметр
конического днища,
;
.
Для окончательного исполнения принимаем
S=6 мм.
Расчет толщины крышки:
Выбираем стандартную эллиптическую крышку.
Толщина крышки равна (м):
Принимаем по нормальному ряду

Требуемое условие выполняется:
Конструкция опоры была выбрана цилиндрической, т.к. этот тип конструкции опоры
является стандартной для колонных аппаратов.
Определяем максимальный вес аппарата в условиях
гидравлического испытания (аппарат заполнен водой):
где GАП
– вес аппарата,
где тОБ –масса обечайки, кг,
тКР - масса крышки ( при S2=4 мм и D=1000
мм тКР=46,2 кг);
тДН – масса эллиптического днища( при S3=4 мм и D=1000
мм тДН=46,47кг);
тДОП – масса дополнительных деталей (по
рекомендации принимаем как 5% от массы обечайки, тДОП=49,3 кг);
GВ – вес воды в аппарате.
Максимальный вес
аппарата:
Выбираем стандартную опору высотой 2м и диаметром 1,0 м.
Опора крепится к бетонному основанию болтами M24 в количестве 36 штук Толщина стенки опоры 6 мм.
Расчет насоса
Подбираем насос для перекачивания воды при температуре 20°C из
открытой емкости в аппарат, работающий под атмосферным давлением.
Расход воды 0.081 м3/с. Геометрическая высота подъема воды
12,5 м. Длина трубопровода на линии всасывания 10 м, на линии нагнетания 15 м.
На линии нагнетания имеются 4 отвода под углом 90 градусов с радиусом поворота,
равным 6 диаметрам трубы, и 2 нормальных вентиля. На всасывающем участке
трубопровода установлено 2 прямоточных вентиля, имеется 4 отвода под углом 90
градусов с радиусом поворота, равным 6 диаметрам трубы.
а) Выбор трубопровода.
Для всасывающего и нагнетательного трубопровода примем
одинаковую скорость течения воды, равную 2 м/с.
Тогда диаметр входного трубопровода (условный проход фланцев)
в аэратор для воды равен:

(м)
Принимаем
м.
Примем, что трубопровод стальной, коррозия незначительна.
б). Определение потерь на трение и местные сопротивления.
Находим критерий Рейнольдса:



Т.е. режим турбулентный. Абсолютную шероховатость
трубопровода принимаем:
(м)

Далее получим:
Таким образом в трубопроводе имеет место смешанное трение, и
расчет коэффициента трения λ следует проводить по формуле:

Определим сумму коэффициентов местных сопротивлений отдельно
для всасывающей и нагнетательной линий.
Для всасывающей линии:
-
Вход в трубу (принимаем
с острыми краями):
-
Прямоточные
вентили: для d=250 м ε=0.32
-
Отводы:
коэффициент А=1, коэффициент В=0,09;
Сумма коэффициентов местных сопротивлений во всасывающей
линии:
Потерянный напор во всасывающей линии находим по формуле:


Для нагнетательной линии:
-
Отводы под углом
90:
-
Нормальные
вентили: для d=0.25 м ε =5,1
-
4). Выход из
трубы:
Сумма коэффициентов местных сопротивлений в нагнетательной линии:
Потерянный напор в нагнетательной линии находим по формуле:

Общие потери напора:
м
в). Выбор насоса.
Находим напор насоса по формуле (м вод. столба):


м H=22,5 м.
Подобный напор обеспечивается центробежными
насосами. Учитывая, что центробежные насосы широко распространены в
промышленности ввиду достаточно высокого к.п.д., компакстности и удобства
комбинирования с электродвигателями, выбираем для последующего рассмотрения
именно этот насос. Полезную мощность насоса определим по формуле:
Nп=1,784·104 (Вт)
Для центробежного насоса средней производительности:
Находим
мощность, которую должен развивать электродвигатель насоса на выходном валу при
установившемся режиме работы:
N=2.974·104 (Вт)
м3/ч
По ГОСТ 11379-80 устанавливаем, что заданным подаче и напору
больше всего соответствует центробежный динамический насос марки СД 450/22,5,
для которого в оптимальных условиях работы Q=450 м3/ч, Н=22,5 м,
=0,78, допускаемая
высота всасывания 10м. Насос обеспечен электродвигателем МО280S6 номинальной
мощностью 75 кВт. Частота вращения вала 960 об/мин. Диаметры всасывающего и
нагнетательного фланцев насоса равны 200 и 175 мм соответственно. Поскольку в
установке для перемещения жидкости используются трубопроводы Dу=250 мм, то для присоединения к ним насоса применяются
переходы 200/250 и 175/250.
Расчет усреднителя и сборника.
Усреднитель и сборник находятся в общем корпусе, разделенном
вертикальной перегородкой, не доходящей до верхнего края на 500 мм. Принимаем
время пребывания в усреднителе (время усреднения) равное tуср=1 ч, поскольку колебания расхода не
превышают 20% по объему. Тогда объем усреднителя будет равным:
Vуср= tуср·Gчас=1·291,67=291,67 м3.
Принимаем объем усреднителя Vуср=300 м3.
Объем сборника чистой воды принимаем равным объему
усреднителя, то есть Vсб=300 м3. Поскольку
усреднитель и сборник находятся в одном корпусе, принимаем размеры аппарата
25х6х4 (l:w:h), разделенного
перегородкой на две части по длинной стороне. Аппарат выполняется из
стандартных железобетонных плит.
Для контроля за прохождением процесса принимаем следующее
оборудование КИПиА:
Манометр МП2-УУ2, на 2,5кгс/см2;
Электромагнитный расходомер-счетчик ЭРСВ-011 (для агрессивных сред), на расход
300 м3/ч.
Темой работы является разработка
установки для очистки производственных сточных вод от фенола и нефтепродуктов
производительностью 7000 м3/сут.
Очистка сточных вод в установке осуществляется
за счет адсорбции загрязнителей активированным углем и дальнейшее их разложение
иммобилизованной микрофлорой с регенерацией угля.
Исходными данными к работе являются концентрации загрязняющих
веществ в исходной сточной воде (табл. 13). В ходе проектирования выполнен
расчет основных технологических параметров процесса очистки. На основании
технологического расчета определены размеры и конструкция аппаратов, подобрано
аэрационное и насосное оборудование, а также контрольно-измерительные приборы.
Преимуществами данной установки
являются: высокая степень очистки, отсутствие выноса избыточного ила, высокая
устойчивость к колебаниям факторов окружающей среды (концентрация загрязнений и
объем сточных вод). Очищенная вода сбрасывается в водоемы рыбо-хозяйственного
назначения.
В данном разделе выполнен расчет
произодственной мощности установки, инвестиционных затрат на её изготовление и
годовых эксплуатационных затрат.
Принципиальная
технологическая схема очистки включает в себя следующие аппараты (рис. 1).
1.
Усреднитель для снижения колебания расхода сточных вод и концентраций
загрязняющих веществ в них.
2.
Биосорбер I ступени. Представляет собой колонный
аппарат с псевдоожиженным слоем иммобилизованного сорбента (на основе
активированного угля). В нем происходит разложение основного количества
загрязняющих веществ.
Рис.
1. Принципиальная технологическая схема очистки
3.
Биосорбер II ступени. По конструкции аналогичен
биосорберу I ступени. Здесь осуществляется очистка
стоков от трудноразлагаемых соединений и окончательная доочистка воды.
4.
Перед биосорберами установлены аэраторы (А) для насыщения воды кислородом.
5.
Сборник чистой воды – вертикальный отстойник, объединенный в одном корпусе с
усреднителем. Служит для равномерного выпуска сточных вод в водоем, для
компенсации низкого расхода сточной воды, а также для аварийного сброса
поступающих вод в водоем в случае выхода из строя установки или превышения их
расхода над проектным значением.
Производственная
мощность предприятия определяется по мощности ведущей стадии в производстве.
Основной стадией очистки сточных вод на проектируемой
установке является взаимодействие сточных вод с иммобилизованной микрофлорой в
биосорберах I и II ступеней. Поскольку эти аппараты располагаются
последовательно по технологической линии, то суммарная мощность производства
будет равна мощности любого из аппаратов.
Производственная мощность установки определяется по её
суточной производительности и времени работы и рассчитывается по формуле:
М = Q × Tэф, где
Q – суточная производительность установки (Q = 7000 м3/сут),
Tэф – эффективный фонд времени работы оборудования. Установка
работает непрерывно в течение календарного года, и Tэф = 365 дней.
Р = 7000 м3/сут × 365 сут/год = 2 555 000 м3/год.
Капитальные затраты определяют
потребность в инвестиционных издержках и включают в себя затраты на
строительство зданий и сооружений, приобретение, транспортировку, монтаж
оборудования и КИП.
Расчет капитальных затрат на строительство зданий и
сооружений.
Работа данной установки очистки
производственных сточных вод от фенола и нефтепродуктов предусмотрена на
открытой площадке. Для защиты насосов и электрощитового оборудования
предусмотрено сооружение навеса общей площадью 30 м2. Строительства
зданий или других сооружений для нормальной работы установки не требуется.
Навес выполняется в виде металлического каркаса с наклонной кровлей из
профнастила. Расчет капитальных вложений на сооружения и амортизационных
отчислений представлен в таблице (табл. 1).
Таблица 1 Расчет капитальных вложений
на строительство сооружений
|
Наименование сооружений
|
Цена
за ед.,
руб.
|
Кол-во
(масса)
|
Сметная стоимость, руб.
|
Амортизационные отчисления
|
|
Норма аморт., %
|
сумма, руб.
|
|
Навес:
Профнастил (шир. 1,1 м), м
|
140
|
30
|
4200
|
3,6
|
151,2
|
|
Арматура каркаса, т
|
17350
|
2,5
|
43375
|
3,6
|
1561,5
|
|
ИТОГО стоимость сооружений:
|
|
|
47575
|
3,6
|
1712,7
|
|
Доставка (10 % от стоим. сооруж.)
|
|
|
4757,5
|
|
|
|
Монтаж (12 % от стоим. сооруж.)
|
|
|
5709
|
|
|
|
НДС (18% от доставки и монтажа)
|
|
|
1884
|
|
|
|
ИТОГО стоимость сооружений с учетом доставки, монтажа и
НДС:
|
|
|
59925,5
|
3,6
|
2157,3
|
Расчет капитальных вложений на
оборудование.
Стоимость аппаратов
складывается из затрат на материалы и изготовление оборудования. Расчет
стоимости основных аппаратов (биосорбционных колонн) выполнен в виде таблицы:
Таблица 2. Расчет
стоимости основных аппаратов.
|
Наименование аппарата
|
Материал
(марка)
|
Масса, кг
|
Цена за ед., руб.
|
Сметная стоимость, руб.
|
|
1. Биосорбер I ступени
Аппарат (металл)
|
Х18Н10Т
|
1708,16
|
69
|
117863,04
|
|
Активированный уголь
|
БАУ-4
|
3120
|
15
|
46800
|
|
ИТОГО:
|
|
4828,16
|
|
164663,04
|
|
Изготовление
(10 % от стоимости
аппарата)
|
|
|
|
16466,30
|
|
НДС (18% от затрат
на изготовления)
|
|
|
|
2963,93
|
|
ВСЕГО стоимость
биосорбера I ступени:
|
|
|
|
184093,28
|
|
2. Биосорбер II ступени
Аппарат (металл)
|
Х18Н10Т
|
2149,84
|
69
|
148338,96
|
|
Активированный уголь
|
БАУ-4
|
3040
|
15
|
45600
|
|
ИТОГО:
|
|
5189,84
|
|
193938,96
|
|
Изготовление
(10 % от стоимости
аппарата)
|
|
|
|
19393,896
|
|
НДС (18% от изготовления)
|
|
|
|
3490,90
|
|
ВСЕГО стоимость
биосорбера II ступени:
|
|
|
|
216823,76
|
|
|
|
|
|
|
|
Расчет стоимости
технологического оборудования выполнен табличным методом (табл.3). Цены взяты
по каталогам на соответствующее оборудование и материалы. Для обеспечения
работы установки в случае поломки основного насоса, в комплект входит резервный
насос с соответствующим количеством запорной арматуры.
Таблица 3. Расчет капитальных затрат
и амортизационных отчислений на оборудование
|
Наименование аппарата
|
Цена за ед., руб.
|
Сметная стоимость, руб.
|
Амортизационные отчисления
|
|
Норма аморт., %
|
сумма, руб.
|
|
Основное технологическое оборудование:
|
|
|
|
|
|
|
1. Биосорбер I ступени
|
1
|
184093
|
184093
|
6,7
|
12334
|
|
2. Биосорбер II ступени
|
1
|
216824
|
216824
|
6,7
|
14527
|
|
3. Насос центробежный
|
2
|
67900
|
135800
|
12,5
|
16975
|
|
4. Усреднитель V=300 м3
|
1
|
276900
|
135800
|
3,6
|
4889
|
|
5. Сборник читсой воды V=300 м3
|
1
|
276900
|
135800
|
3,6
|
4889
|
|
ИТОГО:
|
|
|
808317
|
6,63
|
53614
|
|
Стоимость трубопроводов:
|
|
|
|
|
|
|
Труба Dу = 250 мм
|
957 кг
|
69
|
66033
|
6,1
|
4028
|
|
Труба Dу = 450 мм
|
860 кг
|
69
|
59340
|
6,1
|
3620
|
|
Трубопроводная арматура:
|
|
|
|
|
|
|
Вентиль нормальный,
Dу = 250 мм
|
2
|
5650
|
11300
|
4
|
452
|
|
Вентиль прямой,
Dу = 250 мм
|
3
|
6300
|
18900
|
4
|
756
|
|
Клапан обратный,
Dу = 250 мм
|
1
|
6700
|
6700
|
4
|
268
|
|
Стоимость КИПиА:
|
|
|
|
|
|
|
Манометр МП2-УУ2
|
1
|
140
|
140
|
14,3
|
20
|
|
Расходомер ЭРСВ-011
|
1
|
33500
|
33500
|
14,3
|
4790
|
|
ВСЕГО
стоимость оборудования:
|
|
|
1004230
|
|
|
|
Доставка (10 % от
стоимости оборудования)
|
|
|
100423
|
|
|
|
Монтаж (12 % от
стоимости оборудования)
|
|
|
120507,6
|
|
|
|
НДС (18% от доставки
и монтажа)
|
|
|
39767,6
|
|
|
|
ИТОГО стоимость
оборудования с учетом
доставки, монтажа и НДС:
|
|
|
1264928,2
|
6,73
|
85129,7
|
Сводная смета по капитальным
вложениям представлена в табл. 4.
Таблица 4. Сводная смета капительных
вложений в строительство установки
|
Наименование затрат
|
Сумма, руб.
|
Амортизация
|
|
Норма, %
|
сумма, руб.
|
|
Сооружения
|
59925,5
|
3,60
|
2157,30
|
|
Оборудование
|
1264928,2
|
6,73
|
85129,66
|
|
ИТОГО стоимость основных фондов (ОФ):
|
1324853,7
|
6,6
|
87286,96
|
|
Расходы по проектированию (2 % от стоим. ОФ)
|
26497
|
|
|
|
Пуско-наладочные работы (10 % от стоим. ОФ)
|
132485,4
|
|
|
|
Неучтенные затраты (15 % от стоимости ОФ)
|
198728,1
|
|
|
|
ВСЕГО капитальные вложения:
|
1682564,2
|
|
|
Годовые текущие затраты по модульной
установке будут включать только стоимость расходуемой электроэнергии, расходы
на оплату труда обслуживающего персонала, расходы по содержанию и ремонту
оборудования и накладные расходы. Реагенты в процессе очистки воды не
используются.
Расчет затрат на электроэнергию.
Электроэнергия используется только на работу насоса. Зная
мощность оборудования и время работы, найдем потребление электроэнергии за год
по формуле:
, где
М =75 кВт – мощность двигателя насоса СД 450/22,5.
Траб. – время работы оборудования, час. Траб.=8760ч.
КС – коэффициент спроса, принимаем КС=0,8;
ηдв.=0,70 – КПД двигателя;
ηсети=0,98 – КПД электросети.
Принимаем стоимость электоэнергии 1,20 руб/кВт·ч. Тогда
расходы на электоэнергию составят Зэнерг.=Цэ ·Рэ
=1,2 ·765 306=918 367,2 руб.
Расчет трудовых показателей и
годового фонда заработной платы.
Расчет трудовых показателей включает
расчет численности всех категорий работающих и годового фонда заработной платы.
Расчет начинается с разработки баланса рабочего
времени одного среднесписочного рабочего. Режим работы основного производства –
непрерывный, в 3 смены по 8 часов по типовому 4-х бригадному графику.
Режим работы вспомогательного производства – периодический, 5
дней в неделю по 8 часов с остановками на выходные и праздничные дни.
Таблица 5. Баланс рабочего времени одного среднесписочного
рабочего.
|
Показатели
|
Непрерывное производство
|
Периодическое производство
|
|
Календарный фонд времени (Т кал.)
Выходные дни
Праздничные дни
|
365
91
–
|
365
104
11
|
|
Номинальный фонд рабочего времени (Т ном.)
Целодневные невыходы:
отпуск
невыходы по болезни
государственные и общественные обязанности
ученический отпуск
|
274
32
24
5
1
2
|
250
30
24
4
1
1
|
|
Эффективный фонд рабочего времени (Тэф.), дни
часы
|
242
1936
|
220
1760
|
Численность рабочих определяется их явочным, штатным
и списочным составом.
Явочная численность показывает, какое число рабочих
должно выходить ежесменно и ежесуточно для обеспечения нормальной работы
очистной установки. Численность явочная сменная определяется на основании
сменных штатных нормативов. Установку может обслуживать 1 человек – оператор
очистной установки 5-го разряда.
Принимаем Чяв/смен=1 чел/смену. При 3-х сменном
режиме работы численность явочная суточная будет равна:
где n –
число смен в сутки (n=3).
Численность штатная дополнительно учитывает подмену на
выходные дни.
Численность списочная, дополнительно к штатной
численности, учитывает подмену на другие целодневные невыходы. Ей соответствует
эффективный фонд времени.
Принимаем Чспис=4 человека.
Расчет численности представлен в табл. 6:
Таблица 6. Расчет численности производственных
рабочих
|
Профессия
|
Разряд
|
Чяв.
|
Чштат.
|
Чспис.
|
|
В смену
|
В сутки
|
Расчетная
|
Принятая
|
|
Оператор
|
5
|
1
|
3
|
4
|
4,5
|
4
|
|
Итого основные рабочие
|
|
1
|
3
|
4
|
4,5
|
4
|
Штатным расписанием для обеспечения нормальной
работы установки предусматривается также должность технолога с окладом 9 000
руб/месяц.
Расчет годового фонда заработной платы
Годовой фонд заработной платы операторов
складывается из фондов основной и дополнительной заработной платы.
ФЗПгод=ФОЗП+ФДЗП
Фонд основной зарплаты включает:
ФОЗП=ФЗПтар.+ Пр + Дн/в.+ Дпразд.+
ПН,
где ФЗПтар
– годовой фонд заработной платы по тарифу,
Пр – премия из фонда заработной платы,
Дн/в.– доплаты за работу в ночное и вечернее
время,
Дпразд.– доплата за работу в праздничные дни,
ПН – поясная надбавка.
Годовой фонд заработной платы по тарифу
рассчитывается по формуле:
ФЗПтар.=ТС·Чспис.·Тэф
где ТС
– часовая тарифная ставка, руб. (принимаем для 5-го разряда ТС=19,9 руб./час),
Чспис – списочная численность операторов (Чспис=4
чел.),
Тэф – эффективное время работы одного рабочего,
час/год
(Тэф.=1936
часов/год).
ФЗПтар.=19,90·4·1936=154 105,6 (руб.),
Премия из фонда заработной платы определяется по
установленному проценту (принимаем размер премии равным 10% от ФЗПтар).
Работа в вечернее и ночное время оплачивается со следующими
надбавками:
-
время вечерней
работы: с 22.00 до 24.00, доплата составляет 20%;
-
время вечерней
работы: с 0.00 до 6.00, доплата составляет 40%.
Доплата за работу в вечернее и ночное время будет
равна:
Доплата за работу в праздничные дни определяется по
формуле:
Дпразд.=ТС·tсмен.·nпразд.·Чяв/сут,
где nпразд. – число праздничных дней в году (nпразд.=11 дней),
tсмен – продолжительность смены (·tсмен=8 часов).
Дпразд.=ТС·tсмен.·nпразд.·Чяв/сут.=19,90 ·8
·11·3=5253,6 (руб.),
Фонд основной заработной платы составит:
ФОЗП=ФЗПтар.+ Пр + Дн/в.+ Дпразд=
=154 105,6+15410,56+17979+5253,6=192 748,76 руб.
Если в регионе предусматривается поясная надбавка,
она также включается в фонд основной заработной платы. Для Пермской области
поясная надбавка составляет 15% или
руб.
Фонд основной заработной
платы с поясной надбавкой будет равен
ФОЗППН=ФОЗП+ПН=192 748,76 + 28 912,3=221661,06
руб.
Фонд дополнительной заработной платы (выплаты работникам за
непроработанное, но оплачиваемое по законодательству время) будет равен
Всего годовой фонд заработной платы операторов составит
ФЗПгод=ФОЗП+ФДЗП=221 661,06+24730,78=246391,8 руб.
Результаты расчетов представлены в табличной форме
(табл. 8).
Таблица 8. Расчет годового фонда заработной платы
основных рабочих.
|
Профессия
|
Разряд
|
Система оплаты
|
Часовая
тарифная ставка по разряду, руб.
|
Чспис,
чел
|
Тэф., час
|
ФЗПтар.
|
Доплаты из основного фонда
|
ФОЗП
|
ПН
|
ФОЗП с ПН
|
ФДЗП
|
ФЗПгод
|
|
премия
|
Дн/в
|
Дпр.
|
|
%
|
сумма
|
|
Оператор
|
5
|
Повременно-премиальная
|
19,90
|
4
|
242
|
154105,6
|
10
|
15410,56
|
17979
|
5253,6
|
192 748,76
|
28 912,3
|
221661,06
|
24730,78
|
246391,8
|
Годовой фонд заработной платы технолога будет равен:
ФЗПгод.=О·12·РК,
где О – оклад, руб. (О=9000 руб.);
РК – районный коэффициент (РК=1,15);
ФЗПгод.=9 000·12·1,15=124 200 руб.
Всего расходы на оплату труда
составят:
Зтруд.= ФЗПобщ.=124200+246391,8=370
592 руб.
Расчет сметы затрат на эксплуатацию,
содержание и ремонт оборудования.
Эта смета составляется на годовой объем
очищаемых сточных вод по следующей номенклатуре (табл. 9).
Таблица 9. Смета затрат на
содержание, эксплуатацию и ремонт оборудования
|
Наименование расходов
|
Сумма, руб.
|
|
1. Амортизация оборудования
|
85129,66
|
|
2. Текущий ремонт оборудования (5% от стоим. оборуд.)
|
63246,41
|
|
3. Капитальный ремонт оборудования (10% от стоим. оборуд.)
|
126492,82
|
|
ИТОГО:
|
274868,89
|
|
Неучтенные затраты (10% от учтенных затрат)
|
27486,89
|
|
ВСЕГО:
|
302355,78
|
Расчет сметы накладных расходов.
Смета накладных расходов
рассчитывается на годовой объем очищаемых сточных вод (табл. 10).
Таблица 10. Смета накладных расходов
|
Наименование расходов
|
Сумма
|
|
1. Заработная плата технолога
|
124200
|
|
1. Амортизация сооружений
|
2157,3
|
|
2. Содержание и ремонт сооружений (15% от стоим. сооруж.)
|
8988,8
|
|
3. Налог на имущество (2% от стоимости ОФ)
|
26497
|
|
ИТОГО:
|
161843,1
|
|
Неучтенные затраты (10% от учтенных затрат)
|
16184,3
|
|
ВСЕГО накладных расходов:
|
178027,4
|
На основе предыдущих расчетов
составлена проектная калькуляция годовых эксплуатационных затрат и
себестоимости очистки 1 м3 (табл. 11).
7.5 Проектная калькуляция себестоимости
очистки
Годовой объем очищенных сточных вод =
2 555 000 м3.
Таблица 11. Калькуляционная единица 1
м3 воды.
|
Затраты на очистку, руб
|
|
Статьи расхода
|
на 1 м3 воды
|
на годовой объем
|
|
Колич.
|
Цена
|
Сумма
|
Сумма
|
|
Энергетические затраты, кВт
|
0,3
|
1,20
|
0,36
|
765306
|
918367,2
|
|
Заработная плата операторов
|
|
|
0,097
|
|
246391,8
|
|
Отчисления в социальные фонды (26% от зар.платы)
|
|
|
0,025
|
|
64061,9
|
|
Расходы на содержание, ремонт и эксплуатацию оборудования
|
|
|
0,118
|
|
302355,8
|
|
Накладные расходы
|
|
|
0,07
|
|
178027,4
|
|
ИТОГО:
|
|
|
0,67
|
|
1709204,1
|
|
Внепроизводственные расходы (10% от годовых экспл. затрат)
|
|
|
0,07
|
|
170920,4
|
|
Полная себестоимость, руб.
|
|
|
0,74
|
|
1880124,5
|
Таким образом, годовые эксплуатационные затраты по установке
очистки сточных вод составляют 1,88 млн. руб., а в расчете на 1 м3
очищенной воды эксплуатационные затраты будут составлять 0,74 руб.
Выплаты при сбросе стоков в водоем без очистки:
Годовой сброс: 2 555 000 м3/год;
В нем фенола: 143,08 кг/год; нефтепродуктов: 7655 кг/год;
Выплаты в пределах ПДК:
- фенол- 275 481 руб./тн.
- нефтепродукты - 5 510 руб./тн.
Если концентрации превышают ПДК, то выплаты за
сброс увеличивают в 5 раз (1377405руб, и 27550 руб. соответственно).
Таблица 12. Плата за сброс загрязненных сточных вод
|
Наименов. загрязнений сточных вод
|
Кол-во загряз-ий, поступающих на установку, т/год.
|
Штраф
за сброс
1 т при
превышении нормы сброса, руб.
|
Плата за сброс, руб.
|
Кол-во загрязнений после очистки, т/год.
|
Штраф за сброс 1 т
в пределах нормы, руб
|
Плата за сброс, руб.
|
|
Фенол
|
0,14308
|
1377405
|
197079,1
|
0,002555
|
275481
|
703,85
|
|
Нефтепродукты
|
7,655
|
27550
|
210895,25
|
0,12775
|
5510
|
703,9
|
|
Итого:
|
|
|
407974,35
|
|
|
1407,75
|
Годовые выплаты за сброс неочищенных вод составляют:
Внеоч = 407 974,35 руб.; Вочищ.=1
407,75 руб.
Ежегодная экономия: Эк=407 974,35 –1 407,75 = 406 566.6 руб.
Таблица 13. Расчет массы загрязняющих веществ, подвергшихся
разложению.
|
Наименование
веществ
|
Концентр-ия, г/м3
|
Масса выброса, т/год
|
Масса разложившегося вещества, т/год
|
|
Свход
|
Cвых
|
Без очистки
|
С очитской
|
|
|
Фенол
|
0,056
|
0,001
|
0,14308
|
0,002555
|
0,140525
|
|
Нефтепродукты
|
3
|
0,05
|
7,655
|
0,12775
|
7,52725
|
После выполнения всех расчетов
определяются технико-экономические показатели проектируемой установки (табл.
14).
Таблица 14. Технико-экономические
показатели производства
|
Показатели
|
Един. измер.
|
Величина показателя
|
|
Производственная мощность
|
м3/год
|
2 555 000
|
|
Капитальные вложения
|
Тыс. руб.
|
1682564,14
|
|
Численность персонала списочная
|
Чел.
|
5
|
|
Фонд заработной платы персонала
|
Тыс. руб.
|
370592
|
|
Себестоимость очистки 1 м3 воды
|
Руб.
|
0,67
|
|
Ежегодная экономия на выплатах
|
Тыс. руб./год
|
406,567
|
Таким образом, произведен расчет
основных технико-экономических показателей установки для очистки
фенол-содержащих производственных сточных вод производительностью 7000 м3/сут.
Так, производственная мощность
установки равна 2 555 000 м3/год.
Инвестиционные издержки на её
изготовление составляют 1 682,564 тыс. руб.
Годовые эксплуатационные затраты составляют 1880,125 тыс.
руб.
В пересчете на 1 м3 очищенной воды
эксплуатационные затраты равны 0,74 руб.
Величина экономии на выплатах составляет 406,567 тыс. руб. в
год.
8.1 Анализ опасных и вредных
производственных факторов
Проектируемая
установка предназначена для очистки производственных сточных вод от фенола и
нефтепродуктов. Установка состоит из следующих аппаратов и агрегатов: две
последовательно соединенные биосорбционые колонны, сдвоенные усреднитель и
приемная емкость, центробежный канализационный насос с электроприводом, приборы
КИПиА. В качестве загрузки в биосорберах используется гранулированный
активированный уголь марки БАУ-4. Регенерация угля осуществляется в тех же
аппаратах за счет иммобилизации на нем микроорганизмов-деструкторов
органических веществ. Досыпки или замены угля в ходе эксплуатации установки не
требуется.
Таблица №3 Таблица
токсических и пожароопасных свойств исходного сырья.
|
Наименование вещества
|
Плотность паров
относительно воздуха
|
Температура кипения, °C
|
Температура вспышки, °C
|
Температура самовоспламенения, °C
|
Токсичность
|
ПДК в воздухе рабочей зоны, мг/м3
|
|
Фенол
|
-
|
182
|
75
|
-
|
общетоксическое
|
0,3
|
|
Нефтепродукты
|
3,0-3,5
|
65-180
|
60-90
|
-
|
общетоксическое
|
10
|
Данные вещества
поступают в растворенном состоянии со сточной водой в концентрациях: фенол –
0,056 мг/л, нефтепродукты – 3 мг/л. В ходе технологического процесса
микроорганизмы разрушают фенол и нефтепродукты с образованием углекислого газа
и воды, то есть безвредных веществ. Все остальные вещества, используемые в
производстве, относятся к группе несгораемых (активированный уголь находится
под слоем воды во влажном состоянии).
При эксплуатации
установки учитывается наличие и возможность воздействия следующих опасных и
вредных производственных факторов:
-
движущихся
элементов насосного оборудования;
-
опасного
уровня напряжения в электрической цепи, замыкание которой может произойти через
тело человека;
-
пониженной
температуры воздуха в производственных сооружениях;
-
повышенного
уровня шума и вибраций (при работе насосного оборудования);
-
газообразных
веществ общетоксического воздействия (пары фенола, пары нефтепродуктов);
-
горючих
примесей в сточных водах (нефтепродукты);
-
повышенной
запыленности воздуха в рабочей зоне активированным углем в процессе загрузки
насадочного материала;
-
патогенных
микроорганизмов в сточных водах (бактерии, вирусы);
Источником выделения
в воздух рабочей зоны паров токсичных веществ может, а также образования
пожароопасной пленки нефтепродуктов на поверхности воды может быть усреднитель.
Поэтому эксплуатация этого сооружения должна проводиться строго в соответствии
с требованиями установленными в эксплуатационной документации, инструкцией по
технике безопасности, а также другими нормативными актами.
Причиной поражения
человека электрическим током может стать нарушение требований техники
безопасности при эксплуатации и ремонте электропривода насоса.
8.2 Классификация производства
1.Категория взрыво- пожароопасности производства в
соответствии с НПБ-105-95 (определение категорий помещений и зданий по взрывопожарной и пожарной опасности) –
Д.
2.Степень огнестойкости сооружений
по СниП 2.01.02-85 – II.
3. Класс производственного
помещения по степени опасности поражения электрическим током.
Для спроектированной установки не
требуется производственного помещения, все аппараты и вспомогательное
оборудование находится на открытой площадке. Однако, циркуляционный насос,
имеющий электропривод, также находится на открытой площадке и установлен на
железобетонное основание.
В соответствии с ПУЭ-6 территория открытых электроустановок
в отношении опасности поражения людей электрическим током приравнивается к особо
опасным помещениям. Кроме того, имеется возможность одновременного
прикосновения человека к технологическим аппаратам, с одной стороны, и к
металлическому корпусу электрооборудования (электродвигатель насоса), с другой,
а также наличие токопроводящих железобетонных оснований.
Класс электрооборудования по способу защиты человека от
поражения электрическим током по ГОСТ 12.2.007.0 – класс I.
4. Класс взрыво- или
пожароопасности электроустановки по ПУЭ-6: установка не относится к взрыво- или
пожароопасным.
5. Применяемое оборудование не относится к
взрывозащищенному, так как образование взрывоопасных смесей исключено.
6. Группа производственного
процесса по санитарной характеристике по СНиП 2.09.04-87-1а. (СНиП 2.09.04-87-1а является переизданием СНиП
2.09.04-87 с изменениями № 1, 2, утвержденными соответственно постановлениями
Госстроя России от 31.03.94 № 18-23 и Минстроя России от 24.02.95 № 18-21,
введенными в действие с 1 июля 1994 г. и 1 марта 1995 г.)
В обрабатываемой сточной воде
присутствуют вещества 2 (фенол) и 3 (нефтепродукты) классов опасности, но они
находятся в растворенном состоянии и их присутствие в воздухе рабочей зоны находится
на уровне ПДК и ниже.
7. Класс производства по СанПиН
2.2.1/2.1.1.1200-03 – II, с шириной
санитарно-защитной зоны 400м – канализационные биологические очистные
сооружения производительностью более 5 000 м3/сут до 50 000 м3/сут.
8.3.1 Общие мероприятия
Установка позволяет
эффективно очищать сточные воды от фенола и нефтепродуктов, доводя их содержание
до уровня ПДК. При этом непосредственный контакт работников со сточной водой
происходит только при отборе проб для контроля работы установки.
Поскольку в качестве
загрузочного материала используется активированный уголь, то поступающие со
сточной водой загрязняющие вещества практически моментально адсорбируются на
нем, и попадания фенола и нефтепродуктов в очищенную воду, а также в
отработанный воздух, не происходит. При этом уголь постоянно регенерируется
иммобилизованными на нем микроорганизмами.
Для предотвращения
попадания загрязнений в воздух рабочей зоны из усреднителя, в качестве него
применяется крытый отстойник с открытым люком для доступа воздуха и отбора
проб.
Усреднитель и
сборник чистой воды совмещены в одном аппарате, что исключает переполнение
емкостей в случае аварийного сброса сточных вод. Стабильность работы установки
в случае снижения количества поступающих сточных вод обеспечивается
трубопроводом рециркуляции.
В случае аварии или
планового ремонта насосного оборудования установлен дополнительный резервный
насос. Все насосное и электрическое оборудование находится под навесом для
защиты от прямого попадания атмосферных осадков.
Для обеспечения
безопасности обслуживания оборудования ширина проходов между насосами
составляет 1,5 м; ширина прохода перед распределительным электрическим щитом -
2 м.
Переходы через
трубопроводы оборудованы переходными мостиками шириной 0,7 м с перилами высотой
1,4 м, а на подъемах на резервуары - лестницами с поручнями.
Для обслуживания
оборудования (аэраторов, задвижек, расположенных свыше 1,4 м от перекрытия
площадки) и при выполнении монтажных и ремонтных работ на указанной высоте
установлены площадки с ограждениями и применяются лестницы.
На всех объектах,
которые обслуживаются работниками, имеются медицинские аптечки с необходимыми
медикаментами для оказания первой доврачебной помощи пострадавшим.
Ремонт оборудования,
находящегося в резервуарах и в других емкостных сооружениях, производится
только после освобождения их от воды и исключения возможности внезапного
затопления.
Отбор проб воды из
сооружений производится с рабочих площадок, устройство которых (ограждения,
освещенность и др.) обеспечивает безопасность при отборе проб (на сборнике и
усреднителе).
Эксплуатацию
насосных электроустановок осуществляется согласно требованиям правил по охране
труда при эксплуатации электроустановок.
Персонал,
обслуживающий насосные электроустановки, имеет соответствующую группу по
электробезопасности.
Выгрузка
активированного угля из транспортных средств (вагонов, автомобилей), его
транспортирование, складирование и загрузка в аппараты механизированы. При этом
проводятся мероприятия, исключающие распыление материала (увлажнение).
Работники,
эксплуатирующие установку, имеют профессиональную подготовку (в том числе и по
безопасности труда), соответствующую характеру выполняемых работ.
Работники, связанные
с эксплуатацией установки, проходят предварительные и периодические медицинские
осмотры в порядке, предусмотренном Минздравом России.
Работники,
обслуживающие установку, допускаются к работе только после прохождения
следующих видов инструктажа по безопасности труда:
-
вводный;
-
первичный
инструктаж на рабочем месте;
-
повторный;
-
внеплановый;
-
целевой.
Вводный инструктаж
проводят со всеми вновь принимаемыми на работу независимо от образования, стажа
работы по данной профессии или должности, с временными работниками,
командированными, учащимися и студентами, прибывшими на производственное обучение
или практику.
Первичный инструктаж
на рабочем месте до начала производственной деятельности проводят:
-
со
всеми вновь принятыми в организацию, переводимыми из одного подразделения в
другое;
-
с
работниками, выполняющими новую для них работу, командированными, временными
работниками;
-
со
студентами и учащимися, прибывшими на производственное обучение или практику,
перед выполнением новых видов работ.
Все работники после
первичного инструктажа на рабочем месте в течение первых 5-10 смен (в
зависимости от характера работы, квалификации работника) проходят стажировку
под руководством работников, назначаемых распоряжением начальника установки.
Повторный инструктаж
проходят все работники независимо от квалификации, образования, стажа,
характера выполняемой работы один раз в полугодие. Его проводят индивидуально
или с группой работников, обслуживающих однотипное оборудование, в пределах
общего рабочего места по программе первичного инструктажа на рабочем месте в
полном объеме.
Внеплановый
инструктаж проводят:
-
при
введении в действие новых или переработанных государственных стандартов,
правил, инструкций по охране труда, а также изменений к ним;
-
при
изменении технологического процесса, замене или модернизации оборудования,
приспособлений, инструмента, исходного сырья, материалов и других факторов,
влияющих на безопасность труда;
-
при
нарушении работниками и учащимися требований безопасности труда, которые могут
привести или привели к травме, аварии, взрыву, пожару, отравлению;
-
по
требованию органов надзора;
-
при
перерывах в работе - 60 календарных дней.
Внеплановый
инструктаж проводят индивидуально или с группой работников одной профессии.
Объем и содержание инструктажа определяют в каждом конкретном случае в
зависимости от причин и обстоятельств, вызвавших необходимость его проведения.
Целевой инструктаж
проводят при выполнении разовых работ, не связанных с прямыми обязанностями
работника по специальности (погрузка, выгрузка, уборка территории, разовые
работы вне организации, цеха и т.п.); ликвидации последствий аварий, стихийных
бедствий и катастроф; производстве работ, на которые оформляется наряд-допуск.
Целевой инструктаж с работниками, проводящими работы по наряду-допуску,
фиксируется в наряде-допуске.
Первичный инструктаж
на рабочем месте, повторный, внеплановый и целевой проводит непосредственный
руководитель работ (инженер-технолог).
Инструктажи на
рабочем месте завершаются проверкой знаний устным опросом или с помощью
технических средств обучения, а также проверкой приобретенных навыков безопасных
способов работы. Знания проверяет работник, проводивший инструктаж.
Лица, показавшие
неудовлетворительные знания, к самостоятельной работе или практическим занятиям
не допускаются и обязаны вновь пройти инструктаж. Результаты проведения всех
видов инструктажа (кроме целевого инструктажа) записываются в журналы
регистрации.
Обучение работников
вопросам охраны труда и безопасным приемам работы проводится при подготовке
новых работников, повышении квалификации по курсовой, групповой и
индивидуальной формам обучения. Контроль за своевременностью и качеством
обучения работников осуществляет инженер по охране труда.
Работники,
обслуживающие установку, допускаются к работе только после прохождения
инструктажа по безопасности труда (вводного, первичного инструктажа на рабочем
месте, повторного, внепланового, целевого).
Проверка знаний по
охране труда проводится индивидуально, результаты фиксируются в протоколе
заседания комиссии по проверке знаний и в журнале регистрации проверки знаний
по безопасности труда. Перед очередной проверкой знаний в организации
проводятся занятия, лекции, консультации по вопросам охраны труда.
Проверка знаний
проводится 1 раз в 3 года для инженерно-технических работников, и ежегодно для
аппаратчиков. Для вновь поступивших на работу, а также при перерывах в работе
более 1 года, проверка знаний по охране труда проводится не позднее 1 мес.
после назначения на должность (начала работы).
Работники обязаны
соблюдать инструкции по охране труда, устанавливающие правила выполнения работ
и поведения на объектах и сооружениях.
Исходя из примерного
перечня мест и видов работ с повышенной опасностью, местных условий и
особенностей производства разрабатывается и утверждается конкретный перечень
мест и видов работ, на выполнение которых необходимо выдавать наряд-допуск.
Оформленный наряд-допуск регистрируется в соответствующем журнале.
Наряд-допуск
выдается на срок, необходимый для выполнения заданного объема работ. В случае
возникновения в процессе выполнения работ опасных производственных факторов, не
предусмотренных нарядом-допуском, работы прекращаются, наряд-допуск
аннулируется и работы возобновляются только после выдачи нового наряда-допуска.
Работник, выдавший
наряд-допуск, осуществляет контроль за выполнением предусмотренных в нем
мероприятий по обеспечению безопасности производства работ.
Работникам, занятым
на работах, связанных с загрязнением (аппаратчикам), выдаются бесплатно
сертифицированная специальная одежда (комбинезон) и другие средства
индивидуальной защиты, предусмотренные типовыми отраслевыми нормами. Выдача
работникам специальной одежды и других средств индивидуальной защиты по
условленным нормам производится за счет средств работодателя.
Средства
индивидуальной защиты, на которые не имеется технической документации, к
применению не допускаются.
При выполнении работ
при эксплуатации установки необходимо применять следующие средства
индивидуальной защиты аппаратчиков:
фильтрующие
противогазы ПМГ-2, респираторы, рукавицы, защитные каски, ограждения, знаки
безопасности, переносные лестницы; химические пенные огнетушители;
Работодатель
обеспечивает своевременную выдачу, химическую чистку, стирку, ремонт, а на
работах, связанных со значительной запыленностью, кроме того, обеспыливание
специальной одежды и других средств индивидуальной защиты за счет средств
организации в сроки, устанавливаемые с учетом производственных условий.
На время стирки,
химической чистки, ремонта, обеспыливания средств индивидуальной защиты
работникам выдается их сменный комплект.
В общих случаях
стирка специальной одежды производится один раз в 6 дней при сильном
загрязнении и один раз в 10 дней при умеренном загрязнении. Стирка, химическая
чистка и ремонт специальной одежды и специальной обуви проводится по договорам
со специализированными организациями.
Средства
индивидуальной защиты периодически подвергаются контрольным осмотрам и
испытаниям в порядке и в сроки, установленные техническими условиями на них.
Обо всех замеченных
неисправностях специальной одежды и средств индивидуальной защиты работник
сообщает своему непосредственному руководителю или специалисту, ответственному
за проведение работ.
В
проектируемой установке используется насос с электроприводом. Рабочее
напряжение на клеммах электродвигателя – 380В; переменный трехфазный ток.
Поскольку установка находится на открытой площадке, возможно возникновение
опасного уровня напряжения в электрической цепи, замыкание которой может
произойти через тело человека. И хотя все электрооборудование, включая насосы,
находится под навесом, по ПУЭ-6 территория открытых электроустановок в
отношении опасности поражения людей электрическим током приравнивается к особо
опасным помещениям.
Кроме того, имеется возможность одновременного прикосновения
человека к технологическим аппаратам, с одной стороны, и к металлическому
корпусу насоса с другой, а также наличие токопроводящих железобетонных
оснований.
Класс электрооборудования по способу защиты человека от
поражения электрическим током по ГОСТ 12.2.007.0 – класс I.
Для защиты от поражения
электрическим током в цепях с изолированной нейтралью (в данном случае)
применяется защитное заземление.
Защитное
действие заземления основано на снижении напряжения прикосновения, что
достигается путем уменьшения напряжения на корпус оборудования относительно
поверхности земли или за счет малого сопротивления заземления.
Защитное
заземление является эффективной мерой для электроустановок, питающихся
напряжением до 1000 В с изолированной нейтралью и напряжением выше 1000 В с любым
режимом нейтрали источника питания.
Различают
три вида заземлений: рабочее заземление, защитное заземление и заземление
грозозашиты, причем в ряде случаев один и тот же заземлитель может выполнять
два или три назначения одновременно. К рабочем у заземлению относится
заземление нейтралей силовых трансформаторов, генераторов, дугогасящих
аппаратов, измерительных трансформаторов напряжения, реакторов, заземление фазы
при использовании земли в качестве рабочего провода и пр.
Защитное
заземление выполняется для обеспечения безопасности людей, обслуживающих
электрическую установку, путем заземления металлических частей установки
(например, баков трансформаторов), которые нормально имеют нулевой потенциал,
но могут оказаться под напряжением при перекрытии или пробое изоляции.
Заземление
грозозащиты служит для отвода тока молнии в землю от защитных разрядников,
стержневых и тросовых молниеотводов или других конструкций, в которые произошел
удар молнии.
Различают
искусственные и естественные заземлители. В качестве искусственных заземлителей
служат заложенные в землю металлические полосы или уголки шириной от 3 до 5 см,
толщиной не менее 35 мм длиной 2.5 – 6 м или металлические стержни диаметром 10
– 12 мм или длиной 10 м а также стальные трубы диаметром 25-50 мм и длиной
1,5-6м. Естественными заземлителями называют находящиеся в соприкосновении с
землей электропроводящие части коммуникаций, зданий и сооружений
производственного или иного назначения, использующиеся для целей заземления.
Расчет:
1. Сопротивление растеканию тока через одиночный заземлитель
из труб d=25-50 мм рассчитываем по формуле:
Rтр=0.9(ρ/lтр),
где ρ - удельное сопротивление слоя грунта. Принимаем
грунт – суглинок, ρ = 120 Ом∙м; lтр=5 м – длина трубы (заземлителя).
Rтр=0.9(120/5)=21,6 Ом.
Затем определяем
ориентировочное число вертикальных заземлителей без учета коэффициента
экранирования:
,
где r –
допустимое сопротивление заземляющего устройства.
Согласно ПУЭ на
электрических установках напряжением до 1000В допустимое сопротивление
заземляющего устройства равно не более 4 Ом.
Принимаем вертикальные заземлители в количестве 6 шт.
Определяем коэффициент
экранирования заземлителей:
Размеры производственной
площадки: 12 х 6м.
Распределяем
заземлители: n=6; l=6 м;
l
– расстояние между заземлителями
ηтр=0,58…0,65;
принимаем ηтр=0,6.
Число вертикальных заземлителей
с учетом коэффициента экранирования:
Расстояние между
заземлителями а=4м.
Длина соединительной
полосы: lп=n1·a=10·4=40 м.
Сопротивление растеканию
электрического тока через соединительную полосу:
Rп=2,1(ρ/lп)=2,1(120/40)=6,3 Ом.
Результирующее
сопротивление растеканию тока всего заземляющего устройства:
ηп – находим по таблице [3]:
; n1=10; => ηп=0,34.
Полученное результирующее сопротивление растеканию
тока заземляющего устройства меньше допустимого.
Вывод: Для заземления установки применяются вертикальные
заземлители в виде стальных труб Dу=25мм длиной 5м в количестве 10 шт.,
расположенные по периметру установки и соединенные стальной полосой на глубине
0,7м.