Конструирование и расчет прочности шлюзовой камеры

  • Вид работы:
    Контрольная работа
  • Предмет:
    Технология машиностроения
  • Язык:
    Русский
    ,
    Формат файла:
    MS Word
    615,21 kb
  • Опубликовано:
    2010-08-21
Вы можете узнать стоимость помощи в написании студенческой работы.
Помощь в написании работы, которую точно примут!

Конструирование и расчет прочности шлюзовой камеры

СОДЕРЖАНИЕ

ВВЕДЕНИЕ

1. ТЕХНИЧЕСКИЕ ХАРАКТЕРИСТИКИ ПЕРЧАТОЧНОГО БОКСА

2. РАСЧЁТ МЕХАНИЧЕСКОЙ ПРОЧНОСТИ УЗЛОВ ШЛЮЗОВОЙ КАМЕРЫ

2.1. Расчёт усилий, создаваемых при закрывании двери камеры

2.2. Расчёт механической прочности стоек

2.3. Расчёт механической прочности двери

3. РАСЧЁТ ДЛИТЕЛЬНОСТИ ОТКАЧКИ ПРИ КВАЗИСТАЦИОНАРНОМ ТЕЧЕНИИ ГАЗА        

4. ТЕХНИКА БЕЗОПАСНОСТИ

ЗАКЛЮЧЕНИЕ

СПИСОК ЛИТЕРАТУРЫ

ВВЕДЕНИЕ

Перчаточный сухой бокс предназначен для работы с веществами и катализаторами, например, с катализаторами полимеризации олефинов и алюминийорганическими соединениями, которые на воздухе под действием влаги и кислорода разлагаются, а в случае алюминийорганических соединений даже возгораются. Поэтому при работе с этими веществами требуется исключить соприкосновение их с воздухом и обеспечить наличие инертной атмосферы. Для подготовки к анализу и исследованию этих катализаторов различными физико-химическими методами необходимо, чтобы бокс был оборудован отверстиями для манипуляции с химическими компонентами – перчатками, герметично соединенными с вводами в сухой бокс. Бокс также должен быть оборудован шлюзовой камерой (рис.1), через которую контейнер с веществами должен попадать в бокс, предварительно откачав и заполнив камеру инертным газом. Для быстрого удаления воздуха из шлюзовой камеры, а также из самого сухого бокса необходима система циркуляции газа, обеспеченная фильтрами очистки газа от влаги и кислорода, проникающих в бокс через случайные неплотности и путем диффузии сквозь материал перчаток.

Рисунок 1 - Фотография шлюзовой камеры

а) в закрытом состоянии; б) в открытом состоянии

1. ТЕХНИЧЕСКИЕ ХАРАКТЕРИСТИКИ ПЕРЧАТОЧНОГО БОКСА

·   Отсутствие скреплений или склеенных мест в корпусе бокса, сварные швы, соединяющие стены бокса.

·   Легкость при открывании или удалении переднего закрепленного окна бокса.

·   Возможность замены пары перчаток (материал перчаток – неопрен или другие синтетические эластомеры).

·   Шаровые вентили (условный диаметр ¼) для удаления газа из бокса и заполнения его инертным газом (2 штуки).

·   Шлюзовая камера из стали с внутренним диаметром 266 мм и с двумя вертикально открывающимися алюминиевыми дверцами, снабженная манометром для измерения давления с диапазоном измерения от 0 до 1,5 атм, а также термопарная вакуумная лампа для измерения вакуума в шлюзовой камере в пределах от 10-4 до 1 мм рт. ст.

·   Шаровые вентили (3 штуки, условный диаметр ¾), присоединенные к шлюзовой камере: для откачки газа, напуска воздуха и заполнения инертным газом бокса.

·   Легкость при открывании и закрывании шлюзовой камеры.

·   Настольная система конструкции бокса.

·   Бокс должен выдерживать давление на 5 мбар (50 мм водяного столба) выше или ниже атмосферного.

·   Система циркуляции должна быть обеспечена фильтром для очистки газа и вентилятором.

·   Размеры бокса:

- длина 1005 мм;

- глубина в верхней части 700 мм;

- глубина в нижней части 750 мм;

- высота 900 мм;

- объем 656 л;

- вес 91 кг.

· Размеры шлюзовой камеры (рис. 2, рис. 3):

- диаметр 266 мм;

- длина 475 мм;

- объем 26,4 л.

Рисунок 2 - Вид шлюзовой камеры сбоку

Рисунок 3 - Сборочный чертёж шлюзовой камеры

Известна конструкция аналогичного, выпускаемого промышленностью перчаточного бокса и шлюзовой камеры фирмы MBRAUN (Workstation Labstar), Германия [1] (рис. 4).

·   Размеры бокса:

- длина 950 мм;

- глубина в верхней части 420 мм;

- глубина в нижней части 540 мм;

- высота 650 мм;

- объем 300 л;

- вес 30 кг.

· Размеры шлюзовой камеры:

- диаметр 290 мм;

- длина 350 мм;

- объем 22 л.

а)

б)

Рисунок 4 - Перчаточный бокс фирмы MBRAUN (Workstation Labstar)

а) фотография; б) схема

2. РАСЧЁТ МЕХАНИЧЕСКОЙ ПРОЧНОСТИ УЗЛОВ ШЛЮЗОВОЙ КАМЕРЫ

2.1 Расчёт усилий, создаваемых при закрывании двери камеры

При затяжке болтового соединения рабочий создаёт момент на гаечном ключе (рис. 5):

Mкл=PклL,

где Pкл – усилие рабочего на рукоятке ключа;

L – длина рукоятки гаечного ключа.

 а                                            б

Рисунок 5 - Затяжка болтового соединения гаечным ключом

Этот момент должен преодолевать момент трения в резьбе


и момент трения на опорной поверхности гайки

Mоп = Ffоп(D3 – dот3)/(3(D2 – dот2)),

где

F — сила затяжки (рис. 5. а);

fоп — коэффициент трения на опорных поверхностях гайки и детали (он в общем случае может не равняться коэффициенту fр трения в резьбе);

D — наружный диаметр опорной поверхности гайки, принимаемый равным ее размеру под ключ (D ≈ l,7d2);

dот — внутренний диаметр опорной поверхности гайки, равный диаметру отверстия под болт; можно считать

dот = d + (1 ÷ 1,5) мм ≈ 1,2d2.

Тогда полный момент на ключе

Mкл = PклL = F(d2/2)tg(λ + ρ') + F(fоп/3)(D3 – dот3)/(D2 – dот2).

Если принять такие средние значения:

λ ≈ 2°30";

tg ρ' = fр ≈ 0,20, отсюда ρ' ≈ 11°18";

d2 = 15•10-3 м [3];

D ≈ 17d2 = 25,5•10-3 м;

dот ≈ 1,2d2 = 18•10-3 м;

fоп ≈ 0,15,

то можно получить значение силы F, которая растягивает болт, при приложении к стандартному гаечному ключу момента Mкл.

При закрывании двери камеры вручную, при затягивании прижимного винта (штревела), создается осевая нагрузка на дверь.

Расчет показывает, что при сжимающей нагрузке на нарезную часть штревеля, равную 300 Н, затягивающий момент на маховике составит

Mкл=300(((15•10–3)/2)tg(2°30"+11°18")+(0,15/3)((25,5•10–3)3-(18•10–3)3)/

((25,5•10–3)2-(18•10–3)2))=0,862 Н•м.

Эта величина соответствует среднему применяемому на практике моменту при затяжке вручную маховика диаметром 58 мм.

2.2 Расчёт механической прочности стоек

Если принять средние значения:

λ ≈ 2°30";

tg ρ' = fр ≈ 0,20, отсюда ρ'≈11°18";

d2 = 12,7•10–3 м [3];

D ≈ 17d2 = 21,59•10–3 м;

dот ≈ 1,2d2 = 15,27•10–3 м;

fоп ≈ 0,15,

то можно получить значение силы V, которая растягивает болт, при приложении к стандартному гаечному ключу момента Mкл.

Расчет показывает, что при растягивающей нагрузке на нарезную часть стойки, равную 3000 Н, затягивающий момент на гаечном ключе составит

Mкл=3000(((12,7•10–3)/2)tg(2°30"+11°18")+(0,15/3)((21,59•10–3)3-(15,27•10–3)3)

((21,59•10–3)2-(15,27•10–3)2))=8,87 Н•м.

Эта величина соответствует среднему применяемому на практике моменту при сборочных операциях в промышленности.

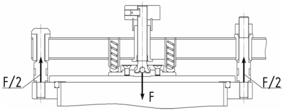
При закрывании двери камеры появляется сила, действующая на перекладину, которая передаётся на стойки, образуя дополнительное напряжение в стойках (рис. 6).

Рисунок 6 - Распределение центрального усилия на боковые стойки

Сила, действующая на каждую стойку равна

Fст = Fст0 + F/2 = 3000 +300/2 = 3150 Н

Это напряжение не превышает предельно допустимое напряжение, которое для используемой стали равняется (для резьбы М14) 5,75 кН.

2.3 Расчёт механической прочности двери

После внесения предмета в шлюзовую камеру, производят откачку воздуха и напуск аргона. При откачке в шлюзовой камере создаётся вакуум примерно равный 10–2 мм рт. ст. При создаваемой разнице давления в камере и атмосферного давления (Pатм=103000 Па) в двери шлюзовой камеры возникают напряжения. В результате этих напряжений дверь прогибается (рис. 7). Используя пакет программ SolidWorks Office Professional 2006, подсчитываем величину прогиба двери, которая составит 0,2 мм, что вполне допустимо для данного материала. Коэффициент запаса прочности равен 2,1.

Рисунок 7 - Прогиб двери шлюзовой камеры в результате разности давлений

3. РАСЧЁТ ДЛИТЕЛЬНОСТИ ОТКАЧКИ ПРИ КВАЗИСТАЦИОНАРНОМ ТЕЧЕНИИ ГАЗА

Стационарным течением газа называется такое, когда давление и поток неизменны во времени, а режим течения газа одинаков по всей длине трубопровода [4]. Однако при откачке реальных вакуумных систем довольно часто упомянутые условия стационарного течения не соблюдаются.

Расчет длительности откачки для реальных условий сложен. Для упрощения расчетов определяют длительность откачки для так называемого квазистационарного течения газа. Квазистационарным течением газа называют такое, при котором разность давлений на концах трубопровода мала по сравнению со средним давлением в нем, объем трубопровода значительно меньше объема откачиваемого сосуда, в трубопроводе в каждый момент времени существует только один режим течения газа.

Рисунок 8 - Схема вакуумной системы:

1 - откачиваемый сосуд (шлюзовая камера), 2 – трубопровод, 3 – кран, 4 – манометр, 5 – вакуумный насос

Для определения длительности откачки будем считать, что процесс откачки из сосуда 1 (рис. 8) происходит так медленно, что температура газа в сосуде постоянна и равна температуре стенок сосуда. Tогда за время dt из сосуда 1 объемом V удаляется количество газа, равное S0•p•dt, где p – меняющееся в процессе откачки давление газа в сосуде 1; S0 – эффективная быстрота откачки сосуда.

За этот же промежуток времени в объем сосуда 1 поступает с постоянной скоростью количество газа (за счет натекания), равное [4]

Q'dt,

где Q' - суммарный поток газа, поступающий в сосуд 1 за счет натекания и газовыделения.

Уравнение материального баланса, откачки сосуда имеет вид [4]:

Vdp = Q'dt – S0pdt,

где V - объем сосуда.

После разделения переменных получим:

dt = dp/(Q'/V – S0p/V),

откуда в предположении, что Q' и S0 при откачке не меняются, получим

t = V/S0ln((pнач – Q'/S0)/(p – Q'/S0)),

где pнач - давление в сосуде 1 перед началом откачки.

Для используемого вакуумного насоса (НВР-1Д) быстрота действия S0 = 1 л/с,

V = 26,4 л, pнач = 1 атм, p = 10–2 мм рт. ст., Q' был принят равным нулю из-за пренебрежимо малого натекания и газовыделения. При данном конечном давлении откачки камеры снижением быстроты действия насоса можно пренебречь (предельное давление откачки насоса составляет 10–4 мм рт. ст.).

t=26,4/1ln(1,01∙105/1,3)=292,5 с

Данная оценочная длительность откачки (менее 5 минут) вполне приемлема для практического использования.

4. ТЕХНИКА БЕЗОПАСНОСТИ

Перед использованием шлюзовой камеры надо чётко исполнять правила техники безопасности:

· Периодически смазывать резиновые уплотнения камеры.

· Не вносить в камеру лёгкокипящие жидкости в открытой посуде.

· Вещества вносить только в специальной закрытой посуде, выдерживающей разность давлений, создаваемую при откачке воздуха.

· Следить за количеством и чистотой масла в вакуумном насосе.

· Аккуратно закрывать двери камеры, чтобы не нанести себе травмы.

ЗАКЛЮЧЕНИЕ

В ходе выполненной работы была сконструирована, рассчитана на прочность и построена шлюзовая камера для внесения приборов, материалов и инструментов в перчаточный бокс, без нарушения чистоты его атмосферы. Шлюзовая камера отвечает всем выше приведённым техническим характеристикам. По результатам механических расчётов самых напряженных узлов камеры можно сделать вывод, что шлюзовая камера будет исправно работать в течение длительного времени. Конструкция и технологические возможности построенной шлюзовой камеры очень близки к зарубежным аналогам.

СПИСОК ЛИТЕРАТУРЫ

1. Чернин, И.М. Расчёты деталей машин / И.М. Чернин, А.В. Кузьмин, Г.М. Ицкович. Минск: Вышэйшая школа, 1974. - 592 с.

2. Справочник конструктора-машиностроителя: в 3 т. / под ред. В.И. Анурьева. Москва: Машиностроение, 2001. - Т. 1. - 914 с.

3. Основы вакуумной техники: учебник для техникумов / А.И. Пипко,

В.Я. Плисковский, Б.И. Королёв, В.И. Кузнецов; 2-е изд., перераб. и доп. М.: Энергоиздат, 1981. - 432 с.


Не нашли материал для своей работы?
Поможем написать уникальную работу
Без плагиата!
Без нейросетей!