Комплексна електрифікація виробничих процесів кормоцеху ферми

  • Вид работы:
    Дипломная (ВКР)
  • Предмет:
    Технология машиностроения
  • Язык:
    Русский
    ,
    Формат файла:
    MS Word
    225,78 kb
  • Опубликовано:
    2010-08-29
Вы можете узнать стоимость помощи в написании студенческой работы.
Помощь в написании работы, которую точно примут!

Комплексна електрифікація виробничих процесів кормоцеху ферми

ВСТУП

 

Однією із базових галузей народного господарства є енергетика. Електрифікація всіх галузей народного господарства має широке і всебічне використання електричної енергії в промисловості і транспорті, сільськогосподарському виробництві і є однією з основних умов стійкого розвитку сільського господарства. Нинішній етап розвитку електрифікації сільського господарства характеризується переходом до комплексної електрифікації.

Комплексна електрифікація – це вища економічно-ефективна і раціональна стадія електрифікації виробничих процесів. Вона передбачає поєднання прогресивної машинної технології виробництва, автоматизованої системи електрифікованих машин, раціональної організації праці і виробництва.

У системі агропромислового комплексу електрифіковано велику кількість установок водопостачання і зрошення, високопродуктивних агрегатів для сушіння і сортування зерна, потокових ліній цехів і заводів приготування кормів, великих птахофабрик, комплексів промислового типу з відгодівлі великої рогатої худоби, підприємства з переробки сільськогосподарської продукції.

За останні роки парк електрообладнання в агропромисловому комплексі значно поповнився, став більш досконалим за енергетичними характеристиками. У господарствах щороку споживається більш ніж 10% усієї виробленої в країні електроенергії, а за сумарною потужністю, кількістю і номенклатурою використовуваного електрообладнання сільського господарства України займає одне з провідних місць серед галузей народного господарства.

Не дивлячись на деякі позитивні результати, досягнутий рівень електрифікації сільського господарства і обсяг електроспоживання не відповідає можливостям щодо повного забезпечення населення країни необхідною сільськогосподарською продукцією.

Електрооснащеність праці в сільськогосподарському виробництві в шість разів менша ніж у промисловості. Споживання у побуті електроенергії в селі майже у три рази нижче, ніж у місті.

Для вирішення названих проблем необхідно підняти на якісно новий ступінь базу сільської енергетики, технічно переоснастити, прискорити виробництво нового електрообладнання, а також внести дійові заходи щодо підвищення надійності електропостачання, збільшення обсягів електромонтажного будівництва, зміцнення виробничої бази енергетичної служби на селі і зокрема кадрами.

Метою дипломного проекту є комплексна електрифікація виробничих процесів кормоцеху ферми ВРХ з вибором електрообладнання і засобів автоматизації лінії приготування грубих кормів.

1. ЗАГАЛЬНА ЧАСТИНА

1.1 Виробничо-господарська характеристика господарства за останні три роки

Господарство АКПП „Ладижинський” знаходиться у місті Ладижин Вінницької області по вулиці Слобода. Центральна частина господарства знаходиться на відстані 2 км від центру старої частини міста. за 120 км до обласного центру Вінниця та 4 км від залізничної колії ст.. Ладижин. Господарство має вигідне економічне розташування. Підприємство складається з одного відділення, в якому знаходяться: молочно-товарна ферма, свиноферма, телятники, склади для зберігання сільськогосподарської продукції, тракторний стан і кормовий двір.

Господарство АКПП „Ладижинський” розташоване у лісостеповій зоні, грунти переважно чорноземи, суглинисті і супіщані. Перші заморозки припадають на початок осені, а останні на середину травня. Вітри переважно північно-західні, середньорічна температура становить +50С. в загальному грунтово-кліматичні умови характерні для зони не стійкої вологості, лісостепу України.

Живлення електрообладнання господарства двостороннє повітряними лініями ЛЕП 10 кВ (основне і резервне).

Виробничі напрямки господарства – виробництво зернових і бурякових культур, молока, м’яса. Основні галузі: молочне і м’ясне тваринництво.

Розвиток галузі тваринництва господарства приведений у таблиці 1.1

Таблиця 1.1 Розвиток галузі тваринництва.

Види тварин

Поголів’я

Гол.

Продуктивність 1 голови на рік

1. Кількість ВРХ всього

молочне стадо

на відгодівлі

2. Свиноматки

свині на відгодівлі

649

176

473

28

410

3350


З таблиці 1.1 можна зробити висновки що господарство спеціалізується на вирощуванні тварин на відгодівлю. Поголів’я корів становить 176 голів кожна з яких дає 3350 літрів молока за рік.

Таблиця 1.2 Основні економічні показники.

Показники

2002

2003

План на 2004

1.

Валова продукція, тис. грн..

В спів ставних цінах. У тому числі

В рослинництві, тис. грн..

В тваринництві, тис. грн..

3010

2110

880

3020

2120

900

2920

2103

817

2.

Кількість с. г. працівників зайнятих в с. г. виробництві. Чол..

390

405

386

3.

Затрати праці всього

Тис. грн.

620

628

610

4.

Вироблено В.П. на одного працівника

Грн..

1560

1550

1580

5.

Вироблено В.П. на 1 люд/год.

Грн..

4,38

4,17

4,56

6.

Всього затрат на виробництво

Тис. грн.

3895

3985

3864

7.

Прибуток господарства

Тис. грн.

200

195

210

8.

Рентабельність

%

2,78

0,218

7,95


Аналізуючи данні таблиці 1.2 видно, що в 2004 році рівень рентабельності господарства збільшився на 7,95 % при зменшені затрат на виробництво на 67 тис. грн.

Утримання корів на молочно-товарній фермі на 200 голів стійлове, прив’язне. Стійла розміщуються у 4 ряди, утворюючи 2 кормових проходи. В одному ряду розміщується 50 корів.

1.2. Характеристика електротехнічної служби

 

Електрообладнання молочно-тваринницької ферми живиться від КТП № 117 потужністю 250 кВА, повітряною лінією 0,4 кВ, проводом марки А25.

Проектом передбачається встановлення на фермі слідуючого електрообладнання та установок: електронагрівник, скребкові гноєтранспортери, доїльні установки, припливно-витяжна вентиляція, освітлювальні установки. Перелік електрообладнання та їх марки приведені в таблиці 1.3 перелік електрообладнання.

Таблиця 1.3 Перелік електрообладнання.

Назва обладнання

Кількість, шт

Марка

Доїльна установка

Гноєтранспортер

Вентиляційна установка

Електроводонагрівник

2

2

1

1

АДМ-8А-2

ТСН-160

УТ-Ф-12

УАП-400/0,9-М1


У своєму підпорядкуванні господарство має 38 електродвигунів, загальна потужність яких 148.6 кВт.

Відповідальність за організацію технічної служби та правильність експлуатації веде керівник господарства, на балансі якого перебувають ці електродвигуни. Відповідальність за їх справність, а також за правильний ремонт і технічне обслуговування несе головний енергетик, а також електромонтери, що виконують обслуговування електрообладнання.

1.3 Аналіз техніко-економічних показників об’єкту

За рік господарство споживає 168 тис. кВт/год. електроенергії.

Обсяг робіт на підприємстві складає 250 у.о. тому тут застосовується комплексна форма обслуговування.

Склад електротехнічної служби кваліфікований інженер електрик має Ⅴ групу допуску, електромонтери 4 розряду та Ⅳ групи допуску.

Трансформаторна підстанція а також лінії електропередач 0,4 кВ, які пролягають по господарству та населеному пункту, підлягають обслуговуванню електротехнічною службою господарства.

Всі операції з технічного обслуговування і поточного ремонту здійснюється на договорній основі. Підприємства, що приймали електрообладнання на комплексне обслуговування, організовують на базі ЕТС (електротехнічної служби) господарства експлуатаційну ділянку.

 

1.4 Технологія виробничих процесів

Всі технологічні процеси на фермах ВРХ механізовані і електрифіковані. Роздача грубих кормів відбувається транспортним причепним кормораздатчиком КТУ-10А, а завантаження кормів в кормораздатчик – за допомогою завантажувача ПСК-5. Роздача концентрованих кормів здійснюється вручну. Напування тварин водою відбувається за допомогою автопоїлок ПА-1А. Доїння корів здійснюється два рази у день за допомогою установок АДМ-8А-2 у стійлах у доїльні відра, звідки молоко зливається у резервуар-охолоджувач, який знаходиться у молокоприймальному приміщенні.

Видалення гною із стійлового приміщення здійснюється скребковим транспортером ТСН-160 (передбачається встановити два гноєтранспортери), які складаються з горизонтальних і похилих транспортерів.

Для створення мікроклімату в приміщенні ферми монтується механічна припливно-витяжна вентиляція, з підігрівом повітря взимку.

Технологія утримання тварин передбачає використання солом’яної підстилки на протязі року.

Якість корму в значній мірі залежить від технології і якості переробки, приготування один з основних факторів, які визначають продуктивність тварин.

Корма для тварин на тваринницьких фермах готують в кормоцехах та кормокухнях. Кормоприготувальні машини поставляються в комплекті з електродвигунами і апаратурою керування. Потужність кормоприготувальних машин залежить від ступеню подрібнення і механічних властивостей матеріалу що переробляється, гостроти ножів і продуктивності машин. У зв’язку з важкими умовами пуску під навантаженням з можливим забиванням і заклинюванням обертових частин кормоприготувальні машини запускають без навантаження.

У кормоцеху знаходиться агрегат АПК-10А. До складу агрегату входять: потокові лінії приготування грубих кормів, концентрованих і коренебульбоплодів. Також агрегат пристосований для миття коренебульбоплодів.

На рамі агрегата встановлена шнекова мийка і подрібнювач-змішувач. Подача шнека регулюється ступінчасто (12 ступенів) зміною вінців зірок на його приводі.

На барабані подрібнювача-змішувача розміщені ножі для подріблення стеблистих кормів, молотки для подрібнення коренебульбоплодів. У корпусі подрібнювача вмонтовано дві деки на яких закріплюються або проти різальні чавунні колодки або по 12 протирізальних ножів. Ступінь подріблення грубих кормів регулюється кількістю ножів, а також зазорами між ними.

Грубі і соковиті корми через бункери-дозатори подаються на приймальний транспортер агрегату, який направляє їх у зону ножів подрібнювача. Попередньо подріблені ножами корми направляються у зону роботи молотків, де додатково розчіплюються вздовж волокон і змішуються з коренебульбоплодами.

Коренебульбоплоди порціями завантажують у приймальний бункер мийки-дозатора і шнеком подаються у зону молотків подрібнювача-змішувача. Проходячи через кожух шнека коренебульбоплоди відмиваються струменем води.

2 ОРГАНІЗАЦІЯ ВИРОБНИЦТВА

2.1 Розрахунок освітлення

2.1.1 Визначення категорії приміщення

Вибір електрообладнання, марки проводів та виду їх прокладання все це залежить від категорії приміщення. Тому перед вибором електрообладнання потрібно визначити до якої категорії відноситься дане приміщення.

Кормоцех відноситься до особливо вологих приміщень з відносною вологістю близько 70%, стеля, стіни, підлога і всі предмети у приміщені вологі. У таких приміщеннях температура та вологість майже не відрізняються від температури та вологості навколишнього середовища.

По пожежонебезпеці дане приміщення відноситься до класу П-11, тобто приміщення із горючим пилом або волокнами з нижньою межею загоряння понад 65 г/м3. сюди відносяться не тільки кормоцехи, але й деревообробні цехи, зерносушарки, зерносховища.

 

2.1.2 Розрахунок освітлювальних пристроїв

Джерелом живлення є мережа змінної напруги 380/220 В. Відповідно до нормативних документів для приміщення кормоцеху приймаємо номінальну освітленість Ен=50 лк. [10 Л. 163 с.], коефіцієнт запасу Кз=1,7.

Для розрахунку освітлення даного приміщення приймаємо світильники типу НСП.

Для приміщення кормоцеху виконуємо розрахунок методом коефіцієнта використання світлового потоку, а для допоміжних приміщень методом питомої потужності.

Розрахунок ведемо за методом коефіцієнта використання світлового потоку для освітлення приміщення кормоцеху розмірами 19х11х5 м, з коефіцієнтом відбиття стелі pст=50%; стін pс=30%; підлоги pп=10%.

Визначаємо розрахункову висоту підвісу світильників.

Нр=Н – (hз + hр)=5 – (0,5+0)=4,5 м, (2.1)

де hз – висота звисання, м;

hр – рівень робочої поверхні від підлоги, м;

Н – висота приміщення, м.

Вибираємо значення найвигіднішої відносної відстані між світильниками

λ= 1,4...1,6 [10Л, 162 с.]

Визначаємо оптимальну відстань між світильниками.

L=λHp=(1,4...1,6)х4,5=6,3...7,2 м, (2.2)

Приймаємо L=6,8 м.

Приймаємо схему розміщення світильників по вершинах прямокутників.

np=B/L=11/6,8=2 (2.3)

де В – ширина приміщення, м;

Визначаємо відстань від крайніх світильників до стін.

Lc=0,5 x L=0,5 x 6,8=3,4 м. (2.4)

Розрахункова відстань між рядами.

LB=(B – 2Lc)/(np – 1)=(11 – 2 x 3,4)/(1,6 – 1)=7 м. (2.5)

Розрахункова відстань між світильниками в ряду

La=L2/LB=6,82/7=6,6 м (2.6)

Кількість світильників у ряду

Na=((A-2LC)/La)+1=((19 - 2x3,4)/6,6)+1=2,8 шт (2.7)

Приймаємо na=3 світильників у ряду.

Загальна кількість світильників

N=np x na=2 x 3=6 шт [10Л. 162с.] (2.8)

Визначаємо індекс приміщення [10Л. 163с.]

і=АВ/(Нр(А+В))=19 х 11/(4,5(19+11))=1,5 (2.9)

Вибираємо коефіцієнти відбиття поверхонь:

стелі pст=50%

стін pс=30%

підлоги pп=10%

Вибираємо коефіцієнт використання світлового потоку η=0,25

Визначаємо розрахунковий світловий потік світильника

Фр.с.=(ЕнАВКзZ)/Nη [10Л. 161с.] (2.10)

де Z – коефіцієнт нерівномірності освітлення (для світильників з лампами розжарювання Z=1,1)

Фр.с.=(50 х 19 х 11 х 1,7 х 1,1)/6 х 0,25=5169 лм

Вибираємо лампу типу Г220 – 230 – 300, з потужністю Рл=300 Вт, та із світловим потоком Фл=4610 лм. [10Л. 148с.]

Визначаємо фактичну освітленість за формулою

Ефнлm)/Фр.с. (2.11)

де m – кількість ламп у світильнику

Еф=50(4610 х 1)/5169=44,6 лк

Визначаємо відхилення освітленості

Е=((Еф – Ен)/Ен)100%=((44,6 – 50)/50)100%= - 8,9 (2.12)

що входить в нормативні допустимі відхилення, у межах – 10...+ 20%

Визначаємо установлену потужність освітлювальної установки

РулmN=300 х 1 х 6=1800 Вт (2.13)

Для допоміжних приміщень виконуємо розрахунок освітлення методом питомої потужності [10Л. 167с.]

Приймаємо значення питомої потужності світильника типу НСП у побутовому приміщенні розмірами 7х4х4 м.

Визначаємо розрахункову потужність лампи

Рлпит.S/N (2.14)

де Рпит. – питома потужність, Вт/м2, Рпит.=14,5 Вт/м2

S – площа приміщення, м2

Рл=(14,5 х 28)/1=406 Вт

Вибираємо дві лампи по 200 Вт, Б215-225-200, [10Л. 147с.]. Тип світильників НСП 09х200 (2 шт.)

Аналогічно виконуємо розрахунок освітлення для інших приміщень і вибираємо типи ламп і світильників, отримані результати заносимо у таблицю 2.1

Таблиця 2.1 Результати розрахунків освітлювальних установок для приміщень.

1.

2.

3.

4.

5.

6.

Примітки






Установлена потужність, кВт

300

200

150

60

200

Тип лампи

Г220-230-300

Б215-225-200

Б215-225-150

БК230-240-60

Б215-225-200

1.

2.

3.

4.

5.

6.

Світильник

Кількість

6

2

2

2

1

Тип

НСП01х300

НСП09х200

НСП09х200

НСП03х60

НСП09х200

Коефіцієнт запасу

1,7

1,7

1,7

1,7

1,7

Нормована освітленість, лк.

50

100

50

20

50

Вид освітлення

Технол.

Технол.

Технол.

Технол.

Технол.

Система освітлення

Заг. Рівном.

Заг. Рівн.ом.

Заг. Рівом.

Заг. Рівом.

Заг. Рівом.

Характеристика приміщення

Коефіцієнт відбивання, %

Підлоги

10

10

10

__

10

Стін

30

30

30

__

30

Стелі

50

50

50

__

50

Клас по середовищу

Особливо вологе

Вологе

Вологе

___

Особливо вологе

Розрахункова висота, м

4,5

3,5

3,5

___

3,5

Площа, м2

209

28

16

___

12

Назва приміщення

Кормоцех

Побутове приміщення

Електрощитова

Зовнішнє освітлення

Приміщення водонагрівника

Номер за планом

1

2

3

_

4

 

2.1.3 Вибір пускозахисної апаратури

Для керування освітленням кормоцеху вибираємо щит освітлення типу РУС8132-0200-5400, 3 однополюсних вимикача АЕ1031.

Таблиця 2.2 Розподіл освітлювальної проводки на групи.

Номер групи

Система групи

Номер приміщення на плані

Кількість ламп

Установлена потужність ламп, кВт

Примітка

1

А + N

1, 2, 3, 4

13

2,8



Вибираємо пускозахисну апаратуру для приміщення кормоцеху (від струмів перевантаження).

Визначаємо робочий струм на вводі.

Ір=ΣРл х 103/Uф=2820/220=12,8 А (2.15)

де Рл – потужність лампи, Вт;

Uф – напруга живлення, В.

За робочим струмом вибираємо автомат за умовами

Іном. пл.. в.≥Ірозр.; Іном. р.≥Ірозр.; Іус.≥1,4Ірозр.

де Іном.пл.в.- номінальний струм плавкої вставки, А;

Ірозр. – розрахунковий струм групи, А;

Іном.р.- номінальний струм розчіплювачів автоматичного вимикача, А;

Іу.с. – струм уставки спрацювання електромагнітного розчіплювала, А.

Вибираємо автомат ВА 16-26-1400110-20УЗ з такими параметрами:

31,5А>12,8А; 16А>12,8А; 225А>16,6А

2.1.4 Вибір марок проводів, кабелів, їх перерізів і способів прокладання

Площу поперечного перерізу проводів і кабелів вибирають так щоб вони не нагрівалися максимально тривалим робочим струмом більше встановлених норм і мали достатню механічну міцність. Для відгалужень до окремих електроспожівачів, що працюють з постійною номінальною споживаною потужністю. За максимально тривалі робочі струми приймають їх номінальні струми.

Ін.р.н.

Повинні виконуватися такі умови:

Ідоп.≥Іроб.


де Ідоп. – допустимо робочий струм провода, А;

Іроб. – номінальний струм групи, А;

Із – струм спрацювання захисного апарата, А

19А>12,8А

19А>16А

Згідно вищевказаних умов і вимог ПУЄ вибираємо переріз жили кабеля 1,5 мм, двожильний, для прокладання відкрито із допустимим струмом Ідоп.=19А, АПВ 2(1х1,5), із мідними жилами.

Таблиця 2.3 Вибір марки, перерізів і способів прокладання проводів.

Назва приміщення

Струм мережі, А

Марка провода

Спосіб прокладання

1

Ввідний провід

12,8

АПВ 2(1х1,5)

Під штукатуркою

2

Кормоцех

12,8

АПВ 2(1х1,5)

Під штукатуркою


2.1.5 Складання розрахункової монтажної схеми освітлювальної мережі

Для того аби скласти розрахунково-монтажну схему спочатку необхідно визначити силу струму, вибрати засоби автоматизації, переріз проводів, марку і кількість світильників, освітлювальний щиток.

Розрахунково-монтажна схема освітлювальної мережі приведена на аркуші 1 графічної частини проекту.

2.2 Розрахунок силового обладнання

2.2.1 Вибір електричних двигунів

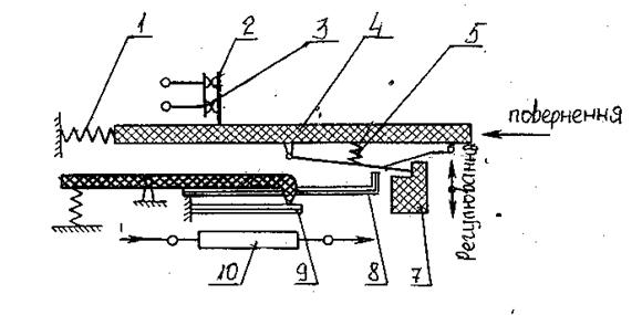
Агрегат АПК-10А (ТУ 105-3-737-86) використовують для одночасного подрібнення і змішування грубих кормів, силосу, сінажу, коренебульбоплодів, концентрованих кормів і розчинів різних добавок з метою поточного приготування повно раціональних кормових сумішей у кормоцехах ферм ВРХ.

Агрегат складається з приймального транспортера 2 (рис. 2.1), розпилювача розчинів мікро добавок 3, шнекової мийки-дозатора 7, насоса К20/30У2 8, насоса СД50/10б 9, транспортера готової суміші 11, подрібнювача-змішувача 12.

Подача коренебульбоплодів










Рисунок 2.1 Технологічна схема агрегату АПК-10А.

Вибираємо електродвигун для подрібнювача-змішувача. Знаходимо потужність двигуна за формулою [7Л. 170с.]

Р=kхanQ (2.16)

де kx =1,15...1,2 коефіцієнт, який враховує втрати холостого ходу;

an – енергія, яку затратили на подрібнення кВт х г/т;

Q – продуктивність подрібнювача, т/г.

Р=(1,15...1,2) х 11,2 х 3=39 кВт

За отриманим результатом Р=39 кВт вибираємо електродвигун 4АМР200L4УЗ [8Л. 26с.] з параметрами Р=45 кВт, nн=1470 об./хв..; Ін=87,4 А; μн=2,0; Кі=7,0.

Аналогічно вибираємо інші електродвигуни.

Вибір електроводонагрівника.

У сільськогосподарському виробництві для технологічних потреб застосовують електроводонагрівники ВЄТ, УАП. Добова потреба кормоцеху у гарячій воді складає 200 літрів, тому для потреб вибираємо водонагрівник УАП-400/0,9-М1 із місткістю бака 400 літрів.

Параметри: [7Л. 293с.]

- місткість резервуара, л – 400, номінальна потужність 12 кВт, номінальна напруга 380 В

- кількість нагрівників води 6 ТЕНів по 2 кВт, температура гарячої води 0С – 90

Отримані технічні дані заносимо у таблицю 2.14

Таблиця 2.14 Технічна характеристика електродвигунів.

Марка електродвигуна

Потужність, Рн, кВт

Струм, Ін, А

Кратність пускового струму, Кі

Д1

4АМ100S4СУ1

3

6,7

6,5

Д2

4АМ100S2У2

4

7,9

7,5

Д3

4АМ90L2У2

3

6,1

6,5

Д4

МПЗ2-31,5-90-КУЗ

1,1

2,48

5,5

Д5

4АМР200L4УЗ

45

87,4

7,0


2.2.2 Вибір розподільчих пристроїв

Для вибору розподільного пункту враховуємо всі робочі струми двигунів і освітлення, які знаходяться у кормоцеху, для мережі 380/220 В.

Розраховуємо струм розподільного пристрою

Ір.п.=ΣІр.щ.о.в.н.=6,7+7,9+6,1+2,48+87,4+12,8+18=141,3 А (2.16)

де Ір – робочі струми двигунів, А;

Іщ.о. – робочий струм щитка освітлення, А;

Ів.н. – струм водонагрівника, А

За визначеним струмом вибираємо розподільну шафу ШР11-73702-54УЗ [10Л. 33с.] розраховану на номінальну силу струму Ін=250 А, на вводі якого розміщено рубильник Р18-353, розрахована на 5 трифазних груп.

2.2.3 Вибір пускозахисної апаратури

Для захисту двигунів від короткого замикання і перевантаження, а також для захисту електродвигунів вибираємо електромагнітні пускачі, автоматичні вимикачі та теплові реле.

Вибираємо електромагнітний пускач для двигуна типу 4АМР200L4УЗ з Рн=45 кВт, Ін=87,4 А.

Електромагнітний пускач вибираємо нереверсивний, без кнопок керування, без сигнальних ламп. Попередньо вибираємо ПМЛ-6100О4Б, який має відповідати таким вимогам:

Uп.ном.≥Uмер.

600 В>380 В

Ін.р.н.дв.

125 А>87,4 А

Знаходимо пусковий струм за формулою

Іп.н.дв. х Кі=87,4 х 7,0=611,8 А (2.17)

Іном.р.≥Іп/6

125 А>101,9 А

де Іном.р. – номінальний робочий струм пускача, А;

Uп.ном. – номінальна напруга, В;

Uмер. – напруга мережі, В;

Іп. – пусковий струм, А.

Отже умовам вибору відповідає пускач ПМЛ-6100О4Б [8Л. 73с.]. Аналогічно вибираємо інші пускачі, дані розрахунків записуємо в таблицю 2.5

Таблиця 2.5 Засоби автоматизації.

Марка електродвигуна

Марка пускача

Марка теплового реле і діапазон струмів, А

1

2

3

4

Д1

4АМ100S4СУ1

ПМЛ-1100О4Б

РТЛ-1012-04 (5,5-8)

Д2

4АМ100S2У2

ПМЛ-1100О4Б

РТЛ-1014-04 (7-10)

1

2

3

4

Д3

4АМ90L2У2

ПМЛ-1100О4Б

РТЛ-1012-04 (5,5-8)

Д4

МПЗ2-31,5-90-КУЗ

ПМЛ-100О4Б

РТЛ-1008-04 (2,4-4)

Д5

4АМР200L4УЗ

ПМЛ-6100О4Б

РТЛ-3105-04 (75-105)


Вибираємо автоматичний вимикач для двигуна 4АМР200L4УЗ за умовами:

Uа.ном.≥Uмер.; І.ном.р.≥Ін.д.; Іе.р.≥КрІп

де Uа.ном.- напруга на яку розрахований автомат, В;

Uмер. – напруга мережі, В;

І.ном.р. – струм номінальний розчіплювача, А;

Ін.д. – струм номінальний двигуна. А;

Іе.р. – струм уставки електромагнітного розчіплювача автомата, А;

Кр. – коефіцієнт, що враховує розкид по струму розчіплювача Кр=1,5;

Іп – пусковий струм двигуна, А.

Вибираємо автомат серії ВА51-31-34 [8Л. 63с.] з номінальною силою струму розчіплювача Іном.р.=100 А

100 А>87,4 А

Визначаємо каталожне значення струму спрацювання

Іе.р.=10Іном.р.=10 х 100=1000 А

1000 А>1,5 х 611,8=917,7 А

З розрахунків видно, що для автомата ВА51-31-34 неправильних спрацювань не буде.

Аналогічно вибираємо інші автомати, отримані дані заносимо у таблицю 2.6

Таблиця 2.6 Вибрані автоматичні вимикачі для двигунів.

Марка електродвигуна

Автоматичні вимикачі

Uа.н., В

Іс.р., А

Іе.р..., А

Д1

4АМ100S4СУ1

ВА51-25-34

660

8

10Іс.р.

Д2

4АМ100S2У2

ВА51-25-34

660

8

10Іс.р.

Д3

4АМ90L2У2

ВА51-25-34

660

6,3

10Іс.р.

Д4

МПЗ2-31,5-90-КУЗ

ВА51Г25-34

660

3

14Іс.р.

Д5

4АМР200L4УЗ

ВА51-31-34

660

100

10Іс.р.


Вибираємо автоматичний вимикач для всього електричного обладнання кормоцеху (електродвигуни, водонагрівник). Розраховуємо струм електромагнітного розчіплювача

Іе.р.макс.≥К0ΣІрп.н. (2.18)

де К0 – коефіцієнт одночасності;

ΣІр. – сума робочих струмів електродвигунів без найпотужнішого, А;

Іп.н. – найбільший пусковий струм одного з двигунів, А.

Іе.р.макс.>1 х 41,1 + 611,8=653 А

Вибираємо автомат АЕ2060-20Р-ІР00УЗА [8Л. 60с.] Uа.н.=380 В, Іа.н.=160 А, Іе.р.макс.=1600 А.

 

2.2.4 Вибір марок проводів, кабелів, їх перерізів і способів прокладання

Максимально робочий струм магістралі від якої живляться кілька електроприймачів, визначають за формулою

Імакс.р.0ΣІн.=1(6,7+7,9+6,1+2,48+87,4+12,8+18)=106 А (2.19)

де К0 – коефіцієнт одночасності роботи приймачів;

ΣІн. – сума номінальних струмів усіх приймачів, А.

Вибираємо кабель за умовою:

Ідоп.≥Імакс.р.

де Імакс.р. – максимальний робочий струм магістралі, А;

Ідоп. – допустимий струм провода чи кабеля, А.

110 А>106 А

Вибираємо кабель АВВГ4(1 х 50) але вибраний кабель необхідно перевірити на відповідність його перерізу апарату захисту за умовою:

Ідоп.зІз

де Кз. – кратність допустимо тривалого струму провідника по відношенню до номінального струму, або струму спрацювання захисного апарату;

Із. – струм спрацювання захисного апарата, А.

110 А>0,22 х 160 А=35,2 А

Тому остаточно приймаємо кабель АВВГ 4(1 х 50) F=50 мм2, чотирижильний ГОСТ 16442-80 (19.20.06-81) для вводу у приміщення. [10Л. 41с.]

Аналогічно розраховуємо кабелі для інших ділянок лінії, отримані результати заносимо у таблицю 2.7

Таблиця 2.7 Вибір кабелів і проводів для приміщення кормоцеху.

Марка електродвигуна

Ін.спож.. А

Марка кабеля

Ідоп., А

Примітка

1

2

3

4

5

6

Д1

4АМ100S4СУ1

6,7

АВВГ3(1х2,5)

19

ГОСТ16442-80 (19.20.06-81)

Д2

4АМ100S2У2

7,9

АВВГ3(1х2,5)

19

ГОСТ16442-80 (19.20.06-81)

Д3

4АМ90L2У2

6,1

АВВГ3(1х2,5)

19

ГОСТ16442-80 (19.20.06-81)

Д4

МПЗ2-31,5-90-КУЗ

2,48

АВВГ3(1х2,5)

19

ГОСТ16442-80 (19.20.06-81)

Д5

4АМР200L4УЗ

87,4

АВВГ3(1х35)

90

ГОСТ16442-80 (19.20.06-81)

1

2

3

4

5

6


УАП-400/0,9-М1

18

АВВГ4(1х2,5)

19

ГОСТ16442-80 (19.20.06-81)


Щиток освітлення

12,8

ППВ2(1х2,5)

19

ГОСТ6323-79 (19.23.04-80)


2.2.5 Складання розрахункової монтажної схеми силової мережі

Розрахунково-монтажна схема силової мережі вміщує у собі зображення і розміщення силового обладнання розподільчих пристроїв, електропроводки, шаф керування та іншого обладнання, які представлені у таблиці 2.8

На схемі також вказано марки і перерізи силової електропроводки, тип силового щита, тип електроприймачів, марка автоматів.

Розрахунково-монтажна схема силової мережі приведена на аркуші 2 графічної частини проекту.

Ввід

Розподільний щит ЩР1

Магістраль. електропроводки

Комплектний пристрій керування

Розподільні електропроводки

Електроприймач

Примітка

Марка і переріз жил кабеля мм2

Апарат на вводі

Тип щитка

Автоматичний вимикач

Розрахунковий струм, А

Марка і переріз жил кабеля мм2

Тип КПК

Автоматичний вимикач

Тип магнітного пускача

Теплове реле

Розрахунковий струм, А

Марка і переріз жил кюбеля, мм2

Тип

Встановлена потужність, кВт

Тип вимикача

Ін.р., А

Іе.м.р.. А

Від ТП АВВГ 4(1х50)

Р 18-353

ШР 11-73702-54УЗ

АЕ 2060

160

12Ін.р.

110

АВВГ 4(1х50)

ЕИЛА65663-754-01

ВА51-25-34

ПМЛ-1100О4Б

РТЛ-1012-04 (5,5-8)

19

АВВГ 3(1х2,5)

4АМ100S4СУ1

3

Транспортер вивантаження

ВА51-25-34

ПМЛ-1100О4Б

РТЛ-1014-04 (7-10)

19

АВВГ 3(1х2,5)

4АМ100S2У2

4

Насос подачі води

ВА51-25-34

ПМЛ-1100О4Б

РТЛ-1012-04 (5,5-8)

19

АВВГ 3(1х2,5)

4АМ90L2У2

3

Насос відкачки води

ВА51Г25-34

ПМЛ-100О4Б

РТЛ-1008-04 (2,4-4)

19

АВВГ 3(1х2,5)

МПЗ2-31,5-90-КУЗ

1,1

Мотор-редуктор шнека мийки

ВА51-31-34

ПМЛ-6100О4Б

РТЛ-3105-04 (75-105)

90

АВВГ 3(1х35)

4АМР200L4УЗ

45

Подрібнювач змішувач

19



ПМЛ-200О4Б


19

АВВГ 4(1х2,5)

УАП-400/0,9-М1

12

Водонагрівник




19

ППВ2(1х1,5)

РУС8132-0200-5400

АЕ1031



19

ППВ2(1х1,5)

НСП

2,8

Технічне освітлення



2.3 Вибір типу і потужності ТП

Електричні навантаження на вводах приміщення визначається з нормативних даних по електричних навантаженнях виробничих, громадських та комунально-побутових споживачів, які приведені у таблиці 2.9

Таблиця 2.9 Потужність навантаження даного максимуму на вводах споживачів.

Назва об’єкта

Денний максимум

Рд., кВт

cos υд

1

Водокачка

3

0,75

2

Склад

3

0,7

3

Свинарник

17

0,92

4

Корівник

45

0,92

5

Молочний блок

15

0,92

6

Телятник

6

0,92

7

Кормоцех

37

0,75

8

Телятник

3

0,92


Всього

129



Виконуємо розрахунок для денного максимуму. До першої групи належать 1, 2, 6, 8; до другої 3, 5; до третьої 4 і 7. Сумуємо потужності навантаження у межах однієї групи за формулою

Ргр. = К0ΣРд., кВт (2.20)

де К0 – коефіцієнт одночасності;

Рд. – потужність навантаження денного максимуму на вводі, кВт.

Рд.гр.1=0,7(3+3+6+3)=10,5 кВт

Рд.гр.2=0,7(17+15)=22,4 кВт

Рд.гр.3=0,7(45+37)=57,4 кВт

Сумуємо потужності всіх споживачів

Рд.=10,5+22,4+57,4=90,3 кВт

Розраховуємо повну потужність навантаження

Sд.д/cosυ (2.21)

де Рд. – потужність денного максимуму, кВт;

cosυ – коефіцієнт потужності навантаження.

Sд.=90,3/0,75=120,4 кВА

Отже вибираємо одну трансформаторну підстанцію із знижувальним трансформатором ТМ-160 з комплектною трансформаторною підстанцією КТП160-10/0,4 У1 [10Л. 20с.].

3 СПЕЦІАЛЬНА ЧАСТИНА

3.1 Розробка схеми керування лінією приготування лінією приготування грубих кормів

Для приготування грубих кормів був вибраний агрегат АПК-10А. Цей агрегат готує суміші кормів до яких відносіться і грубі корми. Для того щоб приготувати грубі корми необхідно їх подрібнити ножами та молотками для кращого роз’єднання волокон, а потім змішати з іншими кормами.

Для легкості роботи агрегат автоматизовано, тобто приготування відбувається автоматично.

Схема керування автоматизована за допомогою таких засобів автоматизації як пускачі, реле часу, проміжні реле, автомати, перемикачі, сигнальні лампи. За допомогою цих засобів автоматизації виконуються всі необхідні роботи, разом з цим полегшуються умови праці обслуговуючого персоналу. У схемі керування не використовуються прилади особливого призначення, дорогих засобів автоматизації, що у свою чергу полегшує витрати на ремонт. Тому для приготування грубих кормів обираємо схему керування грубих кормів обираємо схему керування агрегатом АПК-10А, який відповідає специфічним умовам сільського господарства.

Живлення на силові кола подається через автоматичні вимикачі QF1, QF2, QF3, QF4, QF5 на кола керування – через вимикач QF6. Перемикачем SA1 встановлюється один з режимів роботи агрегату „Автоматичний”, „Ручний”, „Миття”. Для приготування кормо сумішей у автоматичному режимі перемикач SA1 встановлюють у положення „Автоматичний”, при цьому спрацьовує реле KV2. Після натискання кнопки SB12, яка замикає коло котушки реле пуску KV3, відбувається послідовний запуск електродвигунів дробарки М5, вивантажувального транспортера (із часовою затримкою) М1, шнека М4. насосів М2 і М3.

У ручному режимі роботи агрегату для приготування кормосумішей перемикач SA1 ставлять у положення „Ручн.”. Вмикання і зупинка механізмів агрегату відбувається за допомогою кнопок SB1-SB10 із дотриманням необхідної послідовності пуску відповідно до технічної схеми.

При митті коренебульбоплодів перемикач SA1 встановлюють у положення „Миття”. Пуск механізму агрегату відбувається у такій послідовності: привод шнекової мийки М4, привод насоса подачі води М2, привод насоса відкачування води М3. Для зупинки механізму натискають кнопки „Стоп” у зворотній послідовності. Ступінь завантаження електродвигуном дробарки контролюється амперметром РА.

3.2 Вибір засобів автоматизації установки.

3.2.1 Призначення та технологічна характеристика засобів

У схемі керування застосовуються 5 електродвигунів. До кожного електродвигуна є своя пуско-захисна апаратура та прилади автоматичного керування. Так як в агрегаті виконується багато різних операцій, то електродвигуни вмикаються лише у певній послідовності. Якщо намагатися увімкнути їх у іншій послідовності то будуть спрацьовувати блокувальні контакти, що є автоматичним захистом. Тому послідовність вмикання двигунів слідуючи – двигун дробарки М5, двигун вивантажувального транспортера М1, електродвигун шнека М4, насос подачі М2 і насос відкачування води М3, двигун вивантажувального транспортера М1 запускається із запізненням, необхідним для розгону дробарки. Витримку часу створює реле часу КТ1.

Для захисту силових кіл від короткого замикання і перевантажень застосовуємо автомати серії ВА51. Для пуску і блокування контактів застосовуємо електромагнітні пускачі серії ПМЛ. Для захисту двигунів від перевантажень використовуємо теплові реле типу РТЛ, їх встановлюють в електромагнітних пускачах або на панелях. Також у схемі керування використано електромагнітне реле часу ВС-10, проміжне реле для керування послідовності вмикання лінії РПУ-1, пакетний перемикач для вибору режиму роботи „Авт.”, „Ручне”, „Миття” серії ПКВ-3-15 (пакетнокулучковий), кнопковий пост керування КУ-120, а також світлова сигналізація.

Таблиця 3.1 Технічні дані засобів автоматизації.

Марка засобу автоматизації

Кількість

Ін., А

Діапазон струмів, А

Кількість контактів, шт..

Витримка часу, хв.

Пакетний вимикач

ПКВ-3-15

1

15




Електромагнітні пускачі

ПМЛ-1100-О4Б

ПМЛ-100-О4Б

ПМЛ-6100-О4Б


3

1

1


10

1

125




Теплові реле

РТЛ-1012-О4

РТЛ-1014-О4

РТЛ-1008-О4

РТЛ-3105-О4


2

1

1

1



5,5-8,0

7,0-10

2,4-4,0

75-105



Автоматичні вимикачі

ВА51-25-34

ВА51-25-34

ВА51Г25-34

ВА51-31-34


2

1

1

1


8

6,3

3

100




Проміжні реле

РПУ1

РПУ1


3

1


10

10



8

2


Реле часу

ВС-10 (програмне)


1





3

Кнопки керування

КУ-120


12






3.2.2 Будова і принцип роботи засобів автоматизації

Автоматичний вимикач призначений для вмикання і вимикання асинхронних двигунів і інших споживачів електричної енергії, а також для їх захисту від перевантажень і коротких замикань. Автомат поєднує у собі функції рубильника, запобіжника і теплового реле. Забезпечує одночасне вимкнення трьох фаз мережі. Автомат вмикається і вимикається вручну, в аварійному режимі він вимикається автоматично електромагнітним або тепловим розчіплювачем. Електромагнітний розчіплювач спрацьовує миттєво при протіканні струмів короткого замикання, а тепловий розчіплював спрацьовує з оберненою витримкою часу при протіканні струмів перевантаження.

Рис. 3.1 Будова автоматичного вимикача АЕ2060

1 – кришка (пластмасова); 2 – дугогасильна камера; 3 – перекидна пружина; 4 – рукоятка; 5 – важіль; 6 – важіль; 7 – розчіплював; 8 – термобіметалевий елемент; 9 – якір електромагніту; 10 – серцевина електромагніту; 11 – контактний важіль; 12 – рухомий контакт; 13 – нерухомий контакт; 14 – основа (пластмасова).

3.2.3 Підготовка до роботи і порядок роботи засобів

Робота теплового реле полягає у слідуючому: при нагріванні струмом перевантаження який протікає по нагрівниках, біметалеві пластини згинаються і повертають температурний компенсатор, який виводить защіпку механізму спрацювання із зачеплення з пластиною. Під дією пружини траверса разом із закріпленим на ній контактним містком миттєво переміщується направо, розмикаючи нерухомі контакти. При натисканні вручну на кінець траверси, защіпка під дією пружини входить у защіплення з пластиною.

Рис. 3.2 Будова теплового реле.

1 – пружина; 2 – рухомий контакт; 3 – нерухомий контакт; 4 – траверса; 5 – пружина; 6 – пластина; 7 – защіпка; 8 – температурний конденсатор; 9 – біметалева пластина; 10 – нагрівник.

Струм уставки реле можна плавно регулювати пересуваючи пластину ексцентриком. При зменшені струму уставки защіпка наближається до температурного компенсатора, при збільшені – віддаляється.

Також у принципіальной схемі агрегату АКП-10А використовується і електромагнітне реле часу яке складається із електромагнітної системи регулюючого механізму спрацювання і контактної системи. При подачі напруги на реле рухома серцевина притягується і заводить пружину часового механізму. Під дією пружини часовий механізм пускається у хід. По закінчені витримки часу рухомий контактний місток замикає нерухомий контакт.

3.2.4 Технічне обслуговування засобів

Технічне обслуговування пускозахисних апаратів проводять на місці встановлення. Найкраще це робити разом з технічним обслуговуванням електроспоживачів, якими управляють контактні апарати.

Операції з технічного обслуговування полягають у слідую чому: розбирання апарату, дефектація контроль технічного стану елементів (опір ізоляції, зазор між ножами, глибина входження ножів та інше), встановлення деталей, заміна непрацюючих, складання апарату і перевірка на вмикання, вимикання.

Капітальний ремонт силового обладнання виконується на спеціальних підприємствах.

Технічне обслуговування установок безпосередньо проводиться на місці їх встановлення без демонтажу. Технічне обслуговування проводять працівники енергетичної служби господарства. Дрібні поломки і дефекти усувають під час поточного ремонту без заміни обмотки.

4 ОХОРОНА ПРАЦІ І ПРОТИПОЖЕЖНІ ЗАХОДИ

4.1 Організація роботи на об’єкті по охороні праці

Контроль за дотриманням законодавства про охорону праці проводить інженер з охорони праці. Кожного дня перед розподіленням працівників по роботах проводиться інструктаж по охороні праці, а також перевіряється робоче місце та інструменти.

По ходу роботи інженер з охорони праці має слідкувати за своїми працівниками. Щотижня проводиться перевірка стану охорони праці у всіх цехах, відділеннях, бригадах, їх проводять начальники цехів, дільниць і інженер з охорони праці. Якщо знаходять якісь недоліки, порушення з охорони праці чи техніки безпеки, то це відмічається у журналі, а потім встановлюються строки їх усунення і назначають відповідального. Раз у місяць інженер-електрик, лікар, голова профспілкової організації та інженер з охорони праці перевіряють стан охорони праці, про помічені недоліки роблять записи у журнал контролю. Раз у шість місяців спеціалісти які обслуговують електрообладнання проходять повторний інструктаж з техніки безпеки, при проходженні цього інструктажу кожен працівник розписується у журналі з техніки безпеки. Один раз у три місяці проводиться перевірка електрообладнання і установок, дані про це записують у журнал.

Існують такі види інструктажу:

Вступний інструктаж повинен проводитись під час прийому на роботу, а також з особами які прибули у відрядження, на практику або навчання.

Вступний інструктаж проводиться особами на яких покладені ці обов’язки наказом по об’єкту, із використанням наочних посібників і технічних засобів навчання. Програма вступного інструктажу повинна містити питання, що стосуються особливостей даного об’єкту з погляду охорони праці і пожежної безпеки, і затверджуватись технічним керівником об’єкту.

Первинний інструктаж проводиться під час приймання на роботу, призначення на нову посаду або зміни робочого місця. А також із працівниками інших підприємств і організацій (відрядженими, студентами-практикантами), якщо вони будуть брати безпосередню участь у виробничих процесах.

Первинний інструктаж проводиться до початку роботи безпосередньо на робочому місці, безпосереднім керівником або призначеним ним особою. Програма первинного інструктажу повинна містити питання, які стосуються виробничих особливостей та інструкції з охорони праці і пожежної безпеки для даної посади (роб. місця). Програма первинного інструктажу затверджується технічним керівником об’єкта.

Періодичні (повторні) інструктажі для виконання робіт з підвищеною небезпекою проводяться кожного місяця таким чином, щоб протягом кварталу охопити всі питання первинного інструктажу, а протягом року – усі питання технології виконання робіт і пожежної безпеки. Для інших робіт періодичні інструктажі проводяться не рідше ніж один раз на півріччя, а з пожежної безпеки один раз на рік.

Періодичні інструктажі проводяться безпосереднім керівником у робочих умовах з метою підвищення рівня знань правил і інструкцій, недопущення повторного порушення, що мали місце раніше, охорони праці, пожежної безпеки, виробничої і трудової дисципліни.

Позапланові інструктажі проводяться безпосереднім керівником на робочому місці у таких випадках:

- після набуття чинності нових або перероблених нормативних документів;

- після змін у складі устаткування або у технологічному процесі;

- після порушень працівником правил технічної експлуатації або охорони праці;

- за вимогою посадових осіб органів державного регулювання і нагляду;

- після перерви у роботі понад 30 днів – для робіт із підвищеною небезпекою і понад 60 днів – для інших робіт.

Порядок проведення позапланових інструктажів аналогічний порядку проведення періодичних (повторних) інструктажів.

Цільовий інструктаж проводиться у разі:

-   виконання робіт за нарядом або розпорядженням;

-   виконання разових робіт, безпосередньо не пов’язаних із посадовими обов’язками або обов’язками за спеціальністю;

-   ліквідації аварій. Стихійних лих;

-   проведення різноманітних заходів, екскурсій.

Цільовий інструктаж проводить особа, яка відповідає за створення умов для безпечного виконання роботи, заходів.

Інструктаж з пожежної безпеки проводиться при прийомі на роботу особою на яку покладено ці обов’язки.

 

4.2 Розробка інструкції по ТБ на робочому місці

До розробки інструкції з охорони праці поставлені певні вимоги.

Інструкції повинні відповідати чинному законодавству, державним галузевим і міжгалузевим актам з охорони праці, правилам, нормам та інше. Кожній інструкції присвоюється назва і скорочене позначення. У назві інструкції стисло вказується для якої професії або виду робіт вона призначена. До інструкції мають підлягати загальні положення щодо охорони праці та організація і технічні вимоги безпеки.

Інструкція з охорони праці повинна мати такі розділи:

1. Загальні положення.

2. Вимоги безпеки перед початком роботи.

3. Вимоги безпеки під час роботи.

4. Вимоги безпеки після закінчення роботи.

5. Вимоги безпеки в аварійних ситуаціях.

АКПП „Ладижинський”

ІНСТРУКЦІЯ

З ОХОРОНИ ПРАЦІ №

ПРИ РОБОТІ У КОРМОЦЕХУ

Затверджено

Прізвище керівника ____________________

АКПП „Ладижинський”

07.04.04 _____________________

_________ ____________________

підпис п. і. б.

ІНСТРУКЦІЯ

З ОХОРОНИ ПРАЦІ №

1 Загальні положення

1.1 Дана інструкція призначена для обслуговуючого персоналу кормоцеху та електрощитового приміщення.

1.2 Не відкривати, не вмикати і не торкатися руками або предметами електрообладнання, якщо їх обслуговування не входить у прямі обов’язки.

1.3 Не загромаджувати підходи до електроустановок, пускачів і рубильників.

1.4 Електричні провода повинні бути захищені від механічних пошкоджень, від дотику з стальними канатами, гарячими поверхнями.

1.5 Не виконувати розпорядження якщо вони протиріч ять техніці безпеки і їх виконання може призвести до нещасного випадку.

2 Вимоги безпеки перед початком роботи

2.1 Приступити до роботи електромонтеру слід тільки після інструктажу і перевірці знань по техніці безпеки, а також присвоєння кваліфікаційної групи по електробезпеці.

2.2 Впевнитися у справності вмикаючих і вимикаючих пристроїв, сигналізації і блокування.

2.3 Виставити огорожу і вивішати забороняючи і попереджуючи плакати.

3 Вимоги безпеки під час роботи

3.1 Заміну плавких запобіжників слід виконувати при зняті напруги.

3.2 У випадку коли відключення цехового обладнання проводилося по усній заяві цехового персоналу для проведення робіт, подальше включення може бути на вимогу особи, яка дала заявку на відключення, або особи яка заміняє, або уповноваженого. Перед пуском обладнання оперативний персонал зобов’язаний його оглянути, впевнитися у готовності до прийому напруги і попередити працюючих на ньому про включення.

3.3 При виявлені замикання на землю забороняється наближатися до місця замикання на відстань меншу 4-5 м у закритих і меншу 8-10 м у відкритих розподільчих пристроях.

3.4 Не вмикати рубильники і кнопки пускачів сторонніми предметами.

3.5 Не визначати температуру нагріву електричних машин і трансформатора дотиком руки.

4 Вимоги безпеки в аварійних ситуаціях

4.1 При уражені електричним струмом, перш за все необхідно звільнити потерпілого від електричного струму відімкнувши електроустановку від джерела живлення, а при неможливості вимикання відтягнути його від струмоведучих частин за одяг або застосувати ізоляційні матеріали.

4.2 Необхідно вміти подати першу медичну допомогу при опіках.

4.3 Помітивши загорання необхідно негайно сповістити пожежну частину, старшого по зміні і приступити до гасіння засобами які є у наявності. Електрообладнання відмикають без розпорядження, але з подальшим ознайомленням чергового інженера або диспетчера.

5 Вимоги безпеки по закінченню роботи

5.1 Привести у порядок робоче місце, зібрати інструмент.

5.2 Забрати одяг, захисні засоби і пристрої в спеціально відведені для них місця.

5.3 Відключити технологічне обладнання.

5.4 При передачі зміни повідомити черговому майстру чи адміністрації про всі помічені несправності і зробити відповідний запис у журналі.

_______________________ _________ ________________________

(Посада керівника підрозділу) (Підпис) (П.І.Б.)

УЗГОДЖЕНО

Керівник служби охорони праці _________ ________________________

(Підпис) (П.І.Б.)

Голова профспілки _________ ________________________

(Підпис) (П.І.Б.)

Головний енергетик _________ ________________________

(Підпис) (П.І.Б.)

4.3 Протипожежні заходи

При будівництві і експлуатації тваринницьких приміщень необхідно не тільки не допускати пожежі, а при виникненні швидко їх обмежити і негайно загасити. Питання попередження виникнення пожежі можна вирішити правильним вибором конструкції і обладнання тваринницьких ферм за їх вогнестійкістю і загоранням; створенням у приміщеннях необхідної кількості евакуаційних шляхів і виходів (двері у приміщенні повинні відкриватися назовні) і забезпеченням об’єктів тваринництва необхідними засобами пожежегасіння.

У кожному господарстві адміністрація повинна розробляти спеціальні організаційні заходи для забезпечення пожежної безпеки тваринницьких ферм. Відповідальність за проведення організаційних заходів покладається на керівника господарства. Він зобов’язаний організувати роботу ПСО (пожежно сторожової охорони) встановити на відповідних об’єктах суворий протипожежний режим, періодично перевіряти стан пожежної безпеки об’єктів, механічний стан протипожежних засобів гасіння.

Начальник ПСО організовує вивчення працівниками ферми правил протипожежної безпеки. Для кожної ферми необхідно розробити і довести до відома її працівників план евакуації тварин і людей на випадок пожежі.

5 ОХОРОНА ПРИРОДИ

5.1 Охорона навколишнього середовища

Сільське господарство дуже сильно забруднює біосферу. Забруднювачами стають мінеральні добрива, викиди тваринництва, але найбільш шкідливі пестициди. Тому перед кожним господарством поставлені певні умови щодо охорони природи. Так як господарство займається тваринництвом то важливою проблемою стає зберігання гною. Господарство побудовано за населеним пунктом для того аби не поширювати запах гною до населеного пункту. Для підстелення використовується солома тому ми отримуємо твердий гній, який сам обезжирюється. Тому що наслідком аеробної ферментації бактерій є інтенсивне виділення тепла, викликана температура до 60-700С і протягом 1-3 місяців проходить обезжирення і дегальментація твердого гною.

Силосні ями, а також стічні ями зроблені з бетону для уникнення забруднень нітратами ґрунтових вод. У господарстві використовують гній у якості добрив. Відомо що свинячий гній майже не поступається гною ВРХ, а по складу деяких речовин (фосфор, ряд мікроелементів) навіть кращий. Таке використання зменшує потреби господарства для його зберігання.

6 ЕКОНОМІЧНА ЧАСТИНА

6.1 Розрахунок економічної ефективності застосування лінії приготування грубих кормів

Для визначення економічної ефективності порівнюємо економічні річні витрати установок АПК-10А і ИСК-3А, враховуючи заробітну плату, відрахування на амортизацію, плату за електроенергію.

Таблиця 6.1 Технічна характеристика установок АПК-10А та ИСК-3А.

Показники

АПК-10А

ИСК-3А

Продуктивність, т/год.

5

4,5

Встановлена потужність, кВт

56,1

39,2

Затрати праці за рік, люд/год.

300

300

Норма амортизаційних витрат, %

15

15

Норма відрахувань на ПР, %

7,5

7,5

Вартість 1кВт/год електроенергії, грн..

0,24

0,24

Вартість електрообладнання, грн..

20000

16200


Кількість спожитої електроенергії за рік визначаємо за формулою

А=РКзТ/η кВА, (6.1)

де Р – потужність установки, кВт;

Т – час роботи на рік, год.;

η – коефіцієнт корисної дії, %;

Кз – коефіцієнт завантаження установки.

Приймаємо значення Кз=0,6 для першого варіанту (агрегат АПК-10А) і Кз=0,8 для другого варіанту (установка ИСК-3А) по [1Л. 247с.]

А1=56,1 х 0,6 х 2190/0,95=77595,15 кВА,

А2=39,2 х 0,8 х 2190/0,8=85848 кВА.

Визначаємо витрати за електроенергію за формулою

Зел.ен.=0,24А грн., (6.2)

Зел.ен.1=0,24 х 77595,15=18622,8 грн,

Зел.ен.2=0,24 х 85848=20603,52 грн.

Відрахування на амортизацію визначаємо за формулою

Замор.в х 15/100 грн, (6.3)

де Бв – балансова вартість капіталовкладень, грн..

Замор.1=20000 х 15/100=300 грн,

Замор2=16200х15/100=2430 грн.

Визначаємо відрахування на поточний ремонт електрообладнання за формулою

ПР=Бв х 7,5/100 грн., (6.4)

ПР1=20000 х 7,5/100=1500 грн.,

ПР2=16200 х 7,5/100=1215 грн.

Заробітну плату працівника розраховуємо згідно тарифної ставки. Основна заробітна плата

З0=Т` x H`=0,82 x 1=0,82 грн., (6.5)

де T` - тарифна ставка, грн..;

H` - час роботи працівника, год.

Визначаємо додаткову заробітну плату за формулою

Сд.0/100 х 13=0,82/100 х 13=0,106 грн. (6.6)

Відрахування у службу зайнятості

Сс.з.0д/100 х 4=0,82+0,106/100 х 1,5=0,013 грн. (6.7)

Відрахування у пенсійний фонд

Сп.ф.0д./100 х 4=0,82+0,106/100 х 4=0,037 грн. (6.8)

Відрахування у соціальне страхування

Ссс0д./100 х 3,2=0,82+0,106/100 х 3,2=0,296 грн. (6.9)

Визначаємо преміальні за формулою

Сп=0,2 х З0=0,2 х 0,82=0,164 грн. (6.10)

Заробітна плата становить

З=Сссп.п.ф.с.з.д.0=0,164+0,296+0,037+0,013+0,016+0,82=1,436 грн. (6.11)

Визначаємо заробітну плату працівника за рік по формулі

Зпр.=З х Д=1,436 х 2190=3144,84 грн. (6.12)

Визначаємо річні експлуатаційні витрати за формулою

С=Замор.+ПР+Зпрел.ен., грн.. (6.13)

С1=3000+1500+3144,84+18622,8=26267,64 грн.

С2=2430+1215+3144,84+20603,52=27393,36 грн.

Визначаємо експлуатаційні затрати на одиницю за формулою

Сз=С/Кг грн.., (6.14)

де Кг – кількість потрібних кормів, т.

Сз1=26267,64/800=32,83 грн.

Сз2=27393,36/800=34,27 грн.

Визначаємо питомі капіталовкладення за формулою

Куд.ен.г, грн.. (6.15)

де Кен – вартість установки, грн..

Куд.1=20000/800=25 грн..

Куд.2=16200/800=20,25 грн.

Розраховуємо приведені затрати за формулою

П=Сз+0,15 х Куд., грн.., (6.16)

П1=32,83+0,15 х 25=36,58 грн.,

П2=34,24+0,15 х 20,25=37,27 грн.

Розрахунки показують що установка АПК-10А економічно ефективніша ніж ИСК-3А.

6.2 Заходи по економії електроенергії

У процесі інтенсифікації сільськогосподарського виробництва збільшується споживання електроенергії. Тому з’являються питання з економії раціонального використання електроенергії.

Міроприємства з економії раціонального використання електроенергії включають у себе: правильний вибір потужностей електродвигунів, оптимальний режим їх роботи (важливо скоротити роботу машин і механізмів на насосному ходу і забезпечити їх повне завантаження шляхом автоматизації технологічних процесів); при проектуванні об’єктів необхідно дотримуватись рівномірного навантаження фаз; застосувати заходи щодо зниження витрат електроенергії (перевантажені і недовантажені трансформатори при можливості необхідно замінити).

Раціональному використанню електроенергії сприяють зменшення витрат повітря та води з трубопроводів, впровадження автоматичних пристроїв, програмування; організація чіткої і правильної роботи датчиків і програмних реле; вмикання насосних установок для зрошування рослин в години мінімального навантаження в енергосистемах; регулярна перевірка насосного обладнання для своєчасного виявлення спрацьованих деталей, регулярний контроль термометрів і температурних датчиків тощо.автоматизація і програмування штучного освітлення також сприяє значній економії електроенергії.

Дотримання міроприємств по економії електроенергії дає можливість зменшити собівартість сільськогосподарської продукції.

6.3 Визначення обсягу обслуговування в умовних одиницях і необхідної кількості обслуговуючого персоналу

Для того щоб визначити необхідну кількість електромонтерів на даному об’єкті необхідно визначити обсяг електрообладнання в умовних одиницях.

За одну умовну одиницю електрообладнання прийнято електродвигун з номінальною потужністю 10 кВт і з пуско-захистною апаратурою до нього та обсяг робіт 18,6 люд. год.

Склавши таблицю з переліком електрообладнання застосуємо коефіцієнти переводу в умовні одиниці і порахуємо загальну кількість умовних одиниць.

Таблиця 6.2 Розрахунок умовних одиниць.

Електрообладнання

Кількість

Коефіцієнт переводу

Загальна кількість, у.о.

1

ТП, шт..

1

2,4

2,4

2

Повітряні лінії електропередач, км.

0,17

3,93

0,668

3

Внутрішні проводки, км.

6,74

0,5

3,37

4

Розподільчі пункти,

 щити керування до 1000 В, шт..

3

0,5

1,5

5

Електродвигуни потужністю

До 20 кВт, шт..

Понад 20 кВт, шт..

4

1

0,5

0,65

2

0,65

6

Світильники, шт..

13

0,65

8,45

7

Кабель, км.

0,44

1,9

0,836

Визначаємо кількість електромонтерів

Не=Q/H=19,8/100=0,19 чол., (6.17)

де Q – об’єм робіт в умовних одиницях;

Н – навантаження на одного електромонтера.

Для обслуговування кормоцеху достатньо одного електромонтера.

ВИСНОВКИ

У цьому дипломному проекті на тему „ Комплексна електрифікація виробничих процесів кормоцеху ферми ВРХ АКПП „Ладижинський” з вибором електрообладнання і засобів автоматизації лінії приготування грубих кормів” було розраховане електричне освітлення, вибрано світильники типу НСП01 і НСП03. до них лампи розжарювання Г220-230-300, Б215-225-200. Також було вибрано марки проводів АПВ2(1 х 1,5), щиток освітлення РУС8132-0200-5400. Відповідно до струмів вибрано захисні апарати, автомати серії ВА-51.

Для кормоцеху вибрано агрегат АПК-10А за допомогою якого можна приготовити кормосуміші. Цей агрегат має лінію приготування грубих кормів, дана лінія повністю автоматизована, що і вимагалося темою дипломного проекту.

Відповідно до агрегату вибрано п’ять електродвигунів загальною потужністю 67,98 кВт при потужності установки 56,1 кВт.

Було вибрано схему керування агрегатом, та автоматизовано її. Засоби автоматизації було вибрано згідно умов за робочими і пусковими струмами установки, також у дипломному проекті описано будову та роботу цих засобів автоматизації.

Вибрано ТП типу КТП160-10/0,4 У1, яка знаходиться неподалік від кормоцеху. У проекті також складена інструкція з охорони праці на робочому місці.

При визначенні кількості обслуговуючого персоналу було зроблено розрахунок умовних одиниць за якими визначили що для обслуговування електрообладнання на об’єкті потрібно одного електромонтера.

Даний агрегат АПК-10А економічно ефективніший, про що говорять нам розрахунки, річна економія експлуатаційних затрат становить 1125,72 грн. порівняно із подрібнювачем ИСК-3А, а річний економічний ефект становить 552 грн.

Даний дипломний проект показує, що застосування автоматизованої лінії приготування грубих кормів є більш економічно вигідним та легшим в експлуатації.

ЛІТЕРАТУРА

 

1. Белехов И. П., Чёткин А. С. Механизация и электрификация животноводства. –М. «Колос» 1984 – 340с.

2. Гончар В. Ф. Електрообладнання і автоматизація сільськогосподарських агрегатів і установок. Курсове і дипломне проектування. –К. „Вища школа”. Головне видавництво. 1985 -208с.

3. Гончар В. Ф., Тищенко Л. П. Електрообладнання і автоматизація сільськогосподарських агрегатів і установок. Навчальний посібник. –К. „Вища школа”. Головне видавництво. 1985 -343с.

4. Пряник Г. М., Лахман С. Д., Бутко Д. А. та інші. Охорона праці. –К. „Урожай”. 1994 -272с.

5. Коганов И. Л. Курсовое и дипломное проектирование. –М. Агропромиздат. 1990 -351с.

6. Колесов Л. В. Основы автоматики. –М. «Колос». 1978 -255с.

7. Кудрявцев И. Ф., Калинин Л. А., Карасенко В. А., Степанцов В. П., Янукович Г. И. Электрооборудование и автоматизация сельскохозяйственных агрегатов и установок. –М. «Агропромиздат» 1988 -480с.

8. Марченко А. С., Кисень Г. Е., Лавриненко Ю. Н. и др.. Справочник по механизации и автоматизации в жевотноводстве и птицеводстве. –К. „Урожай” 1990 -456с.

9. Нучер Б. К. Технічне обслуговування і ремонт сільськогосподарських установок. Довідник. –К. „Урожай” 1994 -254с.

10. Довідник сільського електрика. Олійник В. С., Гайдук В. М., Гончар В. Ф. та інші. За редакцією Олійника В. С. –К. „Урожай”. 1989 -264с.

Похожие работы на - Комплексна електрифікація виробничих процесів кормоцеху ферми

 

Не нашли материал для своей работы?
Поможем написать уникальную работу
Без плагиата!
Без нейросетей!