Характеристика производства полимерных труб и его технико-экономический уровень
Характеристика производства полимерных труб и его технико-экономический уровень
Производство полимерных труб
включает следующие технологические операции:
входной контроль сырья и
материалов;
изготовление корпуса трубы
методом экструзии;
резка трубной заготовки для
получения корпусов труб заданных размеров;
получение плечика трубы литьем
под давлением с приформовкой их к корпусу трубы;
обработка поверхности труб
коронным разрядом. Нанесение цветной печати на корпус труб.
Лакирование поверхности труб:
сверление отверстия в головках;
навинчивание бушонов;
декорирование поверхности труб
тиснением;
контроль готовой продукции;
упаковка.
Трубы полимерные предназначены
для упаковки пищевой и косметической продукции, средств бытовой химии и личной
гигиены, медицинских мазей и кремов.
Для производства полимерных труб
используется в основном полиэтилен различных марок и его сополимеры, а также
различные добавки (СКП, модифицирующие).
Для производства труб могут быть
использованы технологические отходы их производства, образуемые в процессе
экструзии и литья путем добавки их в первичный материал в количестве до 30%. Добавке
вторичного сырья должно предшествовать его измельчение.
Трубы полиэтиленовые
изготавливаются из базовых марок полиэтилена высокого давления (низкой
плотности) (ПЭВД) или смеси ПЭВД и полиэтилена низкого давления (высокой
плотности) (ПЭНД) для цилиндрической части и ПЭНД для плечиков, предусмотренных
технологическим регламентом в зависимости от назначения труб по заключенному
договору с потребителем, или полиэтилена других марок с параметрами и
характеристиками соответствующими базовым маркам.
Бушоны для труб изготавливаются
из полипропилена, сополимеров пропилена, ПЭНД, соответствующих требованиям
нормативной документации на трубы.
Базовые марки полиэтилена и
полипропилена, рецептуры добавок, печатных красок, лаков и др. должны быть
разрешены к применению Минздравом Украины.
Трубы полиэтиленовые выпускаются
по ТУ У 25463020-02-99 "Трубы полиэтиленовые"
На поверхности корпусов труб
должны быть отпечатаны красочные рисунки и текст в соответствии с оригиналом,
представленным заказчиком и утвержденным в установленном порядке. На конце
открытой части корпусов труб, по требованию заказчика, печатается метка из
цветов оригинала вдоль труб для ее центрирования по рисунку при наполнении и
укупоривании.
Для нанесения на трубы рисунка,
текста и метки для центрирования должны применяться краски, выпускаемые по
действующей нормативной документации.
На цилиндрическую часть трубы
наносится бесцветная (прозрачная) лаковая пленка толщиной 3-5 мкм (обеспечивается
технологически) для сохранения цветной печати и придания трубе гладкости и
блеска. Лак должен соответствовать требованиям РТМ-27-72-15 или другой
нормативной документации и иметь разрешение Минздрава Украины к применению для
этих целей.
Трубы могут покрываться золотой
и серебряной печатью с помощью горячего тиснения. Смещение отпечатка
относительно основного рисунка не должно превышать 0,5 мм.
Бушоны должны быть навинчены на
резьбовую часть трубы до упора. Не допускается проворачивание бушона.
Трубы с навинченными на них
бушонами должны быть герметичными, не иметь свищей, сквозных порезов.
Комплектующие, сырье и материалы
должны проходить входной контроль. Приемка должна производиться на основании
паспортов или сертификатов поставщика, удостоверяющих качество.
Показатели свойств сырья,
материалов, полуфабрикатов, имеющие принципиальное значение в технологическом
процессе, должны контролироваться в лаборатории завода на их соответствие
данным, указанным в паспортах и сертификатах на материал.
Размеры труб должны
соответствовать размерам, указанным на рисунке 1 и в таблице 1 (основа трубы).
В зависимости от назначения
согласно ТУ У 25463020-02-99 трубы выпускаются заводом следующих типов:
трубы типа АК с метрической
резьбой (рисунок 2);
трубы типа ВК с инжекционным
наконечником (рисунок 3);
трубы типа СК с трапецеидальной
резьбой (рисунок 4).
Рис.1
Таблица 1
|
Номинальный
диаметр
|
Наружный
диаметр d
±0,2
|
Длина трубы
l
|
Толщина
Стенки, S1
±0,03
|
Толщина
плечика S2
±0,2
|
Радиус
г
|
|
13,5
|
13,7
|
до90±1
|
0,4
|
1,0
|
2
|
|
16
|
16,2
|
до 100±1
|
0,4
|
1,2
|
2
|
|
19
|
19,2
|
до 120±1,2
|
0,4
|
1,2
|
2,5
|
|
22
|
22
|
до 150±1,5
|
0,4
|
1,2
|
2,5
|
|
25
|
25
|
до 175±1,6
|
0,5
|
1,2
|
3
|
|
30
|
30
|
до 175±1,8
|
0,5
|
1,2
|
3
|
|
35
|
35
|
до 165±2,0
|
0,5
|
1,2
|
4
|
|
40
|
40
|
до 165±2,2
|
0,5
|
1,3
|
4
|
|
50
|
50
|
до 180±2,2
|
0,5
|
1,5
|
6
|
|
1) Размеры указаны в мм
|
|
2) Каждая длина может быть заказана до зависящего от номинального
диаметра максимального значения.
|
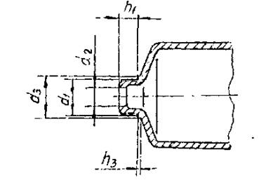
Рис.2 Форма горлышка трубы типа
АК с метрической резьбой
Таблица 2
|
Резьба горлышка
|
Отверстие горлышка
|
Диаметр пояска
|
Длина резьбы
|
Высота пояска
|
Номинальный диаметр для труб
|
|
d1
8g
|
d2 ±0,2
|
d3
|
h1 ±0,2
|
h3
|
|
|
М7
|
3,5
|
7,2
|
4,7
|
0,4
|
13,5
|
|
М9
|
4
|
9,2
|
5
|
0,4
|
16; 19; 22
|
|
М11
|
5,5
|
11,2
|
5,7
|
0,5
|
19; 22; 25; 30; 35
|
|
М 15x1,5
|
9
|
15,2
|
6
|
0,5
|
25; 30; 35; 40; 50
|
|
Отверстия горлышка труб s меньших размеров по договоренности
Смещение оси отверстия d2 относительно резьбы d1 не более 0,3 мм
3) Размеры указаны в мм
|
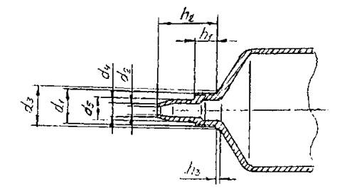
Рис.3 Форма горлышка трубы типа
ВК с инжекционным наконечником
Таблица 3
|
Резьба горлышка
|
Отверстие горлышка
|
Диаметр
пояска
|
Диаметр конуса
|
Диаметр наконечника
|
Длина резьбы
|
Длина
наконечника
|
Высота пояска
|
Номинальный диаметр для труб
|
|
d1
8g
|
d2 ±0,2
|
d3
|
d4
0,2
|
d5
|
h1 ±0,2
|
h2
±0,4
|
h3
|
|
Mllxl,25
|
2,5
|
11,2
|
4
|
7,3
|
5,8
|
20
|
0,5
|
25; 30; 35; 40
|
|
M15xl,5
|
5,5
|
15,2
|
8
|
9,8
|
6
|
25
|
0,5
|
50
|
|
Смещение оси отверстия d2 относительно резьбы d1 не более 0,3 мм.
2) Размеры указаны в мм.
|
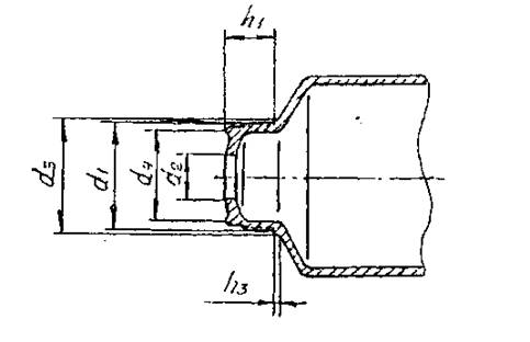
Рис.4. Форма горлышка трубы типа
СК с трапецеидальной резьбой
Таблица 4
|
Резьба горлышка
|
Отверстие горлышка
|
Диаметр
пояска
|
Уплотни-тельный гофр
|
Длина резьбы
|
Высота пояска
|
Номинальный диаметр для труб
|
|
d1
8g
|
d2 ±0,2
|
d3
|
d4
0,2
|
h1 ±0,2
|
h3
|
|
|
Тр 22x3
|
9
|
23,4
|
17
|
10,2
|
1
|
40; 50
|
|
Отверстия горлышка трубы меньших размеров по договоренности
Смещение оси отверстия d2 относительно резьбы d1 не более 0,3 мм
3) Размеры указаны в мм
|
Выпуск труб других типоразмеров
и из других видов сырья, не предусмотренных данным технологическим регламентом,
оформляется картой отклонения или извещением об изменении в установленном
порядке.
Полиэтиленовые трубы не являются
токсичными изделиями. Использование их при нормальных комнатных или атмосферных
условиях не требует специальных мер предосторожности.
Свободный край корпуса труб
должен быть обрезан ровно. В горловине труб не должно быть заусенцев и
пластмассовой осыпи, стружки.
Красочный отпечаток должен быть
четким. Допускается:
незначительные отклонения цветов
и оттенков от образца-эталона не являются браковочным и претензионным признаком;
наличие полосы до 2 мм
перекрытия круговой печати.
Покрытие труб должно быть
устойчивым к воде, не должно стираться, размываться или облущиваться.
Лаковая пленка покрытия труб
должна иметь ровную блестящую поверхность без посторонних включений.
Допускается:
наличие утолщения пленки на
отдельных участках труб, выдерживающие испытания на эластичность лаковой пленки
на трубе при изгибе;
наличие точечных включений смолы
лака.
Трубы для упаковки,
косметической продукции, средств личной гигиены, и кремов должны
соответствовать следующим показателям:
трубы не должны придавать
дистиллированной воде постороннего запаха и привкуса выше I балла и изменять
цвет и прозрачность дистиллированной воды.
концентрация формальдегида в
водной вытяжке на должна превышать 0,1 мг/л.
При несоответствии этим
требованиям допускается использовать трубы для упаковки средств бытовой химии.
Таблица 5. Зависимость массы трубы
от ее типа
|
Тип трубы
|
Масса, г
|
Масса трубы
|
|
Корпуса
|
Головки
|
|
АК-25х145хМ15х1,5
|
5,682
|
1,03
|
6,712
|
|
АК-30х170хМ15х1,5
|
8,007
|
1,3
|
9,307
|
|
АК-35х170хМ15х1,5
|
9,366
|
1,8
|
11,166
|
|
АК-40х185хМ15х1,5
|
11,660
|
2,46
|
14,120
|
|
АК-50х185хМ15х1,5
|
14,614
|
3, 19
|
17,804
|
Трубы могут выпускаться
натурального цвета или окрашенными в массе в различные цвета.
Изготовление полиэтиленовых труб
осуществляется путем выдавливания рукавной заготовки через кольцевую щелевую
головку с последующей вакуумной калибровкой в экструзионных агрегатах фирмы АН
ХАРНГ КО ЛТД, порезкой трубчатой заготовки на отрезки заданной длинны (корпус труб),
формирование головки труб с приформовкой их к корпусу методом литья под
давлением на вертикальных литьевых машинах модели СС-32SBD и CC-36SBD,
обработкой корпуса трубы коронным разрядом, нанесением на него многоцветной
печати офсетным способом, структурированием (отверждением) типографских красок
путем фотохимической полимеризации, лакированием печатного изображения, сушкой
лака в сушильной камере, с последующим сверлением отверстия в головке трубы на
сверлильном станке, навинчиванием бушонов и, если это предусмотрено дизайном трубы,
декорированием путем горячего тиснения.
Технологическая схема
производства полиэтиленовых труб состоит из следующих стадий
1. Подготовка и загрузка сырья.
2. Приготовление композиций.
3. Экструзия полиэтилена с
формированием рукавной заготовки.
4. Вакуумная калибровка рукава,
вытяжка его, охлаждение, разрезка трубчатой заготовки на корпуса.
5. Формирование головки труб с
приформовкой их к корпусу методом литья под давлением.
6. Обработка корпусов труб коронным
разрядом, нанесение многоцветной печати, структурирование (отверждение) печатных
красок фотохимической полимеризацией.
7. Лакирование печатного
изображения и сушка лака
8. Сверление отверстия в
головках труб.
9. Навинчивание бушонов на
головку трубы.
10. Декорирование труб путем
горячего тиснения.
11. Упаковка готовой продукции,
транспортировка ее на склад и хранение.
12. Переработка отходов
производства.
Сырье на завод поступает на
машинах в мешках. С машин сырье перегружается на электрокары или подъемник и
доставляется на склад хранения сырья.
Растаривается сырье в мешках
вручную. При организации узла растарки допускается доставка сырья на завод в
полимеровозах.
Склад сырья и узел растарки
располагаются отдельно и предназначены для временного хранения сырья.
Перед использованием сырья в
производстве оно должно быть выдержано в цехе не менее 24часов.
1. Подготовка и загрузка сырья
В зависимости от вида
выпускаемой трубы композиция для экструзии и литья под давлением может состоять
из одной марки полиэтилена, либо из смеси различных марок полиэтилена с
введением в композицию пигментов, суперконцентратов красителей, модифицирующих
и скользящих добавок, дополнительных стабилизаторов или вторичного сырья. Перед
приготовлением композиций растаренное сырье должно быть доставлено на участок
приготовления композиций.
2. Приготовление композиций
Смешение компонентов композиции
осуществляется в смесителе типа "пьяная бочка".
Загрузка компонентов композиции
осуществляется путем весового или объемного дозирования на основании
технологической карты, в которой указан состав приготавливаемой композиции.
Композиция требуемого состава
должна быть приготовлена в количестве, необходимом для выполнения заказа на
данный вид трубы. Приготовление композиции должно осуществляться
централизованно, при строгом соблюдении рецептур загрузки.
Контроль осуществляет сменный
мастер.
Время смешения компонентов в
смесителе 15-20 мин при комнатной температуре.
Приготовленные композиции из
смесителя "пьяная бочка" выгружаются в шлюзовые хранилища вручную или
с помощью пневмотранспорта.
Составы композиций для
приготовления различных видов труб приведены в таблице 8.
Таблица 8
|
№ трубы
|
Характеристика трубы
|
Диаметр
|
Содержание ингредиентов, масс. %
|
|
ПЭВД
|
ПЭНД
|
Концентрат пигмента
|
Полимерный модификатор
|
Скользящая добавка
|
|
1М
|
мягкая
|
25
|
100
|
-
|
0-3
|
-
|
0-3
|
|
2М
|
-/-
|
30
|
100
|
-
|
0-3
|
-
|
0-3
|
|
3М
|
-/-
|
35
|
100
|
-
|
0-3
|
-
|
0-3
|
|
4М
|
-/-
|
40
|
100
|
-
|
0-3
|
-
|
0-3
|
|
5М
|
-/-
|
50
|
100
|
-
|
0-3
|
-
|
0-3
|
|
1С
|
средняя
|
25
|
70
|
30
|
0-3
|
15
|
0-3
|
-/-
|
30
|
70
|
30
|
0-3
|
15
|
0-3
|
|
3С
|
-/-
|
35
|
70
|
30
|
0-3
|
15
|
0-3
|
|
4С
|
-/-
|
40
|
70
|
30
|
0-3
|
15
|
0-3
|
|
5С
|
-/-
|
50
|
70
|
30
|
0-3
|
15
|
0-3
|
|
1Ж
|
жесткая
|
25
|
40
|
60
|
0-3
|
25
|
0-3
|
|
2Ж
|
-/-
|
30
|
40
|
60
|
0-3
|
25
|
0-3
|
|
0-33Ж
|
-/-
|
35
|
40
|
60
|
0-3
|
25
|
0-3
|
|
4Ж
|
-/-
|
40
|
40
|
60
|
0-3
|
25
|
0-3
|
|
5Ж
|
-/-
|
50
|
40
|
60
|
0-3
|
25
|
0-3
|
Приготовленные композиции
выгружаются из смесителя вручную или пневмотранспортом в шлюзовые накопители,
из которых с помощью пневмотранспорта или вручную подаются в загрузочные
бункеры экструдеров или литьевых машин.
3. Экструзия полиэтилена с
формированием трубной заготовки
Перед пуском агрегата
проверяется состояние узлов механизмов и их исправность, наличие смазки,
величина зазора кольцевой щели головки, наличие и надежность крепления заземляющих
устройств.
Включается обогрев зон цилиндра
и формующей головки экструдера, которые, в зависимости от показателя текучести
расплава сырья и состава композиции нагреваются до температур, указанных в
таблице 9 или технологической карты.
Открывается вентиль
водопроводной сети для охлаждения зон цилиндра и шнека, а также калибрующей
системы и охлаждающих ванн.
По достижении данных температур
машина выдерживается на данном тепловом режиме не менее 2-х часов для
экструдера ЕДС -01 и не менее 3-х часов для экструдера ДС-02.
На период пуска экструдера после
длительной аварийной остановки температурный режим завышают на 15-25°С во
избежание чрезмерных нагрузок на привод шнека и головку. Конкретный, для
данного вида сырья, температурный режим, скорость вращения шнека, указаны в
табл.9.
В случае поступления нового
сырья, импортного сырья, сырья из новых производств и др. технолог цеха
производит корректировку технологических режимов, указанных в табл.9. Критерием
при этом является получение корпусов труб, отвечающих требованиям ТУ У
25463020-02-99
В период подготовки машины к
запуску производится установка кольцевого зазора по щупу.
Обогрев корпуса производится
электрическими нагревателями, сгруппированными в 4 тепловые зоны, формующая
головка имеет 3 электронагревателя. Установка режимов осуществляется согласно
таблицы 9.
Температура по тепловым зонам
экструдера регулируется автоматически в пределах 0-185°С (в зависимости от
сырья). Примыкающий к загрузочному отверстию участок корпуса имеет систему
водяного охлаждения до t=20° С, предотвращающего перегрев материала и его
"запекание" в зоне загрузки.
Таблица 9
|
№ трубы
|
Температура по зонам цилиндра, 0С
|
Температура головки, 0С
|
Показания тахометра
|
Вакуум
|
Температура, 0С
|
|
Шнека
|
Конвеера
|
1
|
2
|
Ванна
|
Втулка
|
|
1
|
2
|
3
|
4
|
5
|
6
|
7
|
|
|
|
|
|
|
|
1М
|
120
|
130
|
135
|
147
|
130
|
140
|
135
|
265
|
568
|
15
|
14
|
20
|
8-10
|
|
2М
|
120
|
130
|
140
|
143
|
145
|
145
|
145
|
501
|
359
|
14
|
14
|
20
|
8-10
|
|
3М
|
120
|
120
|
135
|
147
|
162
|
170
|
170
|
398
|
635
|
16
|
14
|
20
|
8-10
|
|
4М
|
120
|
120
|
135
|
147
|
162
|
170
|
170
|
398
|
635
|
16
|
14
|
20
|
8-10
|
|
5М
|
120
|
130
|
140
|
147
|
151
|
159
|
158
|
660
|
568
|
7
|
14
|
20
|
8-10
|
|
1С
|
120
|
120
|
135
|
147
|
162
|
170
|
170
|
398
|
635
|
16
|
14
|
20
|
10
|
|
2С
|
120
|
120
|
135
|
147
|
152
|
150
|
145
|
398
|
640
|
16
|
14
|
20
|
10
|
|
3С
|
120
|
120
|
135
|
147
|
152
|
150
|
145
|
398
|
640
|
16
|
14
|
20
|
10
|
|
4С
|
120
|
120
|
135
|
147
|
152
|
150
|
145
|
398
|
640
|
16
|
14
|
20
|
10
|
|
5С
|
120
|
130
|
140
|
147
|
152
|
159
|
158
|
786
|
694
|
6
|
11
|
20
|
10
|
|
1Ж
|
120
|
130
|
140
|
147
|
152
|
159
|
158
|
786
|
694
|
6
|
11
|
20
|
10
|
|
2Ж
|
120
|
130
|
140
|
147
|
152
|
159
|
158
|
786
|
694
|
6
|
11
|
20
|
10
|
|
3Ж
|
120
|
130
|
140
|
147
|
152
|
159
|
158
|
786
|
694
|
6
|
11
|
20
|
10
|
|
4Ж
|
120
|
130
|
140
|
147
|
152
|
159
|
158
|
786
|
694
|
6
|
11
|
20
|
10
|
|
5Ж
|
120
|
130
|
140
|
147
|
152
|
159
|
158
|
786
|
694
|
6
|
11
|
20
|
10
|
Для улучшения качества труб,
сокращения потерь от обрыва рукава, задержки инородных веществ в материалах на
экструзионных линиях установлены фильтрующие сетки.
Количество фильтрующих сеток и
частота их чистки зависит от качества перерабатываемого сырья и состава
композиции трубы и толщины ее стенки (Ориентировочно - для труб диаметром до 40
мм - 2 сетки, 50 мм - 3 сетки. При добавлении вторичного сырья количество сеток
увеличивают на одну)
Средняя частота чистки сеток -один
раз в 3 дня или при переходе на другой цвет.
Пуск экструдера производят на
малых оборотах шнека, которые в дальнейшем повышаются. Скорость набора частоты
вращения на более 5 оборотов шнека за 5 мин (не более 200 по показаниям тахометра).
Шибер на подачу материала из
загрузочного бункера в первый момент должен быть обязательно закрытым.
После пуска шнека открывание
шибера производится постепенно.
Скорость вращения шнека в
зависимости от показателя текучести расплава подбирается практически в пределах
паспортных данных оборудования и исходя из внешнего вида корпуса труб (отсутствие
царапин, щелей, разрывов).