Формование полых изделий из полимеров

  • Вид работы:
    Реферат
  • Предмет:
    Технология машиностроения
  • Язык:
    Русский
    ,
    Формат файла:
    MS Word
    1,61 Mb
  • Опубликовано:
    2010-01-31
Вы можете узнать стоимость помощи в написании студенческой работы.
Помощь в написании работы, которую точно примут!

Формование полых изделий из полимеров











Формование полых изделий из полимеров

Методы формования полых изделий

Изготовление полых изделий методом раздува осуществляется в две стадии: вначале формуют трубчатую заготовку, а затем переносят ее в форму и, раздувая заготовку сжатым воздухом, придают ей конфигурацию готового изделия. Изделие выдерживают в форме, охлаждая его до температуры теплостойкости, после чего форма раскрывается, и изделие удаляется.

По способу изготовления трубчатой заготовки различают два основных метода: литьевое формование заготовки в специальной форме и свободная экструзия трубчатой заготовки. В обоих случаях окончательное формование изделия производят в охлаждаемой форме, в которую помещают нагретую до температуры высокоэластичности трубчатую заготовку, герметично закупоривают ее концы и раздувают заготовку сжатым воздухом, придавая ей конфигурацию готового изделия.

В настоящее время наиболее широкое распространение получил экструзионно-выдувной способ формования (рис. 8.1), при котором трубчатая заготовка экструдируется из головки экструдера в полость открытой формы (рис. 8.1, а). Когда заготовка достигает заданной длины, полуформы смыкаются, обжимая верхний конец заготовки по контуру формующего горловину ниппеля. Нижний конец заготовки при этом сплющивается и герметично заваривается (рис. 8.1,6). Затем внутрь заготовки подается сжатый воздух, который раздувает ее до соприкосновения со стенками охлаждаемой формы. После охлаждения изделия до температуры теплостойкости форма раскрывается, и готовое изделие удаляется (рис. 8.1, в).

Рис. 8.1 Схема формования полых изделий методом раздува: а— экструзия заготовки; б — раздув; в — выгрузка готового изделия; / — подача воздуха сверху; // — подача воздуха снизу; 111 — подача воздуха через дутьевую иглу.

Изготавливают полые изделия объемом от 0,03 до 3 - 10 л, имеющие как круглое, так и прямоугольное поперечное сечение (бутыли, бочки, бидоны, канистры и т. п.). Обычно сжатый воздух нагнетают в заготовку через полый дорн, одновременно используемый для формования горловины 'сосуда. В некоторых случаях воздух в заготовку вводят при помощи специальной иглы, которая прокалывает стенку или донышко заготовки. После окончания раздува игла вытаскивается, и отверстие в заготовке заваривается. Иногда раздув осуществляется газом, выделяющимся при нагреве предварительно заложенных в заготовку таблеток.

Оборудование для экструзионно-выдувного формования

Экструзионно-выдувной агрегат (ЭВА) состоит из трех основных частей: экструдера с головкой, предназначенного для формования одной или нескольких заготовок; выдувной машины с одной или несколькими формами; аппаратуры управления, в которую входит аппаратура управления экструдером, выдувной машиной и головкой, формующей заготовку, и системы пневмо- или гидропривода.

По способу формования заготовки ЭВА подразделяются на агрегаты с непрерывной экструзией заготовки, агрегаты с осевым перемещением червяка и периодической экструзией заготовки и агрегаты с копильником и периодической экструзией.

По расположению червяка различают ЭВА с горизонтальным и вертикальным червяком.

В настоящее время наиболее широко распространены экструзионные агрегаты с непрерывным выдавливанием заготовки (для изделий емкостью до 0,5 л) и зкструзионные агрегат с копильником (для изделий емкостью 0,5 л).

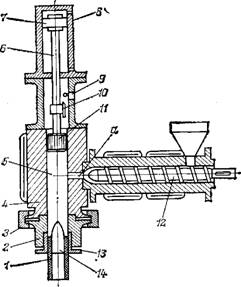
По емкости формируемых изделий ЭВА в соответствии с ОСТ 2610—73 подразделяются на десять основных типоразмеров. Типичный ЭВА (рис. 8.2) состоит из экструдеpa 1, многоручьевой головки для формования заготовок 2, выдувной машины с комплектом форм 3, устройства для сушки и подогрева гранул 5, пневмозагрузчика 6, шкафа тепловой автоматики 8, пульта управления 9, системы пневмо- и гидропривода 7 и устройства для удаления облоя 4.

Головки для изготовления трубчатых заготовок по направлению потока расплава разделяются на прямоточные и угловые, по числу одновременно формуемых заготовок — на одно-и многоручьевые.

Схема простейшей прямоточной головки приведена на рис. 8.3. Головка состоит из разъемного корпуса /, обогреваемого плавного колена 3, адаптера 4, матрицы 7, дорна с коническим наконечником 8, перфорированного дорнодержателя 2, ленточных нагревателей 5, сгруппированных в три тепловые зоны, и трех термопар (на рисунке не показаны). Расплав А непрерывно поступает от экструдера и, проходя по угловому каналу, попадает через отверстия дорнодержателя 2 в кольцевой канал корпуса головки, из которого он попадает в коническую щель В, образованную коническим наконечником и коническим отверстием в матрице, откуда и выдавливается в виде заготовки С. Центровка матрицы относительно дорна производится с помощью трех равнорасположенных центровочных болтов. Крепление матрицы к головке осуществляется накидным фланцем 6.

Рис.8.2 Экструзионно-выдувной агрегат. Рис 8.3 Прямоточная головка

Двухручьевая головка с тангенциальным вводом расплава (рис. 8.4) состоит из адаптера 1, через который по каналам а и в расплав от экструдера поступает в кольцевые каналы д и б, выполненные в виде кольцевых канавок на обоих дорнах 2, закрепленных в конических гнездах корпуса 6. Вытекая из кольцевых каналов, расплав формирует кольцевую струю, которая выдавливается через конический формующий зазор, образованный наконечником 5, укрепленным на конце дорна 2, перемещаемым микрометрическим винтом 7, и матрицей 4.

Центровка матрицы относительно дорна осуществляется при помощи трех центровочных болтов, равномерно расположенных по периферии накидного фланца 3, крепящего матрицу к корпусу головки. Микрометрические винты 7 служат для продольного перемещения наконечника 5, за счет которого осуществляется регулирование формующего зазора, необходимое для обеспечения равенства толщины стенок обеих экструдируемы заготовок.

Рис. 8.4 Двухручьевая пинольная головка. Заготовка с программным изменением толщины стенок. Числа — значения толщины стенок заготовки (справа) и изделия (слева) в мм.

Для выравнивания давления это периферии кольцевой щели служит имеющаяся на дорне фигурная кольцевая расточка. Для улучшения свариваемости частей потока, рассекаемого дорном, на пути расплава располагается область сжатия г в пределах которой поперечное сечение потока уменьшается.

Головки с продольным перемещением наконечника дорн иногда называют пинольными.

При изготовлении фасонных изделий для уменьшения ряда хода материала необходимо использовать заготовки с программным изменением толщины стенок. Для изготовления таких заготовок применяют специальные головки с подвижным дорном. Головка состоит из корпуса I в коническом седле которого неподвижно закреплен дорн удерживаемый гайкой 9. Конический наконечник дорна 3 установлен на штоке 5 поршня 7 гидроцилиндра 6, укрепленно на корпусе при помощи шпилек 8.

Изменение величины формующего зазора между матрицей'; л наконечником 3 осуществляется при вертикальном перемещении наконечника 3, приводимого в движение поршнем 7 гидр цилиндра 6.

Рис. 8.7. Гидравлическая схема управления перемещением дорна: 1— фильтр; 2— гидронасос; 3 — предохранительный клапан; 4 — вентиль; 5, 12 — управляющие электромагниты; 6, 11 — золотники управления; 7 — экструдер; 8 — гидроцилиндр; 9 — головка; 10 — дорн.

Схема управления перемещением наконечника дорна приведена на рис. 8.7. В исходном состоянии электромагниты и 12 обесточены, управляющие золотники 6 и находятся нейтральном положении, перекрывая выход гидравлической жидкости из обеих полостей гидроцилиндра 8. При этом поршень оказывается запертым и не может перемещаться ни вверх, ни вниз, в результате чего формующий зазор остается постоянным. При подаче напряжения на обмотку какого-либо электромагнита, например золотника 6, последний открывает доступ маслу под давлением в верхнюю полость гидроцилиндра и направляет его на слив из нижней (штоковой) полости цилиндра. Поршень гидроцилиндра вместе со штоком и наконечником дорна 10 при этом опускается. Одновременно увеличиваются формующий зазор и толщина заготовки. Как только величина формующего зазора достигнет заданного значения, обмотка электромагнита 5 обесточится, и золотник 6 под действием пружины вернется в исходное положение, перекрывая движение масла в полостях гидроцилиндра и фиксируя era поршень в новом положении. Аналогичным образом происходит и перемещение поршня вверх, ведущее к уменьшению зазора и утонению заготовки. Управление толщиной заготовки осуществляется по программе, заданной в блоке электронного управления, следящего за длиной экструдируемой заготовки при помощи фотореле.

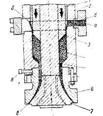
Для изготовления изделий емкостью от 4 л и более применяют аккумуляторные головки с копильниками плунжерного или кольцевого типа. Простейшая аккумуляторная головка плунжерного типа (рис. 8.8) состоит из обогреваемого корпуса 4, на котором с помощью разъемной конической муфты 3 укреплен наконечник 2 с дорном 14 и матрицей 13. Расплав, нагнетаемый экструдером 12, поступает по каналу а в рабочую полость 5 аккумулятора, перемещая вверх поршень 11. Величина пластицируемой дозы определяется положением установленного на штоке б кулачка 10, который в нужный момент набегает на конечный выключатель 9, останавливающий червячный экструдер. Заготовка 1 выдавливается из копильника поршнем 7 гидроцилиндра 8. Преимущества плунжерного аккумулятора по сравнению с непрерывным процессом экструзии состоит в том, что он позволяет выдавливать заготовку со скоростью, при которой заготовка не успевает деформироваться под действием собственного веса.

Для формования заготовок большого диаметра применяют аккумуляторные головки с кольцевым поршнем (рис. 8.9).

Рис. 8.8 Аккумуляторная головка плунжерного типа

Расплав, поступающий из экструдера по центральному каналу а, проходит в кольцевое пространство б, откуда он перетекает под кольцевой поршень 3, соединенный тремя штангами с поршнем гидроцилиндра впрыска (на схеме не показаны). Под давлением расплава поршень смещается вверх, причем величина смещения определяется заданным — 5 объемом заготовки. При выдавливании заготовки гидроцилиндр перемещает поршень вниз, продавливая расплав через кольцевой канал в между коническим наконечником 7дор-на 4 и матрицей 6, укрепленной на корпусе головки 2 при помощи шпилек 5.

Рис. 8.9 Аккумуляторная головка с кольцевым поршнем.

Рис. 8.10 Головка для экструзии трехслойной заготовки

Аккумуляторные головки с кольцевым поршнем такого типа применяют для изготовления изделий объемом от 1,5 до 400 л. Максимальный диаметр заготовки достигает 1300 мм.

В последнее время получили распространение ЭВА, на которых производят многослойные изделия, например бутыли, наружный и внутренний слои которых изготавливаются из одного материала, а промежуточный — из другого. Такие машины комплектуются двумя экструдерами, каждый из которых экструдирует свой полимер. Оба потока расплава подводятся к общей головке, в которой формируется слоеная заготовка. Типичный пример головки такого типа приведен на рис. 8.10.

Расплав А, формующий наружный и внутренний слои, поступает от одного из экструдеров через соединительный патрубок / и, попадая в головку, делится на два потока. Один из них проходит по центральному каналу и направляется к коническому рассекателю 2, установленному на перфорированном дорнодержателе 3. Проходя через отверстия в дорне дорнодержателя, расплав попадает в кольцевое пространство а, образованное внутренней поверхностью корпуса головки 4 и наружной поверхностью дорна 5. Эта кольцевая струя формирует внутренний слой заготовки. Расплав Б, из которого формируется промежуточный слой, поступает в головку от второго экструдера через патрубок 6 по каналу д и, попадая в фигурный кольцевой канал г, образует кольцевую струю, которая пс кольцевой щели е выдавливается на поверхность ранее сформированной струи первого расплава. Сформировавшийся двухслойный поток поступает к щели ж, через которую на его поверхность выдавливается третий внешний! слой, подаваемый к щели ж через боковые каналы в и спиральный кольцевой канал б. Сформированная трехслойная струя выдавливается через формующий зазор между наконечником дорна 7 и матрицей 8, закрепленной при помощи фланца 9 на подвижном стакане 10, который установлен на колонках 11, соединенных с поршнем механизма программного регулирования зазора между матрицей и наконечником дорна.


Выдувные машины

Выдувная машина является одной из основных частей ЭВА и предназначена для перемещения форм к головке, отрезания и приема заготовок, смыкания и герметизации форм, подач воздуха и раздува заготовки, отвода формы от головки, охлаждения отформованного изделия, раскрытия формы и удаления из нее готового изделия.

По числу рабочих позиций выдувные машины подразделяются на  одно-, двух- и многопозиционные, причем позиционность машины определяется, как правило, числом установленных форм.

Однопозиционные машины подразделяют, в свою очередь, на машины с неподвижным столом, в которых форма не может перемещаться в вертикальном направлении, а лишь имеет возможность открываться и закрываться, и машины с подвижным столом (рис. 8.11).

Рис.8.11 Принципиальная схема однопозиционной машины с подвижным столом:/ — головка; 2 — плита с полуформой: 3 — пневмоцилиндр перемещения полуформы; 4 — подвижный стол; 5 —станина; 6 — заготовка

Рис. 8.12 Механизмы смыкания выдувных машин: а — плоскопараллельный механизм смыкания с пневматическим приводом; б — шарнирный механизм смыкания

Однопозиционные выдувные машины с неподвижным столом обычно применяют в агрегатах для изготовления крупногабаритных изделий.

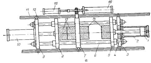
По способу смыкания полуформ (рис. 8.12) выдувные машины разделяют на машины с плоскопараллельным смыканием форм, в которых полуформы устанавливаются на подвижные плиты, перемещающиеся по цилиндрическим направляющим (рис. 8.12, а), и машины с шарнирным механизмом смыкания форм (рис. 8.12,6).

Машина с плоскопараллельным смыканием (рис. 8.12, а) состоит из трех неподвижных плит 3, 7, 9, соединенных двумя или четырьмя колоннами 6, по которым перемещаются подвижные плиты 5 и 8. Перемещение плит осуществляют пневмоцилиндры 2 и 10, установленные на неподвижных плитах 9 и 3. Установленные на плитах полуформы 13 и 14 попеременно открываются и замыкаются в результате перемещения подвижных плит, связанных штоками 4 с поршнями 1 пневмоцилиндров 2. Вся выдувная машина может перемещаться на роликах 12 по направляющим рельсам И. Перемещение машины под экструзионную головку осуществляется при помощи пневмоцилиндра 16. Гидравлический амортизатор 15 обеспечивает необходимую плавность хода и мгновенный останов машины на позиции приема заготовок.

Шарнирный механизм смыкания (рис. 8.12,6) состоит из двух рычагов 5 и 8, укрепленных на оси 6. На каждом из рычагов укреплена полуформа 7. Серьгами 4 рычаги соединяются с сухарем 3, установленным на штоке 9. Поршень 2 лневмоцилиндра 1, укрепленный на штоке 9, предназначен для открытия и закрытия формы. При ходе поршня влево сухарь 3 увлекает; за собой серьги 4, при этом рычаги 5 и 8 поворачиваются и раскрывают форму. При обратном ходе поршня форма закрывается.

Гидропривод современных ЭВА в основном подобен гидроприводу литьевых машин. Отличительная особенность привода машин для изготовления крупногабаритных изделий состоит в применении пневмогидравлических аккумуляторов, использование которых позволяет значительно увеличить скорость экструзии заготовки, не прибегая к существенному увеличению производительности насосов высокого давления.

Похожие работы на - Формование полых изделий из полимеров

 

Не нашли материал для своей работы?
Поможем написать уникальную работу
Без плагиата!
Без нейросетей!