Управління трифазним електродвигуном на прикладі будівельної люльки ЛЭ-100-300
Тема:
Управління трифазним електродвигуном на прикладі
будівельної люльки ЛЭ-100-300
Розділ I. Люлька ЛЭ- 100
- 300
1.1 Призначення і
застосування
1.2 Будова
і принцип роботи
Розділ IІ. Експлуатація електродвигунів
2.1 Будова і принцип дії
асинхронного двигуна
2.2 Обслуговування електродвигунів
2.3 Розбирання
електричних машин
Розділ IІІ. Будова
і принцип дії апаратури управління
Список використаної
літератури
Розділ I. Люлька ЛЭ - 100 - 300
1.1 Призначення і застосування
Люлька ЛЭ-100-300 призначена для підйому людей (не більш двох
чоловік), інструмента і будівельних матеріалів до робочого місця для виконання
зовнішніх опоряджувальних робіт на будинках і спорудженнях висотою до 100
метрів у районах з помірним кліматом.
З люльки зручно робити облицювання і фарбування зовнішніх стін,
оброблення швів і інші види обробки при будівництві нових і ремонті старих
великопанельних блокових і цегельних будинків і споруджень. При цьому
навантаження на люльку не повинна перевищувати 300 кг (з урахуванням маси робітників).
Індекс люльки ЛЭ-100-300 розшифровується так:
ЛЭ — люлька з електроприводом;
100 — максимальна висота підйому, м;
300 — вантажопідйомність, кг.
Технічні характеристики
|
Місткість, чол.,
|
не більш 2
|
|
Роззаходи робочого настилу:
|
|
|
довжина, м
|
4
|
|
ширина, м
|
0,7
|
|
вантажопідйомність, кг
|
300
|
|
максимальна висота підйому, м
|
100
|
|
швидкість підйому., м/хв.
|
5,5
|
1.2 Будова і принцип роботи
Люлька ЛЭ-100-300 (рис. 1.1.) складається з каркаса 1, на якому по торцях
установлені дві фрикційно-барабанні лебідки 2, відцентровий уловлювач 3. У робочому положенні люлька
підвішена на двох вантажних 4 і двох запобіжних 5 канатах, закріплених на консолях. До нижніх
кінців усіх канатів у землі прикріплені вантажі для натяжки цих канатів.
Вантажні канати проходять через лебідки, а запобіжні - через уловлювачі.
Рис. 1.1. Схема люльки ЛЭ - 100 - 300
1 — каркас люльки; 2 — лебідка; 3 — уловлювач; 4 — канат вантажний; 5 — канат запобіжний; 6 — шафа керування; 7 — пульт керування.
Застосовувані фрикційно-барабанні лебідки, у відмінність, від
звичайних, не намотують вантажний канат, а самі разом з колискою переміщаються
по ньому на будь-яку висоту в залежності від довжини каната.
Це відбувається за рахунок тертя між струмками барабанів лебідки і
канатами. Кожна лебідка оснащена колодковим і вантажоупорним гальмами, а також
має додатковий ручний привод для можливого спуска люльки при раптовому відключенні
електроенергії.
Установлені на колисці відцентрові уловлювачі забезпечують безпеку ведення робіт. При
збільшенні швидкості спуска (падінні) люлька автоматично стопориться, тобто підвішується
на запобіжних канатах. Причиною падіння люльки може бути обрив або ослаблення
натягу робочого каната натяжним вантажем, несправності в лебідці, хоча при цьому
вантажний канат натягнутий від ваги люльки.
Керування переміщенням люльки відбувається з переносного пульта 8. Електросхема люльки дозволяє
керувати люлькою як з люльки, так і з землі, зробивши відповідні переключення
штепсельних роз’ємів.
Будова лебідки
Лебідка складається з двох багатострумкових шківів-барабанів. Крутний
момент, передається від електродвигуна на барабани через дві пари зубчастих
коліс закритого редуктора й однієї зубцюватої ступіні, колеса якого прикріплені
до торців фрикційних барабанів. Лебідка обладнана двома гальмами.
Вантажопід'ємне гальмо - дискове, із храповим механізмом,
розташоване між першою і другою ступінями редуктора. Колодкове гальмо оснащене
електромагнітом і встановлюються на гальмовому шківі муфти, що з'єднує вали
електродвигуна і редуктора. Вал першої ступіні редуктора закінчується прорізом
для установки рукоятки ручного привода. Завдяки блокувальному пристрою, що відключає ланцюг
керування двигуном, на валові рукоятка ручного привода не буде обертатися від
електродвигуна. Після запасування робочого каната барабани закриваються
кожухом.
Лебідка працює так: електромагнітне гальмо при включенні лебідок
на підйом або опускання розгальмовує їх, і лебідки, а з ними і люлька,
починають переміщатися по канатах за рахунок тертя між ними і струмками
барабанів. Тому люльки з даними лебідками можуть підніматися по натягнутих
робочих канатах на будь-яку висоту в залежності від їхньої довжини. Якщо
колодкове гальмо в силу яких-небудь причин відмовить, то вступить у роботу
страхувальне вантажопід’ємне гальмо, що спрацьовує від обертання при опусканні люльки.
Уловлювач
На каркасі люльки закріплені відцентрові уловлювачі. Запобіжний
канат при проходженні через уловлювач робить один виток на його блоці, де
закріплені підпружинені кулачки, що вільно висять на своїх осях.
На одній осі з блоком вільно сидить диск із зубами, зв'язаний
важелем із двома верхніми сергами. Верхні серги і нижні серги закріплені на
осях у корпусі і мають фігурні вирізи для цапф лівого і правого стисків. Якщо
швидкість опускання не перевищує робочу, запобіжний канат вільно проходить між
стисками.
Уловлювач працює так, що при збільшенні швидкості опускання
(падіння) прискорюється обертання блоку за рахунок сил тертя між канатом і
блоком. Кулачки, відхиляючи відцентровою силою, упираються в зуби диска,
змушуючи його повернутися на невеликий кут за годинниковою стрілкою. При цьому
зв'язана з диском тяга, переборюючи зусилля пружини, тягне за собою верхні
серги, а через стиски — нижні серги.
При цьому стиски, зближаючи один з одним, схоплюють запобіжний канат
із силою, пропорційною зусиллю на канаті. При вільному підйомі й опусканні
люльки система стисків, завдяки наявності пружини повернення, вільно пропускає
запобіжний канат.
Консоль
Для підвіски люльки ЛЭ-100-300 на будинках із плоским дахом
використовуються дві консолі, що входять у комплект постачання.
Консолі монтуються на даху будинку, де вони утримуються контрвантажем без додаткового
кріплення.
Консоль складається з балки, що монтується за допомогою пальців,
передньої і задньої опор і додаткового вантажу масою 280 кг, що складається з 14-ти контрвантажів по 20 кг кожний.
Розбірність конструкції полегшує монтаж консолі. Під опори підкладають
дерев'яні бруси з обов'язковим кріпленням їх до консолі щоб уникнути
випадкового падіння на землю. Дана консоль призначена для підвіски люльки на
будинках із плоским дахом.
Електроустаткування
Електроустаткування люльки складається із шафи керування, пульта
переносного, блокування ручного привода, обмежника висоти підйому й
електропривода лебідок (Див. Рис. 2.1.).
Електросхема
люльки
запроектована на напругу живильної мережі 380 В, частотою 50 Гц із глухозаземленою нейтраллю. Електроживлення люльки
подається через вільно висячий кабель.
Перед початком роботи необхідно ввімкнути автоматичний вимикач F, розташований у шафі
керування. При керуванні з люльки тумблер S що знаходиться в
шафі керування, поставити в положення "робота". При керуванні з землі
тумблер S9 поставити в положення "іспит", зробивши відповідне переключення
штепсельних роз’ємів згідно з електросхемою. При вирівнюванні люльки пакетний
перемикач S4,
що
знаходиться на пульті переносному, необхідно поставити в положення "вирівнювання".
Для аварійної зупинки люльки пакетний перемикач S4 необхідно установити в
положення "виключене".
Підйом (опускання) люльки виробляється безперервним натисканням на
кнопку
S2 (S3).
Підйом (опускання) однієї сторони люльки здійснюється шляхом,
натискання пускача S2 - "нагору" (S3 — "униз"), при положенні перемикача S4 — "вирівнювання".
Підключення люльки і перевірка її готовності до експлуатації
Підключення кабелю до джерела електроживлення можна робити як
унизу, так і посередині будинку. При підключенні в середній частині будинку:
а) довжина кабелю зменшується майже в два рази;
б) на виході кабелю з вікна будинку необхідно ставити круглу
опору щоб уникнути перелому кабелю;
в) при довжині кабелю понад 50 метрів його необхідно
підвісити до люльки зі сталевим тросом.
Перед експлуатацією люльки необхідно зробити перевірку. При
перевірці люльки необхідно користуватися виносним пультом. Керування люльки в
цьому випадку здійснюється з землі, при цьому в шафі керування тумблер S9 повинний бути включений
на положення "іспит".
До початку перевірки необхідно перевірити:
а) блокування електропривода з ручним приводом, для цього вставити
рукоятку ручного привода і перевірити включення люльки —обертання електродвигунів не повинне
спостерігатися;
б) перевірити надійність роботи кінцевих вмикачів обмеження
підйому люльки нагору. При натисканні на кінцевий вимикач обертання електродвигунів
не припиняється. При натисканні на кінцевий вимикач S7 (не відпускаючи S9) електродвигуни реверсуються.
Порядок роботи
Перед роботою необхідно:
а) підключити штепсельні роз’єми у відповідності зі схемою люльки
при експлуатації;
б) у шафі керування ручка тумблера S9 повинна бути встановлена
на положенні "робота";
в) ввімкнути автоматичний вимикач F, розташований у шафі
керування;
г) пакетний перемикач S4 поставити в положення "робота".
(Див. Рис. 2.1.)
Керування переміщенням люльки відбувається з переносного пульта,
що при експлуатації знаходиться на люльці. При натисканні пускача S2 "нагору"
люлька переміщається нагору, а при натисканні натискного пускача S3 "униз" -
униз.
При відпусканні натискних пускачів S2 і S3 рух люльки припиняється.
Для аварійної зупинки люльки пакетний перемикач S4 встановлюється в
положення "відключене". Для вирівнювання люльки необхідно пакетний
перемикач S4
поставити
в положення —
"вирівнювання".
При цьому вирівнювання люльки буде здійснюватися електродвигуном М1.
При досягненні люльки верхнього крайнього положення кінцевий
вимикач Se розімкне ланцюг котушки магнітного пускача К1.1. і люлька
зупиниться. У випадку відмовлення кінцевого вимикача S8 розімкне ланцюг
кінцевий вимикач S7 спрацьовуючий зі зсувом у 300 мм.
Для того, щоб відвести люльку від крайнього верхнього положення
вниз, необхідно скористатися ручним приводом. Після чого знімають рукоятку
ручного привода і надалі керування рухом люльки відбувається з пульта керування.
Рис. 1.2.
Розділ IІ. Обслуговування електродвигунів
2.1 Будова і принцип дії асинхронного двигуна
Основними частинами асинхронного двигуна (рис.2.1.) є нерухомий статор і
обертовий ротор, які розділені повітряним зазором. Статор складається із
станини (або корпуса) з лапами; стального осердя із штампованих, ізольованих
один від одного, листів електротехнічної сталі з пазами для укладання обмотки
статора; обмотки статора, виготовленої з ізольованого мідного дроту, й
укладеного в пази осердя. Обмотка призначена для утворення обертового
магнітного поля.
Рис. 2.1 Асинхронний електродвигун з короткозамкненим
ротором:
1, 9, 17 — болти, 2 я 23 — шпонки, 3 — вал ротора, 4 и 22 —
роликовий і кульковий підшипники, 5,6 — зовнішня и внутрішня кришки підшипника,
7 — стопорне кільце, 8, 21 — підшипникові щити 10 — станина, 11 — статорна
обмотка, 12 — осердя статора, 13 — гвинти кріплення осердя до станини, 14 —
осердя ротора, 15 — замикаюче кільце, 16 — лопать вентилятора, 18 и 20 вентилятори,
19 — кожух вентилятора
Найпростішим елементом обмотки є виток (рис. 2.2, а). Декілька
з'єднаних між собою витків, які містяться у двох пазах і мають спільну ізоляцію
паза утворюють секцію (рис. 2.2, б).
Рис.
2.2. Елементи обмоток статора:
а - виток, б — секція.
Сукупність секцій, які належать до однієї фази, називається фазною
обмоткою. Виводи фаз обмотки прийнято позначати: С1, С2, С3 — початки і С4, С5, С6 — кінці відповідно першої,
другої і третьої фаз. Окремі фази обмотки статора можуть з'єднуватися зіркою
або трикутником. На рис. 2.3 наведено схеми з'єднання фаз
обмотки статора і відповідні цим з'єднанням перемикання на щитку машини.
Рис. 2.3. Схеми з'єднання фаз обмотки статора
а — зіркою; б — трикутником.
Ротор асинхронного двигуна (рис. 2.4. ) складається з таких
частин: стального циліндра, складеного із штампованих, ізольованих один від
одного, листів електротехнічної сталі; вала ротора, на якому закріплено
стальний циліндр ротора, підшипників, вентилятора. Залежно від типу обмотки
ротори поділяються на короткозамкнені та фазні. У пази
короткозамкнених роторів укладено стержні із струмопровідного матеріалу, які з
торців замикаються кільцями, утворюючи так зване біляче колесо. У пази фазного
ротора укладено провідники секцій трифазної обмотки, які з'єднують зіркою.
Трифазний струм, що проходить через обмотку статора асинхронного
двигуна, створює обертове магнітне поле, яке перетинає провідники обмотки
ротора, індукує в них є. р. с. У провідниках замкненої обмотки протікають струми і2.
При взаємодії цих струмів та обертового магнітного поля виникають
електромагнітні сили, які за правилом лівої руки спрямовані в бік обертання
поля статора. Ротор починає рухатися в бік руху магнітного поля. Швидкість
обертання ротора менша за швидкість обертання магнітного поля. Це можна
пояснити так: якщо б ротор обертався із швидкістю поля, то через відсутність
відносного руху провідників обмотки ротора та обертового магнітного поля
останнє не перетинало б провідників обмотки ротора, у них не індукувалися б е. р. с і небуло б
струмів, а це означає, що електромагнітний момент дорівнював би нулю. Отже, обертове
магнітне поле і ротор асинхронного двигуна принципово обертаються з різними
швидкостями — асинхронно, що і визначило назву машини.
Рис. 2.4. Ротор асинхронного двигуна:
а — обмотка короткозамкненого ротора;
б — схематичне зображення обмоток фазного ротора.
2.2
Експлуатація електродвигунів
Експлуатація електродвигунів складається із слідуючих основних
елементів: нагляду, своєчасного виявлення несправностей та їх усунення;
профілактичних випробувань; пуску та зупинки.
Перевірка температури нагріву. Під час роботи двигунів
перевіряють температуру їх нагріву. У двигунів потужністю до 100квт нагрів
статора перевіряють дотиком. Нагрів електродвигунів потужністю більш ніж 100квт
контролюють по термометру, встановленому на корпусі статора, або по термоопору,
закладеному в обмотку двигуна.
Для контролю за пуском і навантаженням у двигунів потужністю 40квт
та вище встановлюють амперметри. На шкалі амперметра червоним підкреслено
величину номінального струму електродвигуна плюс 5%.
На зборках або групових щитках, до яких під’єднані електродвигуни,
повинні бути вольтметри або сигнальні лампи для контролю наявності напруги.
Двигун слід завжди тримати в чистоті. Усі зайві предмети
(ганчірки, куски металу та проводів) необхідно прибрати. Поруч із двигуном не
повинно бути займаючихся матеріалів (бензин, олива та ін.) які можуть призвести
до пожежі.
Догляд за підшипниками. для нормальної роботи
двигуна його підшипники ковзання потрібно тримати у чистоті. Для цього кришки
підшипників щільно закривають. Олива, що застосовується для змазування
підшипників, не повинна вміщувати кислоту або смолу.
Для нормальної роботи підшипників з кільцевим змащуванням
необхідно не менш двох разів за зміну перевіряти обертання кілець і чистоту
оливи.
Перед заміною змазки підшипники промивають керосином, продувають
повітрям, промивають тією маркою оливи що застосовується для даних підшипників,
а після цього заливають свіжу оливу.
Якщо підшипники працюють нормально і не нагріваються, то огляд і
заміна оливи здійснюється при чергових ремонтах, а також по мірі необхідності в
залежності від стану змащування.
Після зборки підшипникових вузлів перевіряють легкість обертання
ротора від руки а потім вмикають електродвигун та обертають його 15 хвилин
вхолосту. Якщо стан підшипників нормальний , при прослуховуванні чутний
рівномірний гул без стуків та ударів.
Однією з основних причин несправностей підшипників кочення
являється їх перегрів.
Надмірний нагрів підшипників може відбуватися в результаті
неправильного збирання, тугої посадки зовнішнього кільця підшипника у
підшипниковому щиті, а також при відсутності осьового зазору в одному з
підшипників, необхідного для компенсації температурного розширення вала при
роботі машини. щоб встановити нормальний осьовий зазор, необхідно проточити
бортик кришки підшипника або встановити прокладки між його кришкою та корпусом.
Іноді в підшипниках виникає ненормальний шум, що супроводжується підвищенням
температури. Це може бути результатом поганого відцентрування двигуна,
забруднення підшипників, великого зношування окремих деталей (кульок, роликів)
та нещільної посадки внутрішнього кільця на вал.
Якщо в підшипники закладено змазки більше ніж потрібно, або її
марка не відповідає температурі навколишнього середовища і при цьому ущільнення
недостатні, тоді з підшипників при роботі двигуна буде виходити змазка.
2.3 Розбирання електричних машин
Розбирання більшості електричних машин починається з видалення пів
муфти з вала за допомогою ручного або гідравлічного знімача.
Знімач з регульованим розкриттям тяг (Рис. 2.5, а), дозволяє
знімати з валу пів муфти різних діаметрів. Розкриття та фіксування тяг
відбувається за допомогою регулювальної гайки 2, що навернута на різьбу гвинта
1. Тягове зусилля, що створюється за допомогою ручного знімача являється
складною операцією, що потребує значних фізичних зусиль, тому для демонтажу
півмуфт, які не піддаються стягуванню, застосовують гідравлічний знімач.
Гідравлічний знімач (Рис. 2.5, б), представляє собою встановлений
на колесах майданчик 4 з двома стійками 5, на яких вертикально переміщується
гідравлічний плунжерний насос 8. Щоб зняти півмуфту, встановлюють та
закріплюють болтами на корпусі насоса траверси 6, між якими також болтами
закріплюють захвати 7.
Рис. 2.5. Знімачі для стягування (розпресовування) півмуфт і
підшипників кочення з валів електричних машин
а – гвинтовий знімач з регульованим розкриттям тяг, б –
гідравлічний знімач, в – знімач для стягування підшипників кочення захватом за
підшипник, г - знімач для стягування підшипників кочення захватом болтами за
кришки або капсули підшипника; 1 – черв’ячний гвинт з головкою, 2 –
регулювальна гайка, 3 – тяги, 4 – майданчик, 5 – стійка, 6 – траверси, 7 –
захвати, 8 – плунжерний насос, 9 – рукоятка штока насоса, 10 – пластинка зі
штифтами, 11 – шпильки, 12 – плита, 13 – диск, 14 – корпус знімача
Розділ IІІ. Будова і принцип дії апаратури управління
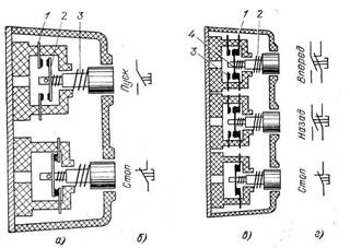
Двокнопкова станція (мал. 2.6,а)
складається із кнопки ПУСК і СТОП з нерухомими контактами 1 і рухливими 2. При
натисканні на кнопку ПУСК відбувається замикання контактів, СТОП — розмикання
контактів. Під впливом пружини 3 при відпусканні кнопки контактна система
займає вихідний стан.
Рис. 2.6.
Трьохкнопкова станція (Рис. 2.6, в) складається із
трьох кнопок: ВПЕРЕД, НАЗАД, СТОП. Кнопки ВПЕРЕД та НАЗАД мають по дві
пари контактів — пару замикаючих 1 і пару розмикальних 3. При
натисканні кнопки контактний місток 4 спочатку розмикає ланцюг
розмикальних контактів, а потім замикає замикаючі контакти. У вихідне положення
контактні системи вертаються пружиною 2. На рис. 2.6,б і г наведені
умовні графічні позначення кнопок на принципових схемах.
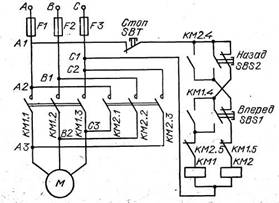
Схема керування трифазним асинхронним електродвигуном за допомогою
контактора (рис. 2.7.) складається із двох частин - силового ланцюга (товсті
лінії) і ланцюга керування (тонкі лінії). У силовий ланцюг послідовно в кожну
фазу включені головні контакти контактора й обмотки мотора. У ланцюг керування який
підключено на лінійну напругу живильної мережі, входять послідовно з'єднані
кнопки SBS ПУСК і SBT СТОП і обмотка контактора КМ1. При
натисканні кнопки ПУСК утворюється ланцюг керування: фаза А - Обмотка КМ1
— контакти кнопки SBS — контакти кнопки SBT
— фаза С.
Головні контакти КМ1.1, КМ1.2 замикаються, і на обмотки
електродвигуна подається трифазна напруга. Щоб двигун не зупинився при
відпусканні кнопки ПУСК, паралельно підключені блокувальні контакти KM1.4. зупинка
виконується натисканням кнопки СТОП, тобто розмиканням кола керування.
Рис. 2.7.
Реверсування електродвигунів (Рис. 2.8). Виконується
двома контакторами й трьохкнопковою станцією. При одночасному спрацьовуванні
двох пускачів відбувається коротке замикання між фазами А та С контактні
системи пускачів виходять із ладу. Тому в реверсивних схемах запуску
застосовують механічні й електричні блокування. Принцип роботи механічного
блокування полягає в наступному. При спрацьовуванні одного з
контакторів, що рухаються частини контактної системи другого контактора
фіксуються важелем із засувкою або в зазор магнітопроводу вводиться стрижень,
що обмежує переміщення контактної системи.
Рис. 2.8.
Магнітні пускачі
Магнітний
пускач являється комбінованим апаратом дистанційного керування, що складається
із контактора, додаткового теплового реле. Він застосовується для пуску,
зупинки та зміни напрямку обертання електродвигуна. В якості апарата захисту
він вимикає двигун при недопустимих навантаженнях, а також при відсутності
напруги. Найбільш поширені контактори П6 і ПА (Рис. 2. 9.)

1 – стальна скоба, 2 – пластмасова колодка, 3 – осердя, 4 -
пружина,
5 – котушка, 6 – головка, 7 – рухомий контакт, 8 – циліндрична
контактна пружина, 9 – амортизаційна пружина, 10 - траверса, 11 – плоска пружина, 12 –
мостик, 13 – пластина з нерухомим контактом, 14 – гвинт для приєднання
проводів(шин) зовнішньої мережі
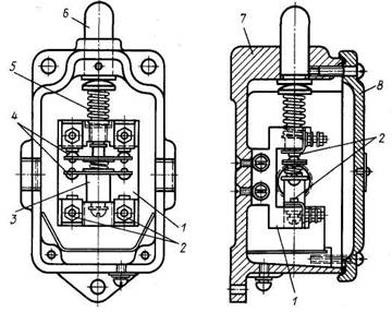
Для автоматичного вмикання, вимикання або перемикання електричних
мереж в залежності від проміжного або кінцевого положень рухомих робочих
органів верстата застосовують і кінцеві вимикачі. Вимикач рис. 2.10. має корпус
7 з кришкою 8, в якому на стійці 1 з діелектрика закріплені нерухомі 2 і рухомі
мостикові 4 контакти.
Рис. 2.10. Кінцевий вимикач
Список використаної літератури
1.
Атабеков В. Б. Ремонт електрооборудования промышленных предприятий: Учебник для
сред, проф.-техн. училищ. — 4-е изд., перераб. и доп. — М.: Высш. школа, 1979.
— 256 с, ил. — (Профтехобразование. Енергетика).
2.
Бондар В. М., Гаврилюк В.
А., Духовний А. X. та
ін. Практична електротехніка для робітничих професій: Пі-друч. для учнів
проф.-навч. закладів з різноманіт. галузей пром.-сті та побут, обслуг.— К.:
Веселка, 1997. — 191 с.
3.
Егоров
Г.П. и Коварский А.И. устройство, монтаж, експлуатация и ремонт промышленных
електроустановок.
4.
Кокорев А.С. Электрослесарь по ремонту
злектрических машин: Учеб. для СПТУ.
5.
Фещенко В. Н., Махмутов Р. X.Токарная
обработка: Учеб. для ПТУ.— 2-е изд., перераб. и доп.—М.: Высш. шк., 1990.—303
с: ил