Технологии извлечения вольфрама

  • Вид работы:
    Курсовая работа (т)
  • Предмет:
    Технология машиностроения
  • Язык:
    Русский
    ,
    Формат файла:
    MS Word
    740,71 kb
  • Опубликовано:
    2010-10-07
Вы можете узнать стоимость помощи в написании студенческой работы.
Помощь в написании работы, которую точно примут!

Технологии извлечения вольфрама

ВВЕДЕНИЕ

В настоящее время для извлечения металлов из лома карбидов металлов, полученных путем спекания и содержащих, например WC и Со, карбиды подвергают обжигу при температуре> 1700 С (что значительно превышает обычную температуру спекания, составляющую 1400—1450 °С), а затем охлаждают. После этого обрабатываемый продукт, который становится хрупким, измельчают в порошок. При использовании этого метода для отделения карбида вольфрама от кобальта требуется очень сложная дополнительная обработка, которая сопровождается загрязнением окружающей среды. В работе рассмотрены способы извлечения вольфрама из отходов промышленных производств.

 

Глава 1. Пропитка порошковых формовок

Технологические приемы, используемые при получении материалов методом пропитки, отличаются главным образом способами создания давления на жидкий металл, которое должно обеспечить заполнение пор в порошковых формовках. При самопроизвольной пропитке это давление создается без приложения внешних сил, только за счет капиллярных эффектов. При вакуумной пропитке (вакуумном всасывании) заполнение пор жидкостью происходит за счет разности между атмосферным давлением и давлением, создаваемым в порах при вакуумировании пропитываемого материала. Эта разность, естественно, не может превышать величину атмосферного давления. Пропитка, осуществляемая под воздействием перепада давлений, превышающего атмосферное, например, с помощью сжатых газов или механическим путем, называется пропиткой под давлением. Давление пропитки может возникать также при наложении ультразвуковых колебаний (ультразвуковая пропитка), магнитного поля (магнитно-динамическая пропитка) и др.

 

1.1 Самопроизвольная пропитка

Самопроизвольная (свободная) пропитка пористых материалов осуществляется при полном их погружении в пропитывающую жидкую фазу. Преимущество этого метода - возможность использования обычной литейной оснастки и получение изделий сложной конфигурации, недостаток - наличие пор и пустот, образующихся в результате объемной усадки при кристаллизации и недостаточного заполнения порового пространства. Во всех случаях необходимым условием самопроизвольной пропитки является смачивание жидкой фазой поверхности пропитываемого материала.

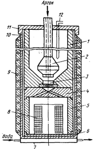
Свободная пропитка редко осуществляется на воздухе из-за опасности окисления материалов. Чаще она проводится в инертной атмосфере или вакууме. Схема установки для пропитки в среде инертных газов приведена на Рисунок 1.

Рисунок 1 – Схема установки для самопроизвольной пропитки

Заготовка 8 помещается в камеру 5, которая закрывается графитовой пробкой 4, на которой расположен графитовый плавильный тигель 1 с матричным сплавом. Через отверстие в запорном плунжере 2 в тигель подается инертный газ, включается нагрев, матричный материал расплавляется, после чего плунжер 2 поднимается и жидкий металл поступает в камеру 5, пропитывая пористый каркас.

Самопроизвольную пропитку используется для изготовления изделий из псевдосплавов и керметов.

 

1.2 Вакуумная пропитка

Вакуумная пропитка является разновидностью пропитки под давлением, при которой в качестве движущей силы процесса используют атмосферное давление. Вакуумирование позволяет защитить пористые каркасы от окисления, как правило, улучшает смачивание, позволяет уменьшить время контакта каркаса с жидким металлом.

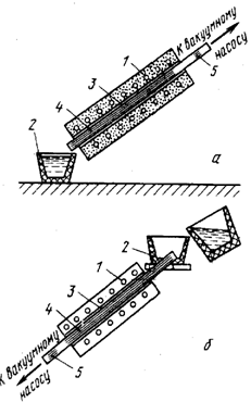
Рисунок 2 показывает схему получения материалов вакуумной пропиткой с нижним и верхним расположением тигля.

Рисунок 2 – Схема вакуумной пропитки с нижним (а) и верхним (б) расположением тигля. 1 – печь сопротивления, 2 – тигель, 3 – металлическая форма, 4 – каркас; 5 – пористая пробка.

Пропитка под давлением предусматривает заполнение пор жидким металлом под давлением, превышающим ~0,1 МПа. Она может осуществляться с помощью поршневых и компрессорных машин для литья под давлением. В первом случае, расплавленный металл вытесняется в форму, где находится пропитываемая заготовка, с помощью поршня, а во втором, сжатый воздух давит на поверхность расплавленного металла и гонит его в форму, в которой осуществляется пропитка. Широко применяется также пропитка под давлением инертных газов.

Пропиткой под давлением можно получать детали сложной конфигурации с толщиной стенок 1–3 мм, при этом их форма и размеры максимально приближены к заданным и часто не требуют дополнительной механической обработки.

 

1.3 Ультразвуковая пропитка

Скорость движения жидкости по капиллярам и качество заполнения пор существенно интенсифицируются под действием ультразвуковых колебаний.

Рисунок 3 – Схема ультразвуковой пропитки: 1 – сосуд с жидкостью; 2 – пропитываемая заготовка; 3 – пропитывающая жидкость; 4 – нагреватель; 5 – мембрана; 6 – магнитостриктор.

Одна из возможных схем ультразвуковой пропитки приведена на Рисунок 34. В ультразвуковом поле изделия пропитываются в несколько раз быстрее, чем при самопроизвольной пропитке. Простота и технологичность позволяют легко включить ультразвуковую пропитку в поточную линию производства изделий из порошков.

1.4 Керметы, получаемые методом пропитки

Метод пропитки позволяет изготавливать композиции из различных веществ, сочетая в одном материале металл с керамикой, полимерами, графитом и другими материалами и варьируя в широких пределах эксплуатационные характеристики изделий.

Керметы (керамико-металлические материалы) – материалы, представляющие собой композиции одной или нескольких керамических фаз с металлами. Керамическую фазу в керметах обычно составляют порошки оксидов, карбидов, нитридов и других тугоплавких соединений. Считается, что объемная доля керамики в керметах может изменяться от 0,15 до 0,85. Керметы классифицируют по природе керамической составляющей (оксидные, карбидные, нитридные, боридные) и по применению (жаропрочные, износостойкие, высокоогнеупорные, коррозионно-стойкие и др.).

Микроструктура керметов может представлять собой керамическую матрицу, внутри которой расположены металлические включения; металлическую матрицу с изолированными между собой керамическими частицами; два равноправных каркаса из металла и керамики и статистическую смесь керамических и металлических частиц. Выбор той или иной структуры диктуется назначением материала и технологией его получения.

Керметы изготавливают методами порошковой металлургии – прессованием и твердофазным спеканием, жидкофазным спеканием, пропиткой, экструзией, горячим прессованием, прокаткой и др.

Изготовление керметов методом пропитки используют реже, чем жидкофазное спекание. Это связано с тем, что в большинстве случаев стремятся получить структуру кермета, при которой каждая частица карбида окружена слоем металла, чтобы обеспечить повышенные показатели ударной вязкости и трещиностойкости, а такую структуру легче получить жидкофазным спеканием, чем пропиткой. Тем не менее, в ряде случаев целесообразно использовать метод пропитки, который позволяет получать изделия сложной формы с практически нулевой пористостью, регулировать время контактирования тугоплавкого соединения с жидким металлом (сплавом) и пригоден для выпуска деталей больших серий.

Работоспособность кермета контролируется как свойствами его составляющих и их относительной концентрацией, так и прочностью их связи, а также структурой тугоплавкого каркаса, формирующегося на стадии предварительного спекания под пропитку. На этой стадии необходимо обеспечить требуемую пористость, определенный размер пор и зерен, а также прочность самого каркаса.

Одним из наиболее важных моментов в регулировании свойств керметов является управление межфазным взаимодействием. Оптимальным в смысле обеспечения прочности является термодинамически равновесная адгезия между фазами.

Теоретические оценки и накопленный экспериментальный опыт по межфазному взаимодействию позволяют установить правила выбора металлических матриц для керметов. В керметах, содержащих оксиды, металлическая составляющая должна иметь меньшее сродство к кислороду, чем металл оксида, или образовывать оксиды, изоморфные основной оксидной составляющей кермета (например, оксид алюминия - хром). В керметах на основе карбидов рекомендуется в качестве металлической фазы применять металлы, которые не образуют карбидов. Металлическая связка нитридных керметов не должна образовывать стойких нитридов, а силицидных – не должна взаимодействовать с кремнием, поскольку последний в силицидах имеет практически такую же активность, как в свободном состоянии.

Прочность связи на межфазной границе можно регулировать в широких пределах при получении керметов за счет введения в расплавленный металл адгезионно-активных добавок.

Керметы типа металл - тугоплавкое соединение используют в качестве фрикционных, антифрикционных, конструкционных, огнеупорных, износостойких, эрозионностойких и абразивных материалов. Рассмотрим некоторые керметы, получаемые пропиткой карбидных каркасов металлическими расплавами.

1.5 Керметы на основе карбида вольфрама

Наиболее распространенными керметами являются сплавы системы WC-Co. При нагреве прессовки из карбида вольфрама, на которую сверху положен чистый кобальт (Рисунок 4, а), происходит частичное спекание карбидных частиц. При температурах 1550 К образуется эвтектика и в местах контакта прессовки с кобальтом появляется жидкая фаза, пропитывающая карбидный каркас (Рисунок 4, б).


Рисунок 4 – Схема пропитки карбида вольфрама чистым кобальтом (а – г) и сплавами кобальта с карбидом вольфрама эвтектического (д, е) и заэвтектического состава (ж, з): а, д, ж – 293 -1553 К; б – 1553 К; в – 1673-1753 К; г,е.з – 293 К.

При пропитке пористого карбидного каркаса сплавом эвтектического состава (Co-27WC) раковины на поверхности образца не образуются (Рисунок 35, д, е), наблюдается только незначительная шероховатость поверхности. Если же для пропитки используют сплав с избытком карбида (Рисунок 35, ж, з), то на пропитываемом изделии остается легко удаляемый слой из карбида вольфрама и кобальта. Таким образом, предварительное насыщение металла элементами, из которых состоит тугоплавкое соединение, позволяет устранить появление раковин.

Пропиткой спрессованного карбида вольфрама медью, медно-никелевым сплавом Cu–10%Ni, марганцевым мельхиором МНМц60-20–20 и медносеребряным сплавом получали керметы, предназначенные для работы в торцевых уплотнениях насосов, перекачивающих кислоты и щелочи.

1.6 Керметы на основе карбида титана

Карбид титана обладает высокой окалиностойкостью, низкой плотностью, хорошо смачивается переходными металлами, менее дефицитен, чем карбид вольфрама, широко используемый при изготовлении традиционных твердых сплавов. Известны керметы на основе карбида титана, пропитанного углеродистыми, легированными, инструментальными и коррозионностойкими сталями, жаропрочными никелевыми сплавами, стеллитами.

Пропитывающие сплавы смачивают карбид титана, а многие компоненты, входящие в их состав, активно взаимодействуют с ним при повышенных температурах. Так, хром, являясь сильным карбидообразующим элементом, образует карбид хрома, из которого формируются мостики между зернами карбида титана, снижающие пластичность и вязкость кермета. Аналогичное влияние оказывает алюминий, который в процессе пропитки образует с никелем хрупкие алюминиды, располагающиеся в виде перемычек между зернами карбида и охрупчивающие кермет.

Глава 2. Твердые металлокерамические сплавы

В настоящее время для производства режущих инструментов широко используются твердые сплавы. Они состоят из карбидов вольфрама, титана, тантала, сцементированных небольшим количеством кобальта. Карбиды вольфрама, титана и тантала обладают высокой твердостью, износостойкостью и теплостойкостью. Инструменты, оснащенные твердым сплавом, хорошо сопротивляются истиранию сходящей стружкой и материалом заготовки и не теряют своих -режущих свойств при температуре нагрева до 750—1100* С.

Недостатком твердых сплавов, по сравнению с быстрорежущей сталью, является их повышенная хрупкость, которая возрастает с уменьшением содержания кобальта в сплаве. Скорости резания инструментами, оснащенными твердыми сплавами, в 3—4 раза превосходят скорости резания инструментами из быстрорежущей стали. Твердосплавные инструменты пригодны для обработки закаленных сталей и таких неметаллических материалов, как стекло, фарфор и т. п.

Производство металлокерамических твердых сплавов относится к области порошковой металлургии. Порошки карбидов смешиваются с порошком кобальта. Из этой смеси прессуются изделия требуемой формы и затем подвергаются спеканию при температуре, близкой к температуре плавления кобальта. Таким путем изготовляются пластинки твердого сплава различных размеров и форм, которыми оснащаются резцы, фрезы, сверла, зенкеры, развертки и др.

Пластинки твердого сплава крепятся к державке или корпусу напайкой или механически при помощи винтов и прижимов. Наряду с этим в машиностроительной промышленности применяются мелкоразмерные, монолитные твердосплавные инструменты, состоящие из твердых сплавов. Они изготовляются из пластифицированных заготовок. В качестве пластификатора в порошок твердого сплава вводят парафин до 7—9%. Из пластифицированных сплавов прессуются простые по форме заготовки, которые легко обрабатываются обычным режущим инструментом. После механической обработки заготовки спекаются, а затем шлифуются и затачиваются.

Из пластифицированного сплава заготовки монолитных инструментов могут быть получены путем мундштучного прессования. В этом случае спрессованные твердосплавные брикеты помещаготся в специальный контейнер с твердосплавным профилированным мундштуком. При продавливании через отверстие мундштука изделие принимает требуемую форму и подвергается спеканию. По такой технологии изготовляются мелкие сверла, зенкеры, развертки и т. п.

Монолитный твердосплавный инструмент может также изготовляться из окончательно спеченных твердосплавных цилиндрических заготовок с последующим вышлифовыванием профиля алмазными кругами.

В зависимости от химического состава металлокерамические твердые сплавы, применяемые для производства режущего инструмента, разделяются на три основные группы.

Сплавы первой группы изготовляются на основе карбидов вольфрама и кобальта. Они носят название вольфрамо-кобальтовых. Это сплавы группы ВК. Ко второй группе относятся сплавы, получаемые на основе карбидов вольфрама и титана и связующего металла кобальта. Это двухкарбидные титановольфрамокобальтовые сплавы группы ТК

Третья группа сплавов состоит из карбидов вольфрама, титана, тантала и кобальта. Это трехкарбидпые титанотанталовольфрамокобальтовые сплавы группы ТТК.

К однокарбидиым сплавам группы ВК относятся сплавы: ВК2, ВКЗ, ВК4, ВК6, ВК8, ВК10, ВК15. Эти сплавы состоят из зерен карбида вольфрама, сцементированных кобальтом. В марке сплавов цифра показывает процентное содержание кобальта. Например, сплав ВК8 содержит в своем составе 92% карбида вольфрама и 8% кобальта.

При выборе марки твердого сплава учитывают содержание кобальта, которое предопределяет его прочность. Из сплавов группы ВК сплавы ВК15, ВК10, ВК8 являются наиболее вязкими и прочными, хорошо противостоят ударам и вибрациям, а сплавы ВК2, ВК3 обладают наиболее высокой износостойкостью и твердостью при малой вязкости, слабо сопротивляются ударам и вибрациям. Сплав ВК8 применяется для черновой обработки при неравномерном сечении среза и прерывистом резании, а сплав ВК2 — для чистовой отделочной обработки при непрерывном резании с равномерным сечением среза. Для получистовых работ и черновой обработки с относительно равномерным сечением срезаемого слоя применяются сплавы ВК4, ВК6. Сплавы ВК10 и ВК15 находят применение при обработке резанием специальных труднообрабатываемых сталей.

Режущие свойства и качество твердосплавного инструмента определяются не только химическим составом сплава, но и его структурой, т. е. величиной зерна. С увеличением размера зерен карбида вольфрама прочность сплава возрастает, а износостойкость уменьшается и наоборот.

Для обозначения мелкозернистой структуры в конце марки сплава ставится буква М, а для крупнозернистой структуры — буква В.

Твердосплавные пластинки одного и того же химического состава, в зависимости от технологии их изготовления, могут иметь различную структуру. Например, вольфрамокобальтовый сплав ВК6, состоящий из 94% карбида вольфрама и 6 % кобальта, изготовляется трех модификаций: со среднезернистой структурой — ВК6, с мелкозернистой структурой — ВК6М и крупнозернис¬той структурой — ВК6В.

Крупнозернистые сплавы, в частности сплав ВК8В, применяют при резании с ударами для черновой обработки жаропрочных и нержавеющих сталей с большими сечениями среза. Мелкозернистые сплавы, такие как сплав ВК6М, используют для чистовой обработки при тонких сечениях среза стальных, чугунных, пластмассовых и других деталей. Из пластифицированных заготовок мелкозернистых сплавов ВК6М, ВК10М, ВК15М получают цельные инструменты. Крупнозернистые сплавы ВК4В, ВК8В, более прочные, чем обычные сплавы, применяют при обработке труднообрабатываемых сталей и сплавов.

При обработке сталей инструментами, оснащенными вольфрамокобальтовыми сплавами, в особенности при повышенных скоростях резания, происходит быстрое образование лунки на передней поверхности, приводящее к выкрашиванию режущей кромки и сравнительно быстрому износу инструмента. Для обработки стальных заготовок применяют более износостойкие твердые сплавы группы ТК. Сплавы группы ТК (Т30К4, Т15К6, Т14К8, Т5К10, Т5К12Б) состоят из зерен твердого раствора карбида вольфрама в карбиде титана и избыточных зерен карбида вольфрама, сцементированных кобальтом. В марке сплава цифра после буквы К показывает процентное содержание кобальта, а после буквы Т — процентное содержание карбидов титана. Так, сплав Т30К4 содержит 4% кобальта, 30% карбидов титана и остальное — карбиды вольфрама. Буква В в конце марки обозначает, что сплав имеет крупнозернистую структуру. Сплавы Т5К12В и Т5К10 являются наиболее вязкими и прочными и наименее красностойкими. Поэтому сплав Т5К12В рекомендуется применять при работе с ударными нагрузками для обтачивания стальных поковок и отливок по корке, а сплав Т5К10— для чернового точения при неравномерном сечении среза и прерывистом резании. Сплав Т30К4, содержащий большой процент карбидов титана, характеризуется высокой красностойкостью и износостойкостью, но является наименее прочным и вязким. Поэтому его применяют для чистового точения при непрерывном резании с малыми сечениями среза. Для обработки сталей наиболее применим сплав Т15К6, сочетающий достаточно высокую красностойкость и износостойкость с удовлетворительной прочностью. Сплавы группы ТТК состоят из зерен твердого раствора карбида титана, карбида тантала, карбида вольфрама и избыточных зерен карбида вольфрама, сцементированных кобальтом.

К сплавам группы ТТК относятся ТТ7К12, ТТ10К8Б. Сплав ТТ7К12 содержит 12% кобальта, 3% карбида тантала, 4% карбида титана и 81% карбида вольфрама. Введение в состав сплава карбидов тантала значительно повышает его прочность, но снижает красностойкость. Сплав ТТ7К12 рекомендуется для тяжелых условий при обточке по корке и работе с ударами, а также для обработки специальных легированных сталей. С целью экономии дефицитного вольфрама разрабатываются безвольфрамовые металлокерамические твердые сплавы на основе карбидов, а также карбидонитридов переходных металлов, в первую очередь, титана, ванадия, ниобия, тантала. Эти сплавы изготовляются на никелемолибденовой связке. Полученные твердые сплавы на основе карбидов титана с содержанием 12—19% никеле-молибденовой связки по своим характеристикам примерно равноценны стандартным сплавам группы ТК.

Одним из путей повышения эксплуатационных характеристик стандартных твердых сплавов группы ВК является нанесение покрытий из карбида титана на режущую часть. В этом случае на неперетачиваемые пластины из твердых сплавов наносится слой покрытия толщиной 0,005—0,02 мм. В результате поверхностный слой получает высокую твердость и повышенную износостойкость, что приводит к значительному росту стойкости инструмента.

Глава 3. Примеры извлечения вольфрама из отходов промышленного производства

3.1 Вольфрам из карбидов металлов, получаемых путем спекания

В настоящее время для извлечения металлов из лома карбидов металлов, полученных путем спекания и содержащих, например WC и Со, карбиды подвергают обжигу при температуре> 1700 С (что значительно превышает обычную температуру спекания, составляющую 1400—1450 °С), а затем охлаждают. После этого обрабатываемый продукт, который становится хрупким, измельчают в порошок. При использовании этого метода для отделения карбида вольфрама от кобальта требуется очень сложная дополнительная обработка.


Был разработан усовершенствованный процесс, позволяющий просто и экономично выделять металлические компоненты из карбидов металлов, полученных путем спекания. Согласно этому способу, электролиз проводят в кислом растворе, используя карбид в качестве анода. Карбид металла, например WC, растворяется и металл осаждается в виде гидроксида. Одновременно металл, например Со, являющийся связующим веществом, осаждается на поверхности катода. Гидроксид металла промывают, прокаливают и восстанавливают в токе водорода с получением чистого металлического порошка. Аппаратура для проведения данного процесса показана на рис. 1.

Лом карбидов металлов, в состав которого входят, например карбид WC и связующий металл, например Со, опускают в кислый электролит /, предпочтительно HN03, причем карбид выполняет роль анода 2. Катод 3 является нерастворимым; для этой цели можно использовать вольфрамовый стержень. При проведении электролиза WC растворяется, и образуется H2W04, которая осаждается на дне сосуда 4.

3.2 Вольфрам из отработанных катализаторов

Известно, что при эпоксидировании или гидроксилировании водорастворимых ненасыщенных соединений, например аллилового или кротилового спиртов, пероксидом водорода в качестве катализаторов применяют металлы переменной валентности. В частности, для этой цели используют соединения ванадия, молибдена и вольфрама; особенно предпочтительно использование вольфрамовых катализаторов. Поскольку катализаторы являются дорогостоящими, разработано значительное число процессов для регенерации катализаторов, содержащих вольфрам. В частности, обработке подвергают водные реакционные смеси, образующиеся при эпоксидировании или гидроксилировании аллилового спирта до глицидола или глицерина.

Процесс предназначен для выделения катализатора из кубового остатка. Кубовый остаток, получаемый при дистилляции, в турбулентном режиме пропускают через слой твердого инертного материала. Одновременно подается кислород или кислородсодержащий газ, в котором сгорают органические соединения, присутствующие в остатке. Катализатор, отделяемый в слое инертного материала, вместе с катализатором, улавливаемым в сепараторе, соединенном с выходом реактора, растворяют в воде. Полученный раствор снова используют в процессе эпоксидирования или гидроксилирования. Схема процесса представлена на рис. 2.


Кубовый остаток, содержащий катализатор, в случае необходимости переводят в состояние, в котором его можно перекачивать насосом — путем нагревания либо добавлением воды или промывки. Затем сырье по линии 1 перекачивают, в нижнюю часть реактора 3. Одновременно, чтобы предотвратить забивку аппаратуры, по линии 2 подают воздух. Смесь поступает в реактор по линии 3. Основное количество воздуха, необходимого для сжигания и создания сжиженного слоя, подают по линии 4; в случае необходимости воздух предварительно подогревают.

Реактор нагревают до требуемой температуры (^500°С). Для нагрева можно использовать пусковой нагреватель. При этом реактор обогревается либо непосредственно газом, образующимся при сгорании, либо воздухом, нагретым в теплообменнике, соединенном с пусковым нагревателем. После начала горения в реакторе с ожиженным слоем твердого материала избыточную теплоту реакции снимают с помощью охлаждающей системы.

Предпочтительно использовать для разогрева реактора солевую баню, например, нитрат-нитритный расплав (нитрат натрия — нитрит натрия). В этом случае после начала реакции солевая баня выполняет роль охладителя, позволяя поддерживать постоянную температуру реактора.

Инертный твердый материал для создания ожиженного слоя подается по линии7. Из реактора он выводится вместе с катализатором по линии 5 и направляется в резервуар 13, где его промывают водой, поступающей по линии 14. Водный раствор катализатора отделяют от твердого материала и по линии 15 направляют для повторного использования в процессе эпоксидирования или гидроксилироваиия. Высушенный инертный материал по линии 16 возвращают в реактор 6.


3.3 Вольфрам из вольфрамового лома

Вольфрам, получаемый из лома составляет значительную часть от общего количества потребляемого вольфрама. Однако данные о выделении вольфрама из лома являются неполными. Большинство вольфрамосодержащего лома подвергается рециклу на тех предприятиях, где они образуются. Специальные вольфрамовые сплавы используются повторно без выделения их составных частей. Лом металлического вольфрама образуется при производстве проволочных сеток. Его направляют в продажу либо подвергают химической переработке. Значительные количества карбида вольфрама из шламов, образующихся при обработке металлов резанием, не перерабатываются ввиду низкого содержания вольфрама и высокой стоимости процесса химической переработки. Исследования, проведенные фирмой «Швойдер Кемикал Металлурджи Корп.» показывают, что ежемесячно несколько тонн вольфрама теряются в виде отходов от сварочных вольфрамовых электродов, покрытых 1—2 % тория. Значительное количество отходов из карбидных режущих инструментов, образующееся при обработке металлов резанием, обусловило интенсивное развитие работ по разработке экономичных методов извлечения карбида вольфрама. Относительная стоимость карбида вольфрама, изготовленного из первичного порошкообразного металлического вольфрама, и карбида, извлеченного из лома, составляет ~4 : 1.

Обрезки высокочистой вольфрамовой проволоки составляют ~75 % сырья, используемого для получения дробленого и литого карбида вольфрама. Некоторое количество шлама с высоким содержанием вольфрама образуется в охлаждающих системах шлифовальных установок для обработки контактных поверхностей из вольфрама. После сушки эти шламы непосредственно добавляют в расплавы стали [14].

3.4 Карбид вольфрама из лома буровых инструментов

В буровых головках для разработки породы используются цилиндрические вкладыши из карбида вольфрама, помещенные в стальной корпус и частично выступающие из него. Через определенный период времени в результате износа вкладыши из карбида вольфрама теряют свою эффективность и подлежат замене.

В изношенных буровых головках содержатся еще значительные количества карбида вольфрама. Поскольку он является дорогостоящим продуктом, его извлечение из лома буровых инструментов является весьма желательным. Способ предусматривает обработку раствором сер» ной кислоты для растворения стального корпуса, в котором находится вкладыш, и последующее нагревание при одновременном вибрационном воздействии, в результате чего вкладыши извлекаются из корпуса. В случае крестообразных буровых головок применяют модифицированный вариант процесса, включающий только нагревание и вибрационное воздействие.

Похожие работы на - Технологии извлечения вольфрама

 

Не нашли материал для своей работы?
Поможем написать уникальную работу
Без плагиата!
Без нейросетей!