Технологiя пiдготовки питноi води з пiдземних джерел
Технологiя
пiдготовки питноi води з пiдземних джерел
Децентралiзоване
водопостачання
Добова
потреба однiєi людини у питній воді становить10 л. Це близько 5 % загального об’єму використовуваної води мешканцем міста за
централiзованого водопостачання. Така кiлькiсть якiсної питної води може бути
забезпечена за рахунок підземних вод із глибоких, надійно захищених горизонтiв.
Нині переважна бiльшість сільського населення, а також мешканцiв селищ мiського
типу та деяка частина городян користуються джерелами підземних вод. У населення
міст усе більшим попитом користується високоякiсна питна вода, розлита у місткості на 5 i 10 лiтрiв.
На всіх
материках розвідано великі водоносні горизонти, які є головним джерелом питної
води для 1,5-2 млрд людей на всій планеті.Частку підземних джерел у структурi
використання питної води по регiонах наведено в табл. 1.
Таблиця 1. Частка підземних джерел у структурі
використання питної води по регіонах ( дані кінця 1990-х років).
|
Регіон
|
Частка питної води з підземних
джерел,%
|
Кількість споживачів, млн
|
|
|
|
Азія
|
32
|
1000-1200
|
|
|
Європа
|
75
|
200-500
|
|
|
Латинська Америка
|
29
|
150
|
|
|
США
|
51
|
135
|
|
|
Австралія
|
15
|
3
|
|
|
Усього
|
|
1500-2000
|
|
Водопостачання
деяких найбільших мiст країни, що
розвиваються, таких як Дакка, Джакарта, Лiма й Мехiко,
здебільшого залежить від наявностi
водоносних горизонтiв. У сiльських
районах, у яких централізоване водопостачання малорозвинене, пiдземнi води
зазвичай є єдиним джерелом. Так, майже 99 % сiльського населення в США і 80% —
в Індii використовує підземну питну воду.
Заслуговує
на увагу децентралiзоване
водопостачання з бюветів на базi спецiальних артезiанських свердловин, розміщених безпосередньо
в житлових кварталах мiста. Свердловинний
водозабір — це спеціально обладнана свердловина
iз занурювальною помпою та накопичувальними резервуарами. При цьому її
облаштовують за певними вимогами зони санiтарної охорони та з урахуванням
зручностi пiдходу. Пролита вода вiдводиться в зливову систему мiської
каналiзацiї. Якщо в підземних водах
понаднормативний вмiст залiза, мангану або фтору, системи децентралiзованого
водопостачання обладнують установками для очищення води вiд цих елементiв.
Системи
локального водопостачання на базi підземних водних джерел використовують також
i в промисловостi, особлiво в харчовій, та у сiльському господарствi для
зрошення угiдь i напування тварин. За певних умов економічні розрахунки
свідчать про доцільність використання підземних вод. Системи децентралізованого
водопостачання розглядають як альтернативні джерела і є доповненням до
централізованих систем водозабезпечення, що гарантує стійкість систем
життєзабезпечення. Проте у деяких випадках вони є єдиними системами. Тому мають
бути передбачені всі заходи для їх надійної гарантованої експлуатації. Технологія децентралізованого питного водопостачання має такі
переваги:
·
населення
гарантовано забезпечується якісною питною водою;
·
економічно
витрачається високоякісна артезіанська питна вода;
·
для питних цілей
використовується вода високої якості, затрати на приготування якої і постачання
населенню значно менші, ніж у разі приготування високоякісної
питної води з поверхневих джерел;
·
незалежна,
надійно захищена система питного водопостачання на випадок аварії та інших
надзвичайних ситуацій.
Отже, можуть
розглядатися такі варіанти децентралізованого водопостачання: організація
водозбірних пунктів і бюветів у житлових кварталах, приготування води зі
свердловин з наступним пакетуванням, бутилюванням
або доставкою спеціальними автомашинами в місткості споживача.
Гiгiнiчнi вимоги до якостi питної води з пiдземних джерел
Для
господарсько-питного водопостачання як джерела можна використовувати підземні
води. Останнi подiляють на верховодку, грунтові та міжпластові. Верховодка
знаходиться в першому вiд землi водоносному шарі, якнйi iснує непостійно і є
фільтром атмосферної води. Це так звана інфільтраційна вода, яка
найзабрудненiша змивами iз земноi поверхнi i з погляду санітарії непридатна для
органiзації водопостачання.
Грунтовi
води, розміщенi в першому водоносному горизонтi, мають досить сталий склад завдяки
наявностi пласта водонепроникних порiд — вапняку, глини, гранiту тощо. Цi води
характеризуються достатньою прозорiстю та незначним забарвленням. Їх можна використовувати
для органiзацiї питного водопостачання за умови проведения постiйного
санiтарного контролю.
Найпридатнiшим джерелом питного водопостачання є
мiжпластовi пiдземнi води, що залягають у другому
та нижчих водоносних горизонтах і характеризуються наявнiстю водотривких порід, що формують,
водотривкi ложе і дах. Міжластовi води мають найкращi
органолептичні, хімічні й бактерiологiчні показники. Вони можуть бути
безнапiрними і напiрними (артезiанськими). Останнi самостiйно виливаються на
поверхню землi.
Залежно
вiд рiвня вмiсту рiзних речовин у водi та потрiбного ступеня її оброблення з метою
задоволення вимог до якостi питної води
пiдземнi джерела подiляють ва
три класи. До першлго
класу належать джерела пiдземних вод, вода з яких за всiма гiгiєнiчними
показниками вiдповiдає вимогам державного стандарту на питну воду (табл. 2). Ці
джерела характеризуються сталістю складу впродовж року, внаслідок чого вода не
потребує додаткового оброблення.
Таблиця 2. Показники якостi води пiдземних
джерел водопостачання
|
Показник
|
Класс джерела підземної води
|
|
перший
|
другий
|
третій
|
|
Сухий залишок, мг/дм³,не
більше
|
1000(1500)
|
1000(1500)
|
1000(1500)
|
|
Вміст, мг/дм³,не більше:
|
|
|
|
|
Хлоридів
|
350
|
350
|
350
|
|
Сульфатів
|
500
|
500
|
500
|
|
Твердість загальна, ммоль/л, не
більше
|
7(10)
|
7(10)
|
7(10)
|
|
Каламутність, мг/дм³, не
більше
|
1,5
|
1,5
|
10
|
|
Кольоровість, град, не більше
|
20
|
20
|
50
|
|
Водневий показник, pH
|
6 – 9
|
6 – 9
|
|
Вміст, мг/дм³,не більше:
|
|
|
|
|
Заліза
|
0,3
|
10
|
20
|
|
Мангану
|
0,1
|
1
|
2
|
|
Сірководню
|
Немає
|
3
|
10
|
|
Фтору
|
1,5 – 0,7
|
1,5 – 0,7
|
5
|
|
Окиснюваність перманганатна, мг О2
/ л, не більше
|
2
|
5
|
15
|
|
Число бактерій групи кишкових
паличок в 1 л, не більше
|
3
|
100
|
1000
|
До джерела
другого класу належить вода з вiдхиленнями від вимог державного стандарту на
питну воду за хiмiчним складом (ковцентрація заліза до 10 мг/л, мангану до 1,
сірководню до 3 мг/л) або за мiкробiологiчними показниками (число бактерiй
групи кишкових паличок до 100 в 1 л ).Якість води може бути доведена до вимог
нормативів питної води за допомогою таких способів оброблення, як аерацiя, фiльтрування i знезараження. Крім того, до ругого
класу належать пiдземнi джерела, якiсть води в яких відповідає вимогам на питну
воду, але показники вмiсту солей є несталими впродовж року. Такi коливання
солевмiсту пiдземного джерела свiдчать про його недостатню захищеність вiд
поверхневого забруднення та його епідеміологічну ненадійність. Вода з такого
джерела обов'язково потребує профiлактичного знезараження.
Пiдземнi води джерел третього класу мають певнi вiдхилення вiд нормативiв питної води і потребують
складнішого технологiчного оброблення iз застосуванням реагентних способiв. Наприклад, для видалення сірководню, залiза і мангану використовують спецiальнi аератори або
окиснення перед фiльтруванням, а для видалення фтору — контактно-сорбцiiйну
коагуляцiю тощо.
Вибiр i
охорона вiд забруднення джерел питного водопостачання
У разi
використання пiдземних джерел для питного водопостачання великою небезпекою є вiрогiднiсть
забруднення пiдземних вод патогенною мікрофлорою. Можливі два шляхи забруднення
мiкробами пiдземних вод у водоносному горизонтi. В першому випадку забруднення
у воду потрапляють унаслiдок мiграції субстратiв, що мiстять мiкроорганiзми, з
поверхнi грунту вертикально вниз. Забруднення проникають крiзь грунтовий шар i
пiдстилаючi грунти, в яких завдяки фiзико-хiмiчним та мiкробiологiчним процесам
їхня кількість значно зменшується. Основна маса бактерiй (до 90 %) затримується шаром грунту 0,4 м. Найбільша глибина проникнення бактерiй за вертикальної
фiльтрацiї становить 4-5 м за умови непорушеностi
грунтового покриву
і підстилаючих порід. Якщо порушення
грунтового покриву і пiдстилаючих
порiд вiдбулося в результатi антропогенної дiяльностi або природних явищ (розвиток донних вiдкладень рiчок, озер, ставкiв, водоймищ або карстовi явища), мiкробне забруднення може вiдбуватися до бiльшої глибини. Глибина проникнення бактерiй залежить також вiд потужностi поверхневого
джерела забруднення.
Пiсля потрапляння бактерiального
забруднення у пiдземний водоносний горизонт воно поширюється вниз потоком,
причому швидкiсть і дальнiсть поширення в горизонтальному напрямi залежить від
виду водоносних порiд. Зокрема, в пiщано-гравiйних грунтах ентерококи
поширилися на вiдстань 15 м за 70 дiб за швидкостi руху потоку 0,61 м/добу.
Мiкроорганiзми перемiщувалися повiльнiше, нiж вода, спочатку зi швидкiстю 0,3
м/добу, а потiм 0,13 м/добу. В гравiйно-галькових вiдкладеннях, в яких
швидкiсть потоку надзвичайно велика i становить десятки й сотнi метрiв за добу,
бактерії можуть перемiщуватися на вiдстань 500-850 м/добу. Дальнiсть поширення
мікроорганiзмiв iз зони забруднення у кiлька разiв менша, нiж дальнiсть
поширення йонних домiшок, хлоридiв i нiтратiв. Данi щодо термiнiв виживання
мiкроорганiзмiв у пiдземних водах дуже обмеженi. Вiдомо, що в рiзних
гiдрогеологiчних умовах виживанiсть кишкової палички ставовить 90-210 дiб, а
тривалiшi термiни виживаностi мають ентерококи.
Для
першого шляху забруднення характерна наявнiсть летентного перiоду мiж часом прояву поверхневого осередку
мiкробного забруднення (вигрiбна й помийна ями, неорганізоване
звалище тощо) i надходженням забруднення у
водоносний горизонт, сталiсть забруднення пiсля закiнчення латентного перiоду та залишкове надходження забруднення пiсля лiквiдацiї поверхневого осередку.
Другий
шлях — це надходженя мiкробного забруднення через
водозабiрнi споруди (обсаднi труби, мiжтрубний i затрубний простори, енергетичнi пiдземнi кабелi до занурювальних насосiв тощо) за їх неправильного монтажу,
порушень у процесi експлуатації споруд,
недотримання зон санiтарної охорони. В цьому випадку забруднення води
вiдбувається миттєво, але пiсля виявлевння може бути швидко призупинене. Пiд
час вибору джерел постачання пiдземних вод перевагу вiдають джерелам першого i
другого класiв. Джерела пертшого класу можна експлуатувати без використання
будь-яких споруд для очищення. При експлуатацiї пiдземних джерел другого класу
пiдготовку води зазвичай завершують її знезараженням.
Використання
джерел третього класу пов’язане з великими капiтальними витратами на
будiвництво й експлуатацiю очисних споруд. Для них характерна ненадiйнiсть
системи та потреба утримання спецiального квалiфiкованого iнженерно—технiчного персоналу. З метою
забезпечення гарантованого постачання якiсної води з пiдземних джерел потрібна
органiзацiя зон санiтарної охорони (ЗСО). Останнi повиннi насамперед
забезпечити санiтарну надiйнiсть джерел водопостачання. Цi зони мають три
пояси. Розмiри першого поясу ЗСО пiдземного джерела водопостачання залежать вiд
ступеня його захищеностi. Пояс має охоплювати територiю, яка вiдповiдає
найкрутiшiй воронцi депресії, в якiй створюється реальна можливiсть для надходження води з поверхні
землі через дефекти в гiрських породах. Останнi можуть бути пов'язані з
процесом бурiння свердловини. Величина радiуса ЗСО для безнапiрних горизонтiв
становить 50 м, для мiжпластових напiрних—30 м. Територiя першого поясу має
бути огороджена. На неї не допускаються стороннi особи та забороняється
будiвництво будь-яких об’єктiв, не пов'язаних з потребами водопроводу. У разi
будiвництва на територiї цього поясу вигрiбних туалетiв їх слiд облаштовувати
водонепроникними вигрiбними ямами.
Завданням
другого i третього поясiв ЗСО пiдземних джерел є збереження сталостi природного
складу води. До водоносного горизонту поверхневi забруднення можуть проникнути
з дiлянки живлення горизонту, де він виходить на поверхню землi, через дефекти
водонепроникної покрiвлі або через порушенi пiд час бурiння свердловин
геологiчнi структури. В таких випадках створюється зв’язок мiж горизонтами, розміщеними
на різних глибинах.
Другий
пояс ЗСО ефективно
захищає пiдземнi води вiд мiкробного забруднення. Межа другого поясу визначається
гiдродинамiчними розрахунками. При цьому допустима
тривалiсть просування фронту мiкробного забруднення для грунтових вод становить
400 діб, а для мiжпластових — 200 дiб. За цей час патогеннi бактерiї й вiруси
втрачають життєздатнiсть i вiрулентнiсть.
Межу третього
поясу ЗСО пiдземного джерела визначають також за допомогою гiдродинамiчних
розрахункiв. Основною умовою є те, щоб хiмiчнi забруднення, які потрапили у
водоносний горизонт у межах цього поясу, не досягли водозабору або досягли його
не раніше розрахункового термiну. Останнiй визначається прийнятою середньою
тривалiстю його технічної експлуатацiї— не
менше 25 рокiв, або 9000 дiб. Орiєнтовний радiус третього поясу досягає кiлькох
кiлометрiв.
Пiд час гiдродинамiчних
розрахункiв перемiщення забруднень ураховують нахил пiдземного потоку, активну
пористiсть водовмiсних порiд, потужнiсть водоносного горизонту i дебіт
водозабору, тобто всi параметри, вiд яких залежить вiввдкiсть пiдземвого
потоку. Методику розрахунку меж ЗСО пiдземних джерел наведено в «Рекомендациях
по гидрогеологическим расчетам определения границ второго и третьего поясов ЗСО
подземных источников хозяйственно-питьевого водоснабжения», виданих у 1983 р.
ВНДI ВОДГЕО Держбуду СРСР.
У другому i третьому поясах
ЗСО пiдземних джерел
здiйснюють спецiальнi заходи
для захисту
грунтового покриву
вiд пошкодження i забруднення та запобiгання будь—якiй можливостi iнфiльтрації поверхневих забруднень в експлуатований горизонт. Із
цiєю метою на територiї зони всi недiючi свердловини треба ретельно
затампонувати або вiдновити, якщо це можливо. Свердловини очищають вiд
забруднень, промивають i дезiнфiкують розчином хлорного вапна з умiстом
активного хлору iз розрахунку 75—100 мг/л. Робочу частину свердловини засипають
чистим продезiнфiкованим фiльтрувальним матерiалом (гравiєм, пiском), пiсля чого нижню частину заливають
цементним розчином. На рiвнi залягання грунтових вод стiнки свердловини
(обсаднi труби) перфорують i весь ствол свердловини заливають цементним розчином
пiд тиском для проникнення його в мiжтрубний i затрубний простори. Пiсля цього
обсаднi труби зрiзають на висотi 0,5 м від поверхнi землi. Навколо свердловини
облаштовують шурф на глибинi 1,5- 2 м, який заливають розчином цементу.
На територiї
другого і третього поясів ЗСО забороняється розробка корисних копалин, пiдземне
складування та захоронення твердих побутових i промислових вiдходiв, а також
будiвництво свердловин для закачування вiдпрацьованих вод у глибокi пiдземнi
горизонти.
Розмiщення складiв отрутохiмiкатiв, мiнеральних добрив, пально- мастильних
матерiалiв, спорудження накопичувачiв промислових стокiв та iнших об'єктiв, якi становлять небезпеку хімiчного забруднення пiдземних вод, може бути дозволене в
особливих випадках. Такий дозвiл видається
за умови вiдповiдального природного захисту
експлуатованих водоносних горизонтів та проведення спецiальних гідроізоляційних заходiв пiд час будiвництва
зазначених об’єктiв.
Крiм того, на територiї другого поясу ЗСО не дозволяється
розмiщувати цвинтарi, скотомогильники, споруди грунтового
очищення стiчних вод і нечистот, тваринницькi ферми та iншi господарськi об'єкти, якi можуть спричинити мiкробiологiчне забруднення грунтiв. Житлова забудова на територiї другого поясу ЗСО пiдземного джерела має бути обладнана каналiзацiєю або водонепроникними вигрібними ямами.
Водозабiрнi споруди пiдземних вод
З
метою органiзацiї водопостачання пiдземних джерел використовують шахтнi й трубчастi колодязi i свердловини. Найпоширенішими
у сiльськiй мiсцевостi є шахтнi колодязi (рис. 1). У деяких випадках (на
заводах невеликої потужностi, розмiщених у низинах, на iндустрiально малоосвоєних територiях) мiсцевими установами державного
санiтарно-епiдемiологiчного нагляду може надаватися
дозвiл на використання як джерела
водопостачання грунтових вод iз шахтних
колодязiв. До їх розмiщення ставляться такi вимоги: будiвництво туалетiв i примiщень для сiльськогосподарських тварин має бути на
вiдстанi не менше нiж 30 м. В iнших випадках вiдстань становить 100 м i бiльше. Шахтнi колодязi зазвичай роблять круглими, дiаметром вiд 1,0 до 1,5 м і завглибшки до 40 м. Для закріплення стiнок водонепроникного ствола
шахти використовують дерево, цегляну кладку, але зазвичай залiзобетоннi кiльця. Водоприймальну частину при заборi води з пiщаних грунтiв
роблять у виглядi кiлець з пористого бетону. Якщо вода надходить через бiчнi
стiнки i дно, то останнє обкладають плиткою з пористого бетону. Слiд зазначити, що водоприймальну частину в скельних
породах, якi обсипаються, роблять у
виглядi дiрчастого фiльтра з
отворами дiаметром 15—30 мм, розмiщеними в шаховому порядку в стiнках колодязя.
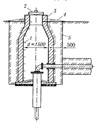
Рис.
1. Схема шахтного колодязя:
1-
вимощення; 2- оголовок; 3- замок (при використанні води для господарсько-питних
потреб); 4- ствол шахти; 5- водоприймальна частина; 6- зумиф.
У радiусi 10 м навколо колодязя ставлять огорожу для обмеження пiд’їзду транспорту. Дебiт шахтного колодязя визначається потужнiстю водоносного пласта і зростає у мiру заглиблення в нього колодязя. На дно колодязя зазвичай насипають шар гравію завтовшки 30 см для запобгання скаламучуванню води. Горловина колодязя завширшки 1 м i завглибшки до 1,5 м має виступати над поверхнею грунту на 0,8 м. Її утрамбовують водонепроникною глиною, а зверху в радiусi 2 м пiдсипають піском i замощують
камiнням чи білою цеглою і заливають бетоном з уклоном
вiд горловини для стоку води. Якщо для пiдйому води насос не використовується i горловина не закрита, над нею
будують укриття, а воду пiднiмають за допомогою стацiонарно закрiпленого вiдра і спецiального вiдливного прострою.
Воду із
колодязя слiд періодично вiдкачувати, а його стiни чистити i знезаражувати 1 % - м розчином
хлорного вапна. З цiєю метою можна використовувати
спеціальні патрони із дезінфекційною речовиною, яку опускають у колодязь на
тривалий час (кiлька місяцiв), упродовж якого забезпечується
знезараження води.
Воду
в домашнiх умовах зберігають в
смальованому, оцинкованому або зi спецiального харчового пластику
посудi, який добре закривається. Великі
місткості обов'язково повинна мати кришку. Набирати воду ковшами, склянками i кухлями не рекомендується. Зберiгати воду бiльше однієї доби не дозволяється. Через
2-3 доби тару для перевезення і місткості для зберігання води промивають
гарячою водою з додаванням 1- 2 чайних ложок питної соди, гiрчичного порошку або спецi альних посудомийних засобiв. Пiсля цього їх ретельно ополіскують i додатково дезiнфiкують.
Для
дезiнфекцiї води в колодязi використовують патрони об’ємом 250, 500 i 1000 см³,
виготовлених з пористої керамiки. Про зануреннi патрона у воду дезiнфекційна речовина, до складу якої входять сполуки хлору, постiйно надходить у воду. При цьому впродовж 1 години, залежно вiд мiсткостi патрона, видiляється 25, 50 або 100 мг активного хлору. Тривалiсть дiї таких патронiв - до 90 дiб.
Схему споруд водогону з пiдземних джерел зображено на рис 2. За такою схемою подають воду з джерсл 1- та 2-го класiв. У разi подавання води з джерела 2-го класу
її обов’язково знезаражують. Забiр пiдземних вод здiйснюють за допомогою вертикальних (шахтних
колодязiв або свердловин) і горинзонтальних (траншейних або галерейних) споруд, променевих водозаборiв та каптажiв виходiв пiдземних вод. Вибiр типу споруд
для забору пiдземних вод залежить вiд геологiчних i гiдрогеологiчних
умов району, масштабу водоспоживання та економiчних розрахункiв.
Водозабiрнi
свердловини — це
цилiндричний вертикальний канал, який проходить крiзь товщу землі
до водоносного пласта (рис. 2).
Глибина свердловини визначається глибиною залягання покрiвлі й потужнiстю водоносного пласта.
Свердловини бурять ударним (колонковим) чи обертовим (роторним) способами. За ударного способу бурiння породу руйнують ударами
долота об забiй i вичерпують її желонкою. За роторного
способу породу
вичерпують снарядами, якi обертаються в забої, і вимиваються розчином глини пiд тиском. Глиняний розчин готують iз води з добавленням хлорного вапна для дезiнфекцiї й збільшення пластичності.
Ударний спосiб буріння має перевагу, оскiльки дає змогу точно вийти на задану глибину
наміченого до експлуатації водносного пласта i пробурити свердловину чітко по вертикалi. Останнє є дуже важливим для монтажу обсадних
труб. Проте завдяки великiй швидкості бурiння роторний спосiб став досить поширеним.
Рис.
2. Схема водопостачання з підземного джерела:
1-
експлуатаційний водоносний горизонт; 2- водозабірна свердловина; 3- глибинна
електропомпа; 4- водоочисна станція; 5- резервуар чистої води; 6- насосна
станція другого підйому; 7- водогони; 8- водонапірна башта; 9- водопровідна
мережа; 10- об’єкт водопостачання; 11- п’єзометрична лінія за максимального
водоспоживання з мережі; 12- п’єзометрична лінія подавання води.
Основнi елементи свердловини
зображено на рис. 3. Стiнки водозабірних свердловин у процесi бурiння закрiплюють технiчними або захисними обсадними трубами. Першу колону обсадних труб опускають на кілька метрiв глибше водоносного пласта, в якому є грунтовi води. Наступні колони обсадних
труб, але меншого діаметра, проходять нижче
розмiщених водоносних пластiв i занурюють на глибину 3-5 м у водонапiрний шар. У разi залягання експлуатованго пласта на великiй глибинi
свердловину проходять кiлькома колонами
обсадних труб. Верхня обсадна колона (кондуктор)
забезпечує вертикальний
напрям i захищає устя свердловини вiд потрапляння
верхнiх забруднених вод, руйнування і розмивання. Дiаметр внутрiшньої експлуатацiйної колони визначається габаритними розмiрами фiльтра і занурювального
насоса. Основною гiгiєнічною вимогою до свердловини є її герметичнiсть. З
цiєю метою розмiщенi вище водоноснi пласти слiд проходити не менше, ніж двома колонами обсадних труб. Мiжтрубний простiр заливають цементним розчином пiд тиском.
Пiд час бурiння свердловини роторним
способом її ствол закрiплюють однією колоною обсадних труб, опущеною в породи намiченого до експлуатацiї водоносного пласта. В цьому
випадку роз’єднання водоносних пластiв забезпечується цементацiєю затрубного
простору з видавлюванням цементного розчину вiд башмака обсадної труби до поверхнi землі. Утворений таким чином «цементний стакан»
є добрим антикорозійним захистом.

Рис.
4. Зовнішній вигляд і деталі фільтрів:
а-
каркасного типу: 1- трубчастий фільтр-каркас з круглими отворами; 2- те саме,
зі щільними отворами; 3- стрижневий фільтр-каркас на опорних кільцях або на
закладних планках; б- каркасного типу з фільтрувальною поверхнею з дротяної
обмотки: 1-3- те саме, що й на рис. 4,а; 4- підкладочні стрижні; 5- дротяна
обмотка; в- каркасного типу з фільтрувальною поверхнею зі штампованого листа:
1-4- те саме,що й на рис. 4,а; 5- підкладочна спіральна обмотка; 6- штампований
лист; г- каркасного типу з фільтрувальною поверхнею стінок: 1-3- те саме, що й
на рис. 4,а; 4- підкладочна спіральна обмотка; 5- підкладочна гофрована сітка з
вініпласту; 6- сітка; д- каркасного типу з гравійною, гравійно-піщаною
обсипкою, що подається у забій свердловини: 1-3- те саме, що й на рис. 4,а; 4-
дротяна обмотка; 5- гравійна чи гравійно-піщнана обсипка; е- каркасного типу
Під
час буріння свердловини роторним способом її ствол закріплюють однією колоною
обсадних труб, опущеною в породи наміченого до експлуатації водоносного пласта.
В цьому випадку роз'єднання водоносних пластів забезпечується цементацією
затрубного простору з видавлюванням цементного розчину від башмака обсадної
труби до поверхні землі. Утворений таким чином «цементний стакан» є добрим
антикорозійним захистом.
Однією
з найважливiших частин свердловини є фiльтри, конструкції яких зображенно на рис. 4. У
практицi водопостачання найчастiше використовують трубчастi фiльтри з дротяною обмоткою або без неї, каркасно-стрижневi, сiтчастi (з металевою чи пластиковою
сiткою), гравiйні чи кожухо-гравiйнi, блочні касовi, з пористої керамiки, дрiбно-зернистого пiску чи гравiю, закрiпленi клеєм БФ-2, бiтумом або рiдким склом. Від надійностi облаштування фiльтра залежить продуктивнiсть свердловини і термін її стабiльної роботи.
Пiсля закінчення бурiння та облаштування свердловини
проводять будiвельне вiдкачування води. При цьому обсаднi труби промивають від заліза,
глиняних часточок i внесених пiд час бурiння забруднень. Тривалiсть вiдкачування залежить вiд мiсцевих гiдрогеологiчних умов і коливається від кількох
діб до одного місяця і більше.
Верня
частина колон обсадних труб має виступати над поверхнею грунту не менше нiж на 0,5 м. Устя свердловини з наступними елементами системи з’єднують за допомогою оголовка свердловини.
Останнiй — це одне або кiлька колiн труб, сволучених фланцевими
з’єднаннями устя з наступними елементами системи. На оголовку монтують водомiр, кран для вiдбирання проб води, патрубок,
заглушений фланцем для приєдання труби для вiдкачування води на скидання. На фланцi є різьбовий отвiр, закритий болтом, через який можна
ввести пристрiй для замірювання рiвня води в свердловині.
Устя
свердловини та оголовок з метою запобiгання замерзанню взимку має розмiщуватися в надземному павiльйонi, пiдземнiй шахтi чи примiщенні насосної станцiї. Шахта свердловини—це колодязь,
бетонні стінки i дно якого водонепроникнi. Зверху він закривається герметичною
чавунною кришкою стандартних розмiрiв (рис 5). Пiсля бурiння та облаштування свердловини в ній установлюється певний рiвень води, який за вiдсутностi водозабору називають статичним. Цей
рiвень для безнапiрних пiдземних вод вiдповiдає горизонту води в пластi, для напiрних— перевищує рівень води в пластi залежно вiд величини напору.

1-
скоби; 2- кришка; 3- асфальт; 4- цементний розчин; 5- глиняний замок.
За постiйного вiдбирання води зi свердловии статичний рівень знижується i через деякий час установлюєгься на певному рівнi, який називають динамiчним. Останнiй залежить вiд iнтенсивностi водозабору. Пiсля припинення вiдкачування вода в свердловинi знову пiднiмається до статичного рiвня. Кiлькiсть води, яку дає свердловина за 1 годину, у разi зниження динамiчного рiвня на 1 м, називають питомим дебiтом свердловини, причому він ве залежить вiд потужностi насоса, а характеризує водомiсткiсть пласта. Відповiдність водомiсткостi пласта необхiднiй витратi води зi свердловини має велике гiгiєнiчне значення. Якщо ця вiдповiднiсть порушується i води вiдкачується бiльше, нiж може дати пласт, то створюються
умови для пiдживлення води з розмiщених вище водоносних горизонтiв. Це значною мірою зменшує санiтарну надійність водопроводу.
Орієнтованим показником відповідності водомісткості пласта потужності насоса, встановленого
в свердловинi, є різниця мiж динамiчним і статичним рiвнями, що не перевищує 10 м.
IIiд час перiодичного вiдкачування води із свердловини для
збереження потрiбної її якостi здійснюють вiдкачування на скидання через 10-15 дiб для повного зникнення у водi iржi та каламутностi. Щоб пiдтримувати резервнi свердловини в належному станi, їх потрiбно пiдключати в роботу почергово з
працюючими. Перiодичнiсть їх пiдключення не повинна перевищувати 7-8
діб. Якщо свердловину вводять в експлуатацiю пiсля консервацiї, то під час відкачування відбирають
проби води для аналiзу через 6-12 годин з початку
вiдкачування. У разi незадовiльного аналiзу води вiдкачування її продовжують. У процесi експлуатацiї потрiбно двiчi на рiк ( перед весняним паводком i початком зими) проводити генеральну перевiрку стану свердловини. Результати перевiрки заносять до паспорта свердловини.
Неполадки
в роботi свердловини визначають за змiною продуктивностi, статичного i динамiчного рівнів, питомого дебіту та
якостi води. Основнi причини можливих неполадок свердловин наведено
в табл. 3.
Спосіб
пiдйому води зі свердловини залежить вiд рiвня води в нiй. За динамiчного рiвня до 7 м вiд поверхнi землi застосовують вiдцентровi насоси на горизонтальному валу. Якщо динамiчний рiвень води встановлюється на глибинi до 120
м, то використовують
вiдцентровi насоси на вертикальному валу. Такi насоси встановлюють над свердловиною. Важливою особливістю вiдцентрових насосів, якi подають воду питної якостi, є
робота їх пiд самозаливом.
Це унеможливлює потрапляння випадкових забруднень, якi спостерігаються у разi заливання камери насоса забрудненою водою перед його
пуском.
Таблиця
3. Причини зменшення продуктивності водозабірних свердловин
|
Показники свердловини
|
Можливі неполадки
|
|
Статичний рівень
|
Динамічний рівень
|
Питомий дебіт свердловини
|
|
Без зміни
|
Вищий, ніж раніше
|
Без зміни
|
Неполадки насоса
|
|
Постійний
|
Постійний
|
— // —
|
Збільшення воронки депресії
|
|
Періодично знижується
|
Періодично знижується
|
— // —
|
Вплив роботи сусідніх свердловин
|
|
Без зміни
|
Нижчий, ніж раніше
|
Зменшений
|
Несправність водоприймальної
частини
|
|
Нижчий, ніж раніше
|
Без зміни
|
Майже без зміни
|
Витік води вищий від динамічного
рівня
|
|
Нижчий, ніж раніше
|
Нижчий, ніж раніше
|
Зменшений
|
Витік води нижчий від динамічного
рівня
|
Для пiдiймання
води з глибоких свердловин дуже
часто застосовують занурювальні відцентрові насоси на вертикальному валу. Такi насоси змонтованi як єдиний блок, що
складається з електродвигуна і кількох камер з лопатевими колесами. Часто
до складу блока входить фiльтр. Насос опускають
на експлуатацiйній трубі до потрiбної глибини занурення у
воду. Завурювальнi насоси задовольняють усi гігієнічні вимоги і здатнi пiдняти воду з глибини до 500 м. Введення в експлуатацiю нових обладнаних свердловин або iнших водозаборiв дозволяється лише із санкцiї мiсцевих органiв державного санiтарно-епiдеміологiчного
нагляду за умови отримання задовiльних результатiв аналiзу води.
Резервуари чистої води. До системи водопостачання належать резервуари чистої води. Крiм них, особливо на підприємствах харчової промисловостi, мають бути запаснi резервуари чистої води. Останнi мають забезпечити безперебiйну роботу пiдприємства у разi аварійного виходу обладнання, профiлактичних робiт у мережі тощо. Отже, для забезпечення безперебiйного подавання води в
мереу пiд час ремонту, очищення i дезiнфекцiї резервуарiв
треба мати не менш, ніж два резервуари чистої води. Щоб постiйно пiдтримувати у резервуарах низьку температуру, їх часто роблять пiдземними або напiвпiдземними.
Об’єм резервуара має забезпечувати необхiдну тривалiсть контактування води iз дезiнфiкуючим агентом (не менше 1 години), а обмiн води в них має
вiдбуватися за 48 годин. У разi облаштування резервуарів під землею звертають увагу на санiтарний стан дiлянки. Мiсця, забрудненi звалищами, вигрiбними ямами або розмiщенi в безпосереднiй
близькостi вiд джерела, забруднення, для цього не придатнi.
Конструкцiя резервуара має гарантувати його непроникнiсть для грунтових і пiдземних вод. Крiм того, їх слiд
розмiщувати вище рiвня грунтових вод.
Резервуари за конструкцiєю та використанням матерiалiв
(рис. 6.) для їх виготовлення
бувають рiзними. В сучаснiй практицi здебiльшого використовують резервуари із залiзобетону, в тому числi збiрного, з плоским покриттям на колонах. Резервуари мiсткiстю до 3000 м³ роблять круглими, бiльшої мiсткостi — прямокутними. Внутрiшнi стiни і колони повиннi мати гладеньку поверхню. Допустимий дiаметр раковин i пор та їх глибина до 200 мкм. Шорсткiсть поверхнi — не бiльше нiж 150 мкм. Внутрiшні поверхнi сталевих резервуарiв покривають антикорозiйними
засобами, якi мають задовольняти такi вимоги: бути стiйкими проти механiчної, фiзичної i хімічної дiй, легко наноситися на метал та не змiнювати якiсть води.
Рис.
6. Резервуар чистої води:
1-
гідроізоляція; 2- глиняний замок; 3- труба для подавання води; 4- асфальт; 5-
переливна труба; 6- цемент; 7- труба до господарського насоса; 8- труба до пожежного
насоса; 9- переливно-грязьовий колодязь; 10- грязьова труба; 11- драбина.
Кожний
резервуар обладнують системою труб: для подавання в нього води, всмоктувальною — для подавання води в мережу, переливною — для скидання води у разi переповнення резервуара, грязьовою — для видалення осаду і промивних вод.
Для рiвномiрного обмiну води та запобiгання застою підвiдну і всмоктувальнi труби розміщують у протилежних частинах резервуара. Грязьова
труба виходить з грязьового приямка. Дно резервуара має нахил у бiк приямка не
менше нiж 0,005°. Грязьова і переливна труби закiнчуються в грязьовому колодязi. Останнiй з'єднують із каналiзацiйним колодязем або вiн має скидання у природну складку мiсцевостi чи вiдвiдну канаву. На периферiйному кiнцi переливної труби
в грязьовому колодязi встановлюють гiдравлiчний затвор або хлопавку. В перекриттi резервуару закрiплюють вентиляцiйнi труби заввишки не менше нiж 2 м. Отвори труб захищають від проникнення птахів, комах та атмосферних
опадiв. Оскiльки вода може забруднюватися через
оглядовi люки резервуарiв, їх обладнують стандартними чавунними
герметичними кришками з облаштуванням для закриття на замок і пломбуванням.
Регульованi мiсткостi невеликого об'єму можна розмщувати
в даховому примiщеннi корпусу. Причому мiсце, де встановлюоть резервуар, добре
iзолюють від переміщення даху і утеплюють.
Якщо запас води перевищу 10 м³, передбачають два резервуари для проведення
ремонту та очищення. Всмоктувальну трубу встановлюють дещо вище вiд дна бака на 10-12 см для того, аби в розподiльну мережу не потрапляв
осад, який накопичився в резервуарi, який очищають вiд осадiв (піску та намулу) один раз на рік.
У разi погiршення органолептичних i бактерiологiчних показникіiв води очищення i промивання резервуарiв проводять частіше. Внутрiшню поверхню сталевих резервуарiв фарбують один раз на 3 роки.
Розподiльна мережа. З метою забезпечення безперебiйного подавання води на підприємство артезiанської свердловини прокладають не менше нiж два паралельних водоводи. На територiї підприємства може бути кілька розподiльних мереж: питного водопроводу, який подає питну воду
для технологічних
та для питних і побутових потреб працівників; технічного водопроводу, який забезпечує потреби паросилового
господарства; гарячого водопостачання. На територiї підприємства проходять також каналiзацiйнi мережi виробничої та господарсько-фекальної
каналiзацiї. Оскiльки грунти на територiї пiдприємства значною мірою забрудненi, лінії водопроводу слiд прокладати так, щоб відстань від
джерела забруднення (вигрiбнi й помийнi ям, сховища нафтопродуктів та ін.)
знаходилися не менше нiж за 10-15 м. Щоб запобiгти забрудненню води в мережi під дiєю сифонного ефекту, треба пiдтримувати достатньо високий тиск у усій розподільній мережі.
Якщо погiршення якостi води вiдбувається в результаті корозiї трубопроводiв,
проводять стабiлiзаційне оброблення води згідно із
СНиП2.04.02 —84, очищення трубопроводів і нанесення антикорозiйних покриттiв. Глибина закладання труб залежить вiд глибини промерзання грунту. В
північних районах вона становить 3,5- 3,8 м, в середній полосi —2,5-3, а в пiвденних районах — 1,25-1,5 м.
У разi паралельного прокладання на
території підприємства водопровідної та каналiзацiйної мереж вiдстань мiж стінками поряд прокладених труб має
бути не менше нiж 1,5 м, якщо дiаметр водопровідних труб до 200 мм, i 3 м, — якщо більшого дiаметра. У разi прокладання розподiльної мережi нижче каналiзаційної, відстань збільшують на рiзницю в глибині залягання труб.
Поєднувати
мережi питного і технічного
водопроводів забороняється. Лише у деяких випадках, за узгодженням з органами
державного санiтарно-епiдемiологiчного нагляду, можна використовувати
питний водопровiд як
резерв для водопроводу, який подає воду непитної якостi.
Конструкцiя перемички в цьому разi має забезпечувати повiтряний
розрив мiж мережами i виключати можливiсть зворотної течії води. Для цього воду питного водопроводу пiдводять до спецiально встановленого на виробничiй будiвлi напiрного бака і вона надходить до нього
через кран з регулювальним поплавковим клапаном. Якщо тиск у мережi зменшується, поплавковий клапан автоматично вiдкривається i вода
надходить iз питного водопроводу. Надходження води у
зворотному напрямi, тобто в мережу питного водопроводу,
неможливе, оскiльки верхнiй рiвень води в напірному бацi обмежується переливною трубою, встановленою нижче пiдвiдної труби питного водопроводу.
Якщо
пiдземна вода має пiдвищений уміст залiза, мангану чи фтору, то до складу
технологiчних схем обов’язково входять
блоки знезалiзнення, видалення мангану чи
знефторення. Обов’язковим є також знезараження води, яке здiйснюється пiсля проведения зазначених операцiй.
Список
рекомендованої літератури:
1. Мазаев В.Т., Шлепнина
Т.Г., Мадрыгин В.И. Контроль качества
питьевой воды.— М.: Колос, 1999.— 168 с.
2. Справочник по свойствам,
методам анализа и очистки воды: В 2 ч. / Л.А. Кульский, И.Т. Гороновский, А.М.
Когановский, М.А. Шевченко.— К.: Наук. думка, 1980.— Ч. 1-2.
3. Стан світу 2001: Доп.
Ін-ту всесвітнього спостереження про прогрес до сталого сусп-ва / Пер. з англ.
Лестер Р. Браун та ін.—К.: Ітерсфера, 2001.— 284 с.