Размерный анализ сборочной единицы (тихоходного вала редуктора)
МIНIСТЕРСТВО ОСВIТИ І НАУКИ УКРАΪНИ
ДОНЕЦЬКИЙ НАЦIОНАЛЬНИЙ ТЕХНIЧНИЙ УНИВЕРСИТЕТ
Механічний факультет
Кафедра ОПМ
КУРСОВИЙ ПРОЕКТ
з дисципліни
«Взаємозамінність, стандартизація та технічні вимірювання»
за темою: «Розмірний аналіз складальної одиниці»
Виконавець
студент гр. МС –
04н Володько А.Ю
Консультант, Деркач
О.В
доц., к.т.н.
Нормоконтролер,
Сулейманов С.Л
Донецьк 2007р.
РЕФЕРАТ
Курсова робота містить: 42 сторінки, 23 рисунків, 2 таблиці, 8 посилань,
1 додаток.
Об’єкт роботи: вихідний вал співосного трьоступінчатого редуктору.
Мета роботи: Визначення технічних вимог до складальної
одиниці, призначення та обґрунтування посадок для з’єднань, розмірний аналіз
складальної одиниці. Побудова та розрахунок розмірного ланцюга, розрахунок граничних
розмірів деталей з їх відхиленнями, розрахунок виконавчих розмірів граничних
калібрів, та вибір універсальних вимірювальних засобів для контролю розмірів деталей.
Приведено технічний опис складальної одиниці, технічні вимоги до неї;
зроблене обґрунтування і вибір посадок гладких циліндричних з'єднань,
підшипників кочення, шпонкових, різьбових з’єднань; зроблений розмірний аналіз
складальної одиниці; приведене обґрунтування технічних вимог до деталей
складальної одиниці; приведені вибір і розрахунок калібрів для контролю
гладкого циліндричного з'єднання й обрані універсальні вимірювальні засоби для
контролю розмірів валу; обраний комплекс показників і приладів для контролю
точності зубчастого колеса.
КАЛІБР, ДОПУСК, ВІДХИЛЕННЯ, ПОСАДКА, НАТЯГ, ЗАЗОР, ТЕХНІЧНІ ВИМОГИ,
РОЗМІР, З'ЄДНАННЯ.
ВСТУП
Прискорення соціально-економічного розвитку держави
передбачає всіляку інтенсифікацію виробництва на основі науково-технічного
прогресу. Останнім часом значно збільшився випуск нових видів машин і приладів,
що відповідають сучасним вимогам. Це стало можливим не тільки за рахунок
удосконалювання їхньої конструкцій і технології виготовлення, але й у
результаті широкого використання внутрішньогалузевої і міжгалузевої
спеціалізації на основі уніфікації і стандартизації виробів, агрегатів і
деталей, застосування методів комплексної і випереджальної стандартизації,
упровадження системи керування якістю й атестації продукції, системи
технологічної підготовки виробництва.
При проектуванні нових сучасних машин і механізмів конструктор постійно
користається стандартами. Застосовуючи сучасні стандарти, розроблювач закладає
в технологічну документацію новітні досягнення науки і техніки з метою
створення економічних і технічно досконалих конструкцій.
Виконання даної курсової роботи сприяє закріпленню теоретичних знань з
дисципліни «Взаємозамінність, стандартизація і технічні виміри» і практичному
опануванню діючих стандартів.
Выходной
вал поз. 1 трёхступенчатого соосно-цилиндрического редуктора сборочной единицы
(рис. 1) предназначен для передачи крутящего момента от двухвенцового зубчатого
блока поз. 2 (который является третьим валом) к зубчатой муфте на хвостовике
вала поз. 1. Одновременно с этим на вал установлены роликовые радиальные
подшипники поз. 3, 4, которые служат для установки на них двухвенцового блока поз.
5 (который является вторым валом). Передача вращения осуществляется через
цилиндрическую прямозубую передачу (двухвенцовый блок поз. 2- зубчатое колесо
поз. 6).
Опоры
вала — роликоподшипники радиальные двухрядные № 3609, 3615 0-го класса точности
нагружены радиальной нагрузкой.
Для
фиксации наружных колец подшипников в корпусе редуктора — привертные крышки
поз. 7, 8, которые обеспечивают защиту от попадания пыли.
Сборка
вала производится в следующей последовательности:
Изначально
надевается до упорного буртика стопорное кольцо 9, затем на вал поз. 1 напрессовываются
подшипник поз. 10. на подшипник поз. 10 напрессовывается двухвенцовый зубчатый
блок поз. 5, затем запрессовывается между зубчатым блоком поз. 5 и валом поз. 2
второй подшипник поз. 11, все это фиксируется стопорными кольцами по краям поз.
9, 12. Затем на вал устанавливается шпонка и напрессовывается зубчатое колесо
поз. 6. Для установки внутренних колец опорных подшипников поз. 13, 14
надеваются дистанционные втулки поз. 15, 16, и в завершении на вал
напрессовываются опорные роликовые двухрядные подшипники поз. 13, 14. После
этого вал устанавливается в редуктор с регулировкой осевой игры с помощью набора
прокладок и привертных крышек поз. 7, 8, которые фиксируют наружные кольца
опорных подшипников.. На хвостовик вала устанавливается шпонка и надевается
зубчатая муфта.
Рисунок
1.1 - Сборочная единица (Тихоходный вал редуктора)
2.
ИСХОДНЫЕ ДАННЫЕ
Тип
производства – массовое.
Передаваемый
крутящий момент – 1,8 · 10 6 Н · мм.
Частота
вращения вала n =66 об/мин.
Параметры
зубчатого колеса: m n = 6 мм; z = 71 ; β = 0˚ ;
d
=420 мм; a w = 280 мм.
Радиальные
нагрузки, действующие на подшипниковые опоры:
RA
= 5650 Н; RB = 36100 Н.
3. ТЕХНИЧЕСКИЕ ТРЕБОВАНИЯ К СБОРОЧНОЙ ЕДИНИЦЕ
Назначаем в зависимости от окружной скорости
степень точности зубчатого колеса поз. 6 и вала 1:

v
— 9 степень точности.
где
v — окружная скорость передачи, м/с;
d
— диаметр делительной окружности, мм;
n — частота вращения, мин–1.
Определяем
величину бокового зазора и назначаем вид сопряжения для шестерня поз. 6. Для
этого рассчитываем минимальный необходимый боковой зазор в зубчатом зацеплении:
Jn min ≥
ν + aw (α1· Δt1 – α2·Δt2
)·2 sinαw,
где ν – боковой
зазор для размещения слоя смазки
ν = 0,01· mn
= 0,01·6 = 0,06 мм = 60 мкм;
aw –
межосевое расстояние быстроходной ступени;
Δt1,
Δt2 – разность между рабочей температурой материала зубчатого
колеса и корпуса и стандартной нормальной температурой соответственно
(Δt1=
60º-20º = 40ºС; Δt2 = 30º - 20º = 10ºС)
α1,
α2 – коэффициенты теплового линейного расширения материала
зубчатого колеса и корпуса соответственно ( α1 = 12 · 10-6
мм / ºС, α2 = 10 ·10-6 мм/ºС),
α w –
угол профиля исходного профиля зуба (α w = 20º ).
Jn min ≥
0,06 + 280 · (12·10─6 ∙ 40 −10∙10−6
∙ 10)∙2 sin20˚ = 0,166 мм = 166 мкм
По назначаем вид
сопряжения B, который обеспечит минимальный боковой зазор в зацеплении:
Jn min =
210 мкм > 166 мкм
Предельное
отклонение межосевого расстояния:
fa =
мм =
мкм
В процессе
эксплуатации зубчатая передача должна работать плавно, без шума.
Для нормальной
работы узла необходимо обеспечить осевую игру – осевое перемещение подшипника
из одного крайнего положения в другое. Принимаю осевую игру равной 0,4-0,5 мм.
4.1 Посадки гладких цилиндрических соединений Выбор посадки
соединения колесо вал
Согласно
рекомендации [8] соединение колесо вал осуществляется по переходной посадке.
Переходные посадки обеспечивают лёгкую сборку и демонтаж соединений при высокой
точности центрирования. Принимаю поле допуска вала
, поле допуска посадочной поверхности колеса
. Получим посадку
Предельные
отклонения:
мкм,
мкм;
мкм,
мкм;
мкм;
мкм;
Допуск
посадки:
мкм.
Рисунок 4.1 - Схема полей допусков посадки колеса на
вал
Назначаем
посадку глухой крышки поз. 7 подшипникового узла в корпус по рекомендациям [6]:
— посадка с зазором —
предназначена для подвижных соединений, не требующих точности перемещения, и
для неподвижных грубоцентрированных соединений. Проведем анализ посадки.
Æ100H7 ES = +0,035 мм; EI = 0 мм [5];
Æ100d10 es = –0,120 мм; ei = –0,260 мм [5].
Определяем
минимальный Smin и максимальный зазор в соединении Smax ,
мм:
Smin = EI – es = 0 – (–0,120) = 0,120 мм;
Smax = ES – ei = 0,035 – (–0,260) = 0,295 мм.
Допуск посадки TS , мм:
= Smax – Smin = 0,295 – 0,120 = 0,175 мм.
Рисунок 4.2 -
Схема полей допусков соединения
Назначаю посадку
сквозной привертной крышки поз. 8 подшипника в корпус по рекомендации:
соединение
- посадка с зазором
Эта посадка
обеспечивает собираемость соединения и достаточно высокую точность
центрирования отверстия крышки относительно выходного конца вала.
Предельные
отклонения:
отверстия Æ160H7 ES = +0,040
мм; EI = 0 мм [5, с. 76];
вала Æ160 h8 es = 0 мм; ei
= - 0,063 мм [5, с.68].
Предельные
зазоры в соединении:
Smin = EI – es = 0 – 0 = 0 мм;
Smax = ES – ei = 0,040 – (–0,063) = 0,103 мм.
Допуск посадки TS , мм:
TS = Smax – Smin = 0,103 – 0
= 0,103 мм
Рисунок 4.3 -
Схема полей допусков соединения
Назначаю посадку дистанционного кольца поз. 15 на вал по рекомендации
[6]. Так как выбор полей допусков отверстия и вала ничем не обусловлен, то
назначаю посадку с гарантированным зазором:
соединение
Эта посадка
обеспечивает беспрепятственную установку дистанционного кольца на вал.
Предельные
отклонения:
отверстия Æ50F9 EI = 0,030
мм [5, с. 76];
ES = EI + IT9 = 0,030 + 0,062 = 0,092 мм;
вала Æ50h6
es = 0 мм;
ei = es – IT6 =
0 – 0,016 = -0,016 мм [5, с.70].
Предельные
зазоры в соединении:
Smin = EI – es = 0,030 – 0 = 0,030 мм;
Smax = ES – ei = 0,092 – (–0,016) = 0,108 мм.
Допуск посадки TS , мм:
TS = Smax – Smin = 0,108 –
0,030 = 0,078 мм
Рисунок
4.4 - Схема полей допусков соединения
Назначаю посадку дистанционного кольца поз. 16 на вал по рекомендации
[6]. Так как выбор полей допусков отверстия и вала ничем не обусловлен, то
назначаю посадку с гарантированным зазором:
соединение
Эта посадка
обеспечивает беспрепятственную установку дистанционного кольца на вал. Предельные
отклонения:
отверстия Æ80F9 EI =
0,030 мм [5, с. 76];
ES = EI + IT9
= 0,030 + 0,074 = 0,104 мм;
вала Æ80h6
es = 0 мм;
ei = es – IT6 = 0 – 0,019 = -0,019 мм [5, с.70].
Предельные
зазоры в соединении:
Smin = EI – es = 0,030 – 0 = 0,030 мм;
Smax = ES – ei = 0,104 – (–0,019) = 0,123 мм.
Допуск
посадки TS , мм:
TS
= Smax – Smin = 0,123 – 0,030 = 0,093 мм
Рисунок
4.5- Схема полей допусков соединения
4.2
Посадки подшипников качения
В качестве опор тихоходного вала редуктора выбраны: роликовые радиальные
сферические двухрядные подшипники 0-го класса точности № 3609 ГОСТ 5721-75, №
3615 ГОСТ 5721-75 (рисунок 7).
Рисунок
4.6 – Подшипник роликовый радиальный сферический двухрядный № 3609, 3615.
Основные
геометрические параметры подшипников:
0-3609:
d
= 45 мм, D = 100 мм, B = 36 мм, r = 2,5 мм.
0-3615:
d
= 75 мм, D = 160 мм, B = 55 мм, r = 3,5 мм.
Предельные
отклонения размеров колец подшипников определяем по:
0-3609
0-3615
D:
Ø 100 – 0,015 ; D: Ø 160 – 0,018
d:
Ø 45 – 0,012 ; d: Ø 75 – 0,015
B:
36 – 0,120 ; B: 55 – 0,150.
Выбор
посадок подшипников зависит от их типа и размера, условий эксплуатации,
величины и направления действующих на них нагрузок, характера нагружения колец.
Внутренне кольцо подшипника нагружено циркуляционно, а наружное местно.
Посадки
колец подшипников назначаем по методике, изложенной в работе.
Определяю
интенсивность радиальной нагрузки на посадочной поверхности внутреннего кольца
подшипника (0-3609):
где Fr
– радиальная нагрузка на подшипник, Н;
b - рабочая
ширина кольца подшипника, мм
b = B –2 *r = 36,0
–2*2,5 = 31,0 мм;
k1 –
динамический коэффициент посадки ( при перегрузках до 300%, умеренных толчках и
вибрациях принимаю k1 = 1.8);
k2 - коэффициент,
учитывающий степень ослабления посадочного натяга ( при сплошном вале принимаю
k2 = 1);
k3 –
коэффициент неравномерности распределения радиальной нагрузки между рядами тел
качения (для подшипников двухрядных, без осевой нагрузки принимаю k3 =
1).
Определяю
интенсивность радиальной нагрузки на посадочной поверхности внутреннего кольца
подшипника (0-3615):
k1=1,8; k2=1; k3=1; b = B
–2 *r = 55,0 –2*3,5 = 48,0 мм;
.
По рассчитанной
интенсивности радиальной нагрузки назначаю поле допуска для вала: Ø45 k6.
В результате получили посадку внутреннего кольца подшипника на вал:
Ø45
Назначаю поле
допуска для отверстия в корпусе редуктора под подшипник: Ø100 K7. В
результате получили посадку наружного кольца подшипника (0-3609) в корпус:
Ø100
.
Проанализируем
назначенные посадки.
Соединение Ø45
- посадка с натягом.
Предельные
отклонения внутреннего кольца подшипника Ø45 L0:
ES = 0 мм; EI =
- 0,012 мм.
Предельные
отклонения вала Ø40 k6:
es = + 0,018 мм;
ei = + 0,002 мм.
Предельные
значения натяга в соединении:
N min = 0,002 – 0 = 0,002 мм;
N max = 0,018 – (- 0,012) = 0,030 мм.
Допуск посадки: T
N = 0,030 – 0,002 = 0,028 мм
Рисунок
4.7 - Схема полей допусков соединения
Соединение
Ø100
- переходная
посадка.
Предельные
отклонения внешнего кольца подшипника Ø100 K7:
ES = + 0,010 мм;
EI = -0,025 мм.
Предельные
отклонения вала Ø100 l0:
es = 0 мм; ei =
- 0,015 мм.
Предельные
значения натяга и зазора в соединении:
N max = 0 – (-0,025) = 0,025 мм;
S max = 0,010 – (- 0,015) = 0,025 мм.
Допуск посадки
T NS
= 0,025 + 0 ,025= 0,050 мм.
Рисунок
4.8- Схема полей допусков соединения Ø100
По рассчитанной
интенсивности радиальной нагрузки назначаю поле допуска для вала: Ø75
n6. В результате получили посадку внутреннего кольца подшипника (0-3615) на
вал:
Ø75
.
Назначаю поле
допуска для отверстия в корпусе редуктора под подшипник: Ø160 Р7. В
результате получили посадку наружного кольца подшипника в корпус:
Ø160
Проанализируем
назначенные посадки.
Соединение Ø75
- посадка с натягом.
Предельные
отклонения внутреннего кольца подшипника Ø75 L0:
ES = 0 мм; EI =
- 0,015 мм.
Предельные
отклонения вала Ø75 n6:
es = + 0,039 мм;
ei = + 0,020 мм.
Предельные
значения натяга в соединении:
N min = 0,020 – 0 = 0,020 мм;
N max = 0,039 – (- 0,015) = 0,054 мм.
Допуск посадки: T
N = 0,054 – 0,020 = 0,034 мм.
Рисунок
4.9 - Схема полей допусков соединения
Соединение
Ø160
- посадка
с зазором.
Предельные
отклонения внутреннего кольца подшипника Ø160 Р7:
ES = + 0,028 мм;
EI = +0,068 мм.
Предельные
отклонения вала Ø160 l0:
es = 0 мм; ei =
- 0,018 мм.
Предельные
значения натяга и зазора в соединении:
S max = 0,068 – (-0,018) = 0,086 мм;
S min = 0,038 – 0,0 = 0,038 мм.
Допуск посадки:
T S =
0,086 - 0 ,038= 0,048 мм
Рисунок
4.10- Схема полей допусков соединения Ø160
В
качестве опор двухвенцового блока поз. 5, выбраны роликовые радиально упорные
подшипники поз. 10, 11, 0-го класса точности № 4074110 ГОСТ 4657-82 (рисунок
10). На подшипники действуют нагрузки: поз. 10 – Fr3=1223 Н; поз. – 11 Fr2=334 Н.
Рисунок
4.11 – Подшипник роликовый радиально-упорный № 4074110
Основные
геометрические параметры подшипников:
0-4074110:
d
= 50 мм, D = 80 мм, B = 30 мм, r = 1,5 мм.
Предельные
отклонения размеров колец подшипников:
0-4074110
D:
Ø 80 – 0,015 ;
d:
Ø 50 – 0,012 ;
B:
30 – 0,120 .
Внутренне
кольцо подшипника нагружено циркуляционно, а наружное местно.
Определяю
интенсивность радиальной нагрузки на посадочной поверхности внутреннего кольца
подшипника (поз. 10):
k1=1,8;
k2=1; k3=1; b = B –2 *r = 30,0 –2*1,5 = 27,0 мм;
Определяю
интенсивность радиальной нагрузки на посадочной поверхности внутреннего кольца
подшипника (поз. 11):
k1=1,8; k2=1; k3=1; b
= B –2 *r = 30,0 –2*1,5 = 27,0 мм;
.
По рассчитанной
интенсивности радиальной нагрузки назначаю для обоих подшипников поле допуска для
вала: Ø50 IS6. В
результате получили посадку внутреннего кольца подшипника на вал:
Ø50
Назначаю поле
допуска для отверстий в двухвенцовом блоке редуктора под подшипник : Ø80
K7. В результате получили посадку наружного кольца подшипника в корпус:
Ø80
Проанализируем
назначенные посадки.
Соединение Ø50
- посадка переходная.
Предельные
отклонения внутреннего кольца подшипника Ø50 L0:
ES = 0 мм; EI =
- 0,012 мм.
Предельные
отклонения вала Ø50 IS 6:
es = + 0,011 мм;
ei = - 0,011 мм.
Предельные
значения натяга и зазора в соединении:
N max = 0,011 – (-0,012) = 0,023 мм;
S max = 0,0 – (- 0,011) = 0,011 мм.
Допуск посадки:
T NS
= 0,023 + 0,011 = 0,034 мм
Рисунок
4.12 - Схема полей допусков соединения Ø50
.
Соединение
Ø80
- посадка переходная.
Предельные
отклонения внутреннего кольца подшипника Ø100 K7:
ES = + 0,010 мм;
EI = - 0,025 мм.
Предельные
отклонения вала Ø100 l0:
es = 0 мм; ei =
- 0,015 мм.
Предельные
значения натяга и зазора в соединении:
N max = 0,0 – (-0,025) = 0,025 мм;
S max = 0,010 – (-0,015) = 0,025 мм.
Допуск посадки:
T NS
= 0,025 - 0 ,025= 0,050 мм
Рисунок
4.13- Схема полей допусков соединения Ø80
.
4.3
Посадки шпоночных соединений
Для
шпоночных соединений (шпонка b x h х l = 22 х 14 х 85 мм ГОСТ 23360-78, 20 х 12
х 100 мм ГОСТ 23360-78 ) принимаю для крупносерийного производства нормальное
соединение.
Для
зубчатого колеса:
Соединения
шпонок с валом:
;.
Соединения
шпонок со втулками:
;
Проанализируем
эти посадки.
Предельные
отклонения ширины пазов на валах:
;.
Предельные
отклонения ширины пазов во втулках:
.
Предельные
отклонения ширины шпонок:
Посадка
шпонки на вал
; -
переходная.
Предельные
значения зазоров и натягов в соединениях:
Smax = ES – ei = 0,0 – (- 0,052) = 0,052 мм;
Nmax = es – EI = 0 – (- 0,052) = 0,052 мм.
Допуск посадки:
TSN = Smax + Nmax = 0,052 +
0,052 = 0,104 мм.
Посадка
шпонки во втулку
; -
переходная.
Предельные
значения зазоров и натягов в соединениях:
Smax = ES – ei = 0,018 – (- 0,052) = 0,070 мм;
Nmax = es – EI = 0 – (- 0,018) = 0,018 мм.
Допуск посадки:
TSN = Smax + Nmax = 0,070 +
0,018 = 0,088 мм
Рисунок
4.14 – Схемы полей допусков шпоночных соединений (шпонка b x h х l = 22 х 14 х
85 мм ГОСТ 23360-78).
Для
муфты на хвостовике вала:
Соединения
шпонок с валом:
;.
Соединения
шпонок со втулками:
;.
Проанализируем
эти посадки.
Предельные
отклонения ширины пазов на валах:
;.
Предельные
отклонения ширины пазов во втулках:
.
Предельные
отклонения ширины шпонок:
Посадка
шпонки на вал
; -
переходная.
Предельные
значения зазоров и натягов в соединениях:
Smax = ES – ei = 0,0 – (- 0,052) = 0,052 мм;
Nmax = es – EI = 0 – (- 0,052) = 0,052 мм.
Допуск посадки:
TSN = Smax + Nmax = 0,052 +
0,052 = 0,104 мм.
Посадка
шпонки во втулку
; -
переходная.
Предельные
значения зазоров и натягов в соединениях:
Smax = ES – ei = 0,018 – (- 0,052) = 0,070 мм;
Nmax = es – EI = 0 – (- 0,018) = 0,018 мм.
Допуск посадки:
TSN = Smax + Nmax = 0,070 +
0,018 = 0,088 мм
Рисунок
4.15 – Схемы полей допусков шпоночных соединений (шпонка b x h х l = 20 х 12 х
100 мм ГОСТ 23360-78).
4.4
Посадки резьбовых соединений
Для
крепления крышек подшипников к корпусу редуктора применяется резьбовое соединение
болтами М10, М12. В данном случае герметичность соединения не требуется, а
наличие зазора способствует более равномерному распределению нагрузки между
витками резьбы, предотвращает заклинивание, уменьшает трение, компенсирует
возможные перекосы резьбы. Исходя из этого назначаю посадку резьбы с зазором
Номинальный
диаметр резьбы d (D) = 10 мм. Шаг резьбы р = 1,0 мм. Допуски диаметров резьбы
для 6-й степени точности при нормальной длине свинчивания определяем по:
Td
2 = 112 мкм = 0,112 мм; ТD2 = 150 мкм= 0,150 мм;
Тd
= 180 мкм = 0,180 мм; ТD = не нормируется;
Td1
= не нормируется; ТD1 = 236 мкм = 0,236 мм.
Определяю
предельные отклонения резьбы:
d: es = - 0,026 мм; ei = - 0,206 мм;
d2: es = - 0,026 мм; ei =
-0,138 мм;
d1:
es = - 0,026 мм; ei = не нормируется;
D:
ES = не нормируется; EI = 0 мм;
D2: ES = 0,150 мм; EI = 0 мм;
D1: ES = 0,236 мм; EI = 0 мм.
Определяем
средний и внутренний диаметры резьбы по:
d 2
(D 2) = d – 1 + 0,350 =10 – 1 + 0,350 =8,650 мм;
d1
(D1) = d – 2 + 0,917 = 10 – 2 + 0,917 =8,917 мм.
Определяю
предельные размеры наружной резьбы (болта):
d 2 max = d2 + es = 8,650 – 0,026 = 8,624
мм;
d 2 min = d2 + ei = 8,650 – 0,138 = 8,512
мм;
d1
max = d1 + es = 8,917 – 0,026 = 8,891 мм;
d1
min = d1 + ei = не нормируется;
d max = d + es = 10 – 0,026 = 9,974 мм;
d min = d + ei = 10 – 0,206 = 9,794 мм.
Определяю
предельные размеры внутренней резьбы (резьбовое отверстие):
D 2 max = D2 + ES = 8,650 + 0,150 = 8,80
мм;
D 2 min = D2 + EI = 8,650 + 0 = 8,650 мм;
D 1 max = D1 + ES = 8,917 + 0,236 = 9,153
мм;
D1 min = D1 + EI = 8,917 + 0 = 8,917 мм;
D max
= не нормируется;
D min
= D + EI = 10 + 0 = 10,0 мм.
Рисунок
4.16- Схема полей допусков резьбового соединения М10-
(средний диаметр)
Размерный
анализ сборочной единицы будем производить методом полной взаимозаменяемости.
Чтобы обеспечить полную взаимозаменяемость, размерные цепи рассчитывают методом
максимума-минимума, при котором допуск замыкающего размера определяют
арифметическим сложением допусков составляющих размеров. Метод расчета на
максимум-минимум, учитывающий только предельные отклонения звеньев размерной
цепи и самые неблагоприятные их сочетания, обеспечивает заданную точность
сборки без подгонки (подбора) деталей.
Определим
номинальное, наибольшее и наименьшее значения и допуск замыкающего звена А0
(рис. 17).
Рисунок
5.1- Сборочная размерная цепь
В
размерную цепь входят 4 стандартных звена – это подшипники (А4, А8, А10, А12).
Для
расчета отклонения замыкающего звена назначим допуски звеньев, если поле
допуска увеличивающих размеров деталей H10, уменьшающих h9:
Увеличивающие:
Н10: A14=3+0.040, A1=335+0.230,
A2=3+0.040;
Уменьшающие: H9: A3=12-0,043, A5=15-0,043, A6=90-0,0,87, A7=26-0,052, A9=8-0,036, A11=21-0,052, A13=16-0,043.
Стандартные: А4=55-0,120, А8=30-0,120,
А10=30-0,120, А12=30-0,120.

Допуск
замыкающего звена зависит от 4-х стандартных деталей, поэтому размерный анализ
сборочной единицы будем производить методом регулирования, при котором
предписанная точность исходного (замыкающего) размера достигается
преднамеренным изменением (регулированием) величины одного из заранее выбранных
составляющих размеров, называемого компенсатором [7, с.169]. Для заданной
сборочной единицы (рис. 17) роль компенсирующих размеров выполняют прокладки.
Для
нормальной работы подшипников между крышкой и торцом подшипника необходимо
обеспечить зазор для компенсации теплового расширения вала. Величину зазора
принимаю равной А0 = 0,3(±0,1) мм. На рисунке 17 представлена размерная цепь с исходным
звеном А0. Звенья
– увеличивающие,
- уменьшающие.
Сумма
размеров звеньев
является
компенсатором. Номинальные размеры звеньев цепи, их характеристики, отклонения
и допуски приведены в таблице 1.
Таблица
1.- К расчету размерной цепи методом регулирования
|
Звено
|
Номинальный размер, мм
|
Характер звена
|
Верхнее отклонение ЕS, мкм
|
Нижнее отклонение EI, мкм
|
|
А1
|
24
|
увеличивающее
|
+230
|
0
|
230
|
|
А2
|
3
|
компенсатор
|
рассчитывается
|
|
|
|
А3
|
12
|
уменьшающее
|
0
|
- 43
|
43
|
|
А4
|
55
|
уменьшающее
|
0
|
-120
|
120
|
|
А5
|
15
|
уменьшающее
|
0
|
-43
|
43
|
|
А6
|
90
|
уменьшающее
|
0
|
-87
|
87
|
|
А7
|
26
|
уменьшающее
|
0
|
- 52
|
52
|
|
А8
|
30
|
уменьшающее
|
0
|
-120
|
120
|
|
А9
|
8
|
уменьшающее
|
0
|
-36
|
36
|
|
А10
|
30
|
уменьшающее
|
0
|
-120
|
120
|
|
А11
|
21
|
уменьшающее
|
0
|
-52
|
52
|
|
А12
|
36
|
уменьшающее
|
0
|
-120
|
120
|
|
А13
|
16
|
уменьшающее
|
0
|
-43
|
43
|
|
А14
|
3
|
компенсатор
|
рассчитывается
|
|
|
|
А0
|
0,3
|
замыкающее
|
+100
|
- 100
|
200
|
Определяем
номинальный размер компенсатора:
Распределим
номинальный размер k: А2 = А4 =1,85 мм.
Определяем
величины допусков на изготовление всех деталей и проставим предельные
отклонения в тело деталей, то есть по ходу обработки сопрягаемых поверхностей
[3, с.44]. Звенья А4 ,А8 ,А10 ,А12 являются
шириной кольца подшипника и допускаемые отклонения его по ГОСТ 520-71 равны: es
= 0 мм; ei = -0,12 мм = - 120 мкм.
Сумма
допусков составляющих звеньев:
Допуск
замыкающего звена: 
Предельные отклонения
компенсатора:
;
;
Определим
величину компенсации
:
Проверяю расчет:
.
Рассчитываю
предельные размеры компенсатора:
Принимаю
за постоянные прокладки.
Количество
сменных прокладок:
Толщина сменных
прокладок:
Проверим расчет
компенсатора:
>
.
Условие
выполняется. Таким образом, в комплект входят две постоянные прокладки толщиной
1,35 мм и 1,35 мм и 6 сменных прокладок толщиной 0,14 мм.
6.
ОБОСНОВАНИЕ ТЕХНИЧЕСКИХ ТРЕБОВАНИЙ К ДЕТАЛЯМ
6.1
Тихоходный вал
Допуск
цилиндричности посадочных мест под подшипники качения класса точности 0:
Tф
= 0,3Td = 0,3 × 0,025 = 0,0075 ≈ 0,008 мм.
Допуск
цидиндричности выходного конца вала:
Tф
= 0,3Td = 0,3 × 0,025 = 0,0075 ≈ 0,008 мм.
Допуски
соосности посадочных поверхностей:
для подшипников
качения Т = 0,02 мм;
-
для зубчатого
колеса Т = 0,02 мм.
Допуск
перпендикулярности торцов вала для базирования подшипников качения : Т = 0,02
мм.
Допуск
параллельности расположения шпоночного паза:
-
на входном конце вала Т= 0,5 ∙ 0,032 = 0,016 ≈ 0,02 мм.
Допуск
симметричности расположения шпоночного паза:
-
на выходном конце вала Т= 2,0 ∙ 0,032 = 0,64 ≈ 0,06 мм.
6.2
Зубчатое колесо
Допуск
цилиндричности посадочного отверстия:
Т
= 0,3 ∙ ТD = 0,3 ∙ 0,025 = 0,0075 мм
Допуск
торцового биения зубчатого венца на диаметре делительной окружности:
Допуск
радиального биения зубчатого венца: Т = 0,105 мм.
Допуск
торцового биения торца ступицы: Т = 0,06мм.
Допуск
симметричности и параллельности шпоночного паза ступицы зубчатого колеса
принимаю аналогичными принятым в п.6.1.
7 КОНТРОЛЬ РАЗМЕРОВ ДЕТАЛЕЙ
7.1 Выбор универсальных измерительных средств
Для
контроля размеров тихоходного вала выбираю универсальные измерительные
средства. При выборе измерительных средств учитываю допускаемую погрешность
измерения
, а также
предельную погрешность измерения приборов
. При этом должно выполняться условие:
Выбранные
измерительные средства приведены в таблице 2.
Таблица
2.- Универсальные измерительные средства
Размер
|
Допуск на размер, Т мм
|
, мм
|
, мм
|
Пределы измерения, мм
|
Условное обозначение
|
|
Ø45k6, Ø50h6
|
0,016
|
0,007
|
±0,005
|
25…50
|
МК-50-2
|
|
Ø50Is6
|
0,022
|
0,007
|
±0,007
|
25…50
|
МК-50-2
|
|
Ø80k6, Ø80h6,
Ø75n6, Ø70p6, Ø65p6
|
0,019
|
0,01
|
±0,005
|
50…100
|
МК-100-2
|
|
40h14
|
0,520
|
0,140
|
±0,1
|
0…125
|
ШЦ-I-125-0,1
|
|
110h14
|
0,870
|
0,140
|
±0,1
|
0…125
|
ШЦ-I-125-0,1
|
|
135h14
|
1,000
|
0,240
|
±0,1
|
0…630
|
ШЩ-III-630-0,1
|
|
190h14
|
1,150
|
0,240
|
±0,1
|
0…630
|
ШЩ-III-630-0,1
|
|
295h14
|
1,300
|
0,240
|
±0,1
|
0…630
|
ШЩ-III-630-0,1
|
|
210h14
|
1,150
|
0,240
|
±0,1
|
0…630
|
ШЩ-III-630-0,1
|
|
450h14
|
1,550
|
0,120
|
±0,1
|
0…500
|
ШЦ-III-500-0,1
|
7.2 Расчет размеров калибров для гладкого цилиндрического соединения
В данной курсовой
работе необходимо рассчитать калибр-пробку и калибр-скобу для отверстия
и для вала
.
Для
расчета размеров калибров выберем по [5, с.266…269, табл.1] следующие данные:
–
смещение поля
допуска калибра внутрь поля допуска детали Z (Z1) и a (a1);
–
допустимый выход
размера изношенного калибра за границу поля допуска калибра-пробки Y и калибра-скобы
Y1;
–
допуск на
изготовление калибра-пробки H и калибра скобы H1;
–
допуск на
изготовление контркалибра для пробки Hp.
Предельные
размеры для отверстия
:
Dmax = D + ES = 80 + 0,030 = 80,030 мм;
Dmin = D + EI = 80 + 0 = 110 мм.
По
для IT7 и интервала размеров 50…80 мм находим данные для расчета калибров Z =
0,004 мм; Y = 0,003 мм; a =
0 мм; H = 0,005 мм. Формулы для расчета размеров калибров по [5, с. 270, табл.
2].
Предельные
размеры проходного нового калибра-пробки:
ПРmax
= Dmin + Z + H / 2 = 80 + 0,004 + 0,005 / 2 = 80,0065 мм;
ПРmin = Dmin + Z – H
/ 2 = 80 + 0,004 – 0,005 / 2 = 80,0015 мм.
Исполнительный
размер калибра-пробки ПР 80,0065–0,005.
Наименьший
размер изношенного проходного калибра-пробки:
ПРизн
= Dmin – Y = 80 – 0,003 = 79,997 мм.
Когда
калибр ПР будет иметь этот размер, его нужно изъять из эксплуатации.
Предельные
размеры непроходного нового калибра-пробки:
НЕmax
= Dmax + H / 2 = 80,030 + 0,005 / 2 = 80,0325 мм;
НЕmin
= Dmax – H / 2 = 80,030 – 0,005 / 2 = 80,0275 мм.
Исполнительный
размер калибра-пробки НЕ 80,0325–0,005.
Предельные
размеры для вала
:
dmax
= d + es = 80 + 0,021 = 80,021 мм;
dmin
= d + ei = 80 + 0,002 = 80,002 мм.
Подля
IT6 и интервала размеров 50…80 мм находим данные для расчета калибров a1 = 0 мм; Z1 = 0,004 мм; Y1=0,003
мм; Н1=0,005 мм; Нр=0,002 мм. Формулы для расчета размеров калибров по
[5, с. 270, табл. 2].
Предельные
размеры проходного нового калибра-скобы:
ПРmax
= dmax – Z1 + H1 / 2 = 80,021 – 0,004 + 0,005
/ 2 = 80,0195 мм;
ПРmin = dmax – Z1
– H1 / 2 = 80,021 – 0,004 – 0,005 / 2 = 80,0145 мм.
Исполнительный
размер калибра-скобы ПР 80,145+0,004.
Наибольший
размер изношенного проходного калибра-скобы:
ПРизн
= dmax + Y1 = 80,021 + 0,003 = 80,024 мм.
Когда
калибр ПР будет иметь этот размер, его нужно изъять из эксплуатации.
Предельные
размеры непроходного нового калибра-скобы:
НЕmax
= dmin + H1 / 2 = 80,002 + 0,005 / 2 = 80,0045 мм;
НЕmin
= dmin – H1 / 2 = 80,002 – 0,005 / 2 = 79,9995 мм.
Исполнительный
размер калибра-скобы НЕ 79,9995+0,004.
Предельные
размеры проходного контркалибра:
К–ПРmax
= dmax – Z1 + Hp / 2 = 80,021 – 0,004 + 0,002
/ 2 = 80,018 мм;
К–ПРmin
= dmax – Z1 – Hp / 2 = 80,021 – 0,004 – 0,002
/ 2 =80,017 мм.
Исполнительный
размер контркалибра К–ПР 80,017–0,0015.
Предельные
размеры контркалибра для контроля износа:
К–Иmax
= dmax + Y1 + Hp / 2 = 80,021 + 0,003 + 0,002
/ 2 = 80,025 мм;
К–Иmin
= dmax + Y1 – Hp / 2 = 80,021 + 0,003 – 0,002
/ 2 = 80,024 мм.
Исполнительный
размер контркалибра К–И 80,024–0,0015.
Предельные
размеры непроходного контркалибра:
К–НЕmax
= dmin + Hp / 2 = 80,002 + 0,002 / 2 = 80,003 мм;
К–НЕmin
= dmin – Hp / 2 = 80,002 – 0,002 / 2 = 80,001 мм.
Исполнительный
размер контркалибра К–НЕ 80,001–0,0015
Рисунок
7.1- Схемы полей допусков на изготовление калибра-пробки
Рисунок
7.2 - Схемы полей допусков на изготовление калибра-скобы
8
КОНТРОЛЬ ТОЧНОСТИ ЗУБЧАТОЙ ШЕСТЕРНИ
Контролирую
точность цилиндрического косозубого колеса со следующими параметрами:
mn
= 6 мм; z = 71;
; d = 420
мм;
степень
точности 9-С.
Контроль бокового зазора
Боковой зазор в зубчатой передаче определяется как зазор, обеспечивающий
свободный проворот зубчатого колеса при неподвижном сопрягаемом зубчатом
колесе. С целью обеспечения гарантированного бокового зазора осуществляется
дополнительное смещение исходного контура зубонарезного инструмента.
Боковой
зазор можно контролировать хордовым зубомером путем измерения толщины зуба по
постоянной хорде.
Определяю
номинальную толщину зуба по постоянной хорде [2]:
Sc
= 1,387· mn= 1,387·6= 8,322 мм.
Высота
до постоянной хорды :
hc
= 0,7476 · mn = 0,7476· 6 = 4,4856 мм.
Наименьшее
отклонение толщины зуба по постоянной хорде
Ecs
= - 0,090 мм.
Допуск
на толщину зуба по постоянной хорде при Fr = 0,105 мм:
Тс
= 0,080 мм.
Наибольшее
отклонение толщины зуба по постоянной хорде:
;
Таким
образом, толщина зуба по постоянной хорде, проставляемая в таблице параметров
на рабочем чертеже зубчатого колеса равна:
Контроль
кинематической точности
В условиях крупносерийного производства в контрольный комплекс входят:
-
контроль
колебания измерительного межосевого расстояния за один оборот колеса
;
-
контроль
колебания длины общей нормали
.
Определяю
допуск на колебание измерительного межосевого расстояния за один оборот колеса
:
= 0,09 мм
Для контроля колебания измерительного межосевого расстояния применяется межосемер
МЦМ-630.
Допуск
на колебание длины общей нормали для колес 8 степени точности и грубее не
нормируется.
Контроль
плавности работы
В контрольный комплекс входят:
-
контроль
колебания измерительного межосевого расстояния на одном зубе
;
-
контроль
отклонения шага зацепления
-
контроль
отклонения шага
Определяем
допуски на эти величины:
= 0,040 мм;
= ± 0,022 мм;
= ± 0,040 мм.
Для
контроля параметров
и
применяется межосемер
МЦМ-630.
Для
контроля параметра
используют
шагомер БВ 5043.
Контроль
полноты контакта
Основным
показателем полноты контакта зубьев является суммарное пятно контакта.
Относительные размеры суммарного пятна контакта:
-
по высоте зубьев
20 %;
-
по длине зубьев
25 %.
Контроль
показателей полноты контакта осуществляют на контрольно-обкатном станке при
зацеплении с образцовым колесом.
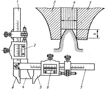
Рисунок
8.1 — Схема контроля тангенциальным зубомером: 1, 2 — измерительные губки; 3 —
наконечник; 4, 5 — винты; 6 — индикатор; 7 — ролик.
Рисунок
8.2 — Схема контроля хордовым зубомером: 1, 2 — шкала и нониус для установки
прибора на размер hC; 3, 5 — измерительные губки; 4 упор,
устанавливаемый на вершину зуба; 6, 7 — нониус и шкала для отсчета толщины SC
Рисунок 8.3 — Схема
измерения зубомерным микрометром
Рисунок
8.4 — Схема контроля зубчатого венца биениемером: 1 — зубчатое колесо; 2 —
оправка; 3 — наконечник; 4 — измерительный стержень; 5 — планка; 6 — наконечник
индикатора; 7 — направляющая втулка.
ВЫВОДЫ
В
ходе выполнения курсовой работы получены практические навыки использования
действующих стандартов, закреплены теоретические знания по дисциплине «Взаимозаменяемость,
стандартизация и технические измерения», произведен выбор посадок для различных
соединений деталей: шпоночных, цилиндрических и подшипников качения. Проведен
анализ сборочной единицы, для которого была построена и рассчитана размерная
цепь, выбраны универсальные контрольно-измерительные приборы.
Разработаны
технические требования на изготовление детали узла –колесо зубчатое, назначена
шероховатость поверхностей деталей. Проведен контроль точности колеса.
Рассмотрены параметры, способы и средства контроля зубчатых колес по нормам кинематической
точности, плавности работы, бокового зазора, полноты контакта.
Разработаны
рабочие чертежи деталей (колесо зубчатое, калибр-пробки и калибр-скобы для
гладкого цилиндрического соединения). Разработан чертеж сборочной единицы.
ПЕРЕЧЕНЬ ССЫЛОК
1.
Шейнблит А.Е.
Курсовое проектирование деталей машин: Учеб. пособие для техникумов. — М.:
Высш. шк., 1991. — 432 с.
2.
Допуски и
посадки: Справочник в 2-х ч. / Под ред. В.Д. Мягкова. — 6-е изд., перераб. и
доп. — Л.: Машиностроение. Ленингр. отд-ние, 1983. -Ч. 2.- 448 с.
3.
Допуски и
посадки: Справочник в 2-х ч. / Под ред. В.Д. Мягкова. — 6-е изд., перераб. и
доп. — Л.: Машиностроение. Ленингр. отд-ние, 1982. -Ч. 1.- 543 с.
4.
Бейзельман Р.Д.,
Цыткин Б.В., Перель Л.Я. Подшипники качения. Справочник. Изд. 6-е.- М.:
Машиностроение, 1975.- 572 с.
5.
Справочник
контролера машиностроительного завода. Допуски, посадки, линейные измерения /
А.Н. Виноградов, Ю.А. Воробьев, Л.Н. Воронцов и др. Под ред. А.И. Якушева. —
3-е изд., перераб. и доп. — М.: Машиностроение, 1980. — 527 с.
6.
Дунаев П.Ф.,
Леликов О.П., Варламова Л.П. Допуски и посадки. Обоснование выбора. Учеб.
Пособие для студентов машиностроительных вузов.- М.: Высшая школа, 1984.- 112
с.
7.
Зябрева Н.Н. и
др. Пособие к решению задач по курсу «Взаимозаменяемость, стандартизация и
технические измерения». Учеб. пособие для вузов.- М.: «Высш. школа», 1977. —
203 с.
8.
Методические
указания к курсовому проектированию по курсу «Детали машин». Часть 2. «Комплекс
технических требований, предъявляемых к изготовлению зубчатых и червячных
колес» / Под общей редакцией Алиферова В.П.- Донецк: ДПИ, 1985.- 36 с.