Подбор теплообменника для проведения процесса охлаждения и конденсации пара толуола

  • Вид работы:
    Курсовая работа (т)
  • Предмет:
    Технология машиностроения
  • Язык:
    Русский
    ,
    Формат файла:
    MS Word
    690,42 kb
  • Опубликовано:
    2009-11-20
Вы можете узнать стоимость помощи в написании студенческой работы.
Помощь в написании работы, которую точно примут!

Подбор теплообменника для проведения процесса охлаждения и конденсации пара толуола

Министерство образования Республики Беларусь

Учреждение образования

«Белорусский государственный технологический университет»

Кафедра процессов и аппаратов химических производств




РАСЧЕТНО – ПОЯСНИТЕЛЬНАЯ ЗАПИСКА

к курсовой работе

по процессам и аппаратам химических технологий

на тему "Подбор теплообменника для проведения процесса охлаждения и конденсации пара толуола"

Разработал

студент 3 курса

инженерно-экономического факультета

специальности 1-43 01 06 02

Стригельский А. В.

Руководитель

Калишук Д. Г.


Минск 2005

Содержание

Введение

1.   Литературный обзор

1.1 Теоретические основы теплообмена

1.2 Основные типы теплообменников

1.2.1   Назначение и классификация теплообменных аппаратов

1.2.2    Обзор типовых теплообменных аппаратов

1.3 Современное аппаратурно-технологическое оформление процесса теплообмена

2.   Расчет холодильника первой ступени

2.1 Определение тепловой нагрузки

2.2 Определение расхода и тепловой нагрузки воздуха

2.3 Вычисление средней разности температур теплоносителей

2.4 Нахождение ориентировочной поверхности теплообмена Fор и выбор рассчитываемого теплообменника

2.5 Расчет коэффициента теплопередачи K

2.6 Расчёт гидравлического сопротивления теплообменника

3.   Расчет конденсатора паров толуола

3.1 Определение тепловой нагрузки

3.2 Определение тепловой нагрузки для второго теплоносителя ─ жидкого толуола и его расхода

3.3 Вычисление средней разности температур теплоносителей

3.4 Нахождение ориентировочной поверхности теплообмена Fор и выбор рассчитываемого теплообменника

3.5 Уточненный расчет поверхности теплопередачи

3.6 Расчёт гидравлического сопротивления теплообменника

Заключение

Список использованных литературных источников

Приложение А

Приложение Б

Введение

Современная химическая промышленность в Беларуси развивается с 60-х годов в комплексе с нефтеперерабатывающими и нефтехимическими предприятиями. Интенсивному развитию в республике этой отрасли способствовал ряд благоприятных факторов: большая потребность народного хозяйства в химической и нефтехимической продукции и высокая эффективность её применения в промышленности и сельском хозяйстве; открытие богатых запасов калийных солей на юге Минской области и нефтяных месторождений в Гомельской области; разветвлённая сеть железных и автомобильных дорог.

Начиная с 1958 года, в республике осуществляется развёрнутое строительство новых, расширение и реконструкция действующих химических предприятий. Химическая промышленность стала одной из ведущих отраслей хозяйства, охватывающей многочисленные производства разнообразных неорганических и органических продуктов, имеющих важное значение. Возникли и получили промышленное применение процессы адсорбции, экстракции, молекулярной дистилляции и др.

Современная химическая промышленность насчитывает множество разнообразных производств, часто сильно различающихся химической природой и физическими свойствами исходных веществ, промежуточных и конечных продуктов, а также характером и условиями протекания технологических процессов. Несмотря на перечисленные различия, число элементарных процессов, повторяющихся в разных сочетаниях во всех химических производствах, едва достигает двадцати. Из этого ограниченного числа элементарных процессов или из некоторой их части, но в различной последовательности и при разных рабочих условиях строится технология любого химического производства.

1 Литературный обзор

1.1 Теоретические основы теплообмена

При тепловых процессах тепло передаётся от одного вещества к другому. Для самопроизвольного переноса тепла одно из этих веществ должно быть более нагрето, чем другое. Вещества, участвующие в процессе перехода тепла (теплообмен), называются теплоносителями. Вещество с более высокой температурой, которое в процессе теплообмена отдаёт тепло, называется горячим теплоносителем, а вещество с более низкой температурой, воспринимающее тепло, холодным теплоносителем.

Существуют два основных способа проведения тепловых процессов: путём непосредственного соприкосновения теплоносителей и передачей тепла через стенку, разделяющую теплоносители.

При передаче тепла непосредственным соприкосновением теплоносители обычно смешиваются друг с другом, что не всегда допустимо; поэтому данный способ применяется сравнительно редко, хотя он значительно проще в аппаратурном оформлении.

При передаче тепла через стенку теплоносители не смешиваются, и каждый из них движется по отдельному каналу; поверхность стенки, разделяющей теплоносители, используются для передачи тепла и называется поверхностью теплообмена.

Различают установившийся и неустановившийся процессы теплопередачи. При установившемся (стационарном) процессе температуры в каждой точке аппарата не изменяются во времени, тогда как при неустановившемся (нестационарном) процессе температуры изменяются во времени. Установившиеся процессы соответствуют непрерывной работе аппаратов с непрерывным режимом; неустановившиеся процессы протекают
в аппаратах периодического действия, а также при пуске и остановке аппаратов непрерывного действия и изменении режима их работы.

Передача тепла от одного тела к другому может происходить посредством теплопроводности, конвекции и лучеиспускания.

Передача тепла теплопроводностью осуществляется путём переноса тепла при непосредственном соприкосновении отдельных частиц тела. При этом энергия передаётся от одной частицы к другой в результате колебательного движения частиц, без их перемещения друг относительно друга.

Передача тепла конвекцией происходит только в жидкостях и газах путём перемещения их частиц. Перемещение частиц обусловлено движением всей массы жидкости или газа (вынужденная или принудительная конвекция), либо разностью плотностей жидкости в разных точках объёма, вызываемой неравномерным распределением температуры в массе жидкости или газа (свободная, или естественная, конвекция).

Конвекция всегда сопровождается передачей тепла посредством теплопроводности.

Передача тепла лучеиспусканием происходит путём переноса энергии в виде электромагнитных волн. В этом случае тепловая энергия превращается в лучистую энергию (излучение), которая проходит через пространство и затем снова превращается в тепловую при поглощении энергии другим телом (поглощение).

Рассмотренные виды передачи тепла редко встречаются в чистом виде; обычно они сопутствуют друг другу (сложный теплообмен). Так при передаче тепла через стенку перенос тепла от горячего теплоносителя к стенке и от стенки к холодному теплоносителю осуществляется конвекцией, а через стенку – путём теплопроводности.

Теплообменными аппаратами, или теплообменниками, называются устройства для передачи тепла от одних сред (горячих теплоносителей) к другим (холодным теплоносителям). В химической технологии теплообменные аппараты применяются для нагревания и охлаждения веществ в различных агрегатных состояниях, испарения жидкостей и конденсации паров, перегонки и сублимации, абсорбции и адсорбции, расплавления твёрдых тел и кристаллизации, отвода и подвода тепла при проведении экзо- и эндотермических реакций и т. д. соответственно своему назначению теплообменные аппараты называют подогревателями, холодильниками, испарителями, конденсаторами, дистилляторами, сублиматорами, плавителями и т. п.

Количество тепла, передаваемого в единицу времени от одного тела к другому, называется тепловым потоком, и выражается в Дж/сек или Вт, т. е. единицах мощности.

При теплообмене между теплоносителями происходит уменьшение энтальпии (теплосодержания) горячего теплоносителя и увеличение энтальпии холодного теплоносителя. Пусть количество горячего теплоносителя, его начальная и конечная энтальпия равны соответственно G кг/сек I1 и I2 Дж/кг, а количество холодного теплоносителя и его начальная и конечная энтальпия g кг/сек i1 и i2 Дж/кг.

Примем также, что количество тепла, передаваемое от горячего теплоносителя к холодному, составляет Q Вт (эта величина называется тепловой нагрузкой аппарата), а потери тепла в окружающую среду равны Qn Вт. Тогда уравнение теплового баланса запишется в виде:

G·I1+g·i1 = G·I2 + g·i2 + Qn , (1)

Произведя перегруппировку, получим:

G·(I1 – I2) = g·(i2 – i1) + Qn, (2)

Величина Qгор = G·(I1 – I2) представляет собой количество тепла, отданного горячим теплоносителем, а величина Qхол = g·(i2 – i1) количество тепла, сообщённое холодному теплоносителю.

Таким образом:

Qгор = Qхол + Qn , (3)

Т. е. тепло, отданное горячим теплоносителем, частично передаётся холодному теплоносителю и частично расходуется на компенсацию потерь в окружающую среду.

В теплообменных аппаратах потери тепла обычно невелики (не более 2 – 3 %) и ими можно пренебречь. Тогда уравнение теплового баланса примет вид:

Q = Qгор = Qхол , (4)

или

Q = G·(I1 –I2) = g·(i2 – i1), (5)

Расчет теплообменного аппарата включает определение необходимой поверхности теплопередачи, выбор типа аппарата и нормализованного варианта конструкции, удовлетворяющих заданным технологическим условиям оптимальным образом. Необходимую поверхность теплопередачи определяют из основного уравнения теплопередачи:

F = Q/(K·∆tcp), (6)

Тепловую нагрузку Q в соответствии с заданными технологическими условиями находят из уравнения теплового баланса для одного из теплоносителей:

— если агрегатное состояние теплоносителя не меняется — из уравнения

Q = Gi·ci·[ti н - ti k], i =1,2, (7)

— при конденсации насыщенных паров без охлаждения конденсата или при кипении — из уравнения

Q = Gi·ri , i = 1,2, (8)

— при конденсации перегретых паров с охлаждением конденсата

Q = G1·(I – c1·t1k), (9)

где I — энтальпия перегретого пара Дж/кг.

Если агрегатное состояние теплоносителя не меняется, его среднюю температуру можно определить как среднеарифметическую между начальной и конечной температурами:

ti = (t + tik)/2, i = 1,2,   (10)

Более точное значение средней температуры одного из теплоносителей

можно получить, используя среднюю разность температур:

ti = tj ± ∆tcp, (11)

где tj — среднеарифметическая температура теплоносителя с меньшим перепадом температуры вдоль поверхности теплообмена, °С.

При изменении агрегатного состояния теплоносителя его температура постоянна вдоль всей поверхности теплопередачи и равна температуре кипения (или конденсации) зависящей от давления и состава теплоносителя.

Для протекания процесса передачи тепла необходимо наличие некоторой разности температур между горячим и холодным теплоносителями. Эта разность температур является движущей силой процесса теплопередачи и называется температурным напором. Если Т — температура горячего теплоносителя, а t — температура холодного теплоносителя в °С, то температурный напор:

q = T – t, (12)

Чем больше температурный напор, тем выше скорость передачи тепла, причём количество тепла, передаваемого от горячего теплоносителя к холодному, пропорционально поверхности теплообмена F (м2), температурному напору q и времени τ, с :

Q = K·F·q·τ, (13)

где K — коэффициент теплопередачи, Вт/м2∙К.

Если тепло переносится путём теплопроводности через стенку, то, согласно закону Фурье, количество передаваемого тепла пропорционально поверхности F, разности температур между обеими поверхностями стенки (qст. = tст.1-tст.2),времени τ и обратно пропорционально толщине стенки δ:

Q = [λ·F(tст1 – tст2)·τ]/δ = (λ·F·qст.·τ)/δ, (14)

где tст1 и tст2 — температура поверхностей стенки; λ – коэффициент теплопроводности, Вт/(м∙К).

1.2 Основные типы теплообменников

1.2.1 Назначение и классификация теплообменных аппаратов

Теплообменными аппаратами, или теплообменниками, называются устройства для передачи тепла от одних сред (горячих теплоносителей) к другим (холодным теплоносителям). В химической технологии теплообменные аппараты применяются для нагревания и охлаждения веществ в различных агрегатных состояниях, испарения жидкостей и конденсации паров, перегонки и сублимации, абсорбции и адсорбции, расплавления твердых тел и кристаллизации, отвода и подвода тепла при проведении экзо- и эндотермических реакций и т. д.

Соответственно своему назначению теплообменные аппараты называют подогревателями, холодильниками, испарителями, конденсаторами, дистилляторами, сублиматорами, плавителями и т.п.

По способу передачи тепла различают теплообменные аппараты поверхностные и смесительные. В первом случае передача тепла происходит через разделяющие твердые стенки, во втором — непосредственным контактом (смешением) нагретых и холодных сред (жидкостей, газов, твердых веществ). Поверхностные аппараты подразделяются на рекуперативные и регенеративные. В рекуперативных аппаратах тепло от горячих теплоносителей к холодным передается через разделяющую их стенку, поверхность которой называется теплообменной поверхностью, или поверхностью нагрева. В регенеративных аппаратах оба теплоносителя попеременно соприкасаются с одной и той же стенкой, нагревающейся (аккумулируя тепло) при прохождении горячего потока и охлаждающейся (отдавая аккумулированное тепло) при последующем прохождении холодного потока. Регенераторы являются аппаратами периодического действия, рекуператоры могут работать как в периодическом, так и в непрерывном режимах.

1.2.2 Обзор типовых теплообменных аппаратов

При небольших тепловых нагрузках, когда требуемая поверхность теплообмена не превышает 20 — 30 м2, целесообразно применение теплообменников типа «труба в трубе» Такие теплообменники изготовляют следующих типов: 1) неразборные однопоточные малогабаритные; 2) разборные одно- и двухпоточные малогабаритные; 3) разборные однопоточные; 4) неразборные однопоточные; 5) разборные многопоточные.

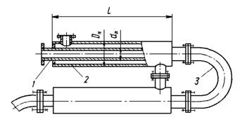
Неразборный теплообменник типа «труба в трубе» изображен на рисунке 1 Эти теплообменники могут иметь один ход или несколько (обычно четное число) ходов.

1 — теплообменная труба, 2 — кожуховая труба, 3 — калач

Рисунок 1 – Неразборный теплообменник типа «труба в трубе»

Конструкция разборного теплообменника показана на рисунке 2 Однопоточный малогабаритный теплообменник (рисунок 2) имеет распределительную камеру для наружного теплоносителя, разделенную на две зоны продольной перегородкой. В крышке размещен калач, соединяющий теплообменные трубы. Кожуховые трубы крепятся в трубных решетках, теплообменные трубы герметизируются с помощью сальниковых уплотнений. Однопоточные разборные теплообменники из труб большого диаметра (более 57 мм) выполняются без распределительной камеры, так как штуцер для подвода наружного теплоносителя можно приварить непосредственно к кожуховым трубам.

1 — теплообменная труба 2 — распределительная камера для наружного теплоносителя 3 — кожуховая труба, 4 — крышка

Рисунок 2 – Разборный однопоточный малогабаритный теплообменник типа «труба в трубе»

Достоинством рассматриваемых теплообменных аппаратов ям является возможность создания высоких и даже одинаковых скоростей обоих теплоносителей и, следовательно, больших коэффициентов теплоотдачи. К числу их недостатков относятся большое гидравлическое сопротивление и значительная металлоемкость.

Наиболее широкое распространение получили кожухотрубчатые теплообменные аппараты, используемые для теплообмена между потоками в различных агрегатных состояниях (пар ─ жидкость, жидкость ─ жидкость, газ ─ газ, газ ─ жидкость).

Кожухотрубчатые теплообменные аппараты могут использоваться в качестве теплообменников, холодильников, конденсаторов и испарителей.

Теплообменники предназначены для нагрева и охлаждения, а холодильники — для охлаждения (водой или другим нетоксичным, непожаро- и невзрывоопасным хладоагентом) жидких и газообразных сред. Кожухотрубчатые теплообменники и холодильники могут быть двух типов: Н — с неподвижными трубными решетками и К — с линзовым компенсатором неодинаковых температурных удлинений кожуха и труб. Наибольшая допускаемая разность температур кожуха и труб для аппаратов типа Н может составлять 20 — 60 градусов, в зависимости от материала кожуха и труб, давления в кожухе и диаметра аппарата.

Теплообменники могут устанавливаться горизонтально или вертикально, быть одно-, двух-, четырех- и шестиходовыми по трубному пространству. Трубы, кожух и другие элементы конструкции могут быть изготовлены из углеродистой или нержавеющей стали. Распределительные камеры и крышки холодильников выполняют из углеродистой стали.

Кожухотрубчатые конденсаторы предназначены для конденсации паров в межтрубном пространстве, а также для подогрева жидкостей и газов за счет теплоты конденсации пара. Они могут быть с неподвижной трубной решеткой или с температурным компенсатором на кожухе, вертикальные или горизонтальные. Конденсаторы могут быть двух-, четырех- и шестиходовыми по трубному пространству

В кожухотрубчатых испарителях в трубном пространстве кипит жидкость, а в межтрубном пространстве может быть жидкий, газообразный, парообразный, парогазовый или парожидкостной теплоноситель. Эти теплообменники могут быть только вертикальными одноходовыми, с трубками диаметром 25X2 мм. Они могут быть с неподвижной трубной решеткой или с температурным компенсатором на кожухе. Применение кожухотрубчатых теплообменников с температурным компенсатором на кожухе (линзовый компенсатор) ограничено предельно допустимым давлением в кожухе, равным 1,6 МПа. При большем давлении в кожухе (1,6 — 8,0 МПа) следует применять теплообменники с плавающей головкой или с U-образными трубами.

На рисунке 3 изображен кожухотрубчатый теплообменник с плавающей головкой, предназначенной для охлаждения (нагревания) жидких или газообразных сред без изменения их агрегатного состояния. Не закрепленная на кожухе вторая трубная решетка вместе с внутренней крышкой, отделяющей трубное пространство от межтрубного, образует так называемую плавающую головку. Такая конструкция исключает температурные напряжения в кожухе и в трубах. Кожухотрубчатые конденсаторы с плавающей головкой отличаются от аналогичных теплообменников большим диаметром штуцера для подвода пара в межтрубное пространство. Допустимое давление охлаждающей среды в трубах до 1,0 МПа, в межтрубном пространстве — от 1,0 до 2,5 МПа. Эти аппараты могут быть двух-, четырех- и шестиходовыми по трубному пространству. Диаметр кожуха от 600 до 1400 мм, высота труб 6,0 м.

1 — крышка распределительной камеры, 2 — распределительная камера, 3 — кожух, 4 — теплообменные трубы, 5 — перегородка с сегментным вырезом, 6 — штуцер, 7 — крышка плавающей головки, 8 — крышка кожуха

Рисунок 3 – Кожухотрубчатый теплообменник с плавающей головкой

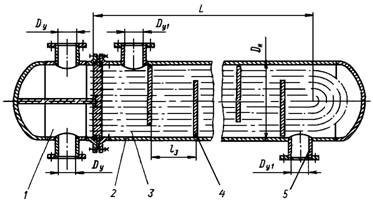
Теплообменники с U-образными трубами (рисунок 4) применяют для нагрева и охлаждения жидких или газообразных сред без изменения их агрегатного состояния. Они рассчитаны на давление до 6,4 МПа, отличаются от теплообменников с плавающей головкой менее сложной конструкцией (одна трубная решетка, нет внутренней крышки), однако могут быть лишь двухходовыми, из труб только одного сортамента: 20X2 мм. Кожухотрубчатые испарители с трубными пучками из U-образных труб или с плавающей головкой имеют паровое пространство над кипящей в кожухе жидкостью. В этих аппаратах, всегда расположенных горизонтально, горячий теплоноситель (в качестве которого могут быть использованы газы, жидкости или пар) движется по трубам. Кожухотрубчатые испарители могут быть с коническим днищем (рисунок 5) диаметром 800—1600 мм и с эллиптическим днищем диаметром 2400—2800 мм. Последние могут иметь два или три трубных пучка. Допустимые давления в трубах составляют 1,6—4,0 МПа, в кожухе — 1,0—2,5 МПа при рабочих температурах от —30 до 450°С, т. е. выше, чем для испарителей с линзовым компенсатором.

1 — распределительная камера, 2 — кожух, 3 — теплообменные трубы, 4 — перегородка с сегментным вырезом, 5 — штуцер

Рисунок 4 – Кожухотрубчатый теплообменник с U образными трубами

Наибольшей компактностью отличаются пластинчатые теплообменные аппараты; их удельная рабочая поверхность достигает 1500 м23.

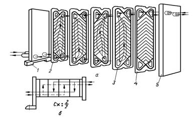
В пластинчатых теплообменниках поверхность теплообмена образована набором тонких штампованных гофрированных пластин Эти аппараты могут быть разборными, элуразборными и неразборными (сварными) В пластинах разборных теплообменников (рисунок 6) имеются угловые отверстия для прохода теплоносителей и пазы, в которых закрепляются уплотнительные и компонующие прокладки из специальных термостойких резин. Пластины сжимаются между неподвижной и подвижной плитами таким образом, что благодаря прокладкам между ними образуются каналы для поочередного прохода горячего и холодного теплоносителей. Плиты снабжены штуцерами для присоединения трубопроводов. Неподвижная плита крепится к полу, пластины и подвижная плита закрепляются в специальной раме. Группа пластин, образующих систему параллельных каналов, в которых данный теплоноситель движется только в одном направлении (сверху вниз или наоборот), составляет пакет. Пакет по существу аналогичен одному ходу по трубам в многоходовых кожухотрубчатых теплообменниках.

1 — кожух, 2 — трубчатая решетка плавающей головки, 3 — теплообменные трубы, 4 — неподвижная трубная решетка, 5 — распределительная камера 6 — крышка распределительной камеры, / — люк для монтажа трубного пучка, // — выход остатка продукта, /// — дренаж, IV — вход жидкого продукта V — выход газа или жидкости (теплового агента), VI — вход пара или жидкости (теплового агента), VII — выход паров продукта, VIII — люк

Рисунок 5 – Кожухотрубчатый испаритель с паровым пространством

Широкое применение получили пластинчато-ребристые теплообменные аппараты компактность которых достигает 2000 м23. Большими достоинствами этих аппаратов являются: возможность осуществления теплообмена между тремя, четырьмя и более теплоносителями; наименьший вес и объем (следовательно, и стоимость) по сравнению с другими аппаратами. По своему устройству пластинчато-ребристые теплообменники представляют собой набор тонких пластин, между которыми располагаются тонкие гофрированные листы, припаянные к каждой пластине. Таким образом, образуются сребренные поверхности теплообмена, а теплоноситель разбивается на ряд мелких потоков. Аппарат может быть собран из любого числа пластин, а теплоносители могут двигаться либо прямотоком, либо перекрестным током.

1 — неподвижная плита, 2 — теплообменная пластина, 3 — прокладка, 4 — концевая пластина, 5 — подвижная плита

Рисунок 6 – Пространственная схема движения теплоносителей (а) и условная схема компоновки пластин (б) в однопакетном пластинчатом разборном теплообменнике

1.3 Современное аппаратурно-технологическое оформление процесса теплообмена

Теплообмен является одним из важнейших процессов как в живой природе, так и для технологических производств. Поэтому немало было разработано и разрабатывается по сей день теплообменных установок, разнообразных методов проведения и контроля теплообменных процессов.

К современному теплообменному оборудованию относят теплообменник который был изобретён в 1998 году Плоским А.А., Банниковым Н.В., Громовым А.П., Суворовым А.П. и Федоровым Н.Н. (акционерное общество открытого типа "Чебоксарский завод промышленных тракторов"). Изобретение может быть использовано в теплообменниках для нагрева теплом газов жидкого теплоносителя. Изобретение позволяет компенсировать сердцевины теплообменников из сравнительно дешевых штампованных пакетов, обеспечивающих удобство их чистки в эксплуатации и должную турбулизацию теплоносителей.

Задачей данного изобретения является создание теплообменника, исключающего сварку при изготовлении пакетов сердцевины, а также обеспечивающего удобство чистки их в условиях эксплуатации и должную турбулизацию теплоносителей.

Поставленная задача достигнута здесь благодаря тому, что пакеты теплообменника, содержащего корпус с состоящей из штампованных пакетов сердцевиной и патрубками для подвода теплоносителей в соответствующие полости для вывода их из тех же полостей, выполнены в виде бесшовных труб с прямоугольными торцами, соседние боковые стороны которых совмещены друг с другом, а полости теплоносителей внутри пакетов и между ними образованы волнообразными углублениями на сплющенных боковых поверхностях пакетов, крайние из которых образуют боковые стенки корпуса. Указанная совокупность отличается от прототипа и не обнаружена среди аналогичных теплообменников — аналогов в тракторной отрасли техники. Более подробное описание данного теплообменника представлено в приложении А.

Государственная морская академия им. адм. С.О. Макарова (Овсянников М.К., Петухов В.А.) в 1998 году разработала способ контроля тепловой эффективности теплообменного аппарата. Изобретение предназначено для использования в теплотехнике и металлургии. Применение предлагаемого способа в практике эксплуатации судовых теплообменных аппаратов позволит объективно и достаточно точно оценить эффективность работы теплообменных аппаратов и определить периодичность их профилактической чистки и других работ по техобслуживанию, снизить затраты и повысить эффективность технической эксплуатации теплообменных аппаратов различного типа и назначения, более качественно выполнять работы по их совершенствованию на стадии проектирования и технологии изготовления.

Это способ контроля тепловой эффективности теплообменного аппарата (ТА), включающий измерение входных и выходных значений температуры теплообменных сред, вычисление коэффициента тепловой эффективности ТА (теплового КПД ТА), отличающийся тем, что измеряют одновременно разности значений температур обоих теплоносителей ∆tmax и ∆tmin в установившемся режиме работы ТА, после чего вычисляют et по формуле:

et = 1 – (∆tcp /∆tmax ) , (15)

где:

∆tcp = (∆tmax – ∆tmin )/(ln(∆tmax /∆tmin)), (16)

et — коэффициент тепловой эффективности ТА;

∆tmax — максимальная разница значений температур теплоносителей на входе ТА;

∆tmin — минимальная разница значений температур теплоносителей на выходе из ТА;

и сравнивают его значения с критическим, добиваясь выполнения условия

et ³ etkp , (17)

 

Более подробное описание данного способа контроля тепловой эффективности теплообменного аппарата. представлено в приложении Б.

2 Расчет холодильника первой ступени

Рассчитаем необходимую поверхность теплообменника, в трубном пространстве, которого охлаждается со 160 до 110,8 °С толуол, с заданным массовым расходом GА = 2,92 кг/с.

В качестве охлаждающего теплоносителя применяем воздух под давлением P = 0,15 МПа.

2.1 Определение тепловой нагрузки

Тепловая нагрузка со стороны толуола рассчитывается следующим образом:

QА= GА∙cА∙( TА2-TА1 ), (2.1)

где GА ─ массовый расход толуола, кг/с; cA = 1530,8 Дж/кг·К ─ теплоемкость толуола, при его температуре tA= 135,4 °С [3].

QА= 2,92∙1530,8∙(160-110,8) = 219920,85 Вт.

2.2 Определение расхода и тепловой нагрузки воздуха

Тепловую нагрузку со стороны воздуха примем равной тепловой нагрузке со стороны толуола c учетом потерь тепла в окружающую среду:

QВ = β∙QА, (2.2)

где β ─ коэффициент, учитывающий потерю тепла (примем его равным ─ 0,95).

QВ = 0,95∙219920,85 = 208924,8 Вт.

GВ = QВ/[cВ∙( TВ2-TВ1 )], (2.3)

где GB ─ массовый расход воздуха, кг/с; cВ = 1007,3 Дж/кг·К ─ теплоемкость воздуха, при его температуре tB = 42,5 °С [3].

GВ = 208924,8 /[1007,3∙(60-25)] = 5,9 кг/с.

2.3 Вычисление средней разности температур теплоносителей

Принимаем схему движения теплоносителей ─ противоток.

Тогда разность температур на входе ─ Δtвх и на выходе ─ Δtвых из теплообменника соответственно равны:

Δtвх = |ТА1В2| = |160-60| = 100 °С;

Δtвых = |ТА2В1| = |110,8-25| = 85,8 °С.

Средняя разность температур теплоносителей:

Δtср = (Δtвх + Δtвых)/2, (2.4)

Δtср = (100 + 85,8)/2 = 92,9 °С.

2.4 Нахождение ориентировочной поверхности теплообмена Fор и выбор рассчитываемого теплообменника

Решение вопроса о том, какой теплоноситель направить в трубное пространство, обусловлено его температурой, давлением, коррозионной активностью, способностью загрязнять поверхности теплообмена, расходом и др. В рассматриваемом примере в трубное пространство целесообразно направить толуол, так как он является наиболее взрывопожароопасным теплоносителем. Это позволит снизить вероятность возникновения аварийной ситуации при эксплуатации теплообменника.

Ориентировочное значение поверхности:

Fор.= Q/(K∙∆tср), (2.5)

где К ─ приблизительное значение коэффициента теплопередачи.

В соответствии с таблицей 2.1[2] примем Кор= 45 Вт/м2∙К.

Fор.= 219920,85/(45∙92,9) = 52,9 м2

Рассчитаем необходимое число труб, приходящееся на один ход теплообменника

n/z = 4∙GА/(π∙dвн∙µА∙ Reop), (2.6)

где n ─ число труб; z ─ число ходов по трубному пространству; dвн ─ внутренний диаметр труб, м;

Примем ориентировочное значение Reop= 15000 , что соответствует развитому турбулентному режиму течения в трубах. Очевидно, такой режим возможен в теплообменнике, у которого число труб, приходящееся на один ход, равно:

─ для труб диаметром dн = 20×2 мм ─

n/z = 4∙2,92/(3,14∙0,016∙0,000009635∙15000) = 1608,6;

─ для труб диаметром dн = 25×2 мм ─

n/z = 4∙2,92/(3,14∙0,021∙0,000009635∙15000) = 1225,6.

В соответствии с ГОСТ 15120-79 и ГОСТ 15122-79 соотношение n/z принимает наиболее близкое к заданному значению у теплообменника параметры, которого представлены в таблице 2.1.

Таблица 2.1 ─ Параметры кожухотрубчатого теплообменника согласно ГОСТ 15120-79 и ГОСТ 15122-79

D, мм

dн, мм

z

n

L, м

F, м2

1000

0,025

1

747

3

176


Так как поверхность теплообмена стандартного теплообменника намного больше ориентировочного значения поверхности теплообмена, то принимаем решение установить нестандартный теплообменник параметры, которого представлены в таблице 2.2.

Таблица 2.2─Параметры нестандартного кожухотрубчатого теплообменника

D, мм

dн, мм

z

n

L, м

F, м2

1000

0,025

1

747

1

58,67


2.5 Расчет коэффициента теплопередачи K

Коэффициент теплопередачи K рассчитывается по формуле (2.7):

К = (1/α1стст+rз1+ rз2+1/α2)-1, (2.7)

где α1 и α2 ─ коэффициенты теплоотдачи со стороны теплоносителей, Вт/(м2∙К); λст ─ теплопроводность материала стенки, Вт/(м∙К); δст ─ толщина стенки, м; 1/rз1 и 1/rз2 ─ термические сопротивления слоев загрязнений с обеих сторон стенки, Вт/(м2∙К).

Сумма термических сопротивлений со стороны стенки и загрязнений равна:

Σδ/λ = δстст+ rз1+ rз2, (2.8)

При δст= 2 мм = 0,002 м, Для стали сталь 20 теплопроводность λст= 46,5 Вт/(м∙К). 1/rз1 = 5800 Вт/(м2∙К), 1/rз2 = 2800 Вт/(м2∙К) [3], термическое сопротивление со стороны стенки равно:

Σδ/λ= 0,002/46,5+1/5800+1/2800 = 5,7∙10-4 м2∙К/Вт

Действительное число Re вычисляется по формуле:

ReA = 4∙GА∙z/(π∙dвн∙n∙µА) (2.9)

ReA= 4∙2,92∙1/(3,14∙0,021∙747∙0,000009635) = 24610,56

Коэффициент теплоотдачи со стороны толуола к стенке α1 равен:

α1 = λ/dвн(0,023∙Re0,8∙(Pr/Prст)0,25∙Pr0,4), (2.10)

где Ргст ─ критерий Прандтля, рассчитанный при температуре стенки tст.

РгA = cA∙µАA = 1530,8∙0,9635 ∙10-5 /0,022 = 0,67

Среднюю температуру воздуха определим, как среднее арифметическое его начальной и конечной температур:

ТВ = (ТВ1В2)/2 = (60+25)/2 = 42,5 °С

Среднюю температуру толуола определяется следующим образом:

ТA = ТB + Δtcp = 42,5 + 92,9 = 135,4 °С

Температуру стенки можно определить из соотношения

tст = Tср± Δt, (2.11)

где Tср ─ средняя температура теплоносителя, Δt ─ разность температур теплоносителя и стенки.

Расчет α1 - ведем методом последовательных приближений.

В первом приближении примем Δt1 = 60 °С. Тогда

tст1 =135,4 - 60 = 75,4 °С

РгАст=cAст∙µАстAст= 1320,5∙0,8348 ∙10-5 /0,0153 = 0,72

α1 = (0,0153/0,021)∙0,023∙24610,560,8∙(0,67/0,72)0,25∙0,670,4 = 65,68 Вт/(м2∙К)

Для установившегося процесса передачи тепла справедливо уравнение:

q = α1∙Δt1 = Δtст/(ΣΔδ/λ) = α2∙Δt2, (2.12)

где q ─ удельная тепловая нагрузка, Вт/м2; Δt ─ перепад температур на стенке, °С; Δt2 ─ разность между температурой стенки со стороны воздуха и температурой самого теплоносителя, °С.

Отсюда:

Δtст = α1∙Δt1∙(Σδ/λ) = 65,68∙60∙5,7 ∙10-4 = 2 °С

Тогда

Δt2 = Δtср-Δtст-Δt1= 92,9-2-60 = 30,9 °С

Коэффициент теплоотдачи со стороны воздуха к стенке α2

Площадь сечения потока в межтрубном пространстве для подобранного теплообменника Sмтр= 0,143 м2, тогда

ReВ = GВ∙dн/(Sмтр∙µB) (2.13)

ReВ = 5,9∙0,025/(0,143∙0,00001926) = 53555

РгB = cB∙µBB = 1007,5∙0,00001926/0,0279 = 0,6955

α2 = (0,0279/0,025)∙0,24∙535550,6∙0,69550,36 = 161,89 Вт/(м2∙К)

Вычислим тепловые нагрузки со стороны каждого из теплоносителей:

─ со стороны толуола ─

q′ = α1∙Δt1 = 65,68∙60 = 3940,8 Вт/м2;

─ со стороны воздуха ─

q″ = α2∙Δt2 = 161,89∙30,9 = 5018,8 Вт/м2.

Как видим, q′≠q″.

Для второго приближения примем Δt1 = 65 °С.

Тогда

tст1 = 135,4-65 = 70,4 °С

РгАст = 1282,4∙0,8116 ∙10-5 /0,0145 = 0,72

α1 = (0,022/0,021)∙0,023∙24610,560,8∙(0,67/0,72)0,25∙0,670,4 = 65,68 Вт/(м2∙К)

Δtст = 65,68∙65∙5,7 ∙10-4 = 2 °С

Δt2 = 92,9-2-65 = 25,9 °С

tст2 = 42,5 + 25,9 = 68,9 °С

α2 = (0,0279/0,025)∙0,24∙535550,6∙0,69550,36 = 160,18 Вт/(м2∙К)

Тепловые нагрузки со стороны каждого из теплоносителей равны:

─ со стороны толуола ─

q′ = 65,68∙65 = 4269,2 Вт/м2;

─ со стороны воздуха ─

q″ = 160,18∙25,9 = 4148,8 Вт/м2.

Как видим, q′ ≈ q″.

Расхождение между тепловыми нагрузками (2,8%) не превышает 5%, следовательно, расчет коэффициентов α1 и α2 на этом можно закончить.

Коэффициент теплопередачи равен:

К=1/(1/65,68+1/160,18+5,7∙10-4) = 45,3 Вт/(м2К)

Найдем уточненное значение относительной тепловой нагрузки qср, как среднее арифметическое q′ и q″

qср = (q′ + q″)/2 = (4269,2 + 4148,8)/2 = 4209 Вт/м2

Известно, что относительная тепловая нагрузка связана с коэффициентом теплопередачи следующим образом:

q = K∙Δtср (2.14)

Тогда выражение для нахождения уточненного значения требуемой поверхности теплообмена примет вид

F = Q/(K∙Δtср) = Q/qср (2.15)

F = 219920,85/4209 = 52,25 м2

∆ = [(58,67-52,25)/58,67]∙100% = 10,94%

Результаты уточненного расчета поверхности теплопередачи сведены в таблицу 2.3.

Таблица 2.3 ─ Результаты уточненного расчета поверхности теплопередачи

Количество

теплообменников, N

F, м2

RеA

RеB

α1, Вт/(м2К)

α2, Вт/(м2К)

1

1000

24610,56

53555

65,68

160,18


2.6 Расчёт гидравлического сопротивления теплообменника

Гидравлическое сопротивление в трубном пространстве ∆pтр рассчитываем по формуле:

∆pтр= λ∙L∙z∙w2тр∙ρтр/2d +[2,5(z-1)+2z]∙w2тр∙ρтр/2+3 w2тр.ш∙ρтр/2 (2.16)

Скорость толуола рассчитывается по формуле:

wтр = 4∙GА∙z/(π∙d2вн∙n∙ρА) (2.17)

Отсюда скорость будет равна:

wтр = 4∙2,92∙1/(3,14∙0,0212 ∙747∙2,74) = 4,1 м/с

Коэффициент трения в трубах рассчитывается по формуле:

λ = 0,25{lg[e/3,7+(6,81/Reтр)0,9]}-2, (2.18)

где е = Δ/dвн ─ относительная шероховатость труб; Δ ─ высота выступов шероховатостей

е = 0,0002/0,021 = 0,0095

Отсюда коэффициент трения будет равен:

λ = 0,25{lg[0,0095/3,7+ (6,81/24610,56) 0,9]}-2 = 0,04.

Скорость раствора в штуцерах рассчитывается по формуле:

wшт = 4∙GА/(π∙dшт2∙ρА) (2.19)

Отсюда скорость раствора в штуцерах будет равна:

wшт = 4∙2,92/(3,14∙0,32 ∙2,74) = 15 м/с.

Гидравлическое сопротивление в трубном пространстве:

∆pтр = 0,04∙1∙1∙4,12 ∙2,74/(0,021∙2)+[2,5(1-1)+2∙1]∙4,12 ∙2,74/2+3∙2,74∙152/2 = 10147 Па.

Расчётная формула для определения гидравлического сопротивления в межтрубном пространстве ∆pмтр имеет вид:

∆pмтр=3∙m∙(x+1)∙ρмтр w2мтр/2 Reмтр0,2+1,5∙x∙ρмтр2 w2мтр/2+3∙ρмтр w2мтр.шт /2, (2.20)

где x ─ число сегментных перегородок, m ─ число рядов труб, преодолеваемых потоком теплоносителя в межтрубном пространстве.

Скорость воздуха в наиболее узком сечении межтрубного пространства площадью Sмтр= 0,143 м2, рассчитывается по формуле:

wмтр = GВ/(Sмтр∙ρВ) (2.21)

wмтр= 5,9∙/(0,143∙1,65) = 25 м/с

Число рядов труб, омываемых потоком в межтрубном пространстве,

 __________ ___________

m = √(n-1)/3+0,25 = √(747-1)/3+0,25 = 15,78

округляя в большую сторону, получим m = 16. Число сегментных перегородок х = 0. Диаметр штуцеров к кожуха dмтр.шт = 0,3 м, скорость потока в штуцерах

wмтр.шт = 5,9∙4/(3,14∙0,32 ∙1,65) = 50,6 м/с

В соответствии с формулой (2.20) сопротивление межтрубного пространства равно

∆pмтр= 3∙16∙(0+1)∙1,65∙252/(2∙535550,2) + 1,5∙0∙1,652 ∙252/2 +3∙1,65∙50,62/2 = 9141,1 Па.

Результаты гидравлического расчета холодильника сведены в таблицу 2.4

Таблица 2.4 ─ Результаты гидравлического расчета

λ

wтр, м/с

wтр.шт, м/с

wмтр, м/с

wмтр.шт, м/с

m

x

ΔPмтр, Па

0,04

4,1

15

25

50,6

16

0

10147

9141,1


3 Расчет конденсатора паров толуола

Кожухотрубные конденсаторы предназначены для конденсации паров в межтрубном пространстве, а также для подогревания жидкостей за счет теплоты конденсации пара.

Рассчитаем необходимую поверхность теплообменника, в межтрубном пространстве, которого конденсируется толуол, с заданным массовым расходом GА = 2,92 кг/с, удельная теплота конденсации rА = 362031 Дж/кг, температура толуола ТА = 110,8 °С [3].

В качестве теплоносителя применяем толуол под давлением P = 0,5 МПа, который в трубном пространстве нагревается от 20 до 95 °С [3].

3.1 Определение тепловой нагрузки

Тепловая нагрузка аппарата:

QА = GА∙rА, (3.1)

где GА ─ массовый расход толуола, кг/с; rA = 362031 Дж/кг ─ удельная теплота конденсации толуола, при его температуре tA= 110,8 °С [3].

QА = 2,92∙362031 = 1057130,52 Вт

3.2 Определение тепловой нагрузки для второго теплоносителя ─ жидкого толуола и его расхода

Тепловую нагрузку со стороны второго теплоносителя примем равной тепловой нагрузке со стороны паров толуола c учетом потерь тепла в окружающую среду:

QС = β∙QА, (3.2)

где β ─ коэффициент, учитывающий потерю тепла (примем его равным ─ 0,95).

QС = 0,95∙1057130,52 = 1004274 Вт

Расход жидкого толуола на охлаждение:

GC = QС/[cА∙(TС2-TС1)], (3.2)

где cС = 2062,53 Дж/кг·град ─ теплоемкость насыщенного водяного пара, при его давлении P = 0,5 МПа, и температуре tС= 57,5 °С [3].

GC = 1004274/[2062,53∙(95-20)] = 6,5 кг/с.

3.3 Вычисление средней разности температур теплоносителей

Принимаем схему движения теплоносителей ─ противоток.

Тогда разность температур на входе ─ tвх и на выходе ─ tвых из теплообменника соответственно равны:

Δtвх = |ТАC1| = |110,8-20| = 90,8 °С,

Δtвых = |ТАC2| = |110,8-95| = 15,8 °С.

Средняя разность температур теплоносителей:

Δtcp≡Δtcp.л=(Δtвх-Δtвых)/ln(Δtвх/Δtвых) (3.4)

Δtсp= (90,8-15,8)/ln(90,8/15,8) = 42,9 °С.

Среднюю температуру толуола определяется следующим образом:

ТС = ТА - Δtcp = 110,8-42,9 = 67,9 °С

3.4 Нахождение ориентировочной поверхности теплообмена Fор и выбор рассчитываемого теплообменника

Решение вопроса о том, какой теплоноситель направить в трубное пространство, обусловлено его температурой, давлением, коррозионной активностью, способностью загрязнять поверхности теплообмена, расходом и др. В рассматриваемом примере в трубное пространство целесообразно направить толуол для охлаждения паров толуола, которые, в свою очередь, будут конденсироваться в межтрубном пространстве. Ориентировочное значение поверхности:

Fор.= Q/(K∙∆tср), (3.5)

где К ─ приблизительное значение коэффициента теплопередачи.

В соответствии с таблицей 2.1[2] примем Кор = 400 Вт/м2∙К.

Fор.= 1004274/(400∙42,9) = 58,5 м2

Рассчитаем необходимое число труб, приходящееся на один ход теплообменника

n/z = 4∙GС/(π∙dвн∙µС∙ Reop), (3.6)

где n ─ число труб; z ─ число ходов по трубному пространству; dвн ─ внутренний диаметр труб, м; коэффициент динамической вязкости толуола равен ─ µС= 0,3888∙ ∙10-3 Па∙с.

Примем ориентировочное значение Reop = 15000 , что соответствует развитому турбулентному режиму течения в трубах. Очевидно, такой режим возможен в теплообменнике, у которого число труб, приходящееся на один ход, равно:

─ для труб диаметром dн=20×2 мм ─

n/z = 4∙6,5/(3,14∙0,016∙0,0003888∙15000) = 88,7

─ для труб диаметром dн=25×2 мм ─

n/z = 4∙6,5/(3,14∙0,021∙0,0003888∙15000) = 67,6

В соответствии с ГОСТ 15120-79 и ГОСТ 15122-79 соотношение n/z принимает наиболее близкое к заданному значению у теплообменника параметры, которого представлены в таблице 3.1.

Таблица 3.1 ─ Параметры кожухотрубчатого теплообменника согласно ГОСТ 15120-79 и ГОСТ 15122-79

D, мм

dн, мм

z

n

L, м

F, м2

600

0,02

6

316

3

60


3.5 Уточненный расчет поверхности теплопередачи

Коэффициент теплопередачи K рассчитывается по формуле (3.7):

К = (1/α1стст+rз1+ rз2+1/α2)-1, (3.7)

где α1 и α2 ─ коэффициенты теплоотдачи со стороны теплоносителей, Вт/(м2∙К); λст ─ теплопроводность материала стенки, Вт/(м∙К); δст ─ толщина стенки, м; 1/rз1 и 1/rз2 ─ термические сопротивления слоев загрязнений с обеих сторон стенки, Вт/(м2∙К).

Сумма термических сопротивлений со стороны стенки и загрязнений равна:

Σδ/λ = δстст+ rз1+ rз2, (3.8)

При δст= 2 мм = 0,002 м, Для стали сталь 20 теплопроводность λст= 46,5 Вт/(м∙К). 1/rз1= 5800 Вт/(м2∙К), 1/rз2= 5800 Вт/(м2∙К) [3] термическое сопротивление со стороны стенки равно:

Σδ/λ = 0,002/46,5+1/5800+1/5800 = 3,88 ∙ 10-4 м2∙К/Вт.

Действительное число Re вычисляется по формуле:

ReС = 4∙GС∙z/(π∙dвн∙n∙µС) (3.9)

ReС = 4∙6,5∙6/(3,14∙0,016∙316∙0,0003888) = 25273,28.

Коэффициент теплоотдачи со стороны толуола к стенке α2 равен:

α2= λ/dвн(0,023∙Re0,8∙(Pr/Prст)0,25∙Pr0,4), (3.10)

где Ргст ─ критерий Прандтля, рассчитанный при температуре стенки tст.

РгС = cС∙µСС = 2062,53∙0,3888 ∙10-3 /0,128 = 6,62

Температуру стенки можно определить из соотношения

tст = Tср± Δt, (3.11)

где Tср ─ средняя температура теплоносителя, Δt ─ разность температур теплоносителя и стенки.

Расчет α2 - ведем методом последовательных приближений.

В первом приближении разность температур между толуолом и стенкой примем Δt2= 17 °С. Тогда

tст2 = 67,9 + 17 = 84,9 °С

РгСст = cСст∙µСстСст = 2003,9∙0,307 ∙10-3 /0,1218 = 5,05

α2 = (0,1218/0,016)∙0,023∙25273,280,8∙(6,62/5,05)0,25∙6,620,4 = 1325,14 Вт/(м2∙К)

Для установившегося процесса передачи тепла справедливо уравнение:

Q = α2∙Δt2 = Δtст/(ΣΔδ/λ) = α1∙Δt1, (3.13)

где q ─ удельная тепловая нагрузка, Вт/м2; Δt ─ перепад температур на стенке, °С; Δt1 ─ разность между температурой стенки со стороны паров толуола и температурой самого теплоносителя, °С.

Отсюда:

Δtст = α2∙Δt2∙(Σδ/λ) = 1325,14 ∙17∙3,88 ∙10-4 = 8,75

Тогда

Δt1 = Δtср-Δtст-Δt2 = 42,9-8,75-17 = 17,15 °С

Коэффициент теплоотдачи α1 толуола, конденсирующегося на пучке горизонтально расположенных труб, определим по уравнению:

α 1=0,72∙ε∙[(rА∙ρж2∙λж3∙g)/(μж∙dн∙Δt2)]1/4, (3.14)

где rА ─ теплота конденсации паров толуола, Дж/кг; dн ─ наружный диаметр труб; ε ─ коэффициент, учитывающий то что при конденсации пара на наружной поверхности пучка из n горизонтальных труб средний коэффициент теплоотдачи несколько ниже, чем в случае одиночной трубы, вследствие утолщения пленки конденсата на трубах, расположенных ниже: аср = εα. При n > 100 приближенно можно принять ε = 0,6 [2]; ρж; λж; μж ─ соответственно плотность, кг/м3; теплопроводность Вт/(м∙К); вязкость, Па∙с; конденсата при средней температуре пленки:

tпл = TА-Δt1/2 (3.15)

tпл = 110,8-17,15/2 = 102,23 °С

Таблица 3.2 ─ Параметры rС, ρж, λж, μж для толуола при температуре tпл = = 102,23 °С [3]

rА, кДж/кг

364674,7

μж, 10-3∙Па∙с

0,264

ρж, кг/м3

782,6

λж, Вт/(м∙К)

0,117


Подставляя данные таблицы 3.2 в выражение (3.14), получим:

α1 = 0,72∙0,6∙[(364674,7∙ 782,62 ∙ 0,1173∙ 9,81)/(0,264 ∙ 10-3 ∙ 0,02 ∙ 12,7)]1/4 = = 1104,96 Вт/(м2∙К)

Вычислим тепловые нагрузки со стороны каждого из теплоносителей:

─ со стороны паров толуола

q′ = α1∙Δt1 = 1104,96∙17,15 = 18950 Вт/м2;

─ со стороны толуола

q″ = α2∙Δt2 = 1327,75∙17 = 22571,75 Вт/м2.

Как видим, q′≠q″.

Для второго приближения зададим Δt2 = 15 °С

Тогда

tст2 = 67,9+15 = 82,9 °С

РгАст = 1998,18∙0,311 ∙10-3 /0,12229 = 5,08

α2 = (0,12229/0,016)∙0,023∙25273,280,8∙(6,62/5,08)0,25∙6,620,4 = 1331,12 Вт/(м2∙К)

Δtст = 1331,12 ∙15∙3,88∙10-4 = 7,74 °С

Δt1 = 42,9-7,74-15 = 20,16 °С

tпл = 110,8-20,16/2 = 100,72 °С

Таблица 3.3 ─ Параметры rА, ρж, λж, μж для толуола при температуре tпл = = 100,72°С [3]

rА, кДж/кг

368700

μж, 10-3∙Па∙с

0,271

ρж, кг/м3

788

λж, Вт/(м∙К)

0,118


Подставляя данные таблицы 3.3 в выражение (3.14), получим:

α1 = 0,72∙0,6∙[(368700∙ 7882 ∙ 0,1183 ∙9,81)/(0,271 ∙ 10-3 ∙ 0,02 ∙ 20,16)]1/4 =

= 1041,15 Вт/(м2∙К)

Тепловые нагрузки со стороны каждого из теплоносителей равны:

─ со стороны паров толуола

q′ = α1∙Δt1 = 1041,15 ∙20,16 = 20989,5 Вт/м2;

─ со стороны толуола

q″ = α2∙Δt2 = 1331,12∙15 = 19966,8 Вт/м2.

Очевидно, что q′≠q″.

Для третьего приближения зададим Δt2 = 15,5 °С

Тогда

tст2 = 67,9+15,5= 83,4 °С

РгАст = 2001,63∙0,309 ∙10-3 /0,122 = 5,07

α2 = (0,122/0,016)∙0,023∙25273,280,8∙(6,62/5,07)0,25∙6,620,4 = 1328,6 Вт/(м2∙К)

Δtст = 1328,6 ∙15,5∙3,88∙10-4 = 7 °С

Δt1 = 42,9-7-15,5 = 20,4 °С

tпл = 110,8-18,66/2 = 101,5 °С

Таблица 3.4 ─ Параметры rА, ρж, λж, μж для толуола при температуре tпл = = 101,5 °С [3]

rА, кДж/кг

366343,5

μж, 10-3∙Па∙с

0,27

ρж, кг/м3

785,8

λж, Вт/(м∙К)

0,1179


Подставляя данные таблицы 3.4 в выражение (3.14), получим:

α1 = 0,72∙0,6∙[(366343,5∙ 785,82 ∙ 0,11793 ∙ 9,81)/(0,27 ∙ 10-3 ∙ 0,02 ∙ 20,4)]1/4 = 1049,52 Вт/(м2∙К)

Тепловые нагрузки со стороны каждого из теплоносителей равны:

─ со стороны паров толуола

q′ = α1∙Δt1 = 1058,85∙18,66 = 21410,2 Вт/м2;

─ со стороны толуола

q″ = α2∙Δt2 = 1328,6 ∙15,5 = 20593,3 Вт/м2.

Как видим, q′ ≈ q″.

Расхождение между тепловыми нагрузками (3,8%) не превышает 5%, следовательно, расчет коэффициентов α1 и α2 на этом можно закончить.

Коэффициент теплопередачи равен:

 К=1/(1/1058,85+1/1328,6 +3,88∙10-4) = 479,59 Вт/(м2К)

Найдем уточненное значение относительной тепловой нагрузки qср, как среднее арифметическое q′ и q″

qср = (q′+ q″)/2 = (21410,2 +20593,3)/2 = 21001,75 Вт/м2

Известно, что относительная тепловая нагрузка связана с коэффициентом теплопередачи следующим образом:

q=K∙Δtср (3.15)

Тогда выражение для нахождения уточненного значения требуемой поверхности теплообмена примет вид

F = Q/(K∙Δtср) = Q/qср (3.16)

F = 1057130,52/21001,75= 50,33 м2

Данный кожухотрубный теплообменник с длиной труб L = 3 м и поверхностью F = 60 м2, подходит с запасом:

∆ = [(60-50,33)/60]∙100% = 16 %

Результаты уточненного расчета поверхности теплопередачи сведены в таблицу 3.5.

Таблица 3.5 ─ Результаты уточненного расчета поверхности теплопередачи

F, м2

RеС

Положение

труб

α1, Вт/(м2∙К)

α2, Вт/(м2∙К)

50,33

25273,28

горизонтально

1049,52

1328,6


3.6 Расчёт гидравлического сопротивления теплообменника

Гидравлическое сопротивление в трубном пространстве ∆pтр рассчитываем по формуле:

∆pтр = λ∙L∙z∙w2тр∙ρтр/2d +[2,5(z-1)+2z]∙w2тр∙ρтр/2+3 w2тр.ш∙ρтр/2 (3.17)

Скорость толуола рассчитывается по формуле:

wтр=4∙GС∙z/(π∙d2вн∙n∙ρС) (3.18)

Отсюда скорость будет равна:

wтр= 4∙6,5∙6/(3,14∙0,016 2 ∙316∙830,4) = 0,739 м/с.

Коэффициент трения в трубах рассчитывается по формуле:

λ = 0,25{lg[e/3,7+(6,81/Reтр)0,9]}-2, (3.19)

где е = Δ/dвн ─ относительная шероховатость труб; Δ ─ высота выступов шероховатостей

е = 0,0002/0,016 = 0,0125.

Отсюда коэффициент трения будет равен:

λ = 0,25{lg[0,0125/3,7+ (6,81/25273,28) 0,9]}-2= 0,0434.

Скорость толуола в штуцерах рассчитывается по формуле:

wшт = 4∙GС/(π∙dшт2∙ρС) (3.20)

Отсюда скорость раствора в штуцерах будет равна:

wшт = 4∙6,5/(3,14∙0,12 ∙830,4) = 0,997 м/с.

Гидравлическое сопротивление в трубном пространстве:

∆pтр=0,0434∙3∙6∙0,7392∙830,4/(0,016∙2)+[2,5(6-1)+2∙6]∙0,7392∙830,4/2+ 3∙830,4∙0,9972/2 = 17864,5Па.

Результаты гидравлического расчета кожухотрубчатого конденсатора сведены в таблицу 3.6.

Таблица 3.6 ─ Результаты гидравлического расчета

λ

wтр, м/с

wтр.шт, м/с

Δpтр, Па

0,0434

0,739

0,997

17864,5


Заключение


В данной курсовой работе произведены теплотехнический, конструктивный и гидравлический расчеты теплообменников. На основании этих данных было подобрано следующее оборудование для проведения процесса охлаждения пара толуола и его конденсации: вертикальный холодильник и горизонтальный конденсатор.

В вертикальный одноходовой холодильник с параметрами:

— диаметр кожуха 1000 мм;

— число труб 747;

— длина труб 1 м;

— поверхность теплообмена 58,67 м2.

поступает пар толуола (массовый расход равен 2,92 кг/с) при атмосферном давлении. Там он охлаждается со 160 °С до 110,8 °С. Охлаждающим теплоносителем служит воздух (давление 0,15 МПа, массовый расход 5,9кг/с). Который нагревается с 25 °С до 60 °С. Тепловая нагрузка со стороны толуола равна 219920,85 Вт, а со стороны воздуха — 208924,8 Вт.

Конденсация паров толуола производится в горизонтальном конденсаторе с параметрами:

— диаметр кожуха 600 мм;

— число труб 316;

— длина труб 3 м;

— число ходов 6;

— поверхность теплообмена 60 м2.

Охлаждающим теплоносителем служит толуол (давление 0,5 МПа, массовый расход 6,5 кг/с), который нагревается с 20 °С до 95 °С. Тепловая нагрузка со стороны паров толуола равна 1057130,52 Вт, со стороны толуола 1004274 Вт.

Список использованных литературных источников


1. Касаткин А. Г. Основные процессы и аппараты химической технологии. –М.: Химия, 1973.

2. Основные процессы и аппараты химической технологии. Пособие по проектированию. Под ред. Ю. И. Дытнерского.– М.: Химия, 1991.

3. К. Ф. Павлов, П. Г. Романков, А. А. Носков. Примеры и задачи по курсу процессов и аппаратов химической технологии. – Л.: Химия, 1970.

4. Калишук Д.Г., Протасов С.К., Марков В.А. Процессы и аппараты химической технологии. Методические указания к курсовому проектированию по одноименной дисциплине для студентов очного и заочного обучения. – Мн: Ротапринт БГТУ, 1992.

5. Гельперин Н. И. Основные процессы и аппараты химической технологии М.: Химия, 1981. Т. 1. 384 с.

6. Плановский А. Н., Рамм В. М., Каган С. 3. Процессы и аппараты химической технологии М.: Химия, 1967 848 с

Похожие работы на - Подбор теплообменника для проведения процесса охлаждения и конденсации пара толуола

 

Не нашли материал для своей работы?
Поможем написать уникальную работу
Без плагиата!
Без нейросетей!