Рынок ценных бумаг (шпаргалка)

  • Вид работы:
    Тип работы
  • Предмет:
    Финансы, деньги, кредит
  • Язык:
    Русский
    ,
    Формат файла:
    MS Word
    35,53 kb
  • Опубликовано:
    2008-12-09
Вы можете узнать стоимость помощи в написании студенческой работы.
Помощь в написании работы, которую точно примут!

Рынок ценных бумаг (шпаргалка)

Содержание

1.Задание на курсовую работу

2.Постановка задачи

2.1 Дано

2.2 Требуется

2.3 Ограничения

3.Внешние спецификации программы

3.1 Входные данные

3.2 Выходные данные

3.3 Сообщения

4.Метод решения

5.Структура программы

6.Описание алгоритма программы

7.Текст программы

8.Тестовые примеры

Выводы


1. Задание на курсовую работу

Написать программу, которая:

·   вводит из файла структуры вида:

Схема 1 – Задание

·   размещает их в двунаправленный линейный список,

·   создает новый список магазинов, имеющих продукты заданного наименования по цене, превышающей среднюю по списку больше, чем на 10%.

·   и результат записывает в файл.

Считывание до конца файла, а не по записям.


2. Постановка задачи

2.1Дано

·   путь к исходному файлу;

·   исходный файл определённой структуры;

·   путь к результирующему файлу.

2.2Требуется

·   прочитанный из файла и занесённый в память список исходных данных;

·   результирующий файл (возможно создание во время выполнения программы), в который заносятся исходные данные и новый список.

2.3 Ограничения

·   исходный файл должен быть определённой структуры описанной выше;

·   Значения всех числовых данных не должны выходить из диапазона целого типа данных (-32768…32767).

3. Внешние спецификации программы

3.1 Входные данные

Входной текстовый файл вида:

- номер

- город

- улица

- номер дома

- наименование товара

- цена

- дата реализации

3.2Выходные данные

Выходной текстовый файл вида:

- номер

- город

- улица

- номер дома

- наименование товара

- цена

- дата реализации

3.3 Сообщения

Menu

Выдаётся при запуске программы и после выполнения какого либо пункта из меню.

Enter path to file to open (ex. C:\\file.txt):

Запрос на ввод имени файла с исходными данными.

File readed succesfully! Press any key...

Выдаётся после успешного чтения файла.

Enter path to file to write (ex. C:\\file.txt):

Запрос на ввод имя выходного файла для записи выходной информации.

You must create new list!

Выдается если не был создан новый список.

Invalid filename or file is missing!

Выдаётся, если невозможно открыть входной файл.

You must open a file!

Выдаётся, при попытке распечатать пустой список, сохранить пустой список, обработать пустой список.

File is empty!

Выдаётся, если входной файл имеет нулевой размер.





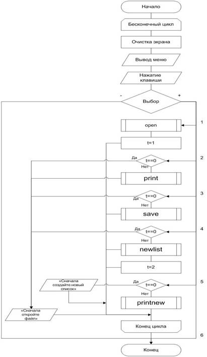
4. Метод решения

Реализовано меню, в зависимости от выбранного варианта ход выполнения программы может меняться;

·  Меню имеет вид:

1. Open file

2. Print list of markets

3. Create a new list

4. Print new list of markets

5. Save new list

6. Exit

·  При выборе пункта №1, у пользователя запрашивается путь к исходному файлу, затем происходит чтение записей из исходного файла и создание в памяти из этих записей двунаправленного линейного списка;

·  При выборе пункта №2, на экран выводятся записи, прочитанные из файла;

·  При выборе пункта №3, программа обработает список находящийся в памяти и запишет результаты в новый список

·  При выборе №4 программа выведет на экран записи, полученные после обработки списка.

·  При выборе №5 программа запросит путь к файлу в котором сохранит новые записи.

5. Структура программы

main - главная программа, содержащая меню, из которого осуществляется вызов всех остальных подпрограмм.

выбрали пункт меню №1 – запускается подпрограмма open -подпрограмма чтения записей из файла;

выбрали пункт меню №2 - запускается подпрограмма print – подпрограмма вывода записей на экран выбрали пункт меню №3 - запускается подпрограмма newlist – подпрограмма выполняет обработку списка выбрали пункт меню №4 - запускается подпрограмма printnew – подпрограмма вывода новых записей на экран.

выбрали пункт меню №5 - запускается подпрограмма save – подпрограмма сохранения результата в файл.

выбрали пункт меню №6 – выход из программы.


6. Описание алгоритма программы

Схема 1 - Main

main












































Схема 2 - Функция open

open














































Схема 3 - Функция print

print


Схема 4 - Функция printnew

print


Схема 5 - Функция newlist

newlist









































Схема 6 - Функция save

save

7. Текст программы

#include <stdio.h>

#include <conio.h>

#include <stdlib.h>

#include <string.h>

#include <alloc.h>

#include <io.h>

#define mg struct mg

#define ad struct ad

#define pr struct pr

pr {

char name[20];

int price;

char time[20];

};

ad {

char city[20];

char str[20];

int dom;

};

mg {

int num;

ad adr;

pr pro[5];

mg *prev, *next;

};

///////////////////////////OPEN LIST FROM FILE///////////////////////////////

mg *open (mg *last) {

mg *p, *start;

FILE *f;

int n;

char filename[50];

start=NULL;

last=NULL;

clrscr();

printf("Enter path to file to open (ex. C:\\file.txt):\n");

scanf("%s", filename);

if((f=fopen(filename, "r"))==NULL) {

printf("(!) Invalid filename or file is missing! Press any key to return to menu.");

getch();

} else

if(filelength(fileno(f))==0) {

clrscr();

printf("File is empty! Press any key...");

getch();

goto end;

}

else {

while (!feof(f)) {

p=(mg*)malloc(sizeof(mg));

scanf(f, "%d", &(p->num));

fscanf(f, "%s", p->adr.city);

fscanf(f, "%s", p->adr.str);

fscanf(f, "%d", &(p->adr.dom));

for(n=0;n<5;n++) {

fscanf(f, "%s", p->pro[n].name);

fscanf(f, "%d", &(p->pro[n].price));

fscanf(f, "%s", p->pro[n].time);

}

p->prev=last;

p->next=NULL;

if(last!=NULL)

last->next=p;

last=p;

if(start==NULL) start=last;

}

fclose(f);

printf("File readed succesfully! Press any key...");

getch();

}

end:

return start;

}

//////////////////////PRINT OLD LIST ON SCREEN/////////////////////////////

void *print (mg *start) {

int n;

mg *p=start;

while(p->next!=NULL) {

clrscr();

printf("\nMAGAZINE #%d", p->num);

printf("\n Address");

printf("\n   City: %s", p->adr.city);

printf("\n Street: %s", p->adr.str);

printf("\n  House: %d", p->adr.dom);

printf("\nProducts");

for(n=0;n<5;n++) {

printf("\n %d)", n+1);

printf("\n  Name: %s", p->pro[n].name);

printf("\n Price: %d", p->pro[n].price);

printf("\n  Time: %s", p->pro[n].time);

printf("\n");

}

printf("\n\nAny key to next record...");

getch();

p=p->next;

}

return start;

}

///////////////////////////PRINT NEW LIST ON SCREEN//////////////////////////

void *printnew (mg *start2) {

int n;

mg *p2=start2;

clrscr();

while(p2!=NULL) {

clrscr();

printf("\nMAGAZINE #%d", p2->num);

printf("\n Address");

printf("\n   City: %s", p2->adr.city);

printf("\n Street: %s", p2->adr.str);

printf("\n  House: %d", p2->adr.dom);

printf("\nProducts");

for(n=0;n<5;n++) {

printf("\n %d)", n+1);

rintf("\n  Name: %s", p2->pro[n].name);

printf("\n Price: %d", p2->pro[n].price);

printf("\n  Time: %s", p2->pro[n].time);

printf("\n");

}

printf("\n\nAny key to continue...");

getch();

p2=p2->next;

}

return start2;

}

//////////////////////////SAVE NEW LIST//////////////////////////////////

void save (mg *start, mg *start2) {

mg *p, *p2;

FILE *f;

int n;

char filename[50];

clrscr();

printf("Enter path to file to write (ex. C:\\file.txt):\n");

scanf("%s",filename);

if((f=fopen(filename, "w"))==NULL) {

clrscr();

printf("Invalid filename or file is corrupt! Press any key...");

getch();

goto end;

}

p=start;

while(p->next!=NULL) {

clrscr();

fprintf(f, "%d\n", p->num);

fprintf(f, "%s\n", p->adr.city);

fprintf(f, "%s\n", p->adr.str);

fprintf(f, "%d\n", p->adr.dom);

for(n=0;n<5;n++) {

fprintf(f, "%s\n", p->pro[n].name);

printf(f, "%d\n", p->pro[n].price);

fprintf(f, "%s\n", p->pro[n].time);

}

p=p->next;

}

fprintf(f, "---------------\n");

p2=start2;

while(p2!=NULL) {

clrscr();

fprintf(f, "%d\n", p2->num);

fprintf(f, "%s\n", p2->adr.city);

fprintf(f, "%s\n", p2->adr.str);

fprintf(f, "%d\n", p2->adr.dom);

for(n=0;n<5;n++) {

fprintf(f, "%s\n", p2->pro[n].name);

fprintf(f, "%d\n", p2->pro[n].price);

fprintf(f, "%s\n", p2->pro[n].time);

}

p2=p2->next;

}

fclose(f);

printf("File created succesfully! Press any key...");

getch();

end:

}

////////////////////////////CREATING NEW LIST//////////////////////////////

mg *newlist (mg *start) {

mg *p, *p2, *start2, *last2;

FILE *f;

char prod[20];

int np, k=0, sump=0, n, count=0;

p2=last2=start2=NULL;

clrscr();

printf("Enter product's name: ");

scanf("%s", prod);

p=start;

while(p->next!=NULL) {

count++;

for(n=0;n<5;n++) {

if (strcmp(p->pro[n].name, prod)==0) {

np=n;

sump=p->pro[n].price+sump;

}

else { k++; }

}

if (k==5*count) {

printf("There is no such product. Press any key...");

getch();

goto end;

}

p=p->next;

}

p=start;

while(p->next!=NULL) {

if(p->pro[np].price > (sump/count))

if ((p->pro[np].price - (sump/count)) > ((sump/count)/10)) {

p2=(mg*)malloc(sizeof(mg));

p2->num=p->num;

strcpy(p2->adr.city,p->adr.city);

strcpy(p2->adr.str, p->adr.str);

p2->adr.dom=p->adr.dom;

for(n=0;n<5;n++) {

strcpy(p2->pro[n].name, p->pro[n].name);

p2->pro[n].price=p->pro[n].price;

strcpy(p2->pro[n].time,p->pro[n].time);

}

p2->prev=last2;

p2->next=NULL;

if(last2!=NULL)

last2->next=p2;

last2=p2;

if(start2==NULL) start2=last2;

p2=p2->next;

}

p=p->next;

}

printf("New list created succesfully! Press any key...");

getch();

end:

return start2;

}

/////////////////////////MAIN FUNCTION////////////////////////////////

void main() {

mg *start, *start2, *last;

int i,n, newn,t=0;

char ans;

clrscr();

for (i=1;i<2;) {

clrscr();

printf("====================MENU=====================\n");

printf("1. Open file\n");

printf("2. Print list of markets\n");

printf("3. Create a new list\n");

printf("4. Print new list of markets\n");

printf("5. Save new list\n");

printf("6. Exit\n\n");

printf("Press 1-6 key. Any other key will exit program");

printf("===============COURSE PROJECT=================\nStudent: Saushkin Pavel Nikolaevich. Group: CBC-31. MIEM 2008");

ans=getch();

switch(ans) {

case '1': {

start=open(last);

if(start!=NULL) t=1;

else if(start->num > 1000 || start->num < 1) {

clrscr();

printf("(!) Error of reading file! Incapable data type! Press any key...");

getch();

break;

}

break;

}

case '2': {

if(t==0) goto err1;

print(start);

break;

}

case '3': {

if(t==0) goto err1;

start2=newlist(start);

t=2;

break;

}

case '4': {

if(t==0) goto err1; else if (t==1) goto err2;

printnew(start2);

break; }

case '5': {

if(t==0) {

err1:

clrscr();

printf("You must open a file! Press any key...");

getch();

break;

} else if (t==1) {

err2:

clrscr();

printf("You must create a new list! Press any key...");

getch();

break;

}

save(start, start2);

break;

}

default: { i=3; }

}

}

8.   Тестовые примеры

Содержимое исходного файла (in.dat):

/* Начало файла */

25

Moscow

Lenina

14

butter

17

12.05.08

meat

19

22.07.09

milk

25

17.03.08

eggs

47

07.08.08

juice

12

24.11.08

756

Minsk

Zhukova

52

butter

19

07.04.08

meat

21

29.02.09

milk

23

01.11.09

eggs

33

09.10.08

juice

14

27.08.08

666

Kiev

Gagarina

47

butter

22

12.05.08

meat

29

26.02.09

milk

22

26.07.08

eggs

56

31.10.08

juice

16

02.05.08

748

Petersburg

Pavlovskaya

62

butter

30

19.08.08

meat

27

27.08.09

milk

17

10.03.08

eggs

31

09.08.08

juice

19

30.11.08

33

Volgograd

Potemkina

57

butter

34

10.07.08

meat

29

27.08.09

milk

19

27.03.08

eggs

38

13.02.08

juice

14

16.05.08

/* Конец файла

Работа программы (Пример №1):

1. Open file

2. Print list of markets

3. Create a new list

4. Print new list of markets

5. Save new list

6. Exit

Выбранный пункт меню: 1

Enter path to file to open (ex. C:\\file.txt):

Вводим: d:\in.dat

*File readed successfully! Press any key…*

Возврат в меню.

Выбранный пункт меню: 2

MAGAZINE #25

Address

City: Moscow

Street: Lenina

House: 14

Products

1)

Name: butter

Price: 17

Time: 12.05.08

2)

Name: meat

Price: 19

Time: 22.07.09

3)

Name: milk

Price: 25

Time: 17.03.08

4)

Name: eggs

Price: 47

Time: 07.08.08

5)

Name: juice

Price: 12

Time: 24.11.08

MAGAZINE #756

Address

City: Minsk

Street: Zhukova

House: 52

Products

1)

Name: butter

Price: 19

Time: 07.04.08

2)

Name: meat

Price: 21

Time: 29.02.09

3)

Name: milk

Price: 23

Time: 01.11.09

4)

Name: eggs

Price: 33

Time: 09.10.08

5)

Name: juice

Price: 14

Time: 27.08.08

MAGAZINE #666

Address

City: Kiev

Street: Gagarina

House: 47

Products

1)

Name: butter

Price: 22

Time: 12.05.08

2)

Name: meat

Price: 29

Time: 26.02.09

3)

Name: milk

Price: 22

Time: 26.07.08

4)

Name: eggs

Price: 56

Time: 31.10.08

5)

Name: juice

Price: 16

Time: 02.05.08

MAGAZINE #748

Address

City: Petersbutg

Street: Pavlovskaya

House: 62

Products

1)

Name: butter

Price: 30

Time: 19.08.08

2)

Name: meat

Price: 27

Time: 27.08.09

3)

Name: milk

Price: 17

Time: 10.03.08

4)

Name: eggs

Price: 31

Time: 09.08.08

5)

Name: juice

Price: 19

Time: 30.11.08

MAGAZINE #33

Address

City: Volgograd

Street: Potemkina

House: 57

Products

1)

Name: butter

Price: 34

Time: 10.07.08

2)

Name: meat

Price: 29

Time: 27.08.09

3)

Name: milk

Price: 19

Time: 27.03.08

4)

Name: eggs

Price: 38

Time: 13.02.08

5)

Name: juice

Price: 14

Time: 16.05.08

Any key to next record...

Any key to continue...

Выбранный пункт меню: 3

Enter product’s name:

Вводим meat

*New list created successfully! Press any key…*

Возврат в меню.

Выбранный пункт меню: 4

MAGAZINE #666

Address

City: Kiev

Street: Gagarina

House: 47

Products

1)

Name: butter

Price: 22

Time: 12.05.08

2)

Name: meat

Price: 29

Time: 26.02.09

3)

Name: milk

Price: 22

Time: 26.07.08

4)

Name: eggs

Price: 56

Time: 31.10.08

MAGAZINE #33

Address

City: Volgograd

Street: Potemkina

House: 57

Products

1)

Name: butter

Price: 34

Time: 10.07.08

2)

Name: meat

Price: 29

Time: 27.08.09

3)

Name: milk

Price: 19

Time: 27.03.08

4)

Name: eggs

Price: 38

Time: 13.02.08

5)

Name: juice

Price: 14

Time: 16.05.08

Any key to continue...

Выбранный пункт меню: 5

Enter path to file to write (ex. C:\\file.txt):

*File created successfully! Press any key…*

Возврат в меню.

Выбранный пункт меню: 6

Работа программы завершена.

Содержимое выходного файла (meat.dat):

/* Начало файла */

25

Moscow

Lenina

14

butter

17

12.05.08

meat

19

22.07.09

milk

25

17.03.08

eggs

47

07.08.08

juice

12

24.11.08

756

Minsk

Zhukova

52

butter

19

07.04.08

meat

21

29.02.09

milk

23

01.11.09

eggs

33

09.10.08

juice

14

27.08.08

666

Kiev

Gagarina

47

butter

22

12.05.08

meat

29

26.02.09

milk

22

26.07.08

eggs

56

31.10.08

juice

16

02.05.08

748

Petersburg

Pavlovskaya

62

butter

30

19.08.08

meat

27

27.08.09

milk

17

10.03.08

eggs

31

09.08.08

juice

19

30.11.08

33

Volgograd

Potemkina

57

butter

34

10.07.08

meat

29

27.08.09

milk

19

27.03.08

eggs

38

13.02.08

juice

14

16.05.08

---------------

666

Kiev

Gagarina

47

butter

22

12.05.08

meat

29

26.02.09

milk

22

26.07.08

eggs

56

31.10.08

juice

16

02.05.08

33

Volgograd

Potemkina

57

butter

34

10.07.08

meat

29

27.08.09

milk

19

27.03.08

eggs

38

13.02.08

juice

14

16.05.08

/* Конец файла

Работа программы (Пример №2):

1. Open file

2. Print list of markets

3. Create a new list

4. Print new list of markets

5. Save new list

6. Exit

Выбранный пункт меню: 1

Enter path to file to open (ex. C:\\file.txt):

Вводим: d:\in.dat

*File readed successfully! Press any key…*

Возврат в меню.

Выбранный пункт меню: 2

MAGAZINE #25

Address

City: Moscow

Street: Lenina

House: 14

Products

1)

Name: butter

Price: 17

Time: 12.05.08

2)

Name: meat

Price: 19

Time: 22.07.09

3)

Name: milk

Price: 25

Time: 17.03.08

4)

Name: eggs

Price: 47

Time: 07.08.08

5)

Name: juice

Price: 12

Time: 24.11.08

MAGAZINE #756

Address

City: Minsk

Street: Zhukova

House: 52

Products

1)

Name: butter

Price: 19

Time: 07.04.08

2)

Name: meat

Price: 21

Time: 29.02.09

3)

Name: milk

Price: 23

Time: 01.11.09

4)

Name: eggs

Price: 33

Time: 09.10.08

5)

Name: juice

Price: 14

Time: 27.08.08

MAGAZINE #666

Address

City: Kiev

Street: Gagarina

House: 47

Products

1)

Name: butter

Price: 22

Time: 12.05.08

2)

Name: meat

Price: 29

Time: 26.02.09

3)

Name: milk

Price: 22

Time: 26.07.08

4)

Name: eggs

Price: 56

Time: 31.10.08

5)

Name: juice

Price: 16

Time: 02.05.08

MAGAZINE #748

Address

City: Petersbutg

Street: Pavlovskaya

House: 62

Products

1)

Name: butter

Price: 30

Time: 19.08.08

2)

Name: meat

Price: 27

Time: 27.08.09

3)

Name: milk

Price: 17

Time: 10.03.08

4)

Name: eggs

Price: 31

Time: 09.08.08

5)

Name: juice

Price: 19

Time: 30.11.08

MAGAZINE #33

Address

City: Volgograd

Street: Potemkina

House: 57

Products

1)

Name: butter

Price: 34

Time: 10.07.08

2)

Name: meat

Price: 29

Time: 27.08.09

3)

Name: milk

Price: 19

Time: 27.03.08

4)

Name: eggs

Price: 38

Time: 13.02.08

5)

Name: juice

Price: 14

Time: 16.05.08

Any key to continue...

Выбранный пункт меню: 3

Enter product’s name:

Вводим eggs

*New list created successfully! Press any key…*

Возврат в меню.

Выбранный пункт меню: 4

MAGAZINE #25

Address

City: Moscow

Street: Lenina

House: 14

Products

1)

Name: butter

Price: 17

Time: 12.05.08

2)

Name: meat

Price: 19

Time: 22.07.09

3)

Name: milk

Price: 25

Time: 17.03.08

4)

Name: eggs

Price: 47

Time: 07.08.08

5)

Name: juice

Price: 12

Time: 24.11.08

MAGAZINE #666

Address

City: Kiev

Street: Gagarina

House: 47

Products

1)

Name: butter

Price: 22

Time: 12.05.08

2)

Name: meat

Price: 29

Time: 26.02.09

3)

Name: milk

Price: 22

Time: 26.07.08

4)

Name: eggs

Price: 56

Time: 31.10.08

Press any key to continue…

Выбранный пункт меню: 5

Enter path to file to write (ex. C:\\file.txt):

Вводим d:\eggs.dat

*File created successfully! Press any key…*

Возврат в меню.

Выбранный пункт меню: 6

Работа программы завершена.


Содержимое выходного файла (eggs.dat):

/* Начало файла */

25

Lenina

14

butter

17

12.05.08

meat

19

22.07.09

milk

25

17.03.08

eggs

47

07.08.08

juice

12

24.11.08

756

Minsk

Zhukova

52

butter

19

07.04.08

meat

21

29.02.09

milk

23

01.11.09

eggs

33

09.10.08

juice

14

27.08.08

666

Kiev

Gagarina

47

butter

22

12.05.08

meat

29

26.02.09

milk

22

26.07.08

eggs

56

31.10.08

juice

16

02.05.08

748

Petersburg

Pavlovskaya

62

butter

30

19.08.08

meat

27

27.08.09

milk

17

10.03.08

eggs

31

09.08.08

juice

19

30.11.08

33

Volgograd

Potemkina

57

butter

34

10.07.08

meat

29

27.08.09

milk

19

27.03.08

eggs

38

13.02.08

juice

14

16.05.08

---------------

25

Moscow

Lenina

14

butter

17

12.05.08

meat

19

22.07.09

milk

25

17.03.08

eggs

47

07.08.08

juice

12

24.11.08

666

Kiev

Gagarina

47

butter

22

12.05.08

meat

29

26.02.09

milk

22

26.07.08

eggs

56

31.10.08

juice

16

02.05.08

/* Конец файла

Работа программы (Пример №3):

1. Open file

2. Print list of markets

3. Create a new list

4. Print new list of markets

5. Save new list

6. Exit

Выбранный пункт меню: 1

Enter path to file to open (ex. C:\\file.txt):

Вводим: d:\null.dat

* File is empty! Press any key… *

Возврат в меню.

Выбранный пункт меню: 2

*You must open a file! Press any key…*

Возврат в меню.

Выбранный пункт меню: 3

*You must open a file! Press any key…*

Возврат в меню.

Выбранный пункт меню: 4

*You must open a file! Press any key…*

Возврат в меню.

Выбранный пункт меню: 5

*You must open a file! Press any key…*

Возврат в меню.

Выбранный пункт меню: 6

Работа программы завершена.

Выходной файл в данном примере не создаётся.

 

 

Выводы

Тестовые примеры подтверждают правильность работы программы.

Необходимые предупреждения о преждевременных действиях (например, распечатка данных без открытия файла) говорят о том, что в программе предусмотрены нужные ошибки, благодаря которым пользователь сможет правильно использовать меню программы.

Приведенный алгоритм позволил лучше понять работу программы и, следовательно, помог быстрее ориентироваться в нем.

Данный курсовой проект является наглядным доказательством того что пройденный материал по дисциплине «Программирование на языках высокого уровня» был успешно закреплен соответствующим практическим заданием.

Похожие работы на - Рынок ценных бумаг (шпаргалка)

 

Не нашли материал для своей работы?
Поможем написать уникальную работу
Без плагиата!
Без нейросетей!