Метод исследования газовых скважин при стационарных режимах фильтрации, интерпретация результатов исследования
Федеральное агентство по образованию.
Государственное образовательное учреждение
Высшего профессионального образования
"Тюменский Государственный Нефтегазовый Университет"
Институт Нефти и Газа
Кафедра "Разработка и эксплуатация
газовых и газоконденсатных
месторождений"
Курсовая работа
по дисциплине
"Подземная гидромеханика"
Тема: "Метод исследования газовых скважин при стационарных
режимах фильтрации, интерпретация результатов исследования"
Выполнил: студент группы
НРГ-07-1 Мараховский С.В.
Проверил: Забоева М.И.
Тюмень 2010
Содержание
Введение
1.
Оборудование, применяемое при исследовании скважин на стационарных режимах
фильтрации
2. Расчет забойного и пластового давления
по замеру устьевых давлений
3.
Двухчленный закон фильтрации. Коэффициенты фильтрационного сопротивления
4.
Интерпретация результатов исследования
5. Задача
Заключение
Список
используемой литературы
Исследование скважин при
стационарных режимах фильтрации, часто называют методом установившихся отборов,
базируется на связи между установившимися забойными (устьевыми) давлениями и
дебитом газа на различных режимах и позволяют определить следующее:
Зависимость дебита газа от
депрессии на пласт и давления на устье.
Изменение забойного и устьевого
давлений и температур от дебита скважин.
Коэффициенты фильтрационного
сопротивления.
Количество выносимых жидких и
твердых примесей на различных режимах.
Условия разрушения призабойной
зоны, накопления и выноса твердых и жидких частиц с забоя скважины.
Технологический режим работы
скважины с учетом различных факторов.
Коэффициент гидравлического
сопротивления труб.
Эффективность таких ремонтно-профилактических
работ, как интенсификация, крепление призабойной дополнительная перфорация
установка мостов, замена фонтанных труб и др.
Оборудование для исследования монтируется
на скважине согласно типовой утвержденной схемы (рис 1.1) на газодобывающем
предприятии (для скважин вышедших из бурения, для действующего фонда скважин) или
по специально утвержденной программе.

Рис 1.1
1-Факельная линия
2-Установка "Надым - 1"
Перед началом исследования
методом установившихся отборов давление на устье скважины должно быть
восстановлено до статического. Исследование проводится последовательным
ступенчатым увеличением дебита скважины, от меньших к большим (прямой ход). Работа
скважины на режиме исследования продолжается до полной стабилизации
термогазодинамических параметров (Р,Q, Т). Первая точка индикаторной кривой
выбирается тогда, когда давление и дебит скважины на данной диафрагме (штуцере)
перестает изменятся во времени. Процесс стабилизации давления и дебита
непрерывно регистрируется и полученные данные (кривая КСД) используется в
дальнейшем для определения параметров пласта.
После проведения замеров
давлений на забое, на устье (Рб, Рзатр, Рмк и Туст), дебита газа, количества
жидкости и твердых частиц - скважину закрывают для восстановления статического
давления. Процесс непрерывно регистрируется (запись КВД). В дальнейшем, путем
соответствующей обработке данных КВД определяют параметры пласта.
Исследования проводят на 5-6
режимах прямого хода и 2-3 режимах обратного хода, в зависимости от
утвержденной программы.
При наличие пакера в затрубном
пространстве, значительного количества жидкости в потоке газа, определение
забойного давления по устьевым замерам приводит к большим погрешностям. Поэтому
рекомендуется использовать глубинные манометры в комплексе с термометром для
непосредственного замера забойных давлений и температур.
Основным и обязательным условием
метода установившихся отборов является полная стабилизация давления,
температуры и дебита на режимах исследования. При исследовании
высокопродуктивных пластов и скважин это условие выполняется достаточно быстро
и стабилизация параметров происходит в период от нескольких минут до нескольких
часов.
Оборудование, применяемое при
исследовании скважин методом установившихся отборов можно разделить на два типа:
Глубинные приборы и комплексы,
предназначенные для замера параметров работы скважины непосредственно на забое
и по стволу скважины.
Устьевое исследовательское
оборудование.
Перечислим наиболее часто
применяемое устьевое оборудование:
Шайбный измеритель расхода газа.
Диафрагменный измеритель
критического течения газа.
Дифманометры - расходомеры (поплавковые,
мембранные, сильфонные), (УСФ-100).
Установки для исследований
скважин "Надым-1", "Надым-2".
Устройство "Режим ПНА-1".
Низкотемпературные сепарационные
установки (передвижные), наиболее часто применяемые при исследовании
газаконденсатных и газонефтяных скважин (трапы).
Средства КИПиА: образцовые
манометры, ртутные термометры, датчики давления и температуры частотного и
аналогового типа с регистрирующей аппаратурой, акустические датчики
механических примесей и т.д.
Шайбный измеритель расхода газа.
Предназначен для измерения расхода
газа (до 5 тыс. м3/сут). Данный прибор применяется для замера дебита
газа в трубном и затрубном пространстве нефтяных скважин эксплуатируемых
глубинно-насосным способом.
Представляет собой упрощенный
ДИКТ и дифференциальный жидкостной U-образный манометр, подсоединяемый в
корпусе ДИКТа на расстоянии 3-5 см от шайбы.
Суточный дебит газа
рассчитывается по формуле:
Q = 0,172 dш2
(h/gг) 0,5 (293/Тг) 0,5,где
dш - диаметр шайбы,
мм;
gг - относительный удельный вес газа;
h - перепад давления в мм;
Тг -температура газа, К.
Диафрагменный измеритель
критического течения газа (ДИКТ).
Виды: ДИКТ-100, ДИКТ-50.
Используются при исследовании
скважин с выпуском газа в атмосферу. При измерении дебита с помощью ДИКТа
должно быть обеспечено условие критического течения газа через диафрагму т.е. давление
до диафрагмы должно быть в два и более раз выше, чем после нее.
Дебит газа определяется по
формуле:
Q = С Рд D /( gг
z Тд) 0,5,где
Q - дебит газа, тыс. м3/сут.;
Рд - абсолютное
давление перед диафрагмой, кгс/см2;
Dпоправочный
коэффициент для учета изменения показателя адиабаты реального газа;
gг - относительная плотность газа по воздуху;
Тд - абсолютная температура газа перед диафрагмой, К;
z - коэффициент сверхсжимаемости.
Дифманометры-расходомеры.
Расходомеры данного типа состоят
из двух основных узлов:
Устройство, в котором
монтируется диафрагма, сопло, штуцер (иное калиброванное отверстие)
Дифференциального манометра, с
помощью которого измеряется перепад давления на диафрагме.
Дебит газа рассчитывается по
формуле:
Q
= 1700a e k tk1 dш2
(Р1 h / gг
Т z) 0,5,где
Q - дебит, м3/сут;
a
коэффициент расхода газа, определяемый в зависимости от отношения dш/D;
D - диаметр трубопровода;
e - поправочный
коэффициент на расширение струи газа, определяемый по графикам в
инструкции;
kt - коэффициент, зависящий от материала и температуры;
k1 - суммарная поправка на недостаточную остроту входной
кромки диафрагмы и шероховатость трубопровода, определяется по табл. инструкции;
dш - диаметр
диафрагмы;
Р1 - абсолютное
давление перед диафрагмой, кгс/см2;
h - перепад
давления до и после диафрагмы в мм рт. ст.;
gг - относительная плотность газа по воздуху;
Т - абсолютная температура газа перед диафрагмой, К;
Z - коэффициент сверхсжимаемости газа при Р и Т.
Установки для исследования скважин "Надым-1", "Надым-2".
Установки "Надым-1" (рис.1.2), "Надым-2" используются
для проведения специальных газогидродинамических исследований скважин методом
установившихся отборов газа на газовых месторождениях и подземных хранилищ газа.
Установки "Надым-1" монтируются на факельной или задавочной
линии скважины. На технологической линии (манифольде) перед шлейфом - "Надым-2".
Установки представляют собой устьевое малогабаритное устройство состоящее
из трех функциональных элементов:
Сепаратора, очищающего продукцию от жидкости и механических примесей.
Расходомера.
Емкостей для сбора отсепарированных твердых и жидких примесей.
Сепаратор состоит из первой ступени (грубой очистки) и второй ступени (тонкой
очистки). Фильтра - набор фторопластовых фильтрующих цилиндров, надетых на
каркас фильтр-пакета, прижатых обтекателем. Фторопластовые фильтр-пакеты (ФЭП
120-94-250/20) практически полностью задерживают жидкость и твердые частицы
размером более 20 мкм (DР<=0,05Мпа).
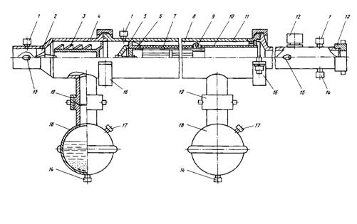
Рис.1.2 Общий вид коллектора
"Надым-1":
1 - штуцера для замера давления;
2,6 - центробежные завихрители; 3 - отбойник; 4,11 - корпуса; 5 - обтекатель; 7
- фильтрующий элемент; 8 - кольцевая камера; 9 - отбойник примесей; 10 - каркас
фильтрующего элемента; 12 - заглушка; 13 - ДИКТ; 14 - вентиль; 15-термокарман; 16
- полухомут; 17 - штуцера для уравнительных трубок; 18 - контейнер; 19 - гайка
накидная.
Расходомером в комплекте "Надым-1" является ДИКТ, а в установке
"Надым-2" - диафрагменное сужающее устройство УСБ-100-16. Контейнеры
- цилиндрические емкости диаметром 219 мм соединяемые быстроразъемным
соединением с корпусом.
Установки "Надым-1", "Надым-2" монтируются согласно
инструкции по эксплуатации следующим образом:
на конце факельной линии скважины устанавливают первую секцию сепарации в
сборе;
устанавливают корпус второго блока сепарации, затягивают полухомуты
быстросхватного соединения;
собирают каркас фильтр-пакета с фильтрами и завихрителем, вставляют в
корпус;
на выходе второго блока сепарации устанавливают ДИКТ, затягивают
полухомуты быстросхватного соединения;
присоединяют контейнеры к первому и второму блоку сепарации;
устанавливают контрольно-измерительные приборы, подключают дистанционные
датчики.
После окончания исследования разборку установки производят в обратном
порядке.
На каждом режиме проводимого исследования производится отбор проб
механических примесей и жидкости в мерные сосуды и контейнеры (ёмкости). Пробы
направляются в химико-аналитическую лабораторию для проведения
гранулометрического и гидрогеохимического анализа. После каждого режима
производится визуальный осмотр фильтр-пакета, повреждённые фильтра заменяются
новыми.
К работе с коллекторами "Надым-1", "Надым-2" допускаются
лица, прошедшие спец. инструктаж и сдавшие экзамен по "Правилам
безопасности в нефтяной и газовой промышленности".
Установки "Надым-1", "Надым-2" должны подвергаться
гидравлическому испытанию (дизельным топливом) каждые 200 часов непрерывной
работы. При сборке на скважине установки "Надым-1", "Надым-2"
проверяются опрессовкой давлением Рст. Контейнеры демонтируются
только после полного стравливания давления газа.
Для определения забойного
давления в остановленной и работающей скважине существует две возможности:
Непосредственное измерение
давления на забое с помощью глубинных приборов.
Измерение на устье скважины
статического и динамического давлений с последующим пересчетом этих величин на середину
интервала перфорации.
Для измерения пластового и
забойного давлений применяются глубинные манометры.
Для определения Рпл. и Рзаб. расчетным
путем по данным устьевых замеров, произведенных с помощью образцовых манометров
(МО) или датчиков давления, используют барометрическую формулу. При этом
исходят из условия равновесия неподвижного столба газа в стволе скважины и
избыточного давления на устье с пластовым давлением.
Давление на забое остановленной
скважины глубиной L определяется:
РL= Pст еs,
(2.1)
где показатель степени S =
0,03415 pL / ZсрТср;
Тср - средняя температура по
стволу скважины;
Zср - средняя величина
коэффициента сверхсжимаемости газа по стволу скважины.
В качестве расчетной глубины L
скважины принимается глубина до середины интервала перфорации. Для определения
Z используются значения псевдокритических и приведенных параметров природного
газа. По кривым их зависимостей определяют Z графическим путем.
Если скважина не оборудована
пакером и работает по фонтанным трубам (НКТ), то забойное давление определяется
по затрубному устьевому давлению с помощью барометрической формулы. Во всех
других применяются методы расчета забойного давления по динамическому столбу
газа, учитывающие конструкцию НКТ, наличие жидкости в продукции скважины,
изменение температуры газа по стволу скважины.
При обработке результатов
исследований скважин на стационарных режимах фильтрации используется
двухчленный закон сопротивления описывающий характер притока газа.
Данный закон является общим и
справедлив для жидкости и газа во всем диапазоне изменения числа Рейнольдса, а
в определённых областях изменения скорости фильтрации переходит в закон Дарси и
квадратичный закон.
Само уравнение притока газа при
нелинейном двухчленном законе фильтрации газа к скважине имеет вид
Р2пл - Р2заб
= аQ + bQ2,
(3.2)
где а и b - коэффициенты фильтрационного
сопротивления, зависяцие от несовершенства скважины, геометрических
характеристик зоны дренирования, параметров продуктивного пласта и свойств газа.
Фильтрационные коэффициенты а и b можно определить по формулам
а =
, (3.3)
b
==
, (3.4)
m
(Р, Т), Z (Р, Т) - коэффициенты вязкости и сверх
сжимаемости газа, зависящие от давления и температуры газа, k - проницаемость пласта, l - коэффициент макрошероховатости пласта, С1, С2,
С3, С4 - коэффициенты несовершенства по характеру и
степени вскрытия, r - плотность газа, Rk, Rc - радиусы контура питания и скважины.
Таким образом, коэффициенты
фильтрационного сопротивления характеризуют физические свойства газа,
фильтрационные свойства пористой среды (т.е. пласта) и геометрические параметры
фильтрации. Значения коэффициентов фильтрационных сопротивлений используются на
стадии проектирования и при дальнейшей разработке газовых и газоконденсатных
месторождений.
Для определения значений
фильтрационных коэффициентов сопротивления по результатам испытания скважин
используются графический и аналитический методы, получившие широкое применение
в практике исследования газовых и газоконденсатных скважин в РФ и других
странах мира.
При использовании графического
метода определения скважина должна исследоваться на 5 - 8 режимах фильтрации. Причём
2 -3 режима из 8 должны быть проведены обратным ходом т.е. переходом с большего
дебита на меньший. Это необходимо для проверки данных, полученных при
относительно небольших дебитах на прямом ходу, когда возможно наличие столба
жидкости на забое скважины и влияние загрязнения призабойной зоны на дебит
скважины.
По результатам проведённого
исследования определяют Рпл, Рзаб и Q. Рассчитываются
значения DP2
= Р2пл - Р2заб на различных режимах работы скважины. После
этого строится зависимость между DP2 и Q (рис.3.1). Полученная
индикаторная кривая проходит через начало координат. Обработка индикаторной
кривой в координатах DP2 /Q от Q позволяет определить из графика значения коэффициентов а
и b. При этом коэффициент а определяется
как отрезок, отсекающий на оси DP2 /Q величину а
= 0,07023, а коэффициент b, как тангенс угла
наклона прямой к оси, равный b = 0,000160.
Рис. 3.1 Зависимость DP2 и
DP2
/Q от Q.
Численный метод определения
фильтрационных коэффициентов применяется при значительном числе точек, когда
число режимов превышает 10. При этом режимные точки, явно отличающиеся от общей
закономерности DP2
и Q из расчёта исключаются. Формулы для определения
фильтрационных коэффициентов имею вид:
(3.5)
,
(3.6)
где
;
N - число режимов. Суммы берутся по всем
измеренным значениям
и Q.
Такой численный метод
определения коэффициентов называется метод наименьших квадратов.
Если пластовое давление не
известно, результаты исследования могут быть обработаны в координатах
и определены (как графически,
так и численно) коэффициенты a и b
где i =
1,2,3 …. m; n -порядковый
номер режима; m - общее
количество режимов. Коэффициент а определяется как отрезок, отсекаемый
полученной прямой на оси ординат, b как тангенс
угла наклона прямой к оси абсцисс.
Если пластовое давление
неизвестно, коэффициенты а и b можно
определить численным методом по формулам
, (3.7)
,
(3.8)
где N - число сочетаний,
определенное по формуле
По
формулам и вычислять коэффициенты рекомендуется только при наличии большого
числа точек (15-20), так как в противном случае точность полученных значений
будет очень низкой.
Определив а и b
описанными в п.3 методами, можно вычислить пластовое давление по формуле:
(3.9)
Результаты проведения
исследования оформляются официальным документом - актом, в котором отражены все
измеренные и расчётные параметры работы скважины на режимах. Состояние скважины
перед проведением исследования. Потери в добыче газа в период проведения
исследования. Тарировочные таблицы применяемых измерителей физических величин. А
также строятся индикаторные кривые.
АКТ о специальном
исследовании скважины N 1032 от 90400 м. Медвежье
1. ПОКАЗАНИЯ ПРИБОРОВ. IНАИМЕНОВАНИЕI
БУФЕР IЗАТРУБ. I ШЛЕЙФ I ДИКТ
Lскв = 1154 м IДАТЧИК N I
1306 1307 1288 988
Dвн = 168.0 мм IМЕСТО НУЛЯ I
3070 5964 6009 5995
РАБОЧИЙ РЕЖИМ: Pбуф = 3574.0дел,
Pзатр= 0.0дел, Pшл = 6957.0дел
СТАТИКА: Pбуф = 3622.0дел,
Pзатр= 0.0дел, Tшл = 17.4 гр. С
ДИАМЕТРI ДАВЛЕНИЕ, дел. IТЕМПЕР.
I ВРЕМЯ I ОБЬЕМ I КОЛИЧ.
ШАЙБЫ, I-----I ГАЗА
I РЕЖИМАI ВОДЫ I МЕХПР.
ММ I БУФЕР
I ЗАТРУБ. I ДИКТ I град. СI мин
I см3 I см3
28.50 3590 0.00 6967 12.00 40.00
400.00 0.00
31.70 3582 0.00 6918 12.80 40.00
3000 0.00
34.90 3572 0.00 6858 12.50 40.00
4000 0.00
38.00 3564 0.00 6804 12.60 40.00
5200 0.00
41.00 3557 0.00 6751 12.30 40.00
7000 0.00
31.70 3582 0.00 6919 12.90 30.00
2800 0.00
34.90 3571 0.00 6858 12.80 30.00
4000 0.00
2. РЕЗУЛЬТАТЫ РАСЧЕТА. Qр= 432
тыс. м3/сут
РАБОЧИЙ РЕЖИМ: Pбуф= 29.13
АТА,Pзатр= 0.00 АТА, Pшл= 27.60 АТА
СТАТИКА: Pбуф= 32.03 АТА,Pзатр= 0.00
АТА, Pпл= 34.64 АТА
ДИАМЕТРI ДАВЛЕНИЕ, АТА IРАСХОД
IВОДНЫЙ IУД. СОД. I &Q,
ШАЙБЫ, I-------------------------------Iтыс.
м3 IФАКТОР I МЕХПР. I
ММ I БУФЕР
I ЗАБОЙ I ДИКТ I /сут Icм3/м3 I мг/м3 I%
28.50 30.08 32.82 27.63 335 0.04
0.0 - 0.6
31.70 29.60 32.41 26.19 391 0.28
0.0 - 1.5
34.90 29.01 31.89 24.43 440 0.33
0.0 0.8
38.00 28.53 31.50 22.85 487 0.38
0.0 - 0.2
41.00 28.12 31.18 21.30 530 0.48
0.0 - 1.7
31.70 29.60 32.41 26.22 391 0.34
0.0 - 1.6
34.90 28.95 31.82 24.43 440 0.44
0.0 2.1
Потери газа при исследовании: 92.6
тыс. м3
A= 0.244400АТА2*сут/тыс. м3 B= 0.000547АТА2*сут2/
(тыс. м3) 2
a= 0.245221АТА2*сут/тыс. м3 b= 0.000371АТА2*сут2/
(тыс. м3) 2
Расчетные параметры *
ДиаметрI Pзаб IPпл-PзабI
Pбуф-PдIРст-PбуфI Расход I Скорость
мм I АТА
I АТА I АТА I АТА
I т. м3/с I м/сек
28.50 32.82 1.82 2.45 1.95 334.57
5.91
31.70 32.41 2.23 3.41 2.43 390.85
6.99
34.90 31.89 2.75 4.57 3.02 439.81
8.00
38.00 31.50 3.14 5.68 3.50 487.01
8.97
41.00 31.18 3.46 6.82 3.92 529.59
9.85
31.70 32.41 2.23 3.38 2.43 391.22
7.00
34.90 31.82 2.82 4.51 3.08 439.54
8.01
* могут использоваться только
для приблизительной оценки работы скважины
Исполнитель: Представитель
заказчика:
дача II:
Определить коэффициент СI учитывающий
дополнительное фильтрационное сопротивление, приведенный радиус
и коэффициент совершенства d гидродинамически несовершенной по степени
вскрытия скважины радиусом rс = 0,1 м, находящейся в
пласте с круговым контуром питания. Мощность пласта h =
16 м, мощность вскрытой части пласт b = 9,6 м, радиус
контура питания Rк = 1 км.
Решение:
По Щурову В.И.
1 
2. 
По графику зависимости
определим:
4. Приведенный радиус скважины:

5. Коэффициент совершенства d:
Таким образом, мы видим, что
важнейшие источники информации о газоносном пласте и скважинах газового
месторождения - газогидродинамические методы исследования газовых скважин при
стационарных режимах фильтрации, результаты этих исследований необходимы при
определении запаса газа и конденсата, при проектировании и анализе разработки
месторождений, составлении проектов обустройства, установления технологических
режимов эксплуатации скважин, оценке их эффективности различных геолого-технических
мероприятий. проводимых на скважинах и т.д.
В настоящее время получают
развитие так называемые комплексные исследования газовых скважин, основанные на
применении газогидродинамических и геофизических методов в сочетатании с
лабораторными анализами кернов и продукции скважины (газа, конденсата и воды). Применение
комплексных методов позволит получать более полные данные о пластах и скважинах.
Большой вклад в разработку этих
методов внесли Е.М. Минский, Б.Б. Лапук, И.А. Чарный, Ю.П. Коротаев, Г.А. Зотов
и др.
При помощи геофизических методов
в сочетании с газогидродинамическими можно разрешить многие вопросы
проектирования и анализа разработки месторождений и, в особенности, в разработке
эффективных методов контроля и регулирования разработки.
1. К.С. Басниев, А.М. Власов, И.Н. Кочина, В.М. Максимов. Подземная
гидравлика. - М.: Недра, 1986
г.
2. Ф.А. Требин, Ю.Ф. Макагон, К.С. Басниев. Добыча природного газа.
- М.: Недра, 1976 г.
3. О.М. Ермилов, В.В. Ремизов, А.И. Ширковский, Л.С. Чугунов. Физика
пласта, добыча и подземное хранение газа. - М.: Наука, 1996 г.
4. Г.А. Зотов, З.С. Алиев. Инструкция по комплексному исследованию газовых
и газоконденсатных пластов и скважин. - М.: Недра, 1980 г.
5. В.А. Евдокимова, И.Н. Кочина. Сборник задач по подземной гидравлике.
- М., Недра, 1979 г.