|
υ, м/с
|
k
|
υ, м/с
|
k
|
υ, м/с
|
k
|
|
0,20
|
1,410
|
0,50
|
1,150
|
0,80
|
1,060
|
|
0,25
|
330
|
0,55
|
1,130
|
0,85
|
1,050
|
|
0,30
|
280
|
0,60
|
1,115
|
0,90
|
1,040
|
|
0,35
|
240
|
0,65
|
1,100
|
1,00
|
1,030
|
|
0,40
|
200
|
0,70
|
1,085
|
1,10
|
1,015
|
|
0,45
|
175
|
0,75
|
1,070
|
1,20
|
1,000
|
Приводимо
експериментальні формули, що застосовуються для розрахунку:
азбоцементних труб (формула Ф.А. Шевелева):
; (9)
дерев'яних труб
(формула Скобея):
, (10)
де υ виражається в м/с, а d в м.
2. Класифікація трубопроводів і основні
задачі по їх гідравлічному розрахунку
Розглядатимемо турбулентний рух будь-якої рідини,
що відповідає квадратичній області опору, маючи у вигляді при цьому тільки круглоциліндричні
труби.
Гідравлічний розрахунок трубопроводів проводиться
або з метою визначення діаметру трубопроводу, призначеного для пропуску певної
витрати рідини, або з метою встановлення гідравлічних характеристик
трубопроводу: втрат натиску і витрати рідини, що пропускається (при відомих
діаметрі і довжині труби).
При гідравлічному розрахунку трубопроводів залежно
від їх довжини і гідравлічних умов розрахунку розрізняють два типи
трубопроводів: короткі і довгі.
Короткими трубопроводами називаються трубопроводи
порівняно невеликої довжини, в яких місцеві втрати опору є достатньо
істотними, складаючи не менше 5–10% від втрат опору по довжині. Прикладами
коротких трубопроводів можуть служити всмоктуюча лінія відцентрового насоса,
напірна водопропускна труба під залізничним насипом і т.п.
Довгими трубопроводами називають трубопроводи, що
мають значну протяжність, в яких втрати опору по довжині є основними. У випадку
довгих трубопроводів місцевими втратами звичайно нехтують, іноді ж їх приймають
рівними 5–10% від втрат опору по довжині. Прикладами довгих трубопроводів
можуть служити трубопроводи водопровідних мереж, а також трубопроводи, що
використовуються при гідромеханізації і т.д.
Залежно від гідравлічної схеми роботи
трубопроводи розділяються на прості, не мають відгалужень, складні
– з відгалуженнями. Розрізняють також тупикові трубопроводи і замкнуті,
або кільцеві. Замкнуті трубопроводи більш надійні в роботі, зокрема
забезпечують безперебійне водопостачання при пошкодженні окремих ліній або
виробництві ремонтних робіт.
При гідравлічному розрахунку трубопроводів
звичайно зустрічаються наступні три основні задачі:
1) визначення витрати трубопроводу Q при заданих l,
d, hf;
2) визначення втрати опору hf
при заданих l, d, Q;
3) визначення потрібного діаметру трубопроводу
при заданних l, Q, hf.
При рішенні цих і інших задач, пов'язаних з
гідравлічним розрахунком трубопроводів, широко використовується поняття про
витратну характеристику (про модуль витрати) труб. Витрата рідини при
рівномірному русі визначається, по формулі.
або
Для труби постійного перерізу ω, С, R – величини
постійні. Тоді величина
також постійна. Вона називається
витратною характеристикою, або модулем витрати:
або (11)
Витрата рідини
(12)
Оскільки ухил J – число безрозмірне, то
витратна характеристика К повинна мати розмірність витрати рідини. З
рівняння (12) виходить, що витратна характеристика є витратою рідини в трубі
заданого діаметру при гідравлічному ухилі, рівному одиниці.
Якщо розхідну характеристику виразити через
діаметр труби,
то, пам'ятаючи, що показник ступеня у
формулі Н.Н. Павловського залежить від гідравлічного радіусу R і
коефіцієнта шорсткості п: y=f (n, R), або y = fl (n, d) укладаємо
наступне: при п = const витратна характеристика є тільки функцією
діаметра труби:
.
Показник ступеня y визначався по повній
формулі Н.Н. Павловського при коефіцієнті шорсткості п = 0,012.
Дані значення величини
,
які також необхідні при гідравлічних розрахунках
трубопроводів.
Нарешті, звертаючись до раніше одержаної формули
(6), введемо в неї вираз для витратної характеристики К.
Оскільки
,
то
.
Тоді
,
або
. (13)
Підставивши залежність (13) в другу водопровідну
формулу (6), одержимо
, (14)
або
. (15)
3. Гідравлічний розрахунок простого довгого
трубопроводу
Як наголошувалося
раніше, місцевими втратами опору у разі довгих трубопроводів звичайно нехтують,
іноді не враховують і швидкісний натиск, причому вважають, що напірна лінія
практично співпадає з п'єзометричною.
Мал. 2
Розглянемо умови сталого руху рідини по
трубопроводу, що сполучає два резервуари А і В (мал. 6.2). Намітимо площину
порівняння 0–0, як показано на кресленні. Напишемо рівняння Бернуллі для
перерізів 1–1 і 2–2, співпадаючих з рівнями рідин в резервуарах А і В:
.
При значних площах живих перерізів потоку в
резервуарах швидкості в цих перерізах будуть малі, а різниця
близька до нуля. Тоді
.
Отже, різниця рівнів Н в двох даних
резервуарах повністю витрачається на подолання опорів в трубопроводі.
Таке положення має місце за наявності резервуару
В (коли закінчення рідини виходить під рівень). У разі ж закінчення рідини з
трубопроводу в атмосферу одержуємо дещо іншу картину.
Якщо простий трубопровід складається з труб
різного діаметру (мал. 3), то в цьому випадку загальна втрата опору Σhf
розділяється нерівномірно по довжині трубопроводу, а п'єзометрична
лінія є суцільною ламаною лінією.
Застосуємо залежність (14) до розрахунку простого
трубопроводу з послідовним з'єднанням труб різного діаметру (мал. 3).
Причому швидкісним натиском 
нехтуватимемо.
Діаметри труб і довжини окремих ділянок відомі.
Мал. 3
Отже, ми можемо визначити їх витратні
характеристики. Напишемо для кожної ділянки трубопроводу рівності
;
; 
.
де hf1, hf2, hf3
– втрати опору по довжині на ділянці трубопроводу з довжинами l1,
l2, l3, діаметрами d1, d2, d3
і витратними характеристиками К1, К2, К3.
Загальні втрати опору по довжині трубопроводу
рівні сумі втрат опору на окремих його ділянках: hf= hf1+
hf2+ hf3 або
,
,
звідки
. (16)
Позначивши постійну величину, що характеризує
пропускну спроможність даного трубопроводу, через
остаточно одержимо

, (17)
або
. (18)
Для побудови п'єзометричної лінії у разі даного
трубопроводу необхідно обчислити значення втрат опору hf1, hf2
і hf3 і відкласти їх у відповідному масштабі на
кресленні.
Приклад 1
Вода з водонапірної башти подається до
вагоноремонтного заводу по трубопроводу завдовжки l= 3,5 км,
діаметром d = 300 мм. Визначити витрату води, якщо відмітка землі в
місці установки башти zσ = 130 м, відстань від
землі до рівня води в башті Н = 17 м, відмітка землі біля
заводу z3 = 110 м, потрібний натиск води біля заводу Нсв
= 25 м.
По таблиці для п = 0,012 і d = 300 мм
знаходимо витратну характеристику К = 1,121 м3/сек. Витрату
визначимо по формулі (15):
Q
0,0656м3/сек.=
=65,6 л/сек.
Приклад 2
Визначити для умов прикладу 1 висоту башти
(відстань від землі до рівня води в резервуарі), яка зможе забезпечити подачу
води на завод в кількості Q = 85 л/сек.
Визначимо
втрату опору по формулі (14):
= 20,1 м.
Потім
знайдемо висоту башти:
Нб = z3 + НСВ
+ hf – zб = 110 + 25 – 20,1 – 130 = 25,1 м.
Приклад 3
Рівень води у водонапірній башті на hf
– 25 м перевищує рівень води в точці її споживання. Довжина
трубопроводу l = 2400 м. Підібрати діаметр трубопроводу при
витраті води Q = 35 л/сек.
Обчислимо значення величини b:
/ (м3/сек)2
при d = 150 мм b =
31,18/
(м3/сек)2
при d = 200» b= 6,78
Для того, щоб трубопровід забезпечив подачу
заданої витрати води, необхідно прийняти найближче більше значення діаметру d
= 200 мм.
Приклад 4
Вода подається по трубопроводу, складеному з
послідовно сполучених труб різних довжин і діаметрів: l1 =
700 м, l2 = 500 м, l3 = 200 м,
d1 – 300 мм, d2 = 250 мм, d3
= 200 мм. Визначити втрати опору в трубопроводі при витраті води Q = 45 л/сек.
Для визначення втрати опору скористаємося залежністю
(16);
По таблиці для n= 0,012 знаходимо витратні
характеристики для відповідних діаметрів: К1 = 1,12 м3/сек,
К2 – 0,692 м3/сек і К3
= 0,384 м3/сек.
Тоді
0,0452 = 5,98 м.
4. Гідравлічний розрахунок коротких
трубопроводів
При гідравлічному розрахунку коротких
трубопроводів враховуються як втрати опору по довжині, так і місцеві втрати
опору. Якщо місцеві опори розташовані один від одного на відстані не менше 20
діаметрів труби, то в цьому випадку коефіцієнт опору даного місцевого опору
практично не залежить від сусідніх опорів. Для визначення загальних втрат опору
необхідно встановити коефіцієнт опору системи ζсист =
Σζ..
При гідравлічному розрахунку коротких
трубопроводів постійного діаметру можуть зустрітися наступні основні задачі:
1) відомі діаметр і витрата рідини в
трубопроводі, а також типи місцевих опорів, вимагається визначити втрати опору;
2) відомі діаметр трубопроводу і втрати опору в
ньому, вимагається визначити витрату рідини в трубопроводі;
3) вимагається визначити діаметр трубопроводу для
пропуску заданої витрати при відомих втратах опору.
Перші дві задачі можна вирішити безпосередньо по
формулах:
(22)
Третя задача розв'язується підбором, оскільки
коефіцієнт опору системи також є складною функцією від діаметру труби,
визначення якого є мета задачі. В цьому випадку слід будувати графік
і по ньому знаходити діаметр, що
відповідає рівності
. Якщо втратами по довжині можна
нехтувати і жоден з коефіцієнтів, що враховують місцеві опори, не залежить від
діаметру труби, то діаметр трубопроводу визначається безпосередньо по формулі
. (23)
Цією ж формулою можна користуватися при рішенні
задачі шляхом підбору. Заздалегідь визначається діаметр трубопроводу без
врахування втрат опору по довжині. По цьому діаметру уточнюється коефіцієнт
опору системи. Потім значення ζсист підставляється у формулу (23) і
обчислюється уточнений діаметр трубопроводу.
Коли місцеві опори в трубопроводі розташовані на
відстані менше 20d один від одного, то внаслідок відсутності інших
прийомів розрахунку, що враховують взаємний вплив місцевих опорів, доводиться
нехтувати цим впливом; при цьому розуміється, такий розрахунок носитиме тільки
наближений характер.
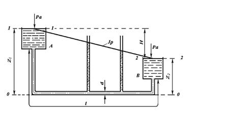
Розрахунок сифона.
Сифон є коротким трубопроводом, по якому рідина рухається з живлячого резервуару
А в приймальний В. Особливістю сифона є його здатність піднімати
рідину на висоту Z над рівнем її в живлячому резервуарі. Принцип дії сифона заснований
на утворенні вакууму в підвищеній частині сифона (в районі перерізу 2–2, що
створює різницю тиску між атмосферним тиском, діючим на поверхню рідини в
живлячому резервуарі А, і зниженим тиском в області вакууму в перерізі 2–2.
Для того, щоб сифон почав діяти, треба заздалегідь заповнити його рідиною
(наприклад, за допомогою спеціального насосу – вакууму).
Розрахунок сифона полягає у визначенні його пропускної здатності і
граничного значення висоти Z, при якій сифон може ще працювати. Розрахунок
пропускної спроможності сифонів проводиться по формулі
Q
де через Н позначена різниця рівнів рідини
в резервуарах А і В, а через
– сумарний
коефіцієнт опору трубопроводу.
Для розрахунку висоти Z припустимо, що резервуари
А і В сполучені сифоновим трубопроводом. Напишемо рівняння
Бернуллі для перерізів 1–1 і 2–2 щодо площини порівняння 0–0, співпадаючої з
рівнем води в живлячому резервуарі A:
тут p2 – гідродинамічний тиск в
перерізі 2–2;
υ – середня швидкість руху
рідини в трубі;
Z – відстань від рівня рідини в резервуарі А до центру труби в
перерізі 2–2;
Σζі – сума
коефіцієнтів місцевих опорів трубопроводу між перерізми 1–1 і 2–2. Оскільки
то
(25)
і
. (26)
Оскільки граничне значення вакууму складає
приблизно 10 м вод. ст., то, враховуючи наявність втрат опору в
сифоні, а також неможливість великого пониження тиску в ньому, щоб уникнути
кавітації висоту Z звичайно приймають не більше 7–8 м.