Блок дифференциальных реле электровоза ВЛ80с

  • Вид работы:
    Контрольная работа
  • Предмет:
    Технология машиностроения
  • Язык:
    Русский
    ,
    Формат файла:
    MS Word
    1,06 Mb
  • Опубликовано:
    2009-11-13
Вы можете узнать стоимость помощи в написании студенческой работы.
Помощь в написании работы, которую точно примут!

Блок дифференциальных реле электровоза ВЛ80с












Блок дифференциальных реле электровоза ВЛ80

 

 

1. Назначение


Блок дифференциальных реле предназначен для защиты выпрямительных установок электровоза от коротких замыканий с помощью главного выключателя.

2. Технические данные

Технические данные блока дифференциальных реле:

Номинальное напряжение силовой цепи, В…………………………………………2500

Номинальный ток силовой цепи (эффективное значение однополупериодного выпрямления), А……………………………………………………………………………….1500

Параметры контактов в цепи переменного тока:

Напряжение, В…………………………………………………………………………380

Номинальный отключаемый ток (при cos φ ≥ 0.4), А…………………………5

Число размыкающих контактов (соединены параллельно)……………………2

Параметры контактов в цепи постоянного тока:

Напряжение, В…………………………………………………………………50

Номинальный отключаемый ток (при постоянной времени цепи 0.05с), А…5

Число размыкающих контактов (соединены последовательно и имеют один общий вывод)…………………………………………………………………………….2

Число замыкающих контактов (соединены последовательно)……………….2

Сопротивление удерживающей катушки, Ом………………………………. 3,6

Число витков катушки…………………………………………………………700

Диаметр провода ПЭТ-155 (ГОСТ 21428-75), мм………………………….. 0,8

Ток в цепи удерживающей катушки при включенном добавочном резисторе и напряжение 50 В, А………………………………………………………. 0,5-0,7

Время включения удерживающих катушек на напряжение 50 В без добавочных резисторов не более, с……………………………………………30

Ток установки (разность токов в силовых витках I¹-I²), А…………….500-30+50

Время срабатывания от момента достижения значения установки до начала касания размыкающих контактов при скорости нарастания общего силового тока 1,3×106 А/с не более, с………………………………………………. 0,01

3. Устройство

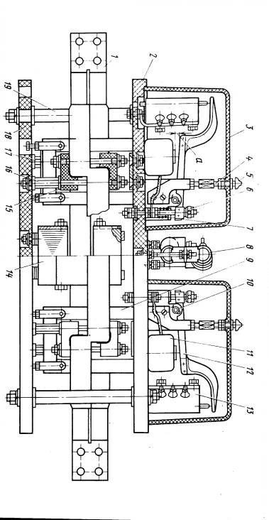
Блок дифференциальных реле (рис. 1-4) состоит из двух электромагнитных реле, собранных на панели 2 (см. рис. 1), общей для двух реле силовой шины 1 с двумя параллельными разветвлениями и индуктивным шунтом 14, надетым на одну из ветвей шины 1.

Реле состоит из шихтованного магнитопровода 9, катушки 11, якоря 12 и блокировки 13. Якорь вращается на оси 10. Одним концом якорь производит переключение блокировки, на другой конец действует отключающая пружина 7, натяжение которой регулируется гайкой 6. Зазор а между якорем и полюсом магнитопровода регулируется положением шпильки 4. Реле закрыто прозрачным кожухом 3, который крепится при помощи гайки 5 и шпильки 4.

Силовая шина с индуктивным шунтом при помощи клиц 15 и шпилек 16, 17 крепится к панели 18. Панель 18 с закрепленной на ней шиной 1 и индуктивным шунтом 14 крепится стойками 19 к верхней панели 2. В нижней панели 18 имеются четыре овальных отверстия, которые предназначены для крепления блока в электровозе. На верхней панели размещены добавочные резисторы 8 и выводы, осуществлен внутренний монтаж электрической цепи.

4. Принцип действия

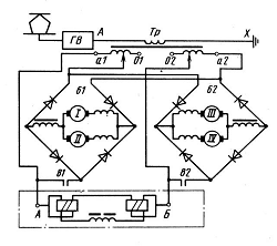
В окна двух магнитных систем 1 (см. рис. 2) клапанного типа пропущены навстречу друг другу два силовых витка, являющихся разветвлениями шины 2, выводы А и Б которой подключаются в силовую цепь электровоза между равнопотенциальными точками двух выпрямительных установок (см. рис. 3). На одну из ветвей шины помещается шихтованный сердечник 3 (см. рис. 2). Обе ветви шины имеют незначительно отличающиеся друг от друга сопротивления, длина их и площадь сечения одинаковы.

Ветвь, в которую включен индуктивный шунт, обладает большим индуктивным сопротивлением. Общий ток Iобщ. распределяется по ветвям шины пропорционально их активным и индуктивным сопротивлениям. Поэтому при протекании общего тока Iобщ, меняющегося во времени, будет иметь место небаланс I= I1 - I2, который зависит от скорости изменения тока и соотношения индуктивностей в ветвях шины.

Силовые ветви шины пропущены в окна магнитной системы таким образом, что магнитодвижущая сила от тока небаланса I в одном реле действует в одну сторону, в другом реле - в противоположную.

Магнитодвижущая сила от удерживающей катушки 5 действует на участке якоря 6 при обозначенном направлении протекания силового тока через катушку у реле I встречно с магнитодвижущей силой от тока небаланса I, а через катушку реле II - согласно. Поэтому при аварии в правой выпрямительной установке со стороны вывода А (к. з. цепи якоря тягового двигателя) резко возрастает ток в направлении от вывода А к выводу Б и вследствие перераспределения тока по ветвям шины увеличивается небаланс I. Это вызывает срабатывание реле I, которое своими размыкающими контактами замкнет цепь отключающей катушки главного выключателя, В этом случае реле II не срабатывает, так как на участке якоря магнитодвижущая сила от небаланса действует согласно с магнитодвижущей силой, удерживающей катушки.

При аварии в выпрямительной установке со стороны вывода Б ток Iобщ

потечет в направлении от вывода Б к выводу А что вызывает срабатывание реле II (реле I не срабатывает). Обе катушки реле включены на напряжение 50 В последовательно, но с добавочными резисторами Rд.

Одинаковое активное сопротивление ветвей шины 2 необходимо для уменьшения тока естественного небаланса между ветвями, от которого было бы необходимо отстраиваться, увеличивая установку реле.

Реле включается (замыкается якорь) при подаче напряжения 50 В на последовательно соединённые удерживающие катушки, минуя добавочные резисторы Rд, ограничивающие ток. При этом уменьшение тока должно быть достаточно для удержания якоря в притянутом положении. Для регулировки тока в цепи катушек сопротивление добавочного резистора может регулироваться.

5. Текущий ремонт БРД-356

ТР-1.

Проверить состояние реле и шин, счистить от пыли рабочие поверхности магнитопроводов. При появлении на полюсах магнитопроводов ржавчины очистить её мелкозернистой наждачной бумагой. Проверить состояние контактов реле.

ТР-2.

Выполнить ревизию блока. Зачистить поверхности прилегания якоря к полюсу магнитопровода и нижнего пакета к магнитопроводу. Проверить состояние катушек и шин. Места нарушения изоляции катушек залить эпоксидной смолой холодного отверждения. При нарушении покрытия шины восстановить его красной эмалью ГФ-92ХС. Места нарушения покрытия магнитопровода покрыть чёрным лаком.

Проверить чёткость включения реле. Проверить блок. Перечень проверяемых параметров приведён в табл. 1.

Проконтролировать отрывное усилие якорей по центрам сердечников. Замер производить динамометром, усилие которого приложить к якорю по центру сердечников.

Отрегулировать аппарат следующим образом:

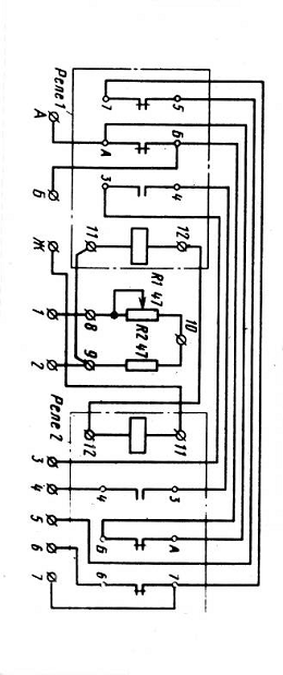
Подайте на выводы 1 (плюс) и Ж (см. рис. 4) напряжение 50 В постоянного тока. Изменяя сопротивление добавочного резистора передвижением движка, установить ток в катушках 0,7 А, после чего затянуть винт движка резистора.

Пропустить через верхние части окон магнипроводов обоих реле провод в направлении, согласном с витков силовой шины, не содержащим шихтованный пакет. Отрегулировать, кратковременно пропуская через провод постоянный ток, изменением усилия пружины 4 ток срабатывания обоих реле 500А. При этом при протекании тока слева направо должно срабатывать первое реле и наоборот (см. рис. 2). После регулировки реле опломбировать.

6. Неисправности и методы их устранения

Неисправность

Вероятная причина

Метод устранения

Аппарат не включается

Обрыв в цепи

Устраните обрыв


Неисправность катушки

Замените катушку


Наличие большого зазора между якорем и полюсом

Отрегулируйте зазор согласно техническим требованиям

При форсировке аппарат включается, но не удерживается во включенном положении.

Обрыв в цепи резистора

Устраните обрыв


Неисправность резистора

Замените резистор

Ток уставки уменьшился

Межвитковое замыкание в катушке

Замените катушку


Нарушение зазоров между якорем и полюсом

Восстановите зазоры припиловкой в соответствии с техническими требованиями

Не переключается блокировка

Нарушена регулировка блокировки


Наличие малого зазора между якорем и полюсом

Отрегулируйте зазор


7. Охрана труда

1. Все виды производства ремонтных работ; выявление и устранение неисправностей, должны производиться только работниками, получившими после соответствующего испытания право на выполнение этих работ.

2. Испытания и выдача удостоверений на право производства данных работ должны производиться специальной комиссией.

3. Данные работы должны производиться в специально оборудованных помещениях (цехах) заводов, локомотивных ДЕПО и т.д.

4. Запрещается:

производить данные работы не в специально оборудованных помещениях;

производить данные работы лицам, не имеющим доступа, специального образования и разрешения для производства данных работ.

5. При составлении любой аварийной схемы или при устранении какой-либо неисправности строго выполнять требование инструкции по технике личной безопасности.

Список литературы

1. Н.М. Васько, А.С. Девятков, А.Ф. Кучеров и др. «Электровоз ВЛ80С» Москва «Транспорт» 1990 г.


Дополнительные справочные материалы

Рис. 1. Блок дифференциальных реле БРД-356

Рис. 2. Схема БРД-356

1 - магнитная система; 2 - шина; 3 - шихтованный сердечник; 4 - пружина; 5 - катушка; 6 - якорь.

Рис. 3. Схема включения БРД-356

Рис. 4. Схема низковольтной цепи БРД-356

Таблица 1

Параметр

Инструмент, прибор, оборудование для проверки

Значение параметра

Раствор контактов, мм

Штангенциркуль

4

Провал контактов, мм

Штангенциркуль

2

Зазор, мм:



между отключенным якорем и серединой полюса магнитопровода

Штангенциркуль или щуп(шаблон)

4±0,5

между якорем и основным магнитопроводом в месте шарнира

Штангенциркуль или щуп(шаблон)

0,02-0,06

в местах прилегания пакета к нижним торцам магнитопроводов не более

Штангенциркуль или щуп(шаблон)

0,05

Площадь прилегания якоря к сердечнику магнитопровода (по отпечатку на бумаге) не менее, %

______________

65

Запас тягового усилия при притянутых якорях по центрам сердечников при снижении напряжения до 35В на двух соед. последовательно катушках и добавочном резисторе не менее, Н (кгс)

Динамометр

5 (0,5)

Отрывное усилие якоря по центру сердечников, Н (кгс)

Динамометр

80-100 (8-10)

Наименьший ток в катушках, при котором обеспечивается включение обоих реле не более, А

Амперметр

4,2

Ток установки, А

Амперметр

550 (+50 -30)

Электрическая прочность изоляции, В:



между силовой шиной и выводом Ж, магнитопроводами 9 (см. рис. 1)

Испытательный трансформатор

9000

Между выводами А и Б и остальными выводами низковольтной цепи.

Испытательный трансформатор

2250


Похожие работы на - Блок дифференциальных реле электровоза ВЛ80с

 

Не нашли материал для своей работы?
Поможем написать уникальную работу
Без плагиата!
Без нейросетей!