Бетоносмеситель СБ-103

  • Вид работы:
    Курсовая работа (т)
  • Предмет:
    Технология машиностроения
  • Язык:
    Русский
    ,
    Формат файла:
    MS Word
    1,62 Mb
  • Опубликовано:
    2010-08-17
Вы можете узнать стоимость помощи в написании студенческой работы.
Помощь в написании работы, которую точно примут!

Бетоносмеситель СБ-103

Федеральное агентство по образованию

БЕЛГОРОДСКИЙ ГОСУДАРСТВЕННЫЙ ТЕХНОЛОГИЧЕСКИЙ

УНИВЕРСИТЕТ им. В.Г. ШУХОВА




Курсовая работа

По дисциплине: «Автоматизация проектирования»

на тему:

«Бетоносмеситель СБ-103»

Выполнил:

Проверил:

СОДЕРЖАНИЕ

1.            КЛАССИФИКАЦИЯ БЕТОНОСМЕСИТЕЛЕЙ

2.       ПРИНЦИП РАБОТЫ И НАЗНАЧЕНИЕ МАШИНЫ

3.       ТЕХНИЧЕСКАЯ ХАРАКТЕРИСТИКА БЕТОНОСМЕСИТЕЛЯ СБ-103

4.       УСТРОЙСТВО БЕТОНОСМЕСИТЕЛЯ СБ-103

5.       ПОДБОР МАТЕРИАЛОВ ДЛЯ ИЗГОТОВЛЕНИЯ ДЕТАЛЕЙ

СПИСОК ИСПОЛЬЗОВАННОЙ ЛИТЕРАТУРЫ

1. КЛАССИФИКАЦИЯ БЕТОНОСМЕСИТЕЛЕЙ

Получение бетона и раствора заданных марок и свойств, отвечающих соответствующим требованиям, обеспечивается совокупностью многих факторов, из которых первостепенное значение имеют качество исходных компонентов и эффективность работы смесительного оборудования. Для приготовления бетонов и растворов применяются смесители различной конструкции.

Смесители классифицируются по следующим признакам:

по технологическому назначению - для приготовления бетонов разных видов (тяжелого, ячеистого, силикатного, керамзитобетона, полимербетона и т. п.), для приготовления строительных растворов;

по способу смешения - гравитационные (барабанные) и принудительного действия (лопастные);

по конструкции рабочих органов - с цилиндрическим и грушевидным барабаном, с двухконусным барабаном, с вертикально расположенными смесительными валами (тарельчатого типа) и с горизонтально расположенными смесительными валами (лоткового типа);

по способу перебазирования - передвижные и стационарные.

В смесителях цикличного действия исходные материалы смешиваются отдельными порциями. Такой способ приготовления позволяет регулировать продолжительность смешения в зависимости от состава смеси и вместимости смесителя, т. е. приготовлять смеси различных марок.

В смесителях непрерывного действия исходные компоненты загружаются, смешиваются и разгружаются непрерывно. Их используют при массовом производстве одномарочных смесей, как правило, в установках или линиях непрерывного действия.

2. ПРИНЦИП РАБОТЫ И НАЗНАЧЕНИЕ МАШИНЫ

Бетоносмеситель СБ-103 входит в комплект оборудования бетонных заводов и установок и бетоносмесительных цехов заводов железобетонных изделий. Он применяется для перемешивания материалов и для приготовления бетонов и растворов.

В гравитационных смесителях исходные компоненты смеси поднимаются во вращающемся барабане, на внутренней поверхности которого жестко закреплены лопасти, и затем под действием силы тяжести падают вниз. Процесс повторяется несколько раз, благодаря чему получается смесь, однородная по составу. Загрузка исходных компонентов смеси производится через загрузочное отверстие в барабане, а разгрузка или через разгрузочное отверстие, или путем опрокидывания барабана.

К преимуществам гравитационных смесителей относятся простота конструкции и кинематической схемы, возможность работы а смесях с наибольшей крупностью заполнителей (до 120 ... 150 мм), незначительное изнашивание рабочих органов, малая энергоемкость, простота в обслуживании и эксплуатации и низкая себестоимость приготовления смеси. Оптимальное время смешения в таких смесителях составляет 60 ... 90 с, а полный цикл, включая загрузку, смешение, выгрузку и возврат барабана в исходное положение, - 90 ... 150 с.

Перемешивание массы осуществляется посредством лопастей, закрепленных на внутренней поверхности барабана.

Во избежание быстрого износа лопастей рабочие кромки их наплавляются сталинитом. Лопасти расположены по винтовой линии, при этом часть лопастей имеет правое направление (у разгрузочного конуса), а лопасти загрузочного конуса - левое, что способствует приближению бетона к центральной цилиндрической части барабана и улучшению вследствие этого перемешивания всей смеси.

3. ТЕХНИЧЕСКАЯ ХАРАКТЕРИСТИКА БЕТОНОСМЕСИТЕЛЯ СБ-103

Объём готового замеса бетонной смеси (л)………………..2000

Объём по загрузке сухими составляющими (л)……………3000

Число циклов, не менее (в час)………………………………25

Крупность заполнителя, не более (мм)……………………...120

Частота вращения барабана (об/мин)………………………..12,6

Угол наклона смесительного барабана (град):

при перемешивании……………………………………15

при выгрузке……………………………………………55

Привод опрокидывания барабана……………………пневматический

Рабочее давление воздуха (Н/м2)…………………………….6*105

Габаритные размеры (мм):

Длина……………………………………………………2500

ширина………………………………………………….4050

высота…………………………………………………..3300

4. УСТРОЙСТВО БЕТОНОСМЕСИТЕЛЯ СБ-103

Бетоносмеситель (Рисунок 2) состоит из рамы, опорных стоек, смесительного барабана, траверсы, привода вращения барабана и пневмоцилиндра для опрокидывания барабана.

Рисунок 2. Бетоносмеситель СБ-103

1 - щиток; 2 - кожух; 3 - барабан; 4 - муфта; 5 - пневмопривод;

6 - электрооборудование; 7 - траверса; 8 - стойки; 9,14 - опорный и поддерживающие ролики; 10 - подшипник; 11 - конечный выключатель;

12 - редуктор; 13 - выводная коробка; 15 - рама.

Смесительный барабан (Рисунок 3) представляет собой металлическую емкость в виде двух конусов, соединенных цилиндрической обечайкой, внутренняя поверхность которой снабжена футеровкой из сменных листов из износостойкой стали. В барабане на кронштейнах закреплены три передние и три задние лопасти. К цилиндрической обечайке барабана с внешней стороны на прокладках приварен зубчатый венец и к торцу переднего конуса - фланец.

Траверса представляет собой сварную конструкцию коробчатого сечения, выполненную в виде полукольца с цапфами на концах. Цапфы с подшипниками закреплены на стойках и служат для поворота смесительного барабана. На траверсе смонтированы опорные и поддерживающие ролики, обеспечивающие вращение и удержание барабана при разгрузке. На наружной стенке левой стойки установлен пневмопривод. На правой стойке находится выводная коробка и два конечных выключателя крайних положений барабана.

Опорный ролик, вращающийся в подшипниках, установлен на эксцентриковой оси, позволяющей регулировать положение роликов для нормального зацепления шестерни и зубчатого венца при монтаже и изнашивании роликов. Оси установлены на двух опорах и крепятся к стойке траверсы болтами.

Поддерживающие ролики также смонтированы в подшипниках на эксцентриковых осях, позволяющих регулировать зазор между коническими поверхностями зубчатого венца и ролика. Для смещения ролика в осевом направлении предусмотрены регулировочные шайбы.

Рисунок 3. Смесительный барабан

1 - крышка; 2,6 - задняя и передняя лопасти; 3 - футеровка;


Выгрузка готовой смеси производится путем наклона барабана, осуществляемого при посредстве пневмоцилиндра, шток которого шарнирно соединен с рычагом поворота.

Обод барабана имеет три проточенные поверхности - две торцовые и одну в цилиндрической части для опорных и фиксирующих роликов, установленных на траверсе.

Барабаны рассмотренной конструкции применяются для бетономешалок емкостью от 425 до 4500 л.

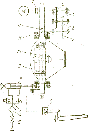
Пневмокинематическая схема бетоносмесителя СБ-103 показана на Рисунке 4. Двухступенчатый редуктор закреплен на вертикальной стенке траверсы. Движение от электродвигателя через муфту и редуктор передается шестерне и зубчатому венцу барабана. Пневмопривод служит для опрокидывания барабана при разгрузке готовой смеси, возврата и фиксации его в рабочем положении и заключает в себя пневмоцилиндр, воздухораспределитель, маслораспределитель, запорный вентиль, резинотканевые рукава и трубы. Пневмодилиндр выполнен с тормозным устройством, позволяющим изменять скорость движения поршня в конце опрокидывания и подъема барабана.

Рисунок 4. Пневмокинематическая схема бетоносмесителя СБ-103

1 - втулочно-пальцевая муфта; 2 - валы-шестерни; 3 - зубчатые колеса;

4 - запорное устройство; 5 - вентиль; 6 - маслораспылитель;

7 - воздухораспределитель; 8 - пневмоцилиндр; 9, 11- подшипники опорного и поддерживающего ролика; 10 - зубчатый венец; 15 - зубчатая шестерня.

5. ПОДБОР МАТЕРИАЛОВ ДЛЯ ИЗГОТОВЛЕНИЯ ДЕТАЛЕЙ

При выборе сталей необходимо учитывать их свойства, условия работы деталей и конструкций, характер нагрузок и напряжений.

В сварных конструкциях применять стали марок Ст0, Ст3, Ст5, Ст6, 15, 35, 45, 50Г. Сварка легированных сталей несколько затруднена из-за склонности к закалке околошовной зоны и образования в ней хрупких структур.

При работе гравитационного бетоносмесителя большая часть его деталей подвержена значительным напряжениям и деформациям. Корпус смесителя, например, испытывает значительные напряжения из-за центробежной силы действующей на него. Зубчатый венец так же испытывает большие перегрузки, возникающие при вращении смесительного барабана с загруженным в него материалом. Смесительные лопатки и их кронштейны, находящиеся внутри корпуса, изламываются и изгибаются из-за сопротивления загружаемого материала. На опорные шарикоподшипники производит своим весом давление смесительный барабан с материалом, так же на них действует и центробежная сила барабана. Поэтому для подбора основных материалов и марок сталей для проектирования смесителей нужно подходить с большой ответственностью и учитывать все эксплуатационные и технические характеристики проектируемых деталей.

Все части смесителя, кроме зубчатого венца, корпусов подшипников, футеровки, кронштейнов и лопаток, изготавливают из стального листа толщиной 3-5 мм марки Ст3 без термической обработки. Внутреннюю поверхность барабана футеруют стальным листом толщиной 3-5 мм из стали марки 50Г с нормализацией. Кронштейны и лопасти прикреплённые к ним лучше всего изготовить из стали марки 40Х с закалкой в масле и отпуском. Зубчатый венец целесообразно изготовить из углеродистой стали марки Ст4пс с отжигом нормализацией и улучшением. Корпуса подшипников изготовить по

ГОСТ 11521-82, основания и крышки их из СЧ 15.

Подшипники изготавливают из шарикоподшипниковой стали ШХ 15 или ШХ 20СГ - для опорных подшипников.

Для изготовления рамы использовали швеллер изготовленный из стали Ст5. Основная часть поверхности не имеет рабочий контур, т.е. не требует дополнительной обработки резанием для снижения шероховатости. Такой прокат изготавливают в горячекатаном состоянии и его шероховатость в соответствии с ГОСТ 2789-73 должна быть Rz 320 и Rz 160. Кромки деталей и сварные швы с шероховатостью Rz 80.

Класс точности для изготовления рамы возьмём средний, предельные отклонения на её изготовление будут ±0,5 мм.

СПИСОК ИСПОЛЬЗОВАННОЙ ЛИТЕРАТУРЫ

1.       Сапожников В. А. и др. «Механическое оборудование предприятий строительных материалов, изделий и конструкций». М., «Высшая школа». 1971 - 382 с.

3.       Сапожников Н. Я. «Атлас механического оборудования»

4.       Журавлев М.И. и др. «Механическое оборудование предприятий строительных материалов». М., «Высшая школа», 1973 308 с.

5.       Селенок С.Г. «Механическое оборудование предприятий строительных материалов и изделий», М., Стройиздат, 1973

6.       Анурьев В.И. «Справочник конструктора-машиностроителя». В 3-х томах, том 1. - 8-е изд. - М., машиностроение 2001 - 920 с.

Похожие работы на - Бетоносмеситель СБ-103

 

Не нашли материал для своей работы?
Поможем написать уникальную работу
Без плагиата!
Без нейросетей!