Безотходная переработка отходов серной кислоты для получения удобрений

  • Вид работы:
    Курсовая работа (т)
  • Предмет:
    Технология машиностроения
  • Язык:
    Русский
    ,
    Формат файла:
    MS Word
    178,38 kb
  • Опубликовано:
    2010-10-19
Вы можете узнать стоимость помощи в написании студенческой работы.
Помощь в написании работы, которую точно примут!

Безотходная переработка отходов серной кислоты для получения удобрений

Глава 1 УДОБРЕНИЯ ИЗ ОТРАБОТАННОЙ СЕРНОЙ КИСЛОТЫ

Твердые аммонийные удобрения составляют примерно 4% валового производства азотных удобрений. Производство твердых удобрений постоянно возрастает. К твердым аммонийным удобрениям относятся сульфат аммония и хлористый аммоний.

Сульфат аммония содержит примерно 21% азота. Сульфат аммония представляет собой кристаллическую соль, хорошо растворимую в воде. Гигроскопичность удобрения слабая, при нормальных условиях хранения слеживается мало и сохраняет хорошую рассеваемость. Получают сульфат аммония путем улавливания серной кислотой аммиака из газов, которые образуются при коксовании каменного угля, или нейтрализацией синтетическим аммиаком отработанной серной кислоты различных химических производств. Большое количество сульфата аммония вырабатывается в качестве побочного продукта при производстве капролактама. Синтетический сульфат аммония белого цвета, а коксохимический имеет серую, синеватую или красноватую окраску. Удобрение содержит 24% серы и служит хорошим источником этого элемента питания для растений.

Хлористый аммоний является побочным продуктом при производстве соды. Удобрение содержит около 25% азота. Для культур малопригоден, так как содержит большое количество хлора.

Водные растворы аммиачной селитры и мочевины

В качестве жидких азотных смесей применяют аммиакаты и КАСы.

Аммиакатами называют растворы, полученные совместным или раздельным растворением в аммиачной воде заданных количеств аммиачной или кальциевой селитры, карбамида или других азотсодержащих веществ.

КАСами называют жидкие азотные удобрения, состоящие из водных растворов карбамида и аммиачной селитры. В отличие от жидких аммиачных удобрений КАС почти не содержит свободного аммиака, его можно вносить с помощью высокопроизводительных наземных агрегатов без одновременной заделки в почву. КАС с ингибитором коррозии можно перевозить в обычных железнодорожных цистернах и автоцистернах, особенно выгодна транспортировка КАС по трубопроводам и водным транспортом. Низкая температура кристаллизации и замерзания дает возможность транспортировать и хранить КАС круглогодично, особенно в заглубленных в почву естественно утепленных хранилищах из бетона и асфальта с внутренним пленочным покрытием, из армированного стекловолокна или мягкой стали. КАС обладает высокой плотностью, что позволяет значительно сократить капитальные вложения на транспортировку и хранение.

При использовании КАС обеспечивается высокая точность дозирования и равномерность внесения по всей площади. Для транспортировки и внесения КАС можно использовать ту же технику, что и для жидких комплексных удобрений, аммиачной воды. Использование КАС в сельском хозяйстве имеет свои преимущества перед твердыми удобрениями. Во-первых, полная механизация всех погрузочно-разгрузочных работ, уменьшение затрат на производство и применение. Во-вторых, улучшаются условия труда, исключается расход тары, обеспечение равномерности внесения и дозирования азота. В-третьих, упрощается приготовление необходимых тукосмесей, в том числе с добавкой микроэлементов и пестицидов.

Жидкие азотные удобрения лишены недостатков, которые часто наблюдаются у твердых удобрений. Они обладают свободной текучестью, не пылят и не слеживаются. Сырая погода и даже дождь не оказывают на них негативного влияния. Также они значительно дешевле твердых, меньше и затраты труда на их внесение. В почву жидкие азотные удобрения вносят прицепными или навесными машинами в агрегате с плугами или культиваторами на определенную глубину (чтобы избежать потерь аммиака): аммиачную воду и аммиакаты - на 10-12 см, жидкий безводный аммиак - на 15-20 см (в зависимости от механического состава почвы).

Жидкие удобрения можно применять не только весной, но и в конце лета (под посев озимых) и осенью (под урожай яровых следующего года). Растворы аммиачной селитры и мочевины (до 30-32%) не содержат аммиака, поэтому их можно вносить в качестве подкормки, разбрызгивая по поверхности почвы. Дозы жидких удобрений (по азоту) такие же, как и твердых азотных удобрений.

Сложные жидкие удобрения - водные растворы, содержащие до 27% азота, фосфора и калия. При введении стабилизирующих добавок, например коллоидной глины, бентонита, предохраняющих раствор от кристаллизации, концентрацию питательных веществ в удобрении можно увеличить до 40%. Сложные жидкие удобрения не содержат свободного аммиака, поэтому их можно вносить поверхностно под вспашку, культивацию или боронование и в рядки при посеве.

С точки зрения потребительских свойств применение растворов (суспензий) позволяет полностью механизировать трудоемкие процессы погрузки и разгрузки удобрений, внесение их в почву.

Повышение эффективности азотных удобрений

До недавнего времени считалось, что растения используют до 80% азота удобрений. Коэффициент использования азота растениями определяли разностным методом (по разнице в выносе азота с урожаем при внесении азота и без внесения) и выражали в процентах внесенного количества удобрения. Применение в агрохимических исследованиях метода меченых атомов позволило установить, что в полевых условиях растения усваивают непосредственно из удобрений только 30-50% азота. Однако при внесении азотных удобрений усиливается минерализация почвенного азота и усвоение его растениями. Коэффициенты использования азота различных форм азотных удобрений существенно не различаются. Превращение азота в органическую форму резко возрастает при запашке в почву органического вещества с низким содержанием азота. Закрепившийся азот медленно минерализуется и слабо усваивается растениями.

Потери азота при денитрификации нитратов, образующихся при нитрификации аммонийного азота почвы и аммонийных азотных удобрений и мочевины, а также из нитратных азотных удобрений, весьма существенны. Потери азота удобрений резко возрастают в парующей почве и достигают 50%. Наиболее интенсивно газообразные потери азота в ходе биологической и косвенной денитрификации происходят в первые 20 дней после внесения азотных удобрений и в условиях ограниченного биологического поглощения в почве. С увеличением доз азотных удобрений потери возрастают. Потери азота удобрений за счет вымывания нитратов на связных почвах незначительны, а на легких дренированных почвах с промывным режимом увлажнения могут составлять значительные величины. Большие потери за счет улетучивания аммиака наблюдаются при нарушении технологии внесения аммиачных форм жидких азотных удобрений, а также при поверхностном внесении и несвоевременной заделке мочевины на карбонатных и щелочных почвах.

Повышение эффективности азота удобрений и снижение потерь обеспечиваются при увеличении размеров усвоения азота сельскохозяйственными культурами за счет оптимизации режима и условий питания растений, а также агротехнических мероприятий и создания благоприятного водного режима и реакции почвы.

Под влиянием азотных удобрений усиливается минерализация органического вещества и возрастают не только усвоение растениями почвенного азота, но и его потери. Потери азота удобрений могут быть снижены за счет усиления иммобилизации или торможения минерализации органического вещества почв путем внесения органических удобрений, в том числе соломы, проведения агротехнических почвозащитных и природоохранных мероприятий, выращивания пожнивных и промежуточных культур, возделывания трав, использования зеленого удобрения.

Чтобы избежать потерь азота и устранения опасности загрязнения нитратами растений и окружающей среды разрабатываются новые формы азотных удобрений - медленнорастворимые, капсулированные с контролируемой скоростью высвобождения азота, модифицированные ингибиторами нитрификации. Последние препараты при внесении в почву в небольших дозах тормозят нитрификацию в течение двух месяцев и сохраняют минеральный азот почвы и удобрений в аммонийной форме. Подавляя нитрификацию азота удобрений, ингибиторы снижают в 2 раза его потери в газообразной форме вследствие вымывания нитратов. В результате повышаются урожаи различных культур и эффективность азотных удобрений.

Фосфорные удобрения

Фосфор (точнее его оксид P2O5) - относительно распространенный в природе элемент. Его содержание в земной коре составляет 0, 08-0, 125% от всей массы. Сегодня насчитывается около 120 известных минералов, в состав которых входит фосфор. Для производства фосфорных удобрений применяют апатитовые руды, содержащиеся в фосфорных рудах. Фосфорные руды, в свою очередь, входят в понятие агрономических руд, используемых в производстве минеральных удобрений.

По своему содержанию фосфорные руды подразделяют на очень богатые, в них содержится до 35% фосфора; богатые, содержащие 28-35% фосфора; среднего качества - 18-28% фосфора; бедные - 10-18% фосфора; очень бедные - 5-10% фосфора; фосфатсодержащие - 0, 5-5% фосфора. По своему происхождению фосфорные руды делятся на апатиты, породы -эндогенного происхождения, и фосфориты, породы экзогенного происхождения.

В чистом минерале апатита содержится до 42% фосфора, но в производстве процент содержания апатита в руде несколько меньше (15-20%) из-за присутствия в ней других минералов. Апатит - бесцветный минерал с зеленоватым или желто-зеленым оттенком с шестигранными кристаллами. Среди апатитосодержащих руд выделяют магматические и карбонатитовые.

Фосфориты - осадочная порода, в состав которой входят кристаллические и аморфные кальциевые фосфаты с примесью кварца, глинистых частиц и других минералов. Фосфориты отличаются от апатитов большой пористостью частиц и мелкокристаллической структурой. Основными типами фосфоритных месторождений являются платформенные и геосинклинальные. Месторождения платформенного типа залегают на больших участках земной коры и характеризуются горизонтальным залеганием. Геосинклинальные фосфоритные месторождения возникают в результате движений земной коры, при которых сформировались горные образования. Отличительным признаком месторождений геосинклинального типа является наличие мощных фосфатосодержащих слоев, которые часто сочетаются с фосфатно-кремнистыми и фосфатно-карбонатными породами. К другим типам фосфоритных месторождений относятся метаморфизированные, образованные под действием высокой температуры и давления, месторождения континентального происхождения, появившиеся в результате вторичных процессов, протекающих в континентальных условиях, под действием текучих вод и ветра на бедные породы фосфоритов.

Фосфориты делятся на желваковые (конкреционные), пластовые (массивные), зернистые и ракушеч-никовые.

Фосфорные удобрения производят двумя способами. В первом случае в результате обработки сырья получаются готовые удобрения. Во втором случае при обработке сырья получают такие промежуточные продукты, как фосфорная кислота или элементарный фосфор, из которых затем производят фосфор. При первом и втором способах происходит разрушение кристаллической решетки фосфатного вещества агрономической руды и удаление фтора.

Фосфорные удобрения принято делить на водорастворимые и водонерастворимые. Последние, в свою очередь, делятся на растворимые в лимоннокислом аммонии и лимонной кислоте и растворимые в сильных кислотах.

Водорастворимые удобрения являются более универсальными, так как их можно использовать и на щелочной, и на кислой почве. Их вносят на подзолистых почвах в дозах 60-90 кг фосфора на 1 га. Водорастворимые удобрения не обязательно глубоко заделывать в почву, а в некоторых случаях это даже вредно, так как может привести к уменьшению усвояемости удобрения растениями.

Труднорастворимые удобрения - такие, как фосфоритная и костная мука, - применяют только на кислых почвах (подзолистые, серые лесные, деградированные, северные черноземы). Фосфор в подобных удобрениях усваивается растениями только после воздействия на него кислоты из почв. Труднорастворимые удобрения вносятся в почву заблаговременно и хорошо перемешиваются с ней. Внесенные в повышенных дозах, они снабжают растение фосфором на протяжении нескольких лет, значительно дольше, чем суперфосфат. Фосфорные удобрения не проникают с водой в глубинный слой земли. Поэтому в почву их необходимо заделывать на достаточную глубину, как можно ближе к корням растений. Вносят их обычно под глубокую обработку. В зависимости от срока проведения глубокой обработки почвы определяется срок внесения фосфорных удобрений. В случае, когда почва перекапывается и в осенний, и в зимний период, труднорастворимые фосфорные удобрения вносят осенью, а суперфосфат - зимой.

Суперфосфат простой представляет собой мягкий порошоксерого или светло-серого цвета, содержащий около 19% фосфорной кислоты, главным образом в водорастворимом состоянии. Это кислое удобрение, в состав которого входит небольшое количество свободной кислоты. Но тем не менее при его внесении кислотность почвы обычно не изменяется.

Суперфосфат получают путем разложения фосфатосодержащих руд серной кислоты. Технология изготовления суперфосфата состоит из трех фаз. На первой происходит разложение серной кислоты фосфатной руды. Этот процесс длится несколько минут. Затем суперфосфат в течение нескольких часов созревает в специальных камерах, после чего отправляется на склад, где дозревает еще 2-3 недели. Сегодня используют способ получения фосфата, когда все три стадии сменяют друг друга без перерыва. Готовый фосфат содержит некоторое количество свободной фосфорной кислоты, которую можно ликвидировать путем нейтрализации ее твердыми добавками - такими, как известь, мел, извест-няк, доломит, костяная мука, фосфоритная мука, обесфторенный фосфат и др., а также аммиаком и аммиакатами. Приготовленный фосфат обычно гранулируется с целью уменьшения перехода внесенного в почву фосфора суперфосфата в труднорастворимые соединения, другими словами, для снижения поверхностного контакта частиц суперфосфата с частицами почвы. Особенно это необходимо при заделке удобрения в кислую почву.

Среди фосфорных удобрений суперфосфат является наиболее быстродействующим.

Двойной суперфосфат - высококонцентрированное фосфорное удобрение, содержащее 36-52% кислоторастворимой фосфорной кислоты. Оно отличается от простого суперфосфата лишь тем, что приготавливается путем действия фосфорной, а не серной кислоты на фосфоросодержащую руду. В двойном суперфосфате находится большее количество кислоты и отсутствуют примеси гипса. Данное удобрение производится в виде гранул светло-серого цвета с содержанием усвояемого фосфора не ниже 45% и кислотностью не выше 2, 5%. Двойной суперфосфат производится двумя способами: камерным и поточным.

Камерный способ схож со способом производства простого суперфосфата. Однако он имеет несколько недостатков. Во-первых, приходится применять концентрированную фосфорную кислоту, во-вторых, удобрение очень долго дозревает, в-третьих, во время дозревания происходит выброс в атмосферу фтористых газов.

При поточном способе используется неупаренная экстракционная фосфорная кислота (из апатитового концентрата), разлагающая фосфориты. Преимуществом данного способа является отсутствие фазы дозревания удобрения в складских помещениях и таким образом исключение выделения в атмосферу фтористых соединений.

Также существуют фосфаты, полученные термическим путем. При их приготовлении природные фосфаты сплавливают с различными примесями: содой, смесью сульфатов с углем, кварцем, известняком и другими соединениями. При термической обработке фосфор природных фосфатов переходит в усвояемую растениями форму.

Преципитат- концентрированное фосфорное удобрение, в состав которого входит от 25 до 35% фосфорной кислоты. Преципитат представляет собой белый или светло-серый порошок, не слеживающийся, растворимый только в слабых кислотах. Удобрение можно использовать на всех видах почв. На подзолистых почвах он ни в чем не уступает суперфосфату.

Преципитат изготавливают путем осаждения фосфора фосфорной кислоты известковым молоком или мелом. Его производство делится на две стадии: получение фосфорнокислых растворов и осаждение фосфора в виде дикальцийфосфата веществами, содержащими известь.

Фосфоритная мука представляет собой мелкий землистый порошок, от светлого до темно-серого или бурого цвета, содержащий 19-25% фосфорной кислоты. Удобрение растворимо преимущественно в сильных кислотах, но благодаря тому, что оно обычно мелко размолото, иногда растворяется и в слабых кислотах.

Размельченная фосфоритная мука в кислой почве становится усвояемой для растений. Усвояемость зависит от нескольких факторов: степени размельчения фосфоритной муки, тщательности смешивания ее с почвой, от кислотности почвы, процессов, происходящих в ней, от свойств самого растения. Чем лучше фосфоритная мука смешана с почвой, тем эффективнее будет ее использование. Фосфоритная мука применяется на кислых подзолистых почвах, на серых лесных землях или деградированном и выщелоченном черноземе.

В случае необходимости известкования почвы следует предварительно заделать фосфоритную муку глубоко в почву, а затем уже вносить известь. Известкование рекомендуется проводить через год после внесения удобрения.

Усвояемость фосфоритной муки увеличивается, если ее смешать с кислыми азотистыми удобрениями, например сернокислым аммонием. Такой же эффект можно получить, если удобрение прокомпостировать с кислым торфом или навозом. Нельзя смешивать фосфоритную муку с известковыми удобрениями, цианамидом кальция и золой, так как растворимость фосфорной муки в этом случае снижается.

Фосфоритная мука несколько уменьшает кислотность почвы, но не заменяет полностью известь. Вносят ее в тех же дозах, что и суперфосфат, иногда немного больше. Преимущество фосфоритной муки перед суперфосфатом состоит в том, что она легче проникает в поч-ву. К тому же она обладает длительным действием и вносить ее можно один раз в несколько лет.

Фосфоритную муку в чистом виде заделывают в почву до посадки растений или в первые годы после посадки. Сначала ее равномерно распределяют по участку, затем его перекапывают, тщательно смешивая удобрение с почвой.

Томасшлак - отход от переработки руд, содержащих большое количество фосфора. Это негигроскопичное, щелочное удобрение. На сильнокислых почвах оно действует лучше, чем суперфосфат. При внесении в почву его необходимо хорошо смешивать с землей.

Томасшлак получают путем размола побочного продукта переработки на сталь и железо богатых фосфором чугунов щелочным способом. Фосфор в томасшлаке представлен в виде нескольких соединений, а именно, тетракальцийфосфата и силикокарнатина. В него входит также ряд силикофосфатов кальция и железа: томасит, стедит.

Мартеновский шлак(фосфатшлак)так же, как и томасшлак, является побочным продуктом переработки чугуна, но в отличие от него получается по мартеновскому методу, при котором при плавке чугуна добавляют большое количество плавикового шпата. В результате этого мартеновский шлак содержит фосфора меньше, чем томасшлак. В мартеновский шлак фосфор входит преимущественно в виде силикокарнатита. Это сильнощелочное удобрение.

Обесфторенный фосфат- фосфорное удобрение, в состав которого входит 21-24% или 30-32% (в зависимости от сырья, из которого он изготавливается) лимоннорастворимой фосфорной кислоты. Это негигро-скопичное удобрение, похожее по своему действию на суперфосфат.

Обесфторенный суперфосфат получают путем гидротермической обработки смеси фосфатного сырья с небольшим количеством кремнезема. Обесфторивается вещество при высокой температуре, доходящей до 1550° С. При этом образуется трикальцийфосфат в a-форме, которая сохраняется при быстром охлаждении и при обычных температурах.

Костяная мука (трехкальциевый фосфат, фосфоазотин) является продуктом переработки костей. По способам производства различают костяную муку, в состав которой входит около 15% фосфорной кислоты и 3-5% азота; обезжиренную (обесклеенную) костяную муку, содержащую 30-35% фосфора; пареную (из необработанной кости) с содержанием 20-25% фосфорной кислоты и 3-4% азота. Фосфорная кислота костяной муки не растворима в воде, растворяется она в слабых кислотах.

По своим свойствам костяная мука занимает промежуточное положение между суперфосфатом и фосфоритной мукой. Ее используют таким же образом, как и фосфоритную муку.

Вивианит- синяя болотная железная руда (минерал-фосфат закиси железа). Ее можно найти в некоторых болотах в виде примеси к фтору (торфовивианита). О наличии в болоте торфовивианита судят по характерным маслянистым пятнам и желтым налетам ржавчины. Изначально он представляет собой серую или грязно-белую массу, при соприкосновении с воздухом моментально приобретает синюю окраску, при высыхании становится серовато-голубой.

Торфовивианиты перед внесением в почву необходимо окислить на воздухе. В чистом вивианите содержится 28% фосфора. Но из-за смеси его с торфом количество фосфора в торфовивианите меньше - от 3 до 20%. По своим свойствам торфовивианит напоминает фосфоритную муку.

Глава 2 УДОБРЕНИЯ ИЗ ОСАДКОВ СТОЧНЫХ ВОД

Регенерацию раствора для кислотной обработки ОСВ проводят путем селективного выделения из растворов в следующей последовательности: медь, гуматы и остальные тяжелые металлы.

Осадки сточных вод предварительно сушат до влажности 10-25% известным способом, например в сушилке конвективного типа, после чего подвергают размолу, например в барабанной мельнице (А.Г.Касаткин Основные процессы и аппараты химической технологии. М.: Химия, 1973, с. 693). Размолотый до величины зерна 0,1-1,0 мм, осадок подвергают магнитной сепарации при напряженности магнитного поля не менее 1000 Э (80 кА/м). При этом происходит разделение ОСВ на две фракции: обогащенную магнитными материалами - окислами железа, хрома никеля, соединениями типа шпинель и немагнитную фракцию. Осадок сточных вод примерно на 20-30% обедняется по железу, хрому, меди, цинку, кальцию, магнию, т.е. теми компонентами, которые в процентном отношении составляют большую часть от общего содержания тяжелых металлов в ОСВ.

На дальнейшую обработку направляют немагнитную, обедненную ионами тяжелых металлов, фракцию осадка сточных вод. Соответственно этому на 25-30% снижается расход кислого обрабатывающего раствора на выщелачивание металлов из осадков сточных вод. Обработку ведут при 40-60oC кислым промывочным раствором, представляющим собой смесь 10% - раствора серной кислоты и отработанного раствора сернокислотного травления сталей состава, г/л:

серная кислота - 150-250, железо (III) - 30-80 при соотношении 4:1 и pH, равном 0,01-0,5. При этом происходит переход тяжелых металлов из осадка сточных вод в раствор по реакции:

Me(OH)2+H2SO4 ---> MeSO4+2H2O,

Me(OH)2+3H2SO4 ---> Me2(SO4)2+6H2O.

Наличие в растворе сульфата железа (III) не мешает переходу других, содержащихся в осадке катионов тяжелых металлов, в раствор и не оказывает отрицательного воздействия на сельскохозяйственные культуры при использовании осадков в качестве удобрений, т.к. железо является необходимым для растений элементом.

При необходимости раствор корректируют по величине свободной кислоты. Проведение процесса при температуре ниже 40oC не обеспечивает достаточной скорости процесса, а более 60oC приводит к увеличению испарения кислоты, что ухудшает условия труда и ведет к росту потерь кислоты.Для обеспечения высокой скорости выделения тяжелых металлов из осадков сточных вод, сокращения времени обработки и снижения расхода обрабатывающего раствора процесс проводят противотоком в несколько стадий. Кассеты с осадком после обработки на каждой стадии в течение 30-60 минут перемещают из одной емкости в другую, раствор же проходит через все стадии непрерывно в направлении от последней ступени каскада к первой. При этом на каждой последующей стадии обрабатываемый осадок обрабатывают все более чистым раствором, а на последней стадии свежеприготовленным раствором. Соотношение жидкой и твердой фаз на каждой стадии (8-10):1. На каждой стадии степень извлечения составляет 60-70%, что дает суммарную степень очистки 95-99%.

На первой стадии обработки ОСВ кислотность раствора не корректируют, за счет чего его pH повышается до значений 1,2 - 1,5. На последующих стадиях обрабатывающий раствор корректируют, поддерживая pH в пределах 0,01 - 0,25, например серной кислотой.

После прохождения всех стадий кислотной обработки осадки однократно промывают водой, т.к. они уносят примерно 0,5 л обрабатывающего раствора (ОР) на кг осадка. Промывку проводят из расчета 5 л воды на 1 кг ОСВ, после чего в промывную воду добавляют концентрированный отработанный травильный раствор и свежую серную кислоту и полученный раствор используют на последней стадии кислотной обработки.

Отмывка ОСВ водой позволяет также сократить расход щелочного реагента на нейтрализацию ОСВ. Нейтрализация ОСВ необходима, т.к. кислые осадки нельзя применять в качестве удобрений. Нейтрализацию проводят аммиачным раствором гумата аммония до pH равного 6-7 по реакции:

2NH4OH+H2SO4 ---> (NH4)2SO4+2H2O.

Продукт реакции - сульфат аммония является ценным минеральным удобрением и увеличивает питательную ценность ОСВ.

Нейтрализованные ОСВ сушат потоком воздуха при температуре 25 - 60oC, после чего они могут быть использованы в качестве удобрений.

Содержащиеся в ОСВ тяжелые металлы переходят в кислый промывочный раствор, где их содержание доходит до нескольких г/л. Это исключает их сброс в водоем без предварительной очистки. Извлечение металлов из отработанных кислых промывочных растворов проводят, например с использованием электрохимических методов, ионного обмена и т.п.

Последовательная обработка ОСВ в растворе кислоты и аммиачном растворе одновременно обеспечивает и обеззараживание от болезнетворных микроорганизмов. При этом общее микробное число (ОМЧ) в несколько раз меньше ПДК.

Согласно предлагаемому способу кислый промывочный раствор поступает на выщелачивание непрерывно и непрерывно из него выводится. Раствор с первой ступени обработки ОСВ с pH, равным 1,5, поступает в бездиафрагменный электролизер, где на катоде поддерживают потенциал + 0,05 В (нормального водородного электрода). В этих условиях на катоде происходит выделение меди с выходом по току ~80%:

Cu2++2e ---> Cu0, а аноде выделяется кислород и нарабатывается кислота:

H2O-2e ---> 1/2O2+2H2+.

Регенерационный каскад представляет собой цепочку аппаратов, где производится регенерация кислоты за счет извлечения металлов, перешедших из ОСВ в раствор.

Первый аппарат представляет собой диафрагменный электролизер, в катодном пространстве которого протекает реакция

2H2O+2e ---> H2+2OH- и соответствующее подщелачивание католита, за счет чего при pH, равном 1,5-1,8, происходит выпадение в осадок гуматов тяжелых металлов.

Раствор после фильтрации для отделения осадка поступает на очистку от тяжелых металлов, которую можно осуществить известным способом, например ионным обменом.

Me2++2R-H ---> Me-R+2H+.

При этом образуется раствор серной кислоты, который для повышения его концентрации направляют последовательно в анодные пространства электролизера для отделения гуматов. В анодных пространствах этих электролизеров наработка кислоты происходит за счет реакции выделения кислорода:

H2O-2e ---> 1/2O2+2H+.

За счет образования ионов водорода и миграции ионов SO42- в анолитах происходит образование серной кислоты.

Из анолита первой ступени каскада (осаждение гуматов) выходит кислота, близкая по концентрации к исходной. Эту кислоту направляют на обработку осадка. Потери кислоты на образование сульфата аммония пополняют добавлением отработанного раствора сернокислотного травления сталей.

Гуматы тяжелых металлов отделяют от раствора фильтрацией и обрабатывают 5-7% раствором гидроксида аммония, при этом образуется раствор, содержащий гумат аммония, который используют для нейтрализации ОСВ.

Поскольку гумат аммония является стимулятором роста растений, то его введение увеличивает агротехническую ценность ОСВ.

Предлагаемый способ обработки ОСВ является экологически безопасным за счет того, что кислый промывочный раствор после выделения из него ионов тяжелых металлов не сливается в канализацию, а регенерируется и возвращается на обработку ОСВ (за исключением той части кислоты, которая пошла на нейтрализацию)

Глава 3 УДОБРЕНИЯ ИЗ ОТРАБОТАННОЙ СЕРНОЙ КИСЛОТЫ


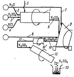
Процесс включает стадии: а) подачу первого исходного материала - отработанной серной кислоты; б) подачу второго исходного материала, состоящего в основном их хлорида калия; в) смешивание двух исходных материалов; г) нагревание при повышенной температуре (более 150 °С) с образованием мелкокристаллического порошка сульфата калия; д) смешивание кристаллического сульфата калия с гранулирующими агентами и небольшим количеством воды до получения мелких гранул; е) сортировку гранул по размеру.

Схема процесса приведена на рис. 1. Аппаратура состоит из большой вращающейся обжиговой печи 1, гранулятора 9 и ротационного холодильника 12. Подаваемые материалы - вода 2, отработанная серная кислота H2S04 3, хлористый калий КС1 4

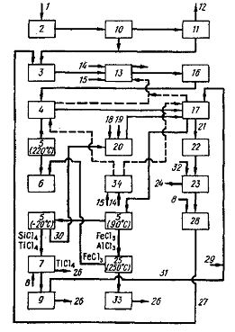
Процесс выделения алюминия и других металлов из зольной пыли:

1 - бойлерные топки; 2 - бункер для зольной пыли; 3 - грануляция; 4 - окислительное хлорирование; 5 - холодильник; 6 - хлорид железа, продукт; 7 - фракционная дистилляция; 8 - пар; - хранилище хлорида кремния: - бункер для сухого продукта; // - магнитное разделение; 12 - магнетит; 13 - сушка гранул; 14 - подача воздуха; 15 - подача топлива; 16 - хранилище пакетированных гранул; 17 - восстановительное хлорирование; 18 - кокс; 19 - кислород; 20 - генератор оксида углерода; 21 - серная кислота; 22 - выщелачивание остатка; 23 - разделение фаз; 24 - твердая фаза в отвал; 25 - перегонка под давлением; 26 - товарный продукт; 27 - связующий раствор; 28       - многоцелевой испаритель; 29         - подача хлора; 30 - возврат СО и COf; si - возврат тетрахлорида кремния; 32 - подача воды; 33 - хранилище хлорида алюминия; 34 - камера для дожигания

Процесс для выделения алюминия из зольной пыли, содержащей железо, кремний и читан, включает следующие операции:

а)       хлорирование золы в атмосфере кислорода и отгонка парообразного хлорида железа из образовавшейся смеси;

б)      хлорирование остатка стадии а в восстановительной атмосфере (в присутствии оксида углерода) с добавкой хлорида кремния для подавления реакции хлорирования кремния и отгонкой парообразных хлоридов алюминия, кремния, титана и остаточного хлорида железа;

в)      разделение и извлечение индивидуальных отогнанных хлоридов селективной конденсацией; обработка остатка стадии б серной кислотой с превращением хлорида кальция в гипс и регенерацией хлорирующего и связующего раствора для гранулирования подаваемой зольной пыли.

Этот процесс схематически показан на рис. 3. Зольная пыль вместе с продукции сгорания из бойлеров, обогреваемых углем, собирается в бункере.

Собираемая зола периодически транспортируется в накопительный бункер. Сухая зольная пыль может подвергаться магнитной сепарации. Как правило, при этом отделяется 50-60 % магнетитового железа. Далее зола подается на стадию грануляции, где добавляется солянокислый связующий раствор; при этом получают тяжелые прочные гранулы. Гранулы далее высушиваются при 300 °С в туннельных печах при непосредственном контакте с пламенем. Сухие гранулы используются в качестве исходного материала для хлорирования. Зольная пыль может измельчаться перед гранулированием, однако измельчение не влияет на выход выделяемого металла. Гранулирование является обязательным при использовании шахтных реакторов.

Соляная и серная кислоты представляют собой подходящие связующие компоненты для гранулирования без добавок углерода. В отсутствие связующих компонентов в результате спекания при 300 "С зольная пыль дает гранулы с малой прочностью. Наличие углеродсодержащих материалов также снижает прочность гранул. Гранулы высушиваются в форсуночных печах или за счет использования тепла высокотемпературных отходящих газов окислительных хлораторов.

Как видно из рис. 3, за стадией окислительного хлорирования следует восстановительное хлорирование. Установлено, что наиболее эффективно удаление железа путем селективного хлорирования на стадии окислительного хлорирования с последующей отгонкой и конденсацией образующегося хлорида железа. До 98 % железа отгоняется без заметного хлорирования и отгонки других металлов. Весьма важно, что на этой стадии не образуется и не отгоняется хлорид алюминия. В процессе хлорирования для уменьшения расхода хлора необходимо подавить хлорирование других металлов, в первую очередь кремния, содержание которого в золе может быть >25 %.

Установлено, что степень хлорирования диоксида кремния в процессе восстановительного хлорирования значительно уменьшается при использовании в качестве восстановителя одного оксида углерода вместо смеси углеродсодержащих материалов. Оксид углерода значительно повышает селективность хлорирования алюминия по сравнению с кремнием. Введение хлорида кремния в реакционную газовую смесь оксида углерода и хлора приводит к практически полному подавлению процесса хлорирования кремния (например, при 950 °С).

В процессе хлорирования происходит также хлорирование щелочных и щелочноземельных металлов. Подавлению хлорирования этих металлов не уделяется специального внимания, так как найдены эффективные способы переработки остатка, содержащего хлориды этих металлов. Оптимальные условия для уменьшения хлорирования натрия и магния реализуются при проведении хлорирования в отсутствие углерода и температуре 950 °С.

Окислительное хлорирование с целью селективного выделения железа предпочтительно проводить в шахтных хлораторах при использовании в качестве сырья гранул со связующим компонентом. Попытки удалить железо из гранул путем перхлорирования в восстановительных или нейтральных условиях оказались неосуществимыми вследствие одновременного хлорирования избытка оксида алюминия.

Для реализации процесса целесообразно использовать несколько периодических шахтных хлораторов, работающих в циклическом режиме, обеспечивающем максимальную рекуперацию тепла. Сырье предварительно нагревают до требуемой температуры горячими нейтральными газами угольных топок. Смесь хлора и кислорода затем циркулирует через реактор в течение 3 ч, в результате чего 90-95 % содержащегося железа удаляется в виде паров хлорида. Летучий хлорид железа собирается в воздушном конденсаторе. Затем следует стадия восстановительного хлорирования.

В реактор добавляется оксид углерода; реакция в ее присутствии достаточно экзотермична и не требует наружного обогрева. Хлорирование продолжается 4- 8 ч, причем остаточный хлорид железа собирают в конденсаторе первой стадии, а высокочистый хлорид алюминия - в конденсаторе второй стадии.

Около 3 % (объемн.) хлорида кремния вводится в реактор в процессе восстановления с целью подавления хлорирования кремния. В конденсаторе третьей стадии собирают хлориды титана и кремния. Хлоратор охлаждается и очищается от остатков хлора путем продувки воздухом, а выходящие газы поступают в следующий хлоратор для нагревания и взаимодействия с остаточным хлором и хлористым кремнием.

Для введения хлорида кремния предпочтительно пропускать хлор, подаваемый в реактор через жидкий хлорид кремния. Охлажденные выработанные гранулы подаются на стадию выщелачивания, где отделяются водорастворимые хлориды и кальциевые соли переводятся в гипс под действием серной кислоты. Твердый осадок отфильтровывают, моют и удаляют в виде отходов. Солянокислый раствор выпаривают и возвращают на стадию грануляции для использования в качестве связующего компонента и хлорирующего агента.

Похожие работы на - Безотходная переработка отходов серной кислоты для получения удобрений

 

Не нашли материал для своей работы?
Поможем написать уникальную работу
Без плагиата!
Без нейросетей!