Анализ возможности создания универсального оборудования для замеса хлебного теста

  • Вид работы:
    Доклад
  • Предмет:
    Технология машиностроения
  • Язык:
    Русский
    ,
    Формат файла:
    MS Word
    1,68 Mb
  • Опубликовано:
    2009-11-26
Вы можете узнать стоимость помощи в написании студенческой работы.
Помощь в написании работы, которую точно примут!

Анализ возможности создания универсального оборудования для замеса хлебного теста

Министерство образования Российской Федерации

ТУЛЬСКИЙ ГОСУДАРСТВЕННЫЙ УНИВЕРСИТЕТ





ОТЧЕТ О НАУЧНО-ИССЛЕДОВАТЕЛЬСКОЙ РАБОТЕ

Анализ возможности создания универсального оборудования для замеса хлебного теста

(промежуточный)

Научный руководитель

д.т.н., профессор ________________

подпись, дата

Нормоконтролер ________________

подпись, дата







Тула 2008

Содержание

Введение

1. Определения, обозначения и сокращения

2. Технологический процесс производства хлебобулочных изделий

2.1 Прием и хранение сырья

2.2 Приготовление теста

2.3 Разделка теста

2.4 Выпечка

2.5 Хранение выпеченных изделий

3. Классификация тестомесильных машин непрерывного действия

4. Разработка универсального оборудования для замеса хлебного теста

Заключение

Список использованных источников

Введение

Хлебопекарная промышленность Российской Федерации включает около 1500 хлебозаводов и свыше 5000 мелких предприятий, производящих ежегодно более 16 млн. т. продукции.

С хлебом получает свыше 40% необходимых углеводов, 30% белков, такое же количество железа, более 30% балластных веществ, витаминов группы В и т.п. Хлеб на 30% обеспечивает человека энергией. При этом недостаток хлеба в рационе питания другими продуктами не возмещается.

Современные хлебопекарные предприятия представляют собой сложные комплексы, оснащенные технологическим, транспортным, энергетическим, санитарно-техническим и вспомогательным оборудованием, а также средствами контроля, управления и блокировки.

Для замеса хлебного теста применяют различные типы машин, которые в зависимости от вида муки, рецептурного состава и особенностей ассортимента оказывают различное механическое воздействие на тесто. От работы тестомесильных машин зависит в итоге качество готовой продукции.

В зависимости от структуры рабочего цикла тестомесильные машины делят на машины непрерывного и периодического действия.

1. Определения, обозначения и сокращения

Дрожжевое молоко - это жидкая суспензия дрожжей в воде, полученная сепарированием культурной среды после размножения в ней дрожжей.

А - работа, расходуемая на один цикл месильной лопасти, Дж/об;

А1 - работа, расходуемая на перемешивание массы, Дж;

А2 - работа, расходуемая на перемещение лопастей, Дж;

А3 - работа, расходуемая на нагрев теста и соприкасающихся с ним металлических частей машины, Дж/об;

А4 - работа, расходуемая на изменение структуры теста, Дж/об;

п - частота вращения, с-1;

mT - масса теста, находящегося в месильной емкости;

mЖ - масса металлоконструкции машины, прогревающаяся при замесе;

сt, сЖ - средняя теплоемкость теста и металла;

t2, t1 - температура массы в начале смешивания и конце замеса;

t3 - длительность замеса, с;

h - КПД привода;

ПП - производительность печи по горячему хлебу, кг/ч;

у - упек, % к горячему хлебу;

р - плотность теста, кг/м3.

 

2. Технологический процесс производства хлебобулочных изделий

2.1 Прием и хранение сырья

Данный этап охватывает прием, перемещение в складские помещения и емкости и последующее хранение всех видов основного и дополнительного сырья, поступающего на хлебопекарное предприятие. К основному сырью относят муку, зерновые продукты, воду, дрожжи или химические разрыхлители и соль, а к дополнительному - сахар, жировые продукты, яйца и другие виды сырья, предусмотренные рецептурой вырабатываемых хлебопекарных изделий.

Муку на хлебопекарные предприятия доставляют и хранят бестарным способом либо в мешках. Площади склада должны быть рассчитаны на 6-7 суточный запас муки. При транспортировке муки в мешках их подвозят к мукосмесителям или заваленным ямам, в которые засыпают муку. Далее она норией подается в просеивательную машину, установленную в силостно-просеивательном отделении. Просеянная мука проходит очистку от металлопримесей на магнитах и поступает самотеком в шнек, который распределяет ее по производственным бункерам. Из производственных бункеров мука питающим шнеком нагнетается в автомукомеры, из которых подается затем в месильные машины. Главным направлением механизации мучных складов является использование бестарного способа транспортирования и хранения муки, что позволяет механизировать трудоемкие погрузочно-разгрузочные работы, отказаться от применения десятков миллионов мешков и снизить потери от распыла муки.

На производство мука доставляется специализированным транспортом вместимостью 14-15 м3, принимающих до 8 тонн муки. Для разгрузки емкость автомуковоза 1 подключают с помощью гибкого шланга к приемному щитку 2. Далее мука по трубопроводам 3 подается в силосы 4, в которых хранится.

Из силосов мука забирается роторным питателем 6 и через переключатель 7 поступает в просеиватель 8. Откуда посредством питателя 9 мука проходит через фильтр 10, попадает в промежуточную емкость 11, затем на автоматические весы АВ-50НК - 12. Под весами установлен бункер 13. После чего мука направляется через фильтр 14 в производственные бункера 15 для создания оперативного запаса. Из бункеров она подается в дозаторы 25, установленные у тестомесильных машин. Транспортирование муки осуществляется или механических транспортом посредством норий и шнеков, или пневмо- и аэрозольтранспортом. Аэрозольтранспорт имеет преимущество за счет насыщения муки воздухом, который повышает температуру муки и способствует ее созреванию.

Дополнительное сырье перед использованием проходит санитарную обработку и очистку.

В хлебопекарной промышленности применяют прессованные дрожжи, а также сушеные, жидкие дрожжи, дрожжевое молоко.

Дрожжевое молоко поступает на хлебозавод охлажденным до температуры 3 - 10°С в автоцистернах с термоизоляцией, откуда перекачивается в стальные емкости с водяной рубашкой и электромешалкой, которую включают через каждые 15 мин на 30 с для обеспечения однородной концентрации дрожжей по всей массе продукта.

Соль поступает на хлебопекарные предприятия малой мощности в мешках и хранится в отдельном помещении насыпью или в ларях. Соль добавляют в тесто в виде раствора концентрацией 23 - 26 % по массе. Насыщенный раствор готовят в солерастворителях, который затем фильтруют и подают в производственные сборники.

Сахар-песок, доставленный в мешках, хранят в чистом сухом помещении с относительной влажностью воздуха 70 %. Мешки с сахаром укладывают (на стеллажах) в штабеля по 8 рядов в высоту. Как правило, сахар добавляют в тесто в виде раствора 51 - 62%-ной концентрации плотностью 1,23 - 1,3. Раствор готовят в бачках, снабженных мешалкой и фильтром.

В хлебопекарной промышленности наиболее широко применяется коровье масло, маргарин, специальные хлебопекарные жиры и растительное масло.

Растительные масла хранят в темном прохладном помещении, в закрытой таре (бочках или цистернах) при температуре 4 - 6°С. Под влиянием кислорода воздуха, света и повышенной температуры растительные масла портятся.

Все дополнительное сырье поступает сборники 16, 17,18, 19, 20 и перекачивается по трубопроводам в расходные бачки 21, 22, 23, 24, и оттуда поступает через дозировочные устройства на замес теста.

Аппаратурно-технологическая схема производства хлебобулочных изделий представлена в приложении 1.

2.2 Приготовление теста

Приготовление теста является одним из решающих звеньев в технологическом процессе производства хлеба. Состояние и свойства готового к разделке теста в значительней мере предопределяют дальнейшее ее состояние при формовании и выпечке, а в связи с этим качество хлеба.

 Приготовление теста - наиболее длительная операция в производстве хлеба, занимающая около 70 % времени производственного цикла. При выборе конкретного способа тестоприготовления учитывают прежде всего вырабатываемый ассортимент изделий, а также другие производственные данные.

С учетом этих и других производственных условий лаборатория предприятия составляет конкретные производственные рецептуры. В производственной рецептуре указывается масса муки, воды, раствора соли и масса других компонентов, необходимых для замеса каждого полуфабриката (опары, теста и др.).

При непрерывном замесе теста производственную рецептуру составляют, исходя из минутной работы тестомесильной машины. Сначала рассчитывают общее количество муки для замеса теста, а затем количество муки, необходимое для приготовления других полуфабрикатов (опары, закваски и др.). После этого составляют рецептуру опары или закваски, а затем - рецептуру теста.

В настоящее время существует два основных способа приготовления пшеничного теста:

- опарный (двухфазный);

- безопарный (однофазный).

Приготовление теста этими способами включается в себя следующие операции и процессы:

- замес опары или теста;

- брожение опары или теста;

- обминка теста.

2.3 Разделка теста

При производстве пшеничного хлеба и хлебобулочных изделий разделка теста включает: деление теста на куски, округление этих кусков, предварительную, или промежуточную, расстойку, окончательное формование изделий и окончательную расстойку тестовых заготовок.

На хлебозаводах деление теста на куски, как правило, производится на тестоделительных машинах 30. Масса куска теста устанавливается исходя из заданной массы штуки хлеба или хлебобулочного изделия. При этом учитывают потери в массе куска теста при его выпечке (упек) и штуки хлеба при остывании и хранении (усыхание).

Округление кусков теста, т.е. придание им шарообразной формы, обычно осуществляется сразу же после деления теста на куски. Тесто по транспортеру 31 направляется в округлитель 32. Цель операции округления (при ручном осуществлении носящая название подкатки) - улучшение структуры теста, способствующее получению изделий с более мелкой и равномерной пористостью мякиша.

Между операциями округления и окончательного формования кусков пшеничного теста должна иметь место предварительная или промежуточная расстойка. Округленные куски теста должны находит в состоянии покоя в течение 5-8 мин. Наблюдения, проведенные па ряде хлебозаводов, показали, что применение предварительной расстойки кусков теста заметно увеличивает объем батонов. Первая расстойка осуществляется на ленточном транспортере 33, передающим куски теста от округлителя к закаточной машине.

После предварительной расстойки округленным кускам теста придают форму, характерную для готовых изделий. Эта операция выполняется на закаточной машине 34.

Во время окончательной расстойки в куске теста происходит брожение. Выделившийся при этом диоксид углерода разрыхляет тесто, в увеличивая его объем. Длительность расстойки сформованных кусков теста колеблется в весьма широких пределах (от 25 до 120 мин) в зависимости от массы кусков, условий расстойки, рецептуры теста, свойств муки и ряда других факторов. Окончательная расстойка производится в расстойном шкафу 36, куда заготовки попадают при помощи транспортера укладчика 35.

2.4 Выпечка

По пересадочному транспортеру 37 заготовки поступают в печь 38, где под действием тепла и пара на их поверхности быстро образуется тонкая эластичная корка, которая выполняет роль изолятора тепла. При дальнейшем повышении температуры изделий в процессе прогревания корки происходит декстринизация крахмала, т.е. образование сахаров. Корка приобретает цвет и блеск. Одновременно в тесте протекают процессы карамелизации сахара, при этом корка изделий темнеет. Температура выпечки - от 220 до 240°С, а продолжительность - зависит от массы и формы заготовок и составляет 15-60 мин.

2.5 Хранение хлеба

Выпеченные батоны транспортируется в хлебохранилище, где укладываются в лотки и затем на вагонетках или в специальные контейнеры. На этих вагонетках или контейнерах батоны хранятся до отправки в торговую сеть. Завершается пребывание хлебопекарных изделий на хлебозаводе погрузкой лотков или контейнеров с ними в соответствующий автотранспорт, доставляющий их в торговую сеть.

3. Классификация тестомесильных машин непрерывного действия

Тестомесильные машины непрерывного действия обычно имеют стационарную месильную емкость и расположенные в ней вращающиеся или совершающие круговое движение месильные лопасти. Интенсивность замеса здесь может быть повышена за счет применения тормозных лопастей или выступов, располагаемых на стенках месильной камеры. Иногда для этих целей применяют спаренные мерильные камеры, в которых лопасти вращаются навстречу друг другу. Эти машины разделяют на следующие группы.

На рисунке 1 представлена схема однокамерной тестомесильной машины с горизонтальным валом и Т-образными месильными лопастями. Они относятся к машинам со слабым механическим воздействием на тесто при замесе и ограниченной частотой вращения месильного вала, поскольку при повышении последней тесто заливает на валу и ухудшается перемешивание массы. В качестве примера можно назвать машину Х-12.

Рисунок 1 - Схема машины Х-12

Тестомесильная машина Х-12 относится к тихоходным однокамерным машинам. Предназначена для замеса пшеничного и ржаного теста, производительность до 20 т/сут. Получила широкое распространение в силу простоты конструкции и обслуживания.

Машина состоит из полуцилиндрической месильной емкости, в центре которой расположен месильный вал с лопатками. Сверху корпус закрывается откидной крышкой. Мука подается в машину через прямоугольный патрубок. оборудованный двумя емкостными датчиками уровня. Дозируется мука роторным питателем, приводимым в движение от главного вала кривошипно-шатунным механизмом и клиновым фрикционным храповиком. Над питателем установлен ворошитель, совершающий качательное движение через систему рычагов. Для наблюдения за работой дозатора муки служит окно. Выходит тесто из машины через патрубок. Привод машины осуществляется от электродвигателя через редуктор и зубчатую передачу. На передней панели расположены четыре качающихся крановых дозатора жидких компонентов.

Работает машина следующим образом. Все компоненты малыми дозами от дозаторов подаются непрерывно в переднюю часть корыта, отделенного порогом, перемешиваются лопатками с наклонной поверхностью и проталкиваются вдоль корыта. По мере продвижения массы до патрубка она перемешивается и пластифицируется.

На рисунке 2 представлена схема одновальной тестомесильной машины с горизонтальным налом, на котором в начале месильной емкости размещены трапецеидальные плоские лопасти, а в конце - шиповой шпек, заключенный и цилиндрический корпус. Это позволяет создавать в месильной камере две зоны с различным режимом работы: первая зона - смешивание, вторая - пластификация. К этой группе относятся, в частности, тестомесильные машины системы Хренова, у которых месильные лопасти имеют небольшую рабочую поверхность и установлены на валу достаточно редко, чтобы при вращении перемешивать отдельные слои смеси, а не всю массу. Они обеспечивают сравнительно высокую интенсивность замеса при частоте вращения месильного вала до 260 об/мин.

Рисунок 2 - Схема машины А.М. Хренова

Тестомесильная машина А. М. Хренова относится к быстроходным одновальным тестомесильным машинам. Предназначена для замеса ржаного и ржано-пшеничного теста. В полуцилиндрическом корпусе по центру расположен вал с трапецеидальными лопастями, закрепленными вдоль вала по винтовой образующей. На конце вала установлен шнек, помещенный в цилиндрический патрубок, заканчивающийся шарнирным клапаном. В емкости от подтекания жидкости установлена перегородка. Для подачи муки и жидких компонентов служат патрубки. Замес теста осуществляется достаточно интенсивно благодаря высокой скорости вращения месильных лопаток. Сравнительно малая площадь месильных лопаток позволяет производить замес на больших оборотах, не увлекая за собой всю массу компонентов. При этом быстрее и более совершенней осуществляется первая стадия замеса - смешение компонентов, а вторая стадия, осуществляемая однотипными лопатками, позволяет осуществить интенсивный замес со сравнительно малым энергопотреблением. Существенными достоинствами являются компактность и высокая производительность машин. Воздействие шнека в конце замеса обеспечивает некоторую пластификацию теста. Недостаток здесь состоит в невозможности осуществить независимое регулирование интенсивности воздействия месильных лопастей по зонам. В машине не решены вопросы, связанные с зачисткой рабочей камеры и шнека от теста, и др.

 Двухкамерные двухвальные тестомесильные машины, у которых имеется отдельная смесительная камера с индивидуальным приводом, а месильная камера с независимым регулируемым приводом включает две зоны замеса: месильную, снабженную шнеками, и зону пластификации, рабочим органом которой являются кулаки, интенсивно проминающие тесто. На выходе из месильной камеры установлена задвижка регулятора консистенции.

Тестомесильная машина ШТ-1М предназначена для смешивания сыпучих и жидких компонентов и получения пластичных смесей с высокой степенью однородности. Машина имеет камеры предварительного и окончательного смешивания компонентов, расположенные в вертикальной плоскости, станину и привод. В камерах находятся валы с лопастными мешалками.

Камера предварительного смешивания снабжена загрузочным патрубком для сыпучих компонентов и штуцером для жидких. Камера соединяется камерой вертикальным соединительным патрубком. Тесто выходит через щель между крышкой и камерой, ширина которой регулируется рукояткой через систему рычагов. Привод вала в камере осуществляется через зубчатую пару, а вала в камере - через цепную передачу. Для очистки камеры снабжены крышками, и в которых имеются окна для контроля месильной машины, выключается соответствующей автоблокировкой.

Корпус месильной камеры снабжен водяной рубашкой, разделенной на две зоны, что позволяет создавать различный температурный режим в начале и конце замеса. Температура воды в зонах контролируется термометрами. Месильная машина установлена на двух стойках, закрепленных на фундаментной плите. Привод валов осуществляется от электродвигателя через редуктор муфту, зубчатую пару и цепную передачу, снабженную натяжной звездочкой.

Машина имеет существенные достоинства: высокую надежность в работе; стабильное качество теста при интенсивном замесе; возможность регулирования в широких пределах производительности и интенсивности механического воздействия на тесто; удобство разборки и очистки рабочих органов.

Среди рассмотренных конструкций машин непрерывного действия можно выделить машину ШТ-1М, как наиболее перспективную.

На рисунке 3 приведена тестомесильная машина ШТ-1М, которая предназначена для смешивания сыпучих и жидких компонентов и получения пластичных смесей с высокой степенью однородности. Машина имеет камеры предварительного и окончательного смешивания компонентов, расположенные в вертикальной плоскости, станину и привод. В камерах находятся валы с лопастными мешалками.

Камера предварительного смешивания снабжена загрузочным патрубком для сыпучих компонентов и штуцером для жидких. Камера соединяется камерой вертикальным соединительным патрубком. Тесто выходит через щель между крышкой и камерой, ширина которой регулируется рукояткой через систему рычагов. Привод вала в камере осуществляется через зубчатую пару, а вала в камере - через цепную передачу. Для очистки камеры снабжены крышками, и в которых имеются окна для контроля месильной машины, выключается соответствующей автоблокировкой.

Корпус месильной камеру (24) снабжен водяной рубашкой (15), разделенной на две зоны, что позволяет создавать различный температурный режим в начале и конце замеса. Температура воды в зонах контролируется термометрами.

Месильная машина установлена на двух стойках (14) и (22), закрепленных на фундаментной плите (16).

Привод валов осуществляется от электродвигателя (21) через редуктор (19), муфту (20), зубчатую пару 1 и цепную передачу (2), снабженную натяжной звездочкой (3).

Технологический процесс происходит следующим образом. В загрузочный патрубок (9) поступает мука, а через штуцер (11), соединенный с трубой (10), снабженной отверстиями, насосом-дозатором закачивается

эмульсия. Эмульсия состоит их сахара, жира, молока, соли, меланжа и других компонентов. Внутри камеры вращается вал (5), снабженный лопастями (6). Ленточный шнек (8) продвигает компоненты внутрь секторов из листовой стали, установлены по винтовой линии под углом 35-45º к оси вала 5, каждая лопасть по отношению к предыдущей развернута на угол 90º.

Такая установка лопастей обеспечивает одновременно с замесом продвижение теста вдоль камеры.

Тестообразная масса из камеры предварительного смешивания (7) по патрубку (4) поступает в месильную камеру (24). Сначала смесь захватывается витком шнека (23) месильного вала (17), а затем интенсивно перемешивается лопастями (18).

Замешанное тесто выходит из месильной камеры через отверстие, прикрываемое крышкой (13). Крышка снабжена рукояткой (12) которой изменяют сечение выходного отверстия и регулируют тем самым интенсивность замеса теста.

Производительность машины 800-1200 кг/ч, частота вращения вала камеры смешивания 40,5 мин-1, вала месильной камеры 16,2-1, продолжительность замеса 14-16 мин.


Рисунок 3 - Тестомесильная машина ШТ-1М

3.1 Расчет машины непрерывного действия ШТ-1М

Определение расхода энергии необходимо для расчета тестомесильной машины и энергетического анализа отдельных стадий замеса, совершенствования механизма процесса и обоснования рациональных параметров отдельных стадий замеса.

У большинства современных тестомесильных машин замес совершается в результате вращательного движения одной или нескольких месильных лопастей. Составим баланс энергии для тестомесильной машины с вращательным движением месильной лопасти. Для упрощения определим баланс энергозатрат на один цикл месильной лопасти:

. (1)

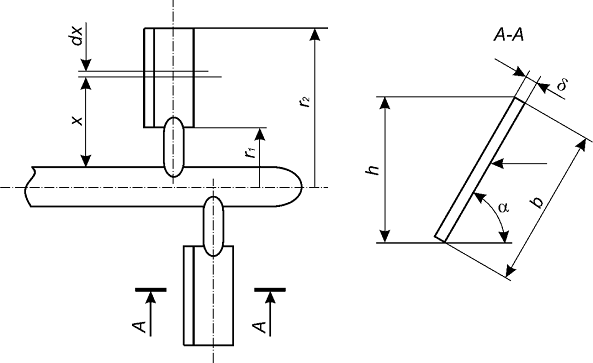
На рисунке 4 представлена упрощенная модель тестомесильной машины, состоящей из емкости, в которой вращается вал с закрепленной на нем лопастью прямоугольной формы. Она установлена под углом a к образующей.

Рисунок 4 - Расчетная схема тестомесильной машины

За один оборот элементарная площадка месильной лопасти шириной dx, находящаяся на расстоянии х от центра вращения, перемещает элементарную массу по кругу:

, (2)

и в осевом направлении:

, (3)

где k - коэффициент подачи теста.

Масса dm перемещается по кругу со скоростью V = 2pxn, а масса dm1 - в осевом направлении со средней скоростью V1 = Sn, где S - шаг образующей наклона лопатки.

Элементарная работа смешения равна кинетической энергии, которую элементарная площадка месильной лопатки передает массе теста:

. (4)

Работа смешения, совершаемая всей поверхностью лопаток:

. (5)

Производя подстановку в формулу (5), получим интегральное уравнение смешивания:

. (5.1)

После интегрирования получаем выражение для расчета работы, расходуемой на перемещение массы компонентов в месильной емкости. Мы не учитываем работу, расходуемую на преодоление трения между перемещающимися частицами массы. Эта работа будет учтена в расчете при определении расхода энергии на нагрев теста:

. (5.2)

Работа А1 совершается за один оборот вала, то есть за время t = 1/n.

Работа, расходуемая на вращение массы месильных лопаток A2, может быть определена следующим образом. Введем выражение для элементарной массы одной лопатки:

, (6)

и линейной скорости ее вращения:


в дифференциальное уравнение работы для а месильных лопастей и проинтегрируем его в пределах от r1 до r2:

, (8)

. (8.1)

Работа, расходуемая на нагрев теста и металлоконструкции тестомесильной машины за один оборот одной месильной лопатки:

. (9)

С некоторым допущением можно считать, что температуры теста и месильной лопатки одинаковы, тогда:

. (9.1)

Работа, затраченная на структурные изменения в тесте, А4. Ее непосредственное определение представляет значительные трудности. В первом приближении ее можно вычислить из баланса энергии замеса по экспериментальным данным.

Поскольку структурные изменения в массе теста зависят от интенсивности замеса и пропорциональны работе перемешивания А1, то работу А4 в первом приближении можно вычислить по уравнению:

. ( 10)

После определения составляющих баланса энергозатрат за один цикл месильной лопасти найдем суммарные энергозатраты.

По величине расхода энергии на замес можно рассчитать мощность приводного электродвигателя тестомесильной машины:

. (11)

Расчет тестомесильной машины. Расчет тестомесильной машины выполняется при создании новой конструкции либо при проверке технических данных существующей машины, подвергшейся реконструкции с целью совершенствования ее рабочего процесса. При создании новой машины расчет начинают с обоснования выбора единичной мощности (производительности). Затем определяют вместимость месильной камеры и производят расчет баланса энергозатрат, расчет мощности, потребной для привода тестомесильной машины, подбор электродвигателя и редуктора. На основании данных по расчету энергозатрат производится оценка мероприятий по совершенствованию рабочего процесса тестомесильной машины.

Выбор производительности тестомесильной машины осуществляют из расчета обеспечения тестом разделочных линий и печей в соответствии с параметрическими рядами технологического оборудования хлебозаводов. Производительность тестомесильной машины определяется по уравнению:

, (12)

где k0 - коэффициент, учитывающий возможные остановки машины на регулировку и очистку; для машин непрерывного действия k0 = 1,6 ÷ 1,1, для машин периодического действия k0 = 1,2 ÷ 1,3.

Затем определяется вместимость месильной камеры (в м3). Для тестомесильных машин непрерывного действия:

, (13)

где k1 - коэффициент заполнения месильной камеры; при непрерывном замесе k1 = 0,6 ÷ 0,7.

Затем составляют баланс энергозатрат на рабочий процесс, производят расчет мощности для привода тестомесильной машины и подбирают электродвигатель.

Произведем расчет тестомесильной машины непрерывного действия «ШТ-1М», производительность которой должна обеспечить тестовыми заготовками печи площадью пода 16 м2, т. е. ПП = 350 кг/ч. В таблице 1 представлены необходимые данные.

Таблица 1 - Исходные данные для расчета

Упек по горячему хлебу у, %

7

Длительность замеса t3, с

150

Длительность вспомогательных операций tВ, с

250

Коэффициенты: k0 k2

 1,3 0,5

Частота вращения вала месильной лопасти n, с-1

16,2

Параметры месильной лопасти:

r1 = 0,14 м,r12 = 0,196 м r13 = 0,0027 м

r2 = 0,03 мr22 = 0,009 м r23 = 0,00003 м

КПД машины h = 0,85.

Коэффициент подачи теста k = 0,3.

Температура теста: t1 = 35 °С, t2 = 28 °С.

Определим производительность тестомесильной машины по формуле (12):

 кг/ч;

Вместимость месильной камеры тестомесильной машины найдем по формуле (13):

 м3,

Принимаем вместимость месильной камеры VП = 280 дм3.

Для расчета и анализа рабочего процесса составим баланс энергозатрат и оценим долю каждой из статей затрат в общем расходе энергии. Используя формулу (5) найдем работу, расходуемую на перемешивание компонентов:

Работу, расходуемую на привод месильных лопастей найдем по формуле (8.1):

 Дж.

Работу, расходуемую на нагрев теста и соприкасающихся с ним металлических частей машины найдем по формуле (9.1):

А3 = (35 - 28)/16,2 - 150 (50 - 2300 + 16 - 500) = 354 Дж/об.

Работу, расходуемую на изменение структуры теста найдем по формуле (10):

А4 = 9 Дж/об.

На основании полученных данных, по формуле (1) составим баланс энергозатрат:

А = 90 + 10,8 + 354 + 9 = 463 Дж/об.

Выразим составляющие баланса в процентах: A1 = 19,4%; А2 = 2,3 %; А3 = 76,4 %; А4 = 1,9 %. Анализ затрат энергии по отдельным статьям позволяет судить о степени совершенства конструкции машины. В рассматриваемом случае 76,4 % всего энергопотребления составляют потери энергии на нагрев теста. Расчет мощности, необходимой для привода тестомесильной машины найдем по формуле (11):

N = 463,8 × 16,2/0,85 = 8839 Вт.

Как показывает анализ энергозатрат в тестомесильных машинах, потери на нагрев теста повышаются при увеличении частоты вращения и геометрических размеров месильной лопасти. Отсюда следует, что в этом отношении лучший эффект может быть получен при уменьшении до предела сечения лопасти, определяемого из условия прочности. Что же касается выбора оптимальной частоты вращения, то здесь следует учитывать эффективность перемешивания и необходимую интенсивность механического воздействия на отдельных стадиях замеса.

4. Разработка универсального оборудования для замеса теста

Разработанное универсальное оборудование для замеса хлебного теста позволяет получить качественное гомогенизированное интенсивно обработанное теста.

Технический результат достигается тем, что машина снабжена механизмом в виде вращающегося ролика для регулирования зазора щели и поддержания постоянного давления нагнетания теста в зоне проработки.

На рисунке 5 представлена тестомесильная машина, разрез А-А.

Устройство содержит горизонтальную камеру (1), приемную воронку (2), выпускной патрубок (3), разделенный крестовиной (4), зоны предварительного перемещения (5) и проработки (6) теста, рабочий орган (7), состоящий из транспортирующего шнека (8) и прессующего шнека (9), и фигурных месильных лопастей (10). Корпус (11) со вставленным седлом (12), в который входит щелевой клапан (13), вал (14) на котором установлен вращающий ролик (15), отжимная пружина (16).

Описанное устройство работает следующим образом.

Исходные компоненты согласно рецептуре через приемную воронку (2) шнеком (8) подаются в зону перемешивания (5) камеры (1), предварительно перемешиваются лопастями (10) рабочего органа (7). Затем образовавшаяся тестовая масса поступает в зону шнека (9), перемешивается и нагнетается им через отверстие крестовины (4), создавая необходимое давление, пройдя через кольцевой зазор тестовая масса, подвергается интенсивному механическому воздействию путем многократного послойного перетирания. Готовая масса выходит через патрубок (3). Регулирование зазора щели между седлом (12) и клапаном (13) осуществляется с помощью вращающегося ролика (15) и отжимной пружины (16).

Изобретение позволяет получить качественное гомогенизированное тесто.

 .

Рисунок 5 -Тестомесильная машина непрерывного действия для интенсивного замеса теста

Заключение


В данной работе проведен анализ тестомесильных машин с целью выявления степени универсализации оборудования. Приведена аппаратурно-технологическая схема производства хлебобулочных изделий, поэтапно рассмотрен технологический процесс производства, начиная от приема сырья на предприятие и заканчивая выпуском готовой продукции и отправкой ее в торговую сеть.

Анализируя тестомесильные машины, выбрана наиболее перспективная машина.


Список использованных источников


1. Ауэрман Л.Я. Технология хлебопекарного производства. - М.: Пищевая промышленность, 1984. - 483 с.

2. Головань Ю.П., Ильинский Н.А.; Ильинская Т.Н. Технологическое оборудование хлебопекарных предприятий. - М.: Агропромиздат, 1988. - 382 с.

3.   Драгилев А.И., Дроздов В.С. Технологические машины и аппараты пищевых производств. - М.: Колос, 1999. - 376 с.

4.       Лисовенко А.Т. Технологическое оборудование хлебозаводов и пути его совершенствования. - М.: Легкая и пищевая промышленность, 1982. - 208 с.

5.       Машины и аппараты пищевых производств. / Под. ред. В.А. Панфилова. - М.: Высшая школа, 2001. - 1527 с.

6.       Хромеенков В.М. Оборудование хлебопекарного производства. - М.: Академия, 2000. - 320 с.

7.   Хромеенков В.М. Технологическое оборудование хлебозаводов и макаронных фабрик. - СПб.: Гиорд, 2002. - 496 с.

Похожие работы на - Анализ возможности создания универсального оборудования для замеса хлебного теста

 

Не нашли материал для своей работы?
Поможем написать уникальную работу
Без плагиата!
Без нейросетей!