Акустические методы контроля материалов
Введение
Упругость - это свойство твердых тел
восстанавливать свои форму и объем (а жидкостей и газов - только объем) после
прекращения действия внешних сил. Среду, обладающую упругостью, называют
упругой средой. Упругие колебания - это колебания механических систем, упругой
среды или ее части, возникающие под действием механического возмущения. Упругие
или акустические волны - механические возмущения, распространяющиеся в упругой
среде. Частный случай акустических волн - слышимый человеком звук, отсюда происходит
термин акустика (от греч. akustikos-
слуховой) в широком смысле слова - учение об упругих волнах, в узком - учение о
звуке. В зависимости от частоты упругие колебания и волны называют по-разному.
Таблица 1 - Диапазоны частот упругих колебаний
|
Название
колебаний и волн
|
Качественное
определение
|
Частота,
Гц
|
|
|
Физический
диапазон
|
Условный
диапазон
|
|
Инфразвук
|
Ниже
границы слышимости
|
Ниже
16-25
|
Ниже
20
|
|
Звук
|
Диапазон
слышимости
|
От
16-25 до (15-20)*103
|
20…20*103
|
|
Ультразвук
|
Выше
границы слышимости
|
От
(15-20)*103 до 109
|
20*103…1*109
|
|
Гиперзвук
|
Длина
волны меньше длины свободного пробега молекул воздуха
|
Выше
109
|
Выше
109
|
Упругие колебания и акустические волны, особенно
ультразвукового диапазона, широко применяют в технике. Мощные ультразвуковые
колебания низкой частоты применяют для локального разрушения хрупких прочных
материалов (ультразвуковая долбежка); диспергирования (тонкого измельчения
твердых или жидких тел в какой-либо среде, например жиров в воде); коагуляции
(укрупнения частиц вещества, например, дыма) и других целей. Другая область
применения акустических колебаний и волн - контроль и измерение. Сюда относят
звуковую и ультразвуковую локацию, ультразвуковую медицинскую диагностику,
контроль уровня жидкости, скорости потока, давления, температуры в сосудах и
трубопроводах, а также использование акустических колебаний и волн для
неразрушающего контроля (НК).
В своей контрольной работе я планирую
рассмотреть акустические методы контроля материалов, их типы и особенности.
1. Типы акустических волн
Методы акустического контроля используют волны
малой амплитуды. Это область линейной акустики, где напряжение (или давление)
пропорционально деформации. Область колебаний с большими амплитудами или
интенсивностями, где такая пропорциональность отсутствует, относится к
нелинейной акустике.
В неограниченной твердой среде существует два
типа волн, которые распространяются с разными скоростями: продольные и
поперечные.
Рис. 1 - Схематическое изображение продольных
(а) и поперечных (б) волн
Волну ul
называют продольной волной или волной расширения-сжатия (рис. 1. а),
потому что направление колебаний в волне совпадает с направлением ее
распространения.
Волну ut
называют поперечной или волной сдвига (рис. 1. б). Направление колебаний
в ней перпендикулярно направлению распространения волны, а деформации в ней
сдвиговые. В жидкостях и газах поперечных волн не существует, так как в этих
средах отсутствует упругость формы. Продольные и поперечные волны (их
обобщенное название - объемные волны) наиболее широко используют для
контроля материалов. Эти волны лучше всего выявляют дефекты при нормальном
падении на их поверхность.
Вдоль поверхности твердого тела распространяются
поверхностные (волны Рэлея) и головные (ползущие, квазиоднородные) волны.
Рис. 2 - Схематическое
изображение волн на свободной поверхности твердого тела: а - рэлеевский, б -
головной
Поверхностную волну успешно
применяют для выявления дефектов вблизи поверхности изделия. Она избирательно
реагирует на дефекты в зависимости от глубины их залегания. Дефекты,
расположенные на поверхности, дают максимальное отражение, а на глубине больше
длины волны практически не выявляются.
Квазиоднородная (головная)
волна почти не реагирует на поверхностные дефекты и неровности поверхности, в
то же время с ее помощью можно обнаружить подповерхностные дефекты в слое,
начиная от глубины порядка 1... 2 мм. Контролю тонких изделий такими волнами
мешают боковые поперечные волны, которые отражаются от противоположной
поверхности ОК и дают ложные сигналы.
Если между собой граничат две
твердые среды (рис. 3, в), модули упругости и плотности которых не сильно
отличаются, то вдоль границы распространяется волна Стоунли (или
Стонсли), Такие волны находят применение для контроля соединения биметаллов.
Поперечные волны,
распространяющиеся вдоль границы раздела двух сред и имеющие горизонтальную
поляризацию, называют волнами Лява. Они возникают, когда на поверхности
твердого полупространства имеется слой из твердого материала скорость
распространения в котором поперечных волн меньше, чем в полупространстве.
Глубина проникновения волны в полупространство возрастает с уменьшением толщины
слоя. В отсутствие слоя волна Лява в полупространстве превращается в объемную,
т.е. в плоскую, горизонтально поляризованную, поперечную волну. Волны Лява
находят применение для контроля качества покрытий (плакировок), наносимых на
поверхность.
Рис. 3 - Волны на границе двух
сред: а - затухающая рэлеевского типа на границе твердое тело - жидкость, б -
слабозатухающая на той же границе, в - волна Стоунли на границе двух твердых
тел
Если твердое тело имеет две
свободные поверхности (пластина), то в нем могут существовать специфические
типы упругих волн. Их называют волнами в пластинах или волнами Лэмба и
относят к нормальным волнам, т. е. волнам, бегущим (переносящим энергию)
вдоль пластины, слоя или стержня, и стоячим (не переносящим энергии) в
перпендикулярном направлении. Нормальные волны распространяются в пластине, как
в волноводе, на большие расстояния. Их успешно применяют для контроля листов,
оболочек, труб толщиной 3... 5 мм и менее.
Также выделяют особый вид волн - ультразвуковые
волны. Они по своей природе не отличаются от волн слышимого диапазона и
подчиняются тем же физическим законам. Но, у ультразвука есть специфические
особенности, которые определили его широкое применение в науке и технике.
Отражение, преломление и возможность фокусировки ультразвука используется в
ультразвуковой дефектоскопии, в ультразвуковых акустических микроскопах, в
медицинской диагностике, для изучения макронеоднородностей вещества. Наличие
неоднородностей и их координаты определяются по отражённым сигналам или по
структуре тени.
2. Преломление, отражение, дифракция,
рефракция акустических волн
Преломле́ние
- явление изменения пути следования светового луча
<#"468725.files/image004.jpg">
Рис. 4 - Преобразование (трансформация) упругих
волн при падении на границу раздела двух материалов
Видно, что от границы раздела отражается не
одна, а две волны. Одна продольная, а другая сдвиговая (поперечная). Причем
угол отражения продольной волны, как и в оптике, равен углу падения продольной
волны.
Во вторую среду проходят также две волны.
Продольная - с углом, отличным от угла падения, и сдвиговая, угол которой также
отличается от угла отражения сдвиговой волны в первом твердом теле. Углы
падения, отражения и преломления подчиняются закону Снеллиуса (закон синусов)
Из выражения следует, что угол b равен углу gi,
так как скорость распространения в первой среде для продольной волны одинакова.
Мы ранее установили, что скорости упругих волн зависят от упругих характеристик
материалов и плотностей. Значит, углы отражения и преломления также зависят от
упругих свойств материалов и их плотностей. При угле падения равном 900
трансформации упругих волн не происходит. В то же время, замечательное свойство
упругих волн отражаться от находящихся внутри материала неоднородностей,
отличающихся по акустическим (упругим) характеристикам, используется для
обнаружения дефектов. На этом принципе построена вся ультразвуковая
дефектоскопия, дефектометрия, толщинометрия и т.д.
Рефракция звука
- изменение направления распространения звука в неоднородной среде (атмосфера,
океан, толща земли), скорость звука в которой является функцией координат.
Рефракцию звука (РЗ) можно рассматривать как
следствие эффекта преломления волн для случаев, когда физические свойства среды
непрерывно изменяются от точки к точке в направлении распространения волны.
Частным случаем такой среды является макронеоднородная структура, состоящая из
множества тонких однородных слоев s1, s2, ..., sn, причем скорость
распространения звуковых волн c изменяется от слоя к слою так, что c1 > c2 >
... > cn или с1 < c2 < ...< cn. При прохождении волны через границы
между соседними слоями имеют место эффекты отражения и преломления волн, в
частности, выполняются законы Снеллиуса и соотношения для коэффициентов
прохождения и отражения. Результирующей картиной многократного преломления
волнового луча в среде c вышеописанными свойствами является изменение
направления луча: он искривляется в сторону меньшей скорости звука. При
плоско-слоистой неоднородности среды лучи представляют собой плоские кривые,
лежащие в плоскостях, перепендикулярных слоям. Согласно закону Снеллиуса, в
таких средах выполняется соотношение (cos q)/ c = const, где q - угол
скольжения, которое является уравнением луча.
Более общим случаем является т.н. плавно
неоднородная среда, в которой скорость распространения упругих волн является
непрерывной функцией координат. Такая среда не является слоистой, поскольку не
содержит контрастных, в акустической смысле, границ, на которых выполняются
классические законы отражения и преломления.
Рефракция звука является важным фактором,
влияющим на распространение звука в атмосфере, океане и толще Земли.
Рефракционные эффекты могут наблюдаться также при распространении ультразвука в
изделиях и материалах, если скорость звука в них меняется по толщине, например,
вследствие поверхностной цементации. Поэтому рефракция звука положена в основу
акустических методов контроля качества цементации массивных сооружений (плотин
и т.п.) и степени уплотнения грунтов под собственным весом и при внешних
нагрузках.
Дифракция (огибание волнами препятствий) имеет
место тогда, когда длина ультразвуковой волны сравнима (или больше) с размерами
находящегося на пути препятствия. Если препятствие по сравнению с длиной
акустической волны велико, то явления дифракции нет. При одновременном движении
в ткани нескольких ультразвуковых волн в определённой точке среды может
происходить суперпозиция этих волн. Такое наложение волн друг на друга носит
общее название интерференции. Если в процессе прохождения через биологический
объект ультразвуковые волны пересекаются, то в определённой точке биологической
среды наблюдается усиление или ослабление колебаний. Результат интерференции
будет зависеть от пространственного соотношения фаз ультразвуковых колебаний в
данной точке среды. Если ультразвуковые волны достигают определённого участка
среды в одинаковых фазах (синфазно), то смещения частиц имеют одинаковые знаки
и интерференция в таких условиях способствует увеличению амплитуды
ультразвуковых колебаний. Если же ультразвуковые волны приходят к конкретному
участку в противофазе, то смещение частиц будет сопровождаться разными знаками,
что приводит к уменьшению амплитуды ультразвуковых колебаний.
3. Прием и излучение ультразвука
Ультразвук - это упругие колебания
<#"468725.files/image006.jpg">
Рис. 5 - Излучение (приём) продольных волн L
пластинкой, колеблющейся по толщине в твердое тело: 1 - кварцевая пластинка
среза Х толщиной l/2, где l - длина волны в кварце; 2 - металлические электроды;
3 - жидкость (трансформаторное масло) для осуществления акустического контакта;
4 - генератор электрических колебаний; 5 - твёрдое тело
Предельная интенсивность излучения
<#"468725.files/image007.jpg">
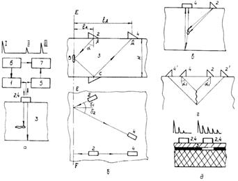
Рис. 6 - Методы прохождения: а - теневой; б -
временной теневой; в - велосимметрический: 1 - генератор; 2 - излучатель; 3 -
объект контроля; 4 - приёмник; 5 - усилитель; 6 - измеритель амплитуды; 7 -
измеритель времени пробега; 8 - измеритель фазы
В методах отражения (рис. 7) используют
как один, так и два преобразователя; применяют импульсное излучение. К этой
подгруппе относят следующие методы дефектоскопии:
1. эхо-метод;
2. эхо-зеркальный метод;
3. дельта-метод;
4. дифракционно-временной метод;
5. ревербирационный метод.

В комбинированных методах (рис. 8)
используют принципы как прохождения, так и отражения акустических волн:
1. зеркально-теневой метод;
2. эхо-теневой метод;
3. эхо-сквозной метод.
Рис. 8 - Комбинированные методы, использующие
прохождение и отражение: а - зеркально-теневой; б - эхо-теневой; в -
эхо-сквозной: 2 - излучатель; 4 - приёмник; 3 - объект контроля
Методы собственных частот
(рис. 9) основаны на измерении этих частот (или спектров) колебаний
контролируемых объектов. Собственные частоты измеряют при возбуждении в
изделиях как вынужденных, так и свободных колебаний. Свободные колебания обычно
возбуждают механическим ударом, вынужденные - воздействием гармонической силы
меняющейся частоты.
Рис. 9 - Методы собственных частот. Методы
колебаний: вынужденных: а - интегральный, б - локальный; свободных: в -
интегральный, г - локальный. 1 - генератор непрерывных колебаний меняющейся
частоты; 2 - излучатель; 3 - объект контроля; 4 - приёмник; 5 - усилитель; 6 -
индикатор резонанса; 7 - модулятор частоты; 8 - индикатор; 9 -
спектроанализатор; 10 - ударный вибратор; 11 - блок обработки информации
Импедансные методы (рис. 10, а) используют
зависимость импедансов изделий при их упругих колебаниях от параметров этих
изделий и наличия в них дефектов. Пассивные акустические методы основаны
на анализе упругих колебаний волн, возникающих в самом контролируемом объекте.
Наиболее характерным пассивным методом является акустико-эмиссионный метод
(рис. 10, б). Явление акустической эмиссии состоит в том, что упругие волны
излучаются самим материалом в результате внутренней динамической локальной
перестройки его структуры. Такие явления, как возникновение и развитие трещин
под влиянием внешней нагрузки, аллотропические превращения при нагреве или
охлаждении, движение скоплений дислокаций, - наиболее характерные источники
акустической эмиссии. Контактирующие с изделием пьезопреобразователи принимают
упругие волны и позволяют установить место их источника (дефекта).
Рис. 10 - Методы контроля: а -
импедансный; б - акустико-эмиссионный: 1 - генератор; 2 - излучатель; 3 -
объект контроля; 4 - приёмник; 5 - усилитель; 6 - блок обработки информации с
индикатором
Пассивными акустическими методами
являются вибрационно-диагностический и шумодиагностический. При первом
анализируют параметры вибраций какой-либо отдельной детали или узла (ротора,
подшипников, лопатки турбины) с помощью приёмников контактного типа, при втором
- изучают спектр шумов работающего механизма, обычно с помощью мокрофонных
приёмников.
По частотному признаку акустические методы делят
на низкочастотные и высокочастотные. К первым относят колебания в звуковом и
низкочастотном (до нескольких десятков кГц), ультразвуковом диапазоне частот.
Ко вторым - колебания в высокочастотном ультразвуковом диапазоне частот: обычно
от нескольких сот кГц до 20 МГц. Высокочастотные методы обычно называют
ультразвуковыми <http://www.td-luch.ru/page/lab-akust-uz.html>.
Заключение
В ходе изложения материала было
рассказано о достижении теории и практики в решении различных задач
акустического контроля. Развитие акустических методов происходит по пути изыскания
новых путей решения рассматривавшихся акустических задач, а именно, разработки,
способов излучения и приема коротких импульсов с узкой диаграммой
направленности при пониженном требовании к акустическому контакту, улучшении
отношения сигнал - помеха при контроле материалов с крупнозернистой
анизотропной структурой; достижения высокой разрешающей способности; разработки
высокоинформативных способов оценки формы, размера дефектов; наглядного
представления результатов контроля.
Другой подход к определению
тенденций развития исходит из задач, вытекающих из требований промышленности.
Здесь можно назвать требования по контролю новых материалов типа армированных
пластиков, металлокерамики, созданию высокоэффективных способов контроля сварки
давлением, измерения внутренних напряжений в изделиях, гарантированного
прогнозирования безопасности работы объектов и ряд других.
Для решения перечисленных
проблем находят новые методы и способы контроля, предлагают новые
пьезоматериалы, расширяют освоенный частотный диапазон, разрабатывают новую
аппаратуру с повышенной чувствительностью и эффективными средствами
представления информации, ведут исследования по излучению, распространению,
дифракции волн, способам обработки результатов контроля.
Литература
1. Бреховских Л.М., Годин О.А. Акустика слоистых
сред. - М.: Наука, 1989. - 416 с.
2. Викторов И.А. Ультразвуковые поверхностные
волны в твердых телах. - М.: Наука, 1981. - 288 с.
3. Ермолов И.Н. Теория и практика
ультразвукового контроля. - М.: Машиностроение, 1981. - 240 с.
4. Иванов В.И., Белов В.М. Акустикоэмиссионный
контроль сварки и сварных соединений. - М.: Машиностроение, 1981. - 284 с.
5. Ланге Ю.В. Акустические низкочастотные методы
неразрушающего контроля многослойных конструкций. - М.: Машиностроение, 1991.
6. Методы акустического контроля металлов / Под
ред. Н.П. Алешина. - М.: Машиностроение, 1989. - 456 с.
7. Потапов А.И. Контроль качества и
прогнозирование надежности конструкций из композитных материалов. - Л.:
Машиностроение, 1980.- 261 с.
8. Приборы для неразрушающего контроля
материалов и изделий. Справочник. В 2 кн. / Под ред. В.В. Клюева. - М.:
Машиностроение, 1986. Кн. 2. - 352 с.
9. Скучик Е. Основы акустики. В 2 т. - М.: Мир,
1976. Т. 2. -546 с.
10. Ультразвук. Маленькая энциклопедия / Под
ред. А.П. Галяминой. - М.: Советская энциклопедия, 1979. - 400 с.
11. Ультразвуковые пьезопреобразователи для
неразрушающего контроля / Под ред. И.Н. Ермолова. - М.: Машиностроение, 1986. -
280 с.
12. Физическая акустика. В 4 т. Под ред. У.
Мэзона. Т. 1. Методы и приборы ультразвуковых исследований. Ч.А. - М.: Мир,
1966. - 592 с.
13. Чебанов В.Е. Лазерный ультразвуковой
контроль материалов. - Л.: Из-дат. Ленинградского университета, 1986. - 232 с.
14.
Шрайбер Д.С. Ультразвуковая дефектоскопия. - М.: Металлургия, 1965. - 392 с.
Приложение
1. Свойство тел восстанавливать свои форму
и объем после прекращения действия внешних сил - это…
а) упругость
б) ползучесть
в) твердость
2. Колебания механической системы, упругой среды
или ее части, возникающие под действием механического возмущения - это…
а) механические колебания
б) упругие колебания
в) циклические колебания
3. Слышимый диапазон звука
а) ниже 20 Гц
б) выше 109 Гц
в) 20-20*103 Гц
4. Волны с частотой колебания 20*103
… 1*109 Гц
а) гиперзвук
в) инфразвук
в) ультразвук
5. Волну ul
называют … волной или волной расширения-сжатия, потому что направление
колебаний в волне совпадает с направлением ее распространения.
а) продольной
б) поперечной
в) рэлеевской
6. Волну ut
называют … или волной сдвига.
а) продольной
б) поперечной
в) рэлеевской
7. Поверхностную волну применяют для выявления
дефектов …
а) вблизи поверхности изделия
б) в глубине изделия
в) рядом с изделием
8. Основной метод излучения ультразвука …
а) преобразование механических колебаний в
электрические
б) преобразование электрических колебаний в
световые
в) преобразование электрических колебаний в
механические
9. Для приема ультразвука широко применяется
а) светоэффект
б) пьезоэффект
в) мультиэффект
а) материальной
б) нематериальной
в) интерактивной
11. Ультразвук в газах распространяется …
а) без затухания
б) с меньшим затуханием
в) с большим затуханием
12. Отражение ультразвука происходит на границе
с … акустическими импендансами
а) одинаковыми
б) различными
в) любыми
13. Для акустического метода неразрушающего
контроля применяют колебания ультразвукового и звукового диапазонов частотой …
а) 50 Гц - 50 МГц
б) 10 Гц - 10 МГц
в) 100 Гц - 100 МГц
14. В теле могут распространяться волны:
а) диагональные и поперечные
б) угловые и продольные
в) продольные и поперечные
15. Излучающие и приемные преобразователи,
расположенные по разные или одну сторону контролируемого изделия, используют …
а) методы отражения
б) методы прохождения
в) методы собственных частот
16. К методам прохождения относят:
а) амплитудный теневой метод
б) временной теневой метод
в) велосиметрический метод
г) все вышеперечисленные
17. Применяют импульсное излучение, используют
как один, так и два преобразователя, в …
а) методах отражения
б) методах прохождения
в) методах собственных частот
18. Принципы, как прохождения, так и отражения
акустических волн, используют в…
а) комбинированных методах
б) методах прохождения
в) методах собственных частот
19.Пассивнями акустическими методами являются:
а) методы отражения и собственных частот
б) методы прохождения и отражения
в) вибрационно-диагностический и
шумодиагностический
20. Изменение направления распространения
звуковой волны при ее прохождении через границу раздела двух сред - это…
а) отражение
б) преломление
в) затухание
21. Явление, возникающее при падении звуковой
волны на границу раздела двух упругих сред и состоящее в образовании волн,
распространяющихся от границы раздела в ту же среду, из которой пришла падающая
волна - это …
а) отражение
б) преломление
в) затухание
22. Изменение направления распространения звука
в неоднородной среде (атмосфера, океан, толща земли), скорость звука в которой
является функцией координат - это …
а) отражение
б) преломление
в) рефракция
23. Можно определить форму дефекта, исследуя
параметры …
а) преломленной волны
б) отраженной волны
в) падающей волны
24. В основе акустических методов контроля
качества цементации массивных сооружений (плотин и т.п.) и степени уплотнения
грунтов под собственным весом и при внешних нагрузках лежит ...
а) отражение
б) преломление
в) рефракция
25. Когда длина ультразвуковой волны сравнима
(или больше) с размерами находящегося на пути препятствия, имеет место …
а) рефракция
б) дифракция
в) интерференция
1.а, 2.б, 3.в, 4.в, 5.а, 6.б, 7.а, 8.в, 9.б,
10.а, 11.в, 12.б, 13.а, 14.в, 15.б, 16.г, 17.а, 18.а, 19.в, 20.б, 21.а, 22.в,
23.б, 24.в, 25.в.