Рынок труда в условиях несовершенной конкуренции: роль государства и профсоюзов
Міністерство
освіти і науки України
Українська
інженерно-педагогічна академія
Гірничий
факультет
Кафедра
інформаційних технологій
ПОЯСНЮВАЛЬНА
ЗАПИСКА
до
курсової роботи
з
дисципліни "Основи автоматизованого проектування складних cистем"
на
тему:
Автоматизація
графічних та розрахункових задач проектування
Стаханов
2010
ВИХІДНІ ДАНІ ДО
ПРОЕКТУ
Загальні вимоги
до графічного та математичного моделювання. Завдання згідно варіанта з
проектування офісу, який обладнаний комп’ютерами та програмним забезпеченням відповідно
до призначення офісу. Розробці підлягають план та об’ємне зображення офісу,
меблювання та розташування обладнання, електропостачання та ін. Завдання згідно
варіанта з розв’язання математичних задач. Середовища проектування: 3D Home, Excel, MathCAD, Power Point та інші, за узгодженням з керівником
проекту.
4. Зміст
розрахунково-пояснювальної записки (перелік питань, що їх належить розробити)
Вступ з обов’язковим посиланням на літературу, в якій вказується актуальність і
ефективність використання САПР та математичного моделювання. Умови завдань.
Графічне моделювання. Опис діяльності офісу та його програмне забезпечення,
співробітники. Альтернативне комп’ютерне обладнання. Електропостачання. Математичне моделювання. Висновки з
обов’язковим переліком кількісних даних, що характеризують результати розробки.
Презентація проекту. Використані джерела. Додатки.
5. Перелік
графічного матеріалу (з точним зазначенням обов’язкових креслень) Екранні копії
результатів графічного та математичного моделювання. Не менше п’яти сторінок
формату А4 з планами та об’ємними зображеннями офісу та розмірами.
6. Дата видачі
завдання 4 лютого 2010 р.
РЕФЕРАТ
Курсовий проект: 52
с., 50 рис., 7 табл., 1 додаток, 6 джерел.
Об'єктом
проектування є розробка офіса у
діяльності САПР-хімія.
Предметом
проектування є середовище 3DHome для розробки офісу.
Метою
проектування є систематизація
і закріплення теоретичних знань, отриманих при вивченні навчальної дисципліни
"Основи автоматизованого проектування складних систем" і придбання
навичок у використанні сучасних інформаційних технологій, а також придбання і
закріплення навичок самостійної роботи.
Методи
дослідження. Для вирішення
поставленої мети застосовані:
-
загальнонаукові методи:
теоретичного пошуку, концептуально-порівняльного аналізу, визначення
теоретичних і прикладних аспектів проектування, визначення структури і змісту підготовки;
-
емпіричні методи;
математичні методи.
-
методи створення програмних засобів навчального
призначення. Новизна проектування полягає у тому, що розроблено офіс для
навчальній діяльності.
Практична
значущість проектування: розробка об’єкта, моделей для дисципліни «Автоматизація графічних та розрахункових задач проектування».
ВСТУП
Різні можливості й границі
застосування обчислювальної техніки для автоматизації проектування визначаються
рівнем формалізації науково-технічних знань у конкретній галузі. Чим глибше
розроблена теорія того або іншого класу технічних систем, тим більші можливості
об'єктивно існують для автоматизації процесу їхнього проектування.
Під
автоматизацією проектування розуміють систематичне застосування ЕОМ у процесі
проектування при науково обґрунтованому розподілі функцій між проектувальником
й ЕОМ і науково обґрунтованому виборі методів машинного рішення задач.
Ціль автоматизації
- підвищити якість проектування, знизити матеріальні витрати на нього,
скоротити строки проектування й ліквідувати зріст числа інженерно-технічних
працівників, зайнятих проектуванням і конструюванням.
Проектування
являє собою цілеспрямовану послідовність дій по реалізації проектних рішень (до
яких приводять проектні процедури: математичне моделювання, оптимізація,
компонування об'єктів), що приводять до створення опису об'єкта проектування,
достатнього для виготовлення об'єкта і його експлуатації в заданих умовах.
Особливістю
автоматизованого проектування є те, що в ході проектування відбувається
постійний діалог людини й машини [1, 2, 5].
Дана курсова
робота присвячена автоматизованому проектуванню складних систем, які
характеризуються ієрархією, різноманіттям зв'язків між елементами,
багаторазовою зміною стану, множиною показників якості й критеріїв. Окремі
частини складних систем можуть розглядатися як система.
Для вивчення й
проектування систем використають: математичне моделювання (заміна реальної
системи її математичним описом на різних рівнях абстракції), що значно скорочує
витрати на створення моделі й проводиться на ЕОМ без додаткових приладів;
геометричне моделювання (процес побудови форми об'єкта - поступова її
деталізація в міру розвитку ідей розроблювача), що реалізується за допомогою
САПР й являє собою роботу з формами в тривимірному просторі; фізичне
моделювання (макетування), що є альтернативою математичному.
Актуальність
курсової роботи полягає в тому, що досвід, отриманий у процесі курсового
проектування, впливає на розвиток творчих здібностей студента, є гарною
підготовкою згодом до успішного виконання дипломного проекту за фахом. Розробка
офіса з вихідними даними: кількість комп'ютерів 2, кількість принтерів 2, блоки
безперебійного живлення 1, кількість сканерів 2, модем 1, телевізор
(підключення до ЕОМ) 1, осциллограф (підключення до ЕОМ) 1, Корисна площа
офісу, 34,5 кв. м
Задачею даної
курсової роботи є автоматизування розрахункових задач проектування (рішення
систем рівнянь, побудова графіків залежності, оптимізація, моделі об'єктів) і
графічне проектування офісу на підставі вихідних даних (розміри офісу, його
устаткування та напрямок діяльності), програмне забезпечення, що буде
використано для реалізації роботи: MS Excel, MathCAD, 3D Home Architect 8.0 Delux.
1.1
Початкові
дані для проектування офісу
Вихідні дані:
|
Діяльність офісу
|
САПР - хімія
|
|
Кількість комп'ютерів
|
2
|
|
Кількість принтерів
|
2
|
|
Блоки безперервного живлення
|
1
|
|
Кількість сканерів
|
2
|
|
Модем
|
+
|
|
Телевізор (підключення до ЕОМ)
|
+
|
|
Кондиціонер
|
-
|
|
Музичний центр
|
-
|
|
Осциллограф (підключення до ЕОМ)
|
+
|
|
Корисна площа офісу, кв. м
|
34,5
|
1.2
Опис
призначення офісу і його програмне забезпечення
На підставі
вихідних даних можна припустити, що в офісі може працювати 4 людини. Так, як ця
установа призначена для роботи в сфері САПР – хімія, то необхідні наступні
кадри: два програмісти, секретар та менеджер.
Офіс може
виконувати:
написання нових
програм на різних мовах програмування;
рішення
математичних задач;
складання різних
баз даних;
WEB-дизайн.
Для використання
в даній установі більш усього підійде WindowXP Professional , тому що це одна із самих нових і надійних операційних систем. Вона має
найбільшу універсальність, широке поширення, і відповідно, має особливу
підтримку з боку апаратного й програмного забезпечення. Для комп'ютера, що
працює в цій системі, найпростіше підібрати прикладні програми й драйвери
пристроїв.
Завдяки
графічному інтерфейсу Windows XP є
простою для використання, тому немає необхідності навчати операторів для
переходу на нову ОС. Windows XP Professional є нащадком таких систем Win95,
WinNT, Win98, і зберігає основні принципи роботи в ОС цього типу, отже,
оператори, що працювали на попередніх версіях легко зможуть адаптуватися до
нового. Основною відмінністю цієї ОС від попередніх версій є надійність і
стабільність роботи. Вона більше мультимедійна та функціональна. Windows XP
Professional вводить новий стандарт програмного забезпечення для бізнесу,
поєднуючи продуктивність і надійність корпоративного рівня з безпрецедентною
простотою експлуатації. Побудована на фундаменті перевіреної технології Windows
2000, система Windows XP Professional включає всі можливості Microsoft®
Windows® XP Home Edition, а також нові й поліпшені засоби, розроблені
спеціально для бізнесу й досвідчених користувачів. Час запуску знижений, а
стабільність роботи офісних програм вище, ніж у будь-який попередньої
операційної системі. Підтримка декількох моніторів дозволяє переглядати більше
даних або одночасно виводити вікна двох різних програм.
Під час виконання
роботи програміст використовуватиме персональний комп'ютер з наступним
програмним забезпеченням: Delphi 7 (2007,2009Pro), C++, Opera, Microsoft Office Excel та ін.
Microsoft Office
Excel - ця програма дозволяє просто й зручно проводити досить складні
розрахунки, у тому числі практично всі фінансові й бухгалтерські розрахунки. за
допомогою програми Microsoft Office Excel ви зможете підготувати різноманітні
бланки з використанням засобів форматування тексту й чисел і вставки зображень.
Електронні таблиці дозволяють організувати, проаналізувати й представити дані у
вигляді діаграм різних типів.
Delphi - мова й
середовище програмування, що відноситься до класу RAD- (Rapid Application
Development ‑ "Засіб швидкої розробки додатків") засобів
CASE - технології. Delphi використовувалось для розробки потужних додатків
Windows. Додатків Windows, для створення яких була потрібно велика кількість
людських зусиль наприклад у С++, тепер можуть бути написані однією людиною, що
використає Delphi. Delphi має широкий набір можливостей, починаючи від
проектувальника форм і закінчуючи підтримкою всіх форматів популярних баз
даних. Середовище усуває необхідність програмувати такі компоненти Windows
загального призначення, як мітки, піктограми й навіть діалогові панелі.
Працюючи в Delphi, ви неодноразово бачили однакові "об'єкти" у
багатьох різноманітних додатках. Діалогові панелі (наприклад Choose File й Save
File) є прикладами багаторазово використовуваних компонентів, вбудованих
безпосередньо в Delphi, що дозволяє пристосувати ці компоненти до наявної
задачі, щоб вони працювали саме так, як потрібно створюваному додатку.
ACD/ChemSketch + Dictionary [1-01i]
Всесвітньо відомий хімічний редактор, що включає можливості генерації
хімічних імен згідно номенклатурі IUPAC і Inchi код для комерційного
використання. Містить Acd/dictionary - унікальну бібліотеку 29,000 часто
використовуваних хімічних і біологічних молекул з більш ніж 158,000
тривіальних, торгових і систематичних назв.
Надає зовнішній інтерфейс для більшості Acd/labs додатків.
Acd/chemfolder [1-02i]
Чудовий інструмент для створення призначених для користувача баз даних
хімічних структур, властивостей, експериментальних даних, реакцій, схем
метаболізму (біо-трансформаційних шляхів) і управління ними. Поставляється з
Acd/chemcoder - унікальним модулем для кодування хімічних структур разом з
асоційованими даними в двовимірні баркоди і назад. Acd/labs пропонує програмне забезпечення для ЯМР,
яке може передбачати теоретичні зрушення і константи, обробляти і зберігати в
базах даних експериментальні спектри, а також допомогти з їх інтерпретацією і
з'ясуванням хімічної структури, що помітно збільшує продуктивність ЯМР
лабораторій. Acd/labs відома своїми прогнозами фізико-хімічних властивостей на
основі молекулярної структури, які широко визнані і прийняті за стандарти в
провідних світових компаніях. Дане програмне забезпечення допомагає компаніям
оцінювати з'єднання ще до того, як їх властивості були експериментально ізміряні, або навіть до того, як самі з'єднання були синтезовані. Доступні в Standalone або Batch версіях.
Acd/structure Designer [4-02i]
Є складовою частиною Acd/ Structure Design Suite (SDS). Спеціально розроблений, щоб
задовольнити ключові потреби рядових органиків-синтетиків в оптимізації хімічних
структур без залучення додаткової функціональності (доступною в SDS). Ця програма надає можливість
медичним і синтетичним хімікам швидко знаходити структурні модифікації ключових
з'єднань для отримання аналогів з покращуваними молекулярно-фізичними
властивостями. Доступні прогнози pka, LOGP, logd і водній
розчинності.
Acd/logp DB [4-09i]
Програма розраховує точні величини коефіцієнта розподілу вода/октанол і
ряду зв'язаних властивостей в стандартних умовах при 25°c. Надає доступ до внутрішньої бази
експериментальних даних по logp для
більш ніж 18,400 з'єднань. Дозволяє покращувати точність прогнозів для ваших
нових унікальних класів з'єднань через навчання програми за допомогою ваших
експериментальних даних.
Acd/pka DB [4-12i]
Швидко і точно передбачає константи кислотно-основної дисоціації для
широкого ряду органічних сполук. Надає доступ до баз даних такою, що містить
більш ніж 31,000 експериментальних величин pka для приблизно 16,000 з'єднань у воді і 2000 молекул в неводних
розчинниках. Дозволяє покращувати точність прогнозів для ваших нових унікальних
класів з'єднань через навчання програми за допомогою ваших експериментальних
даних.
Acd/solubility DB [4-15i]
Передбачає розчинність з'єднань у воді за різних умов. Дозволяє
проглядати профіль розчинності і розподіл іонних форм у всьому інтервалі ph (0-14) для того, щоб ви могли краще
розуміти поведінку ваших з'єднань в розчині і покращувати їх розчинність.
Acd/boiling Point Predictor [4-18i]
Дозволяє розраховувати температуру кипіння і тиск пари органічних сполук
і переводить їх в різні одиниці вимірювання. Передбачає ентальпію паротворення
і температуру спалаху.
Acd/chemfolder Enterprise (Server) [5-01i]
Варіант Acd/chemfolder, що працює на платформі Oracle або POSTGRESQL, - хімічна база даних для використання усередині всієї
організації і забезпечення доступу до інформації всім зацікавленим
співробітникам.
1.3
Співробітники
офісу
Функції біотехників полягають в розробці органічних
сполук для трубчастих реакторів (виробництва малеїнового ангідриду). Основні
проектні вирішення. Для розрахунку математичних моделей використовується метод
кінцевих|скінченних| різниць. Для задачі
оптимізації метод Ньютона.
Функції
менеджера
спрямовані на організацію роботи, рішення задач, пов’язаних з керуванням
робочим процесом, укладання договорів з замовниками. Відповідальність за
прибутки, та заробітну платню найманим робітникам.
Функції
секретаря
полягають в призначенні ділових зустрічей, наборі та роздруківці різних
документів, відповіді на телефонні дзвінки, ведення архіву, приготування кави,
чаю.
Час роботи офісу:
з 9-00 до 18-00, перерва з 13-00 до 14-00 годин. Вихідний - субота, неділя.
1.4
Альтернативне
комп'ютерне устаткування. Критерії вибору
Так як
особливістю проектування є здійснення оптимального вибору з декількох
варіантів, відповідно до критеріїв оптимальності, то було зроблено два варіанти
комп'ютерного встаткування. Склад
комп'ютерного встаткування розроблявся, виходячи із заданого встаткування (2
комп'ютери, 2 принтери, 2 сканери, 1 блок безперебійного живлення, телевізор,
осцилограф, модем).
Перший варіант
Таблиця 1.1 –
Устаткування (1 варіант)
|
Комплектуючі
|
Опис
|
Ціна, грн
|
|
Материнська плата
|
Gigabyte GA-MA770-US3,AMD 770, ATX, 5200MT/s,
4xDDR2(1200), 8ch
|
617.87
|
|
Процесор
|
Athlon II X2 240 2800 BOX Model Number 240,
Frequency 2.9
|
536.69
|
|
Вентилятори
|
Cooler GLACIALTECH IGLOO 7320 Light/EB AMD
|
77.85
|
|
Пам'ять
|
DDR2 2048 Mb 800 PC6400 Kingston
|
374.33
|
|
Жорсткий диск
|
250 Gb Seagate ST3250310/18AS,7200 rpm,8Mb cache,S-ATA
|
374.33
|
|
Дисковод 3.5”
|
FDD 3.5” 1.44Mb Samsung Black; (чорна панель)
|
52.54
|
|
Оптичний привід
|
LG DVD-RW GH22NS40, S-ATA, white
|
189.42
|
|
Шлейф HDD
|
Шлейф SATA (2шт)
|
23.78
|
|
Відеокарта
|
512Mb GeForce 9500GT Super, DDR2, 128bit.Retail, Palit
|
511.28
|
|
Корпус
|
Link World 350W Titan bl-green
|
269.58
|
|
Клавіатура
|
SVEN Standart 303; PS/2; 107 клавіш Win`98; Slim;
Red Russian+Ukr
|
32.87
|
|
Комплектуючі
|
Опис
|
Ціна, грн
|
|
Акустика
|
Genius SP-S110 white
|
51.54
|
|
Мишка
|
A4 Tech OP-50D PS/2 Optical, White
|
39.92
|
|
Коврик
|
Mouse Pad з кори пробкового дубу; прямокутний
|
6.47
|
|
Монітор
|
19’’ ASUS AS VW 193D Wide MM
TFT
|
994.17
|
|
Всього
|
|
3541.86
|
Вартість 2
комп'ютерів – 7083.72 грн.
Таблиця 1.2 -
Додаткове устаткування (1 варіант)
|
Устаткування
|
Опис
|
Ціна, грн
|
|
Модем
|
D-Link DSL-2540U/RU ADSL2+ Ethernet 4 port
switch (w/splitter)
|
336.6
|
|
Джерело безперебійного живлення
|
Powercom BNT-600AP, Black Knight 600 AP (360W),
USB
|
427.28
|
|
Принтер
|
CANON PIXMA iP1900
|
466.13
|
|
Сканер
|
Canon CanoScan LiDe25
|
538.67
|
|
Телевізор
|
Samsung
|
1278
|
|
Осцилограф
|
LG
|
1330
|
|
Разом
|
|
4402.18
|
Загальна вартість устаткування: 10765.9 грн.
Для проектування складних систем необхідно мати альтернативи,
тобто варіанти вибору. Для здійснення оптимального вибору з декількох
варіантів, за критеріями оптимальності, було спроектовано два варіанти
комп'ютерного устаткування.
Другий варіант
Таблиця 1.3– Устаткування (2 варіант)
|
Комплектуючі
|
Опис
|
Ціна, грн
|
|
Материнська плата
|
BIOSTAR NForse 520-A2 NF 520, AM2 FSB1000, ATX,
4*DDR2 1*PCI Expres
|
439.45
|
|
Процесор
|
Athlon 64 x2 5200+ AM2 box, ADA5200CSBox
|
565.68
|
|
Пам'ять
|
2 Gb DDR2 SDRAM PC6400 Kingston
|
215.05
|
|
Жорсткий диск
|
320.0 Gb; SEAGATE Barracuda 7200; SATA2; 7200rpm; 16Mb cache
|
486.2
|
|
Відеокарта
|
512 Mb GeForce 9500GT; HDCP+DVI; Palit
|
525.05
|
|
Оптичний привід
|
DVD+RW/-RW Super Multi CD/DVD Writer LG
GH22-NS30-B, Black bulk SATA
|
215.56
|
|
Корпус
|
HuntKey C602, Black/Black/Red; Midi Tower; 400W
ATX 2.0 20+4pin; sata; 5.25’’x4, 3.5’’x2e+5i; 80 mm fa
|
450.67
|
|
Акустика
|
EDIFIER R18 black/silver
2x2w RMS дерево
|
128.61
|
|
Клавіатура
|
CHICONY KBP-2971, Black; PS/2;
|
61.2
|
|
Мишка
|
A-4 Tech X6-55D2, PS/2+USB Laser black
|
90.36
|
|
Монітор
|
19’’ Samsung SM 943N Black
TFT 5ms
|
1258.43
|
|
Коврик
|
POD MISHKU
|
9.78
|
|
Шлейф
|
Interface cabel S-ATA
|
8.5
|
|
Шлейф
|
СС-S-ATA-PS
|
9.35
|
|
Всього
|
|
4463,89
|
Вартість 2 комп'ютерів – 8927,78 грн.
Таблиця 1.4 - Додаткове устаткування (2 варіант)
|
Устаткування
|
Опис
|
Ціна, грн
|
|
Модем
|
D-Link DSL-2540U/RU ADSL2+ Ethernet 4 port
switch (w/splitter)
|
336.6
|
|
Джерело безперебійного живлення
|
Powercom BNT-600AP(USB); AVR, Black Knight PRO
600 VA (360W), 155-275V, USB
|
435.29
|
|
Принтер
|
CANON iP1900
|
453.20
|
|
Сканер
|
MUSTEC BearPow 2448TA+; 1200x2400dpi; 48/48bit;
USB+Слайд-модуль
|
603,08
|
|
Телевізор
|
Телевизор LG
|
1100
|
|
Осцилограф
|
LG
|
960
|
|
Разом
|
|
3913,67
|
Загальна вартість
устаткування: 12841,45 грн.
Для проектування
офісу ми приймаємо перший план, тому що в другому
плані вартість устаткування більше ніж у першому, а для нас необхідно
зекономити на всьому, хоча по застосуванню встаткування із першої таблиці ні
чим не уступає другому й гарантія на експлуатацію дається однакова.
1.5 Опис проектування офісу та його інтер'єрів
План офісу
розроблявся, виходячи з кількості співробітників, корисної площі офісу і
заданого встаткування (2 комп'ютери, 2 принтери, 2 сканери, 1 блок
безперебійного живлення, модем, телевізор, осцилограф). На плані показанні
меблі, комп'ютери, електротехнічні арматури (світильники, вимикачі, розетки),
вікна й двері.
1.5.1 План офісу
з указівкою розмірів
Перший варіант
Рисунок 1.1 -
План офісу в 2D з розмірами
Для проектування
складних систем необхідно мати альтернативи, тобто варіанти вибору. Для
здійснення оптимального вибору з декількох варіантів, за критеріями
оптимальності, було спроектовано два варіанти офісу
Другий варіант
Рисунок 1.2 -
План офісу в 2D з розмірами
Скористуємося
другим варіантом.
Рисунок 1.3 -
План офісу в 2D з меблями
Рисунок 1.4 -
План офісу в 2D з доріжками, газонами,
ємністю для поливу газону
1.5.2 Об'ємне
проектування будинку
Рисунок 1.5 – 3D вид створеного офісу
1.5.3 Інтер'єр
усіх кімнат
Рисунок 1.6 –
Приймальня в 3D виді
Рисунок 1.7 -
Кімната програмістів в 3D виді
Рисунок 1.8 -
Кімната менеджера в 3D виді
Рисунок 1.9 -
Кімната відпочинку в 3D виді
Рисунок 1.10 -
Туалет в 3D виді
1.5.4 Територія
проектованого будинку
Рисунок 1.11 - План
офісу в аксонометрії
Рисунок 1.12 -
План офісу в аксонометрії
1.6
Електропостачання офісу
1.6.1 Місце
розміщення в офісі електротехнічних арматур



Рисунок 1.13 –
Схема розміщення електротехнічних арматур
1 – щит
2 – коробка
3 – розетка
4 – вимикач
1.6.2 Схема
електропостачання
Наступний етап,
полягає в необхідності, показати на плані офісу електротехнічні арматури
(світильники, вимикачі, розетки, електричні сполучні коробки) .
На (рис.1.14)
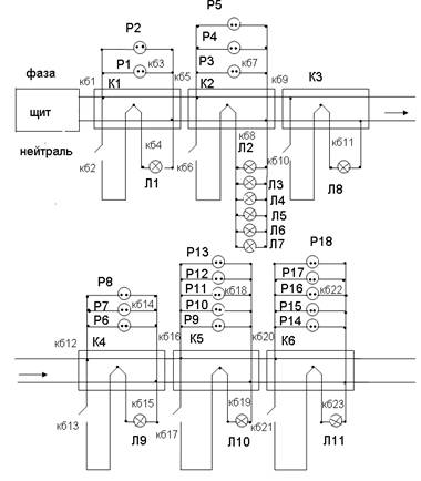
показана схема підключення світильників і розеток моделі офісу.
Рисунок 1.14 –
Електропроводка
К1 - Коробка 1
К2 - Коробка 2
К3 - Коробка 3
К4 - Коробка 4
К5 - Коробка 5
К6 - Коробка 6
Л1 - Люстра 1 у
приймальні, ставиться до коробки 1
Л2, Л3, Л4, Л5,
Л6, Л7 - Люстра 2 у кімнаті відпочинку, ставиться в коробці 2
Л8 – Люстра 3 у
туалеті, ставиться до коробки 3
Л9 - Люстра 4 у
кабінеті менеджера, ставиться до коробки 4
Л10 - Люстра 5 у
робочому приміщенні, ставиться до коробки 5
Л11 - Люстра 6 у
робочому приміщенні, ставиться до коробки 6
Л11 - Люстра 5 у
робочому приміщенні, ставиться до коробки 6
Р1, Р2 - Розетка
1, 2 у приймальні, до них підключаються настільна лампа (30 Вт), осцилограф (30
Вт)
Р3, Р4, Р5 –
Розетка 3, 4, 5 у кімнаті відпочинку, до них підключаються телевізор (150 Вт),
малі електроприлади (100 Вт)
Р6, Р7, Р8 -
Розетка 6, 7, 8 у кабінеті менеджера, до них підключаються настільна лампа (30
Вт).
Р9, Р10, Р11,
Р12, Р13 - Розетка 9, 10, 11, 12, 13 у робочому приміщенні, до них
підключаються монітор (100 Вт), системний блок (230 Вт), блок безперебійного
живлення (12 Вт), ), принтер (100 вт), сканер (20 Вт).
Р14, Р15, Р16,
Р17, Р18 - Розетка 14, 15, 16, 17, 18 у робочому приміщенні, до них
підключаються монітор (100 Вт), системний блок (230 Вт), модем(5 Вт), принтер
(100 вт), сканер (20 Вт).
1.6.3 Розрахунок
кабельної продукції для електропостачання
Для обчислення кабельної продукції
необхідно скористатися наступними формулами:
1. Визначення струму в кабелі
I (A) = P (Вт) / U (B)
2. Перший закон
Кірхгофа
I = I1 + I2 + I3…In
3. Площа поперечного
переріза кабелю
S = I / δ
Матеріал -
алюміній.
Таблиця 1.5 -
Елементи електроустаткування
1.6.4
Розрахунок
струму в окремих частинах схеми електропостачання
Для обчислення струму в окремих частинах схеми
електропостачання,
необхідно скористатися наступними формулами:
1. Визначення струму в кабелі
I (A) = P (Вт) / U (B)
2. Перший закон
Кірхгофа
I = I1 + I2 + I3…In
Таблиця 1.6 - Розрахунок
струму в окремих частинах схеми електропостачання
1.6.5 Розрахунок споживаної
електроенергії в середньому за день й за місяць. Оплата електроенергії
Таблиця 1.7 -
Витрата електроенергії
Споживання
електроенергії за добу:
W = Pcp*t/1000 = 12,53 кВт*ч
Добові витрати= W*0,2436 = 3,05 Грн, де 0,2436 – плата за 1 кВт*ч
Витрати за місяць
= добові витрати *22=67,15 Грн, де 22 – це кількість робочих днів за місяць
На рисунку 1.15
представлений графік споживання електроенергії офісом.

Як видно з
гістограми, максимальне споживання електроенергії з 15 до 18 годин - у цей час
працює все встаткування й горить світло.
1.7 Висновки щодо
проекту офісу
У графічному
моделюванні був змодельований офіс, діяльність якого направлена на САПР -
хімія. Офіс займає одноповерхову будівлю:
В офісі
знаходиться п’ять кімнат:
Перша -
приймальня;
Друга – кімната
відпочинку;
Третя – туалет;
Четверта –
кімната менеджера;
П’ята – робоче
приміщення;
Для офісу було
підібрано відповідне встаткування: два комп'ютери, два принтери, два сканери, блок
безперебійного живлення, модем, телевізор й осцилограф, на загальну суму 10765.9 грн..
Також було
розраховане енергоспоживання офісу й розроблена схема електропроводки. За
результатами розрахунків на електропроводку офісу буде потрібно 37 метрів
кабелю, а сумарний максимальний розрахунковий струм (із запасом) буде становити
близько 9 амперів. Добове споживання електроенергії - близько 12,53 квт*ч, що
буде коштувати = 3,05 грн на добу або 67,15 грн. на місяць.
У звіт до проекту
також включений:
1. План офісу;
2. Скріншоти
3D-проекти офісу;
3. Звіт по
підбору встаткування;
4. Схема
електропроводки;
5.Розрахунки
енергоспоживання й навантаження на силові елементи.
2.1 Завдання 1.1
Варіант 20
Визначити
невідомі змінні(Xi)
1.
використовуючи
функцію Find;
2.
матричним
способом і використовуючи функцію lsolve. Зрівняти результати.
Система лінійних
рівнянь
Рішення засобами
Excel
Щоб вирішити
систему рівнянь, використаємо команду Пошук рішення. Однак спочатку формується
таблиця початкових даних (рис.2.1):
Правильність
рішення системи рівняння можна простежити, якщо включити режим відображення
формул (рис. 2.2):
Рисунок 2.2 -
Дані в режимі відображення формул
Для рішення
рівняння, необхідно заповнити вікно "Пошук рішення" у такий спосіб
(рис. 2.3)
Рисунок 2.3 -
Вікно пошуку рішень
При натисканні
клавіші "Виконати" на екрані з'являється наступне вікно й таблиця з
рішенням (рис 2.4)
Рисунок 2.4 -
Вікно з рішеннями
Рисунок 2.5 -
Результат рішення
Перевірка:
Рисунок 2.6 –
Рисунок перевірки
Результат: x1=10.0; x2=1.0; x3=10.0; x4=1.0
Рішення засобами
MathCAD
Рішення даної
системи рівняння можна знайти за допомогою розв'язуваного блоку Given...Find.
Функція Find
шукає точне рішення системи рівнянь, записаної після слова Given.
Результат:
Перевірка:
Щоб перевірити
отримані значення підставляємо в дану систему рівнянь.
Дане рівняння
вирішили різними методами й засобами в результаті одержали однакові відповіді,
але методи рішення відрізняються. Тому що за допомогою програми Math CAD
неможливо зрозуміти процес рішення задачі, що дозволяє зробити MS Excel.
Варіант 11
Перетворити
модель, задану у вигляді системи нелінійних рівнянь до виду f 1(x) = y й f 2
(y)= x. Побудувати їхні графіки й визначити початкове наближення рішення.
Вирішити систему нелінійних рівнянь.
Рішення засобами
Excel
Знайдемо крапку
перетинання y й x. Тому що sin перебувають у проміжку від -1 до 1, то можна
скласти наступні нерівності:
cos(x+0,5)+y=1
cos(x+0,5)=1-y
-1<1-y<1
-2<-y<0
0<y<2
Siny-2x=2
Siny=2+2x
-1<2+2x<1
-3<2x<-1
Після побудови й
настроювання графіків був зроблений висновок, що доцільно задатися інтервалами,
показаними на рис.2.6
Рисунок 2.7-
Інтервали пошуку рішення
Далі необхідно
побудувати таблицю й графік функцій використовуючи отримані обмеження.
При побудові
графіка необхідно використати дані значення (рис. 2.7)
Рисунок 2.8-
Вибір вихідних даних
Натискаємо
"Далі", уводимо назву графіка, поміщаємо діаграму на наявному аркуші,
натискаємо "Готово". Після виконання всіх операцій одержимо графіки
функцій (рис.2.8).
Рисунок 2.9 -
Побудовані графіки функцій
Далі для знаходження
точного рішення необхідно заповнити таблицю з вихідними даними й розрахунковими
формулами.
Для цього
необхідно заповнити таблицю з вихідними даними й розрахунковими формулами.
Задаємо початкові значення х и y рівні "0" (рис. 2.10)
Рисунок 2.10 -
Таблиця вихідних даних
Необхідно
включити режим відображення формул, для перевірки правильності рішення (рис. 2.11)
|
x=
|
-0,950251400924437
|
|
|
|
|
=COS(B7+0,5)+B8
|
|
y=
|
0,0996621086530645
|
|
2
|
|
|
=SIN(B8)-2*B7
|
Рисунок 2.11 -
Дані в режимі відображення формул
Для того щоб
вирішити рівняння, скористаємося вікном "Пошук рішення" (рис. 2.12)
Рисунок 2.12 -
Вікно пошуку рішень
При натисканні
клавіші "Виконати" на екрані з'являється наступне вікно й таблиця з
рішенням (рис. 2.13).
|
x=
|
-0,95025
|
|
|
|
|
1
|
|
y=
|
0,099662
|
|
2
|
|
|
2
|
Рисунок 2.13 -
Результат рішення
Результат: x=-0,95025, y=0,099662
Рішення засобами
MathCAD
Систему
нелінійних рівнянь можна знайти за допомогою блоку Given...Find[3].
Де -
початкові значення. Функція Find шукає точне рішення системи рівнянь, записаної
після слова Given.
Результат: x=-0,95, y=0,1
Перевірка:
Отримані значення
підставляємо в дану систему рівнянь
Результати
збігаються значить отримані розрахунки різними методами й засобами були
зроблені правильно. Але при порівнянні методу рішення в даних програмних
продуктах, з'являються відмінності. MathCAD дає можливість швидко й просто
одержати результат, а Excel у відмінності від MathCAD дає користувачеві
можливість, зрозуміти процес рішення задачі, методом градієнтного,
імовірнісного пошуку. Так само більш чітко видно значення початкових умов для
рішення задачі.
2.3 Завдання 2.1
Задача А.
Вирішити задачу
проектування конусоподібного фільтра.
Із круглої
заготівлі (r = 2) фільтрованого паперу вирізують сектор з кутом
, потім з іншого роблять фільтр у вигляді конуса. Необхідно
розрахувати величину кута
, при якій забезпечується
максимальний об'єм конуса.
R - радіус основи
конуса; h - висота конуса; r - радіус заготівлі фільтрованого паперу.
Рішення засобами
Excel
Спочатку ми
задаємо цільову функцію, потім визначаємо для неї обмеження, вибираємо
змінювані змінні та, задавши перші наближення для змінних, виконуємо Пошук
рішення.
Як цільова
функція виберемо рівняння об'єму конуса умови незаперечності змінних величин, і
кут Q не повинен перевищувати 2 ПІ .
Рисунок 2.14 -
Дані в режимі відображення формул
Застосувавши
Пошук рішення:
Рисунок 2.15 - Вікно
пошуку рішення
При натисканні
клавіші "Виконати" на екрані з'являється наступне вікно й таблиця з
рішенням (рис. 2.16):
Рисунок 2.16 -
Результат рішення
Рішення засобами
MathCAD.
Задача зведена до
максимізації функції однієї змінної.
Максимум цільової
функції можна знайти, використовуючи:
Потужним способом
MathCAD для рішення оптимізаційних задач є використання вбудованих функцій
Minimize та Maximize. Функція Maximize використовується у вигляді:
Maximize (цільова
функція, параметр1, параметр2, ..., параметрN )
Вирішимо нашу
задачу використовуючи функцію Maximize
Висновок:
Отримані в результаті обчислень різними програмними продуктами (MathCAD ,Excel)
значення повністю ідентичні, що говорить про вірогідність рішення. Так само
наочно видно, що обчислення в MathCAD більше громіздкі, але з математичної
точки зору більше правильні.
Задача Б.
Проектування 2 -х
конусоподібних (пожежних) цебер.
Із круглої
заготівлі жерсті (r = 3) вирізують сектор з кутом , потім з іншого роблять
цебро у вигляді конуса й з вирізаного сектора теж (тобто 2-а цебра). Необхідно
розрахувати величину кута θ,
тобто Як необхідно розкроїти заготівлю, щоб об'єм 2-х цебер був максимальним.
R -радіус основи
конуса; h - висота конуса; r - радіус заготівлі
Рішення засобами
Excel.
Для рішення даної
задачі необхідно заповнити таблицю з вихідними даними й розрахунковими
формулами (рис. 2.17).
Рисунок 2.17 - Дані
в режимі відображення формул
Об'єм першого
сектора розраховується по формулі:
Об'єм другого
сектора розраховується по формулі:
Далі задається
початкове значення кута
=0, установлюється цільовий осередок
(загальний об'єм). Викликається "Пошук рішень" (рис. 2.17). Тому що
це коло, то обмеження для кута
наступні:
.Нижче наведені відповідні таблиці .
Рисунок 2.18-
Вікно пошуку рішень
Виконавши даної
операції, було отримано наступне рішення (рис. 2.19, 2.20).
Рисунок 2.19 –
Вікно результату пошуку рішень
Рисунок 2.20 - Результат
рішення
Рішення засобами
MathCAD
Для рішення даної
задачі необхідно заповнити таблицю з вихідними даними й розрахунковими
формулами, представленими вище.
А далі
скористаємося вже відомою структурою Given.
Висновок:
Отримані в результаті обчислень різними програмними продуктами (Excel, MathCAD)
значення повністю ідентичні, що говорить про вірогідність правильного рішення.
Задача 4
Для зберігання пального потрібно спроектувати бак (див. Рис). Готовий бак
має вигляд циліндра з конічними переднім і заднім днищами . Обсяг бака 1 м2. Потрібно виготовити бак з мінімальної кількості матеріалу. Які повинні бути значення
L1, L2, B , щоб виконувалася ця вимога.
Рисунок 2.21
Рішення засобами
Excel
Рисунок 2.22 - Таблиця початкових даних
Рисунок 2.23 -
Дані в режимі відображення формул
Далі необхідно
скористатися вікном "Пошук рішення".
Рисунок 2.24 -
Вікно пошуку рішень
Рисунок 2.25 -
Результати рішення
Результат: R=0.28 h=0.28 l=0.28
2.4 Завдання 2.2
Функція об'єкта
задана неявно рівнянням
,
,
. Побудувати графіка залежності
функції
на заданому відрізку
й знайти ee мінімум і
максимум з точністю
F(x,t)=
-0,2 < t < 1,4
-1,331 < x < -1,159
Рішення засобами
Excel
Щоб вирішити
задачу необхідно заповнити таблицю. Задаємо значення t=[-0,2;1,4]. Задаємо функцію f(x), у якій
початкове значення х буде дорівнює "0".
Далі
скористаємося вікном "підбор параметра":
Рисунок 2.26-
Вікно підбора параметра
Рисунок 2.27 -
Вікно результату підбора параметра з результатом
Рисунок 2.28 -
Результат рішення
Отримане значення
х необхідно перенести в наступний осередок і на це значення х зробити підбор
параметра.
Рисунок 2.29 -
Вікно підбора параметра
Така дія
необхідно виконувати доти, поки t не буде дорівнювати "1,4". Далі
необхідно побудувати графік за значеннями x й t (рис. 2.30 ):
Рисунок 2.30 -
Побудова графіка
Для визначення
максимуму й мінімуму функції необхідно заповнити таблицю з вихідними даними й
розрахунковими формулами. Задаємо початкові значення x й y рівні "1"
|
max
|
|
|
|
|
min
|
|
|
|
|
|
t1
|
-0,2
|
|
|
|
t1
|
-0,2
|
|
|
|
|
t2
|
1,4
|
|
|
|
t2
|
1,4
|
|
|
|
|
x1
|
-1,33
|
|
|
|
x1
|
-1,33
|
|
|
|
|
x2
|
-1,159
|
|
|
|
x2
|
-1,159
|
|
|
|
|
результат
|
|
zf
|
|
|
результат
|
|
zf
|
|
|
x
|
1
|
|
1
|
|
x
|
1
|
|
1
|
|
|
t
|
1
|
|
|
|
t
|
1
|
|
|
|
Рисунок 2.31 - Таблиця початкових даних
Максимальні й
мінімальні значення необхідно знайти за допомогою вікно Пошук рішень.
Рисунок 2.32 -
Вікно пошуку рішень на мінімум
При натисканні
клавіші "Виконати" на екрані з'являється наступне вікно й таблиця з
рішенням.
|
min
|
|
|
|
|
|
t1
|
-0,2
|
|
|
|
|
t2
|
1,4
|
|
|
|
|
x1
|
-1,33
|
|
|
|
|
x2
|
-1,159
|
|
|
|
|
результат
|
|
zf
|
|
|
x
|
-1,33
|
|
-0,6534
|
|
|
t
|
0,5225
|
|
|
|
|
|
|
|
|
Рисунок 2.33 – Результат
мінімуму функції
Рисунок 2.34 -
Вікно пошуку рішень на максімум
При натисканні
клавіші "Виконати" на екрані з'являється наступне вікно й таблиця з
рішенням.
|
max
|
|
|
|
|
|
t1
|
-0,2
|
|
|
|
|
t2
|
1,4
|
|
|
|
|
x1
|
-1,33
|
|
|
|
|
x2
|
-1,159
|
|
|
|
|
|
результат
|
|
zf
|
|
|
x
|
-1,159
|
|
0,000393
|
|
|
t
|
1,4
|
|
|
|
|
|
|
|
|
|
|
|
|
|
|
|
Рисунок 2.35 -
Результат максімум функції
Результат: max x = -1,159 t = 1,4
min x = -1,33 t = 0,5225
Розрахункові дані
одержали тільки за допомогою програми MS Excel. Тому що функція є складної, знайти
її максимум і мінімум можна тільки через підбор параметрів з попереднього
значення х, що не вийде зробити в Math CAD.
ВИСНОВКИ
Мета й завдання
курсової роботи з теми "Проектування офісу програмування" досягнуті в
повному обсязі: систематизація й закріплення теоретичних знань, отриманих при
вивченні навчальної дисципліни "Основи автоматизованого проектування
складних систем" і придбання навичок у використанні сучасних інформаційних
технологій, а також придбання й закріплення навичок самостійної роботи.
У математичному
моделюванні були вирішені всі задані завдання за допомогою Excel, MathCAD. Всі
отримані результати вирішені двома програмами сходяться значить отримані
розрахунки були зроблені правильно. Порівнюючи методи рішення можна сказати, що
програма MathCAD зручна своєю простотою й швидкістю у відмінності від Excel, що
у свою чергу дозволяє зрозуміти процес рішення задачі.
У графічному
моделюванні був змодельований офіс, сфера діяльності якого - САПР - хімія. План
офісу розроблявся, виходячи з кількості співробітників, заданої корисної площі
та встаткування (2 комп'ютери, 2 принтери, 2 сканери, 1 блок безперебійного
живлення, телевізор, осцилограф). На плані показані меблі, комп'ютери,
електротехнічні арматури (світильники, вимикачі, розетки), вікна й двері.
Розроблений дизайн офісу (килимове покриття, кольори стін, форми вікон і т.д.).
На території крім офісу, розміщені газони, доріжки, під'їзд для автомобіля.
Розташовано ємність для поливу газону на плані території офісу. Деякі 3D моделі
було закачано з Інтернету. Було зроблено альтернативний вибір комп'ютерного
забезпечення. Корисна площа офісу займає 34,5 м² , вся площа під ділянку – 66,2 м². У даній курсовій роботі є
недоліки, які можна в подальшому модернізувати, наприклад, електропроводка в офісі.
СПИСОК
ВИКОРИСТАНИХ ДЖЕРЕЛ
1. Конспект лекцій по дисципліні
"Основи автоматизованого проектування складних систем". Лектор
Карчевскій В.П.
2. Інформатика: Базовий курс/
С.В.Симонович ізд. - Спб.: Пітер, 2001.-640з
3. Леонтьев В.П. Новітня
енциклопедія персонального комп'ютера. - М.: Олма-пресс Утворення, 2004. - 734
с.: іл.
4. Комп'ютер з нуля. Книга + Відеокурс:
учеб. пособ/ під ред. Ф.Н. Рєзникова. - М.:Кращі книги, [2005]. - 384 с.: іл. +
[1] CD. іл.
5.
