Технология размещения, укладки и хранения товаров на складе
Содержание
Введение...................................................................................................................3
1 Типовые
способы обслуживания оптических приводов (ОП).........................5
1.1 Подключение
оптических приводов................................................................5
1.2 Установка
драйвера ОП....................................................................................5
1.3
Выбор ОП…………………………………………………...............................6
1.4
Очистка оптики в ОП........................................................................................8
2 Техническая
диагностика ОП............................................................................11
2.1
Проверка сервосхем........................................................................................11
2.1.1
Проверка автофокусировки.........................................................................11
2.1.2
Проверка автотрекинга................................................................................12
2.2
Проверка оптического блока..........................................................................13
2.2.1
Проверка наклона линзы..............................................................................13
2.2.2
Проверка дифракционной решетки............................................................15
2.3.
Проверка транспортного механизма.............................................................16
2.3.1
Диагностика двигателя................................................................................16
2.3.2
Проверка на износ втулок............................................................................16
2.3.3
Проверка на “мертвую точку”.....................................................................18
2.3.4
Проверка перпендикулярности плоскости столика к своей оси..............18
2.3.5
Проверка высоты столика............................................................................19
2.3.6
Проверка позиционирования лазерной головки........................................20
2.3.7 Проверка
каретки..........................................................................................21
3
Типовые неисправности и способы их устранения.........................................23
3.1
Неисправности электронных компонентов..................................................23
3.1.1
Операционная система не обнаруживает оптический привод.................23
3.1.2
При нажатии на кнопку извлечения диска ,диск не открывается............24
3.2
Неисправности оптической системы.............................................................24
3.2.1
Привод работает неустойчиво и информация читается с ошибками......24
3.2.2
Нет чтения с дисков, загрузка диска есть..................................................25
3.2.3
Частые сбои устройства при чтении дисков..............................................26
3.3
Механические неисправности........................................................................26
3.3.1
Лоток привода закрывается и после этого сразу же открывается...........26
3.3.2
Лоток закрывается, но диск не фиксируется, либо лоток закрывается не полностью
или неуверенно, с громким скрежетом............................................27
3.3.3
Нет чтения, диск не раскручивается...........................................................27
4
Тестирование ОП ASUS DRW-2014L1T с помощью пакета программ Nero 6.6............................................................................................................................28
4.1 Nero Info Tool версии
4.4.0.............................................................................29
4.2 Nero CD - DVD Speed версии 4.7.0................................................................30
4.3
Тест поверхности диска…………………....…..............................................33
4.4
Подведение итогов тестирования..................................................................34
Заключение.............................................................................................................36
Список
литературы................................................................................................37
Введение
Неисправности оптических приводов устраняются в основном
путем глобальной замены «оптики» или «электроники», что является достаточно
дорогим удовольствием. Структурированный подход и некоторые знания о данном
устройстве помогут локализовать проблему и найти неисправную деталь. Выход из
строя привода – явление нередкое, а его ремонт оказывается довольно
проблематичным для владельца. Типичная ситуация, когда специалисты сервисного
центра предлагают либо замену платы электроники, либо замену лазерной
считывающей головки. Собственно ремонт в этом случае оказывается немногим
дешевле нового устройства и становится нецелесообразным. Что предпринять в
такой ситуации? Можно ли избежать глобальной замены «электроники» или «оптики»?
Вполне, если применить определенный системный подход и
локализовать неисправность. Все, что для этого необходимо, – классифицировать
неисправность по характерным признакам. Звучит просто, но требует представления
о работе всех элементов привода и собственно знания характерных признаков
неисправностей. Для этого рассмотрим, как именно происходит взаимодействие
различных элементов привода, и попутно выделим их, характерные неисправности опыт
показывает, что большая часть неисправностей ОП связана с неправильной работой
механических элементов. Механические элементы привода выполняют две главные
функции загрузку и выгрузку диска из дископриемника и перемещение
звукоснимателя по полю диска. Выполнение этих функций обеспечивается
соответствующими двигателями и схемами их привода. В соответствии со структурой
этого достаточно сложного устройства можно назвать три основные группы его
«болезней»:механические неисправности; неисправности оптической системы;
неисправности электронных компонентов. В данной курсовой работе я привел методы
типового обслуживания ОП, технического обслуживания, проверки оптических приводов,
типичные неисправности оптических приводов и тестирование оптического привода
ASUS DRW-2014L1T с помощью пакета программ Nero 6.6. Многие серьезные
неисправности оптического привода можно устранить собственными руками. Главное захотеть,
и не побояться экспериментировать.
1 Типовые способы обслуживания
1.1 Подключение оптических приводов
На сегодняшний день существует несколько способов
подключения оптических приводов. Первый способ основан на том, что один канал
интерфейса IDE может поддерживать два встроенных устройства. оптический привод
подключают к плате ввода-вывода через интерфейс IDE вместе с жестким диском по
принципу master/slave. Однако в этом случае снижается скорость обмена данными с
жестким диском. Одним из способов решения этой проблемы является подключение
устройств ОП к различным каналам одного интерфейса EIDE или к двум различным
котроллерам IDE. Если ОП имеет SCSI интерфейс, то его соответственно подключают
к SCSI контроллеру. Другим подходом является применение 32- битных драйверов
дисководов ОП вместо используемых в настоящее время 16- битных. Существует
также возможность подключения дисководов через контроллер звуковой карты. Также
не следует забывать, что современные материнские платы могут содержать
встроенные контроллеры SCSI и IDE, что вообще исключает необходимость в
дополнительной плате ввода-вывода для подключения дисководов CD-ROM.
1.2 Установка драйвера ОП
Драйвер является обязательным компонентом программного
обеспечения любого устройства, которое тем или иным способом может быть
установлено или подключено к персональному компьютеру. Основная задача драйвера
заключается в предоставлении стандартного доступа к устройству другим
программам и операционной системе.По окончании загрузки операционная система
обнаружит установленное в компьютер новое устройство. В появившемся диалоговом
окне мастера установки нового оборудования нажмите «Далее». В следующем окне
выберите пункт «Произвести поиск подходящего драйвера для устройства
(рекомендуется)» и нажмите «Далее». В окне с предложением указать
дополнительные источники для поиска нажмите «Далее». После того, как мастер
установки найдёт на диске необходимый драйвер, в окне, подтверждающем это,
нажмите «Далее». Мастер установки приступит к копированию и установке
компонентов драйвера. После завершения копирования в появившемся окне с
уведомлением об успешной установке драйвера нажмите «Готово». Выбрать
оптический привод несложно, если опираться на несколько базовых характеристик.
1.3 Выбор ОП
Сложно себе представить современный настольный компьютер
или ноутбук без оптического привода. Ведь именно на CD-и DVD-дисках обычно
располагаются дистрибутивы, музыкальные коллекции и новые фильмы. Особенно
актуально наличие привода при сбое в работе ПК. Восстанавливать систему на
наглухо убитой вирусами или кривыми руками машине без CD/DVD-ридера будет
чрезвычайно сложно. Для обыкновенного ПК оптимален выбор внутреннего
оптического привода – удобно и выгодно во всех отношениях. Если ваш компьютер
имеет компактный корпус, например формат Barebone, стандартный внутренний
привод может там не поместиться. Некоторые производители, в частности Lite-On,
выпускают укороченные и облегченные драйвы. При этом длина устройства – 170 мм
(против стандартных 198 мм), а вес – 750 г (против 900-1000 г стандартного
веса). Совершенно точно не стоит покупать обычный внутренний привод владельцам
ноутбуков. Специально для них выпускаются сверхтонкие (slim) драйвы, но их
установка собственными силами – довольно ответственная задача. Лучше
воспользоваться услугами сервисного центра от производителя вашего мобильного
ПК. Длина такого плоского привода – 130 мм, вес – чуть меньше 120 г, цена высокая.
С интерфейсами все довольно просто. Подавляющее большинство приводов имеют
IDE-разъем (parallel ATA). Для подключения используются 40- или 80-жильные
шлейфы. В последнее время стали появляться модели с SATA-интерфейсом (вместо
шлейфа – компактный кабель). Покупать их следует лишь в том случае, если у вас
в компьютере современная материнская плата. Теоретически SATA быстрее PATA, но
практически скорости приводов абсолютно не отличаются. Компаний, выпускающих
внешние оптические приводы, не так уж и много. Внешний привод стоит дороже, а
по функциональности чаще всего проигрывает внутреннему. Зато экономичный
вариант – покупка одного привода на несколько ПК или на офис. В этом случае
мобильность и быстрота подключения оправдывают высокую цену. Другое дело –
обладатели ноутбуков. Встроенный привод может либо отсутствовать, либо не
выполнять требуемые функции. Покупка и установка тонкого внутреннего драйва
обойдется дорого. В данном случае рекомендуется именно внешний привод. Самые
бюджетные варианты очень похожи на своих внутренних братьев, особенно угловатым
дизайном. Более дорогие приводы могут похвастать стильным корпусом и наличием
нескольких интерфейсов для подключения к компьютеру. Наконец, и среди внешних
драйвов есть slim-модели. Они позиционируются как стильные аксессуары к
ноутбукам и имеют порой сногсшибательный вид и цену. Сегодня наибольшее
распространение получили модели, подключаемые к ПК через USB-шину. Иногда
встречаются драйвы с беспроводным FireWire (IEEE1394) разъемом, а также
комбинированные USB+FireWire. Максимальная скорость передачи данных по USB –
480 Мбит/с, по FireWire – 400 Мбит/с. Даже самые быстрые приводы загружают
канал не более чем на 200 Мбит/с.Особенностью внешних оптических приводов
является то, что им необходимо дополнительное питание. Известность и доверие
пользователей заслужить непросто и, покупая товар, люди все чаще обращают
внимание на бренд. Все бренды можно разделить на культовые, основные и
малоизвестные. К культовым в первую очередь относится Plextor. Именно он в
течение нескольких лет считается королем записи. Это сказывается в первую
очередь на ценах – они сравнительно высоки. Но взамен Plextor гарантирует
предельные скорости работы при высокой надежности и долговечности. Свежий
претендент на пальму первенства – NEC. Несколько последних моделей этой
компании оказались весьма удачными и завоевали большую популярность среди
российских пользователей. Главный их конек – надежность. Основные бренды
производителей оптических приводов после вышеперечисленных, на которые имеет
смысл ориентироваться сегодня: BenQ, TSST, Toshiba, HP.
1.3 Очистка оптики в ОП
Луч лазера, отражается от призмы проходит сквозь
фокусирующую линзу и падает на диск. Отразившись от диска, луч возвращается,
проходит сквозь призму и падает на считывающий фотодетектор. Как видите,
загрязнение линзы или призмы вдвойне ухудшают прохождение луча, так как два
раза оказываются на его пути. Попадание грязи на оптику лазера является наиболее
распространенной причиной прекращения нормальной работы привода: аппарат
"заикается", не "распознает" или не раскручивает диски.
Загрязнение линзы объектива самая частая и простая
неисправность. Пыль лучше всего сдуть с поверхности линзы при помощи аэрозольного
баллончика. От головки баллончика отходит тонкая пластиковая трубочка,
позволяющая направить воздух в нужное место. Для очистки лазера направьте
трубочку на линзу и "подуйте" на лазер в течение 1-2 секунд.
Поверхность линзы можно очистить и ватной гигиенической палочкой. Если
загрязнение сильное, то можно воспользоваться этиловым спиртом. Не нажимайте
сильно - этим вы сотрете специальный просветляющий слой на поверхности линзы.
Да и механизм подвески линзы очень деликатный, нажатием его можно повредить. Внимание:
ни в коем случае не используйте ацетон - линза сделана из пластмассы и вы
безнадежно испортите ее. Если очистка поверхности линзы не помогла, то,
вероятно, пыль попала внутрь лазера, на поверхность призмы. Это более сложное
загрязнение, но и с ним можно справиться. Но для этого придется разобрать
лазер. Отжав защипы, снимите предохранительную крышечку и вы увидите следующее:
Сложное сооружение около линзы - специальная электромагнитная подвеска. Она
является частью системы автоматической фокусировки луча. При воспроизведении,
электромагнит непрерывно корректирует положение линзы, поддерживая постоянным
расстояние между линзой и диском. Это необходимо, поскольку при вращении диск
совершает значительные колебания в вертикальной плоскости, и без системы
автоматической фокусировки нормальная работа оптического привода была бы просто
невозможна. Первый способ очистки призмы: простой. Подведите трубочку к зазору
между линзой и корпусом и несколько раз, короткими "очередями"
продуйте призму. Долго дуть нельзя, так как сжатый воздух, выходя из баллона,
охлаждается и, тем самым, также охлаждается и призма. При этом, возможна
конденсация влаги из воздуха комнатной температуры на поверхности призмы. После
высыхания капелек воды, образуются разводы грязи, отмыть которые будет очень
сложно. Такой способ позволяет очистить пыль, осевшую на призме, но при более
серьезных загрязнениях воспользуйтесь вторым способом. Второй способ: требующий
аккуратности. Так же, как и в первом способе, снимите пластмассовую крышку. Под
ней можно увидеть два маленьких винтика. Нанесите тонкие риски на металлическую
рамку, сквозь которую проходят винты и на металлическое основание на корпусе
лазера. Это позволит при обратной сборке правильно установить линзу на место. А
это очень важно, иначе будет нарушена оптическая ось. Отвинтите винты, и
снимите фокусирующую линзу. Возможно, рядом с винтами будут нанесены капельки
клея - аккуратно срежьте их острым скальпелем. В шахте под линзой и стоит
призма. Надо аккуратно протереть ее поверхность. Здесь есть небольшая
сложность. Призма, как вы помните, расположена под наклоном 45 градусов, и
обычная ватная палочка оказывается слишком толстой. Ей можно очистить лишь
центр призмы. Чтобы удалить пыль с углов призмы необходим более тонкий инструмент.
Фирма Aiwa поставляет в сервис-центры специальные, более миниатюрные палочки. В
домашних условиях можно взять спичку, остругать её и намотать на кончик немного
ваты. Главное - не поцарапать поверхность призмы и проследить за тем, чтобы
внутри лазера не осталось ваты. Несколькими движениями протрите призму.
Соберите лазер обратно, точно совместив нанесенные ранее риски. Избегайте
резких движений. Соединительный шлейф, между электромагнитами линзы и лазером
можно оборвать неосторожным движением. Если после проведения указанных операций
привод не начнет работать, то можно слегка добавить ток . Если и в этот раз
ничего не помогло, то скорее всего либо лазер уже не подлежит восстановлению,
либо неисправность заключается в другом.
2 Техническая диагностика ОП
2.1 Проверка сервосхем
2.1.1 Проверка автофокусировки
Автофокусировка предназначена для компенсации биений
компакт-диска (вверх-вниз).
Настроечные элементы: Fofs (Focus Offset) - смещение
фокуса, т.е. постоянная составляющая напряжения на катушке фокусировки.
Настраивать смещение фокуса нужно с помощью осциллографа. Сигнал EFM при
развертке 5...10 МГц должен быть максимально четким и сфокусированным (рис.
3.1).
При отсутствии осциллографа смещение фокуса можно
отрегулировать по шуму фокусной катушки. В оптимальном положении уровень шума
минимальный. При вращении ползунка регулятора по или против часовой стрелки
относительно оптимального положения шум возрастает.(FE-Gain, FE) - сигнал
ошибки фокусировки. Если амплитуда сигнала FE занижена, проигрыватель
становится чувствительным к наименьшей вибрации и дефектам компакт-диска, часто
соскакивает с текущего трека. Проверяется это легким постукиванием по корпусу
проигрывателя. При завышенной амплитуде сигнала FE слышен сильный шум от
катушки фокусировки, может увеличиться время поиска трека. На практике
оптимальным является среднее значение между двумя вышеописанными. В приводах с
однолучевой механикой Philips радиального типа (модели 85-90 гг. выпуска) есть
всего два регулятора: ток лазера и начальное смещение фокуса. Настроить
начальное смещение фокуса можно так:
запустить CD;запомнить расстояние от линзы к диску (чтобы
можно было увидеть линзу при воспроизведении, нужно частично разобрать
механику);остановить CD; регулируя Fofs, выставить такое же расстояние от линзы
к диску, как и при воспроизведении.
2.1.2 Проверка автотрекинга
Система автотрекинга используется для точного
отслеживания информационной дорожки на поверхности компакт-диска. Настроечные
элементы:TE, TEGain - сигнал ошибки трекинга. При заниженном уровне сигнала
возможны частая потеря дорожки или срыв ее отслеживания. При завышенном уровне
слышен сильный механический шум катушки трекинга, увеличивается время поиска
трека (проверяется перемоткой по трекам). На практике выбирают среднее
значение.EF-Balans, EF - баланс трекинга. Регулятор изменяет амплитуду сигнала
с датчика E или F, чтобы направить луч точно по дорожке компакт-диска. На
практике возможна следующая последовательность настройки: немного уменьшить
амплитуду сигналов FE и TE; легкими толчками корпуса сбивать трекинг (приводить
к потере дорожки); по таймеру на дисплее отслеживать, в какую сторону
перепрыгивает головка: вперед или назад; настроить регулятор баланса таким
образом, чтобы при постукивании трек сбивался то вперед, то назад
приблизительно на минимальное время; восстановить прежний уровень сигналов FE и
TE.Данная последовательность настройки невозможна в приводах, в которых при
потере трека процессор специально позиционирует головку точно в утерянное
место. Можно также настраивать по максимальной амплитуде сигнала EFM.
Желательно иметь старый сильно поцарапанный диск. Зная заранее, где диск должен
"прыгать", а где зацикливаться, можно грубо выставить баланс трекинга.TE-Offset,
TE-Off - смещение трекинга. Регулятор настраивает постоянную составляющую
напряжения на катушке трекинга. Влияние этого регулятора на функционирование
немного похоже на влияние регулятора баланса. Часто оптимальным является
среднее положение регулятора. При неправильной настройке баланса или смещения
трекинга проигрыватель может часто перепрыгивать вперед с трека на трек,
прыгать назад или зацикливаться.
2.2 Проверка оптического блока
Для просмотра поверхности линзы желательно использовать
лупу и источник яркого света. Линза должна быть чистой, прозрачной, без
царапин, в противном случае падает мощность считываемого луча и наблюдается
эффект "подсевшего лазера". Поверхность линзы покрыта специальным
фоточувствительным слоем, который придает ей голубоватый оттенок. Для прочистки
линзы выпускаются баллончики со специальной жидкостью. Также можно использовать
спички с ватой и спирт. Смоченным в спирте ватным тампоном протирают линзу и
сразу же сухим тампоном удаляют следы от спирта. Делать это нужно очень
аккуратно, чтобы не повредить подвеску и не нарушить юстировку фокусирующей
линзы. Из-за применения для чистки активных веществ линза со временем может
помутнеть. На практике допускаются маленькие царапины, но при больших
повреждениях считывание информации становится невозможным. Нужно заменить
лазерную головку или реставрировать ее.
2.2.1 Проверка наклона линзы
Наклон линзы - это отклонение от параллельности плоскости
линзы относительно плоскости диска. Эта величина должна быть минимальной (рис.
4.1).

Регулировку осуществляют с помощью винтов 1. В
большинстве случаев настройку наклона можно проводить только при разобранной
механике, “в воздухе”. Точно наклон настраивают по максимальной амплитуде
сигнала EFM. Если этот сигнал отсутствует или слабый, возможно, сначала нужно
провести грубую настройку “на глазок”. Для этого следует подать напряжение
1...2 В на фокусирующую катушку, чтобы линза поднялась вверх к диску, не
дотрагиваясь до него. При этом легче увидеть погрешность наклона (рис. 4.1).
Выше некоторого уровня линза подняться не сможет, потому нужно следить за тем,
чтобы не сжечь катушку. Затем нужно настроить наклон линзы по максимальной
параллельности. После грубой регулировки при запуске линза должна
фокусироваться, и диск должен вращаться.
2.2.2 Проверка дифракционной решетки
Дифракционная решетка расщепляет лазерный луч на лучи
разных порядков. В проигрывателе используются основной луч для считывания
информации и два дополнительные луча первого порядка для отслеживания трека.
Мощность дополнительных лучей составляет 25% от мощности основного. Регулируя
положение дифракционной решетки, можно изменить положение дополнительных
(отслеживающих) лучей относительно основного. Регулировка возможна в некоторых
(в основном старых) моделях оптических головок (рис. 4.3, где 1 - отверстие для
регулировки; 2 - фотодатчик; 3 - лазерный диод; 4 - прижимные винты; 5 -
регулировочный ключ).
Головки показаны со стороны соединительной платы.
Специальный регулировочный ключ 5 можно изготовить
самостоятельно. Отверстие для регулировки может быть залито клеем. В головках
SF-91 (рис. 4.3) дифракционная решетка конструктивно расположена в одном
корпусе с лазерным диодом, поэтому перед регулировкой нужно слегка отпустить
винты 4 и желательно отпаять диод от платы, временно соединив его с платой
тонкими проводниками. Данным способом можно попробовать восстановить
неисправную лазерную головку, которая не отслеживает трек (луч фокусируется, и
сигнал FOK вырабатывается). Настройка: В процессе попытки считывания трека
нужно плавно поворачивать ключ и выставить решетку по максимальной амплитуде
сигналов EFM и TER.
2.3 Проверка транспортного механизма
2.3.1 Диагностика двигателя
При износе двигателя, вращающего диск, в нем
увеличивается зазор между осью коллектора и бронзовой втулкой, в результате
чего в несколько раз увеличиваются вибрация и колебания компакт-диска в
вертикальном и горизонтальном направлениях.
Сервосхемы фокусировки и трекинга не могут отследить
дорожку, и из потока считываемой информации начинают выпадать полезные данные.
Слышен шорох в выходном аудиосигнале (как у виниловой пластинки), диск плохо
читается или не читается вообще. При обгорании и искрении контактов коллектора,
некачественной разводке и экранировке схем питания также может возникнуть треск
и шорох в аудиосигнале. Если двигатель разбит, то он будет издавать сильный
механический шум и треск.
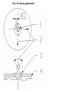
2.3.2 Проверка на износ втулок
В корпусе двигателя установлены две бронзовые втулки,
играющие роль подшипников. В процессе работы втулки изнашиваются, увеличивается
зазор между ними и валом двигателя dS (рис. 4.4, где 1 - ось; 2 - направление
вибраций; 3 - бронзовая втулка; 4 - корпус), увеличивается вибрация и дребезг
вала двигателя.
Дребезг передается компакт-диску. Если колебания диска в
радиальном направлении больше допустимой нормы, система трекинга не может
отследить дорожку (диск читается плохо или вообще не читается). В
"разбитых" двигателях резко увеличивается механический шум. Например,
при позиционировании головки слышен сильный треск. На практике определить износ
двигателя можно следующим способом:
извлечь двигатель, снять с вала шестеренку или столик;
присоединить двигатель к регулируемому блоку питания
0...5 В, 100 мкА;
плавно увеличивая напряжение от 0 до 3 В и наоборот,
внимательно прислушиваются к механическому шуму. В разбитом двигателе при
некоторых значениях оборотов из-за резонанса в несколько раз увеличиваются шум
и треск. В исправном двигателе шум меняется плавно. Для начала можно сравнить
работу двигателя с заведомо исправным (эталонным). Попрактиковавшись несколько
раз, можно научиться отбраковывать изношенные двигатели. В процессе проверки
нужно быть осторожным с напряжением питания, чтобы не вывести из строя
двигатель. Разбитые двигатели нужно заменять аналогичными или реставрировать.
Износ двигателя диска значительно больше влияет на качество считывания по
сравнению с износом двигателя позиционирования. Поэтому, если разбит двигатель
диска, то можно попытаться поменять его местами с двигателем позиционирования,
при условии что оба двигателя одинаковой марки. Но часто вал двигателя диска по
длине больше, чем вал двигателя позиционирования. В этом случае можно разобрать
два двигателя и поменять местами их корпуса или попытаться его реставрировать .
2.3.3 Проверка на “мертвую точку”
"Мертвой точкой" называют положение двигателя,
в котором из-за искрения и обгорания контактов пропадает контакт между
коллектором и щетками. При вращении вала двигатель может по инерции
проскакивать мертвую точку, поэтому определять ее нужно во время запуска
двигателя. Для проверки наличия мертвой точки нужно подать на двигатель
напряжение питания, достаточное для его медленного вращения и, притормаживая
рукой вал двигателя, постараться найти положение, из которого двигатель
перестает запускаться. Если после нескольких попыток найти мертвую точку не
удается, то можно предположить, что двигатель исправен.
2.3.4 Проверка перпендикулярности плоскости столика к
своей оси (кривизна столика)
Для проверки перпендикулярности столика нужно установить
диск на столик и зафиксировать его магнитом. Затем следует слегка крутануть
диск рукой. Если амплитуда колебаний диска на краю (А на рис.4.5) превысит 0,5
мм в вертикальном направлении, можно попытаться его выровнять или заменить
другим.
На практике выравнивать можно следующим образом:
устанавливают старый диск и, вращая его, находят места
максимального отклонения диска вверх (вниз);
надавливая на столик (направления надавливания указаны
стрелками на рис. 4.5), пытаются его выровнять.
Надавливать нужно легонько, чтобы не повредить столик или
двигатель. Для исключения повреждения или искривления столика снимать его с
двигателя можно только за нижнюю часть, помогая при этом отверткой. При
колебаниях диска выше допустимых сервосхемы фокусировки не смогут обеспечить
надежную фокусировку луча на поверхности диска. Поэтому процесс считывания
может перерываться. Этот эффект особенно заметен на последних треках. Если сила
магнита "ослабла", диск на столике в моменты пуска и остановки привода
может проскальзывать.
2.3.5 Проверка высоты столика
Установив параллельно с осью двигателя штангенциркуль,
измеряют расстояние от плоскости столика к шасси, на которой закреплен
двигатель (А на рис. 4.6).
Точную высоту определяют по документации. Есть смысл
измерять высоту столика для разных типов "механики" и записывать в
блокнот. Это может пригодиться при следующих ремонтах. В процессе эксплуатации
высота столика может немного измениться. Из-за этого проигрыватель начинает
запускаться только со второго или третьего раза. При сильном отклонении высоты
столика луч не может сфокусироваться. Грубо высоту столика можно выставить,
основываясь на том, что при считывании диска фокусная линза должна иметь запас
для возможности перемещения вверх и вниз. После изменения высоты столика нужно
настроить смещение фокуса FO-Offset.
2.3.6 Проверка позиционирования ЛГ
Для проверки позиционирования лазерной головки нужно:
отключить Slide-двигатель от схем проигрывателя;
при отсутствии смазки на направляющих ЛГ и шестернях
нанести смазку;
подать на Slide-двигатель напряжение 1...5 В нужной
полярности, чтобы ЛГ двигалась от начального к конечному положению и в обратную
сторону. Можно попробовать покрутить вал двигателя рукой. Если ЛГ движется
неравномерно, приостанавливается, слышен сильный треск, заметно подклинивание
или проскальзывание, то, возможно, поврежден двигатель, шестерни или пассики.
Шестерни нужно осмотреть на отсутствие повреждений, разломов, лишних
механических элементов. Пассиковые передачи должны надежно передавать движение.
Если натяжение пассика ослабло, он начинает проскальзывать. При замене пассиков
следует иметь в виду, что при использовании короткого, сильно натянутого,
пассика большая часть энергии теряется из-за трения в передаче, а также сильно
изнашивается двигатель. Из-за этого может часто прерываться считывание диска.
Если в двигателе позиционирования есть мертвая точка, то при воспроизведении
проигрыватель может самопроизвольно переходить в режим остановки. При обгорании
контактов в двигателе позиционирования ЛГ позиционируется рывками, проскакивая
необходимое положение. В случае неисправности двигателя его заменяют или
реставрируют. В некоторых приводах Telefunken для позиционирования ЛГ
применяется фрикционная передача, которая при ослаблении пружины может сильно
проскальзывать. ЛГ позиционируется рывками, часто теряет трек. В данном
механизме отсутствует концевик начального положения ЛГ, поэтому фрикционная
передача не должна быть очень жесткой, чтобы иметь возможность проскальзывать
при установке головки в стартовую позицию.
2.3.7 Проверка каретки
При нажатии клавиши "Open/Close" каретка должна
выехать и, замкнув концевик, остановиться. Для возможности извлечения диска
лазерная механика может опуститься вниз, или используется специальный механизм
для поднятия диска. Для диагностики движения каретки подают напряжение 2...5 В
или пробуют вращать рукой вал двигателя каретки. Если каретка не выезжает,
возможно, она заклинила. Во многих моделях каретка может выехать только, когда
лазерная механика опущена вниз. Загрязнение механических элементов затрудняет
движение каретки. Иногда один двигатель управляет кареткой и позиционирует
лазерную головку. Проверяют пассик. Если он растянут, то передача
проскальзывает, и каретка выезжает очень медленно или не выезжает вообще. В приводах
Telefunken, где использованы бесконтактные схемы, если пассик растянут, каретка
может выехать до конца, но двигатель еще долго будет вращаться. Возможен
вариант, когда каретка выезжает до конца и сразу заезжает обратно Если каретка
закрыта, диск должен быть прижат к столику и иметь возможность свободного
вращения. Иногда, если диск плохо прижат, блокировочные концевики отключают ток
питания лазера. Для извлечения каретки нужно отжать защитные пластинки и (или)
открутить болты или снять защелки (рис. 4.7, выделенными кругами обозначены
возможные места блокировочных элементов). Если каретка свободно не выезжает, не
нужно использовать силу, нужно найти блокировочные элементы.
3 Типовые неисправности и способы их устранения
3.1 Неисправности электронных компонентов
3.1.1 Операционная система не обнаруживает оптический
привод
Если диск загружается нормально - транспортный механизм
исправен. Далее проверяем подсоединение к дисководу внешних разъемов для
исключения влияния плохих контактов. Затем, если возможно, меняют его
подключение, т. е. меняют порт на системной плате (IDE0 или IDE1). Далее
проверяют правильность установки переключателя MASTER-SLAVE. В случае, если
устройство имеет SCSI интерфейс, следует сменить его адрес. Если все это не
привело к положительному результату, вскрываем устройство и убеждаемся в
надежности соединений информационного разъема, соединителя питания и
переключателя активности (адреса) устройства. Затем проверяем, вращается ли вал
приводного электродвигателя вместе с диском. Если он не вращается, проверяем
исправность двигателя. Отсоединив оба его провода от печатной платы, подаем на
них от внешнего источника постоянное напряжение 5 В в соответствии с расцветкой
проводов ("+" - красный, "-" - черный). Вращение вала
двигателя свидетельствует о том, что неисправность следует искать в цепях
управления двигателем. Какая из микросхем (на печатной плате их всего две или
три) управляет электродвигателем, определяют по идущим к ней печатным проводникам,
к которым припаяны провода от двигателя. Кроме того, несколько выводов этой
микросхемы (чаще всего два-три средних) соединены с шиной общего провода .Также
необходимо проверить напряжение питания микросхемы управления. Визуально
осмотреть печатную плату на потемнения , если потемнения платы имеются то
проверить на исправность детали размещенные на плате возле потемнения. Если
найти неисправный элемент не удалось, значит нужно попробовать заменить
микросхему управления. В корпусе электродвигателя замерить напряжение
стабилизации частоты вращения. Советую сразу заменить стабилитрон, а если не удается,
то заменить весь узел двигателя.
3.1.2 При нажатии на кнопку извлечения диска ,диск не
открывается
При такой неисправности необходимо убедиться, поступает
ли напряжение с входного соединителя привода к его электронным элементам. Затем
в соответствии с приведенным выше алгоритмом проверяют исправность кнопки,
электродвигателя транспортного механизма и микросхемы управления им. В
некоторых устройствах нужно также убедиться в целостности резинового пассика,
передающего вращение от электродвигателя к рабочему зубчатому колесу
транспортного механизма.
3.2 Неисправности оптической системы
3.2.1 Привод работает неустойчиво, и информация читается
с ошибками
Проверяем, появляется ли свечение лазера (красного цвета)
на 2...10 с при установке транспортного механизма в рабочее положение. Свечение
можно заметить только под определенным углом зрения в затемненном помещении (ни
в коем случае нельзя заглядывать в его объектив - это опасно для глаз!).
Каретка с лазером в этот момент должна переместиться вперед-назад, а приводной
электродвигатель - включиться на короткое время. Убедившись, что все работает
нормально, приподнимают верхний фиксатор диска и вручную выводят транспортный
механизм в положение установки CD-ROM, открывая тем самым доступ к линзе лазера
. Мягкой кисточкой осторожно очищают линзу от пыли. Делать это надо с большой
аккуратностью, чтобы не повредить подвеску лазера. Далее передвижением
транспортного механизма или его разборкой освобождают посадочное место
лазерного диска на приводном двигателе (приводном зубчатом колесе). После этого
спиртом очищают от пыли вначале посадочный диск (резиновое кольцо ), а затем -
верхнее прижимное кольцо (если, конечно, оно есть). В завершение очищают от
пыли всю остальную механическую часть устройства, проверяют движение каретки
лазера и при необходимости смазывают техническим вазелином ее направляющую.
3.2.2 Нет чтения с дисков, загрузка диска есть.
Вначале проверяют корректность установки ОП в системе
(правильно ли выбран и установлен драйвер, или программа, обеспечивающая
"стыковку" операционной системы с устройством). Затем контролируют
правильность установки перемычек MASTER-SLAVE на самом устройстве. ОП не должен
конфликтовать с винчестером, подключенным к тому же шлейфу интерфейса IDE. Что
касается приводов с интерфейсом SCSI, то проверяют правильность установки
адреса устройства (этот адрес не должен иметь другие SCSI-устройства).Затем
вскрывают корпус устройства оптического привода и проверяют, раскручивается ли
диск после его установки. Эту операцию можно проводить, подключив к ОП только
соединитель питания, информационный шлейф можно не подключать. Если диск не
вращается после его установки, проверяют, светится ли лазер при установке
каретки ОП в рабочее положение, но уже без диска. Иногда свечения лазера не
видно. Тогда нужно еще раз проконтролировать свечение, но уже в затемненном
помещении, и наблюдение за линзой лазера следует производить с разных ракурсов.
Дело в том, что в современных устройствах ОП контроль наличия диска
осуществляется самим лазером. Если фотодатчик, установленный в лазерной
каретке, получает отраженный сигнал от диска, логическая схема ОП воспринимает
это как "диск установлен" и уже только после этого формирует команду
включения маршевого двигателя вращения диска. Если видно свечение лазера, а
запуска приводного двигателя с диском нет, увеличивают интенсивность свечения
лазера. Для этого вначале находят установленный на каретке с лазером переменный
резистор. Обычно он очень малых размеров (5...7 х 2...5 мм). Поворачивают
движок этого переменного резистора по часовой стрелке на 20...30°. Проверяют
факт вращения приводного двигателя при установке диска. Если диск не стал
вращаться, поворачивают движок переменного резистора еще на 20...30° и так
продолжают до тех пор, пока двигатель не запустится (двигатель должен
запуститься и какое-то время, примерно 10...20 с, вращаться с постоянной
скоростью).Необходимость вращения переменного резистора, регулирующего
интенсивность свечения лазера, вызвано тем, что со временем мощность светового
потока лазера уменьшается (старение элементов, помутнение линзы и т.д.),
поэтому это нужно скомпенсировать.
3.2.3 Частые сбои устройства при чтении дисков
Возможными причинами этой неисправности могут быть:
уменьшение интенсивности свечения лазера, помутнение или загрязнение линзы
лазера, загрязнение посадочного места привода диска, слабый прижим диска к
посадочному месту. Уменьшение интенсивности свечения лазера компенсируется так,
как описано в п.1. Загрязнение линзы лазера убирается мягкой (например,
беличьей) кисточкой. Эта операция проводится крайне осторожно, так как можно
повредить подвеску самого лазера. Загрязнение посадочного места привода диска
очищается любым тканым материалом, смоченным в спирте. Проконтролировать прижим
диска к посадочному месту можно, если вначале осуществить чтение обычного
аудиодиска. Если ошибок и сбоев в этом случае нет, для устойчивого чтения
компьютерных дисков принимают меры для увеличения прижима диска сверху
(подгибают пружины или увеличивают груз).
3.3 Механические неисправности
3.3.1 Лоток привода закрывается и после этого сразу же
открывается
Причина данной неисправности кроется в маленьком
переключателе, рычажок которого при закрытии лотка прижимается и сигнализирует
приводу, что драйв закрыт. В данном случае по каким-то причинам этот
переключатель не срабатывает, поэтому привод после закрытия лотка сразу же
отрывает его снова. Следует найти этот переключатель и устранить причину его
неработоспособности. Скорее всего, причина чисто механическая, например,
отогнулся рычажок переключателя, также возможно окисление контактов.
3.3.2 Лоток закрывается, но диск не фиксируется, либо
лоток закрывается не полностью или неуверенно, с громким скрежетом.
Причиной подобных проблем, когда механика целая, но
работает плохо, является стирание смазки. В таком случае, разобрав и почистив
привод, нужно смазать элементы системы загрузки диска литолом. Если же в
процессе разбора выяснилось, что в драйве развалились какие-либо механические
части (из-за старения пластмассы такое часто бывает), то надо аккуратно
приклеить их обратно суперклеем.
3.3.3 Нет чтения, диск не раскручивается
Причиной этой неисправности, в отличие от приведенных
выше, может быть заклинивание диска на транспортной каретке. Часто в этом
случае посадочное место диска самопроизвольно опускается по валу двигателя и
диск касается элементов транспортной каретки. Чтобы устранить этот дефект,
передвигают посадочное место по валу вверх и опытным путем подбирают высоту
посадочного места так, чтобы диск вращался без касания конструктивных
элементов, а также чтобы ОПобеспечивал устойчивое чтение всех дисков. Затем
аккуратно (кернением) фиксируют положение посадочного места диска на валу двигателя.
4 Тестирование ОП ASUS DRW-2014L1T с помощью пакета
программ Nero 6.6
Приводы ASUS могут быть интересны не только своими
техническими параметрами, но и комплектом поставки – в то время как большинство
моделей других фирм на витринах магазинов встречаются только в OEM-варианте,
ASUS одновременно предлагает и коробочный вариант. Отличается он, впрочем, не
только упаковкой – при покупке коробки вы получаете вместе с приводом сменную
лицевую панель белого или серебристого цвета (на сам привод установлена
черная), а также диск с программой Nero 6.
В сводной таблице представлены данные о максимальных
скоростях чтения и записи носителей.
Объем буфера привода составляет 2 Мбайта. Заявленное
время доступа к носителям CD не превышает 150 мс, к DVD – 140. Привод поддерживает
интерфейс SATA. Габаритные размеры накопителя составляют 148 x 172 x 42.3 мм, а
вес равен 0,68 кг. Скажем несколько слов и о технологиях, реализованных в
приводе. Первая из них, LightScribe, позволяет пользователям наносить
изображения на нерабочую сторону носителей. Технология FlextraLink позволяет
избежать ошибок при записи носителей, связанных с опустошением буфера.
FlextraSpeed Optimal Writing Speed Adjustment позволяет добиться наилучшего
качества записи за счет постоянного мониторинга носителя и выбора оптимального
режима записи. Технология Auto Vibration Reducing System (AVRS) призвана
уменьшить вибрации от электромотора и минимизировать резонанс между
компонентами, что, естественно, уменьшает и уровень шума во время работы
устройства. Разумеется, по большому счету эти технологии не уникальны для
приводов ASUS – просто компания для части из них использует собственные
маркетинговые наименования.
Методика тестирования
Для определения реальных характеристик и возможностей
привода использовались следующие программы и утилиты:
Nero CD-DVD Speed версии 4.7.0
Nero Info Tool версии 4.4.0
Конфигурация компьютера
Системная плата–Intel Bonanza D875PBZ;
Центральный процессор –
Intel Pentium
4 2,8 ГГц;
Жесткий диск – IBM DTLA-307015
15 Гбайт;
Графический адаптер – GeForce2 MX400 64 Мбайт;
ОЗУ – 512 Мбайт;
Операционная система – Microsoft Windows XP Professional с установленными Service Pack 2.Использование двух версий
программы Nero CD-DVD Speed вызвано наличием определенных некорректностей в
реализации некоторых функций в более новой из них. Привод тестировался с заводской
версией прошивки 1.00.
4.1 Nero Info Tool



Судя по информации, представленной на скриншотах, привод
является весьма полноценным устройством, обладающим поддержкой практически всех
необходимых в работе аппаратных характеристик. Отдельно выделим наличие
возможности чтения ошибок типа C2 – ну а качество ее реализации мы еще проверим
ниже.
4.2 Nero CD-DVD Speed версии 4.7.0
Базовые тесты (CD)
Для тестирования нами использовалось пять CD-носителей:
"штампованный" компакт-диск, 700-мегабайтные CD-R (Fujifilm 48x) и
CD-RW (Digitex 10x) с данными, записанными с помощью самой утилиты,
800-мегабайтный CD-R (Verbatim 48х), подготовленный подобным же образом, и
"штампованный" аудиодиск.
CD-ROM
Диаграммы скорости чтения носителей не позволяют
усомниться в работоспособности накопителя. Все линии трансфера гладкие и
плавные, некоторые вопросы оставляют только скоростные характеристики, но об
этом ниже.
Максимальную скорость привод неожиданно продемонстрировал
на аудиодисках CD-DA. Также интересно, что скорость работы с CD-R и CD-RW
дисками одинакова, хотя на большинстве приводов вторые все же оказываются
медленнее. Измеренное значение времени доступа для всех пяти носителей
оказалось заметно меньше значения заявленного производителем для CD.
Базовые тесты (DVD) Во вторую группу результатов попали
те, которые были получены в ходе теста на чтение дисков стандарта DVD. Для этой
цели нами используется комплект из восьми носителей наиболее распространенных в
повседневной жизни форматов. В их число вошел DVD-ROM с видеофильмом, а также
носители с данными: DVD-R Sony 16x, DVD-RW TDK 6x, DVD-RAM Verbatim 3x, DVD+R
Verbatim 16x, DVD+RW Philips 8x, DVD+R DL RIDATA 2.4x, DVD-R DL Verbatim 4x. Из
восьми диаграмм чтения дисков оставляет некоторые вопросы только та, что
относится к DVD-RAM. Линия трансфера на ней в начальной стадии заковыристо
изгибается и только затем трансформируется в прямую.
Результаты данного теста свидетельствуют о том, что
привод продемонстрировал максимальную скорость чтения, как и было заявлено
производителем, на носителе DVD-ROM. При использовании DVD-RAM быстродействие
составило 5х, что совсем неплохо, поскольку на данном диске это значение
является потолком для всех побывавших у нас ранее накопителей. Для остальных
носителей, исключая DVD+R и DVD-R (12х), максимальная скорость чтения составила
8х. Измеренное время доступа для всех восьми дисков оказалось меньше значения,
указанного производителем. Кроме того, можно обратить внимание на довольно
медленную "загрузку" двухслойных дисков: время распознавания приводом
вставленного в него DVD+R DL превысило 40 секунд, а на DVD-R DL лишь немного не
дотянуло до тридцати.
4.3 Тест поверхности диска
Чтобы определить способность накопителя эффективно
находить ошибки типа C2 на дисках формата CD-DA, нами проводился тест Advanced
DAE Error Correction. Ошибки этого типа являются наиболее проблемными и
причиняют больше всего неприятностей пользователям: на аудиодисках они не могут
быть автоматически скорректированы (хотя могут быть обнаружены), поэтому
большое число ошибок C2 может заметно искажать считываемый с диска аудиопоток.
Проблемой же является то, что не все приводы могут удовлетворительным образом
хотя бы обнаруживать ошибки типа C2 и сообщать пользователю об их количестве,
чтобы последний мог сам оценить качество чтения диска. Как вы помните, ранее
DRW-2014L1T формально сообщил нам о способности обнаружения ошибок типа C2. Для
тестирования привода нами снова использовался поцарапанный аудиодиск. Программа
в процессе тестирования определяет, какое количество C2-ошибок должно было быть
найдено накопителем, и сколько из них было найдено на самом деле. Затем на
основе полученных результатов вычисляется "счет качества" (Quality
Score), а также точность нахождения С2-ошибок (С2 Accuracy), что нас интересует
в большей степени. С помощью данного теста мы можем зафиксировать не только
общее количество ошибок при чтении аудионосителя, как позволяет предыдущий
тест, но и оценить, насколько хорошо привод способен их обнаруживать в целом.
Ошибок С1 – 36
Ошибок С2 - 10
Парадоксально, но вместо обычных для этого теста
сотни-двух тысяч ошибок C2-типа накопитель допустил всего несколько десятков!
Точность их аппаратного обнаружения формально оказалась не слишком высока, но
надо заметить, что по такому мизерному количеству ошибок статистически
значимого вывода сделать на самом деле нельзя.
4.4 Подведение итогов тестирования
Практически единственным неприятным моментом в работе с
накопителем ASUS DRW-2014L1T стала невозможность записи на нем двух DVD-дисков
из нашего комплекта. Скорее всего, эта проблема решится с очередным обновлением
прошивки привода, однако на данный момент факт остается фактом. В остальном же
серьезных претензий к работе привода, по большому счету, нет. По всем своим
остальным рабочим параметрам он вполне отвечает требованиям времени для
устройств данного класса. DRW-2014L1T поддерживает актуальный интерфейс SATA,
обеспечивает хорошую скорость записи дисков и бес проблемно работает с
аудиодисками, в том числе даже поцарапанными. К этому можно добавить и
присутствие в продаже коробочного варианта привода, который, при минимальной
разнице в цене, отличается наличием сменной лицевой панели другого.
Полученные результаты тестирования занесли в таблицу. В
скобках приведены заявленные параметры производителя.
|
CD-R(Verbatim)
|
DVD+R( Digitex)
|
CD-RW
|
|
Макс.скорость чтения
|
48.39x(48x)
|
12.92x(14x)
|
41.41x
|
|
Время доступа
|
117ms(140ms)
|
163ms(150ms)
|
1015ms
|
|
Пиковая скорость интерфейса
|
25292 KB/sec(25000 KB/sec)
|
25147 KB/sec
|
25684 KB/sec
|
|
Загрузка CPU на 1X
|
0%
|
0%
|
1%
|
|
Загрузка CPU на 2X
|
1%
|
1%
|
2%
|
|
Загрузка CPU на 4X
|
3%
|
3%
|
3%
|
|
Загрузка CPU на 8X
|
5%
|
5%
|
30%
|
|
Время распознавания
|
9.72 Секунд(9sec)
|
9.86 Секунд(9sec)
|
11.01 Секунд
|
|
Время раскрутки
|
1.78 Секунд(1.8sec)
|
1.89 Секунд(1.8sec)
|
1.68 Секунд
|
|
Тип диска
|
Data CD
|
DVD-ROM
|
Audio CD
|
|
Время выброса
|
1.52 Секунд(1.5sec)
|
1.51 Секунд(1.5sec)
|
1.52 Секунд
|
0.96 Секунд(0.95sec)
|
1.04 Секунд(1sec)
|
1.04 Секунд
|
|
Capacity
|
67:54.72
|
4.24 GB
|
77:46.39
|
Заключение
Надежность работы многих приводов ухудшается со временем.
В основном это вызывается двумя причинами: загрязнением фокусирующей линзы и
деградацией лазерного излучателя (светодиода).Линза чаще всего загрязняется в
результате попадания на нее пыли и табачного дыма. Для чистки линз можно использовать
специальные чистящие диски, однако некоторые из них имеют жесткие кисточки,
способные поцарапать пластмассу линзы. Более аккуратно линза очищается путем
разборки привода и промывания тампоном из натуральной ваты, смоченным теплой водой
с мылом, с последующей протиркой таким же сухим тампоном. Обращаться с линзой
нужно предельно аккуратно, чтобы не повредить ее мягкую пластмассу и детали подвески.
Деградация (уменьшение светимости) лазерного излучателя возникает в тех
случаях, когда в приводе использован светодиод низкого качества, либо он
работает в предельном для него режиме. В ряде случаев положение можно улучшить,
увеличив мощность излучения подстрочным резистором, который имеется на головках
большинства приводов, однако через некоторое время мощность снова упадет ниже нормы.
Чрезмерное увеличение мощности также снижает надежность считывания дисков, и к
тому же ускоряет деградацию излучателя. Еще одна возможная причина - износ
механических частей привода и ухудшение точности позиционирования, однако такое
происходит в основном лишь в очень простых и дешевых приводах, где не приняты
меры для устранения люфтов передаточного механизма.
Список использованной литературы
1.
Борзенко А. PC: устройство, ремонт, модернизация. — М.: Компьютер Пресс,
2004
2.
М. ГУК “Аппаратные средства PC” Питер Санкт-Петербург 1999
3.
Фигурнов В. Э. « PC для пользователей» — М.: ИНФРА-М, 1996
4.
Фролов А.В.,Фролов Г.В. Аппаратное обеспечение PC. — М.:
ДИАЛОГ-МИФИ.2002
5.
Колаич Н.И. Ремонт CD-проигрывателей: принципы работы, типичные
неисправности. – М.: Радиотон 1998. - 224 с.
6.
Николин В.А. Компакт-диски и СД-устройства. – С.П: Лань,-1997 – 110с.
7.
Авраамеко Ю.Ф. Схемотехника Сд-проигрывателей.- С.П: “Наука и техника”,
2003.
8.
Микросхемы для СД-проигрывателей. Сервосхемы. Справочник.- С.П: “Наука и
техника”, 2003.