Моделирование систем управления организацией
Содержание
Введение
1.
Характеристика объекта исследования
2.
Характеристика отдела информационных технологий
3. IDEF-диаграмма исследуемой системы
4.
Проектирование усовершенствованной модели исследуемой системы
Заключение
Современная экономическая действительность
заставляет руководителей организаций постоянно принимать решения в условиях неопределенности.
В условиях финансовой и политической нестабильности коммерческая деятельность чревата
различными кризисными ситуациями, результатом которых может стать несостоятельность
или банкротство.
Поэтому управление современной
организацией является сложным комплексным заданием, которое требует организации
взаимодействия ресурсов разного рода. К таким ресурсам относятся, в частности, информационные
системы, которые обеспечивают автоматизацию бизнес-процессов. Организация эффективной
системы эксплуатации ІТ-инфраструктур и является одним из аспектов обеспечения заданного
уровня качества ИТ организации.
Развитие информационных технологий
рассматривается банком как обязательное условие для поддержания своей конкурентоспособности
на рынке предоставления современных и передовых видов кредитно-финансовых услуг
и обеспечения безопасного функционирования.
Объектом исследования в контрольной
работе является филиал ОАО "Банк".
Цель работы - научиться моделировать
бизнес-процессы организации, выявлять "слабые" места и дать рекомендации
по его улучшению. Поставленной целью определены основные задачи исследования:
дать оценку какому-либо бизнес-процессу
организации;
выявить "слабые" места;
дать рекомендации по совершенствованию
системы управления.
Открытое Акционерное Общество "Банк" является кредитной организацией
- одним из крупнейших и динамично развивающихся финансовых учреждений на российском
рынке, оказывающий самый широкий спектр услуг для корпоративных и частных клиентов.
Банк зарегистрирован 5 июля 1989 года Госбанком СССР (позднее переименован в
"Банк"). Банк имеет право осуществлять банковские операции, предусмотренные
действующим законодательством на основе генеральной лицензии на совершение банковских
операций ГУ ЦБРФ №128 от 22.06.06, выданной Банком России, с целью извлечения прибыли
за счет оказания банковских услуг физическим и юридическим лицам, как основной цели
своей деятельности. Другими целями создания Банка являются оказание услуг по комплексному
банковскому обслуживанию предприятий всех форм собственности и сфер деятельности,
а также граждан Российской Федерации и их объединений, всемерное развитие частного
и коллективного предпринимательства, расширение и развитие рынка банковских услуг.
С 15 февраля 2005 Банк входит в систему страхования вкладов. В этом
году банк отмечает свое двадцатилетие. Со дня основания Банк вырос в одну из крупнейших
финансовых структур не только Санкт-Петербурга, но и всего Северо-западного региона,
получив всеобщее признание не только в России, но и за рубежом. Банк имеет развитую
сеть иногородних филиалов и дополнительных офисов в 31 городе России а так же 36
отделений и агентств в Санкт-Петербурге. По данным на 1 апреля 2009 года около 25
тысяч человек являются корпоративными клиентами банка, и более 2 миллионов - частные
клиенты. На 1 июня этого года эмитировано более 1 млн.566 тыс. пластиковых карт,
осуществляется около 6 тыс. "зарплатных проектов", используется 1545 банкоматов,
из них 377 - в Санкт-Петербурге.
Банк ведет долговременное партнерство с VISA, MasterCard Europe, AMERICAN EXPRESS.
По данным различных рейтинговых агентств и на основании информации
Центрального Банка России успешная деятельность позволила банку по различным показателям
стабильно входить в число 50 крупнейших банковских институтов России.
Банк известен эффективной поддержкой предприятий различных сфер деятельности
не только города, области, но и России в целом. В число активных заемщиков банка
входят предприятия связи, транспорта, коммунального хозяйства, жилищного и производственного
строительства, добывающей промышленности, торговли, сельского хозяйства и других
отраслей экономики. Банк постоянно разрабатывает и внедряет новые банковские продукты
и услуги, осваивает современные технологии работы для эффективного обслуживания
клиентов. В их числе: расчетно-кассовое обслуживание в рублях и иностранной валюте,
кредитование предприятий реального сектора экономики, кредитование физических лиц
на приобретение жилья и средств автотранспорта, различные виды срочных вкладов в
рублях и в валюте для юридических и физических лиц, услуги по международным расчетам,
документарные операции (аккредитивы, банковские гарантии, инкассо), операции с государственными
и корпоративными ценными бумагами, доверительное управление средствами клиентов,
операции с векселями различных эмитентов, вексельное кредитование, операции с пластиковыми
картами известных международных платежных систем, дорожными чеками MasterCard/Thomas Cook и American Express, коммерческим чеками Bank of New York и Dresdner Bank.
Филиал ОАО "Банк" начал свою деятельность согласно решению
Совета директоров в апреле 2006г.
Для обеспечения деятельности филиала Банк закрепляет за ним необходимые
средства и имущество. Филиал осуществляет свою деятельность в соответствии с Уставом
Банка, распоряжается выделенными средствами и имуществом в пределах прав, предоставленных
ему, заключает договоры с субъектами хозяйственных отношений от имени ОАО
"Банк" на основании доверенности Банка, выданной Начальнику Филиала.
Ответственность по обязательствам филиала несет Банк.
Филиал в своей деятельности руководствуется законодательством Российской
Федерации, нормативными актами Банка России, относящимися к деятельности кредитных
организаций, Уставом Банка, решениями органов управления Банка.
Местом нахождения филиала является 163000, г., ул.К. Маркса, д.15
Филиал создан в целях комплексного банковского обслуживания клиентов
- юридических и физических лиц, мобилизации временно свободных денежных средств
и их рационального размещения, содействия развитию и укреплению экономики Российской
Федерации, получения прибыли. Основными направлениями деятельности можно считать:
непосредственное кредитованием юридических и физических лиц, открытие и ведение
счетов в различной валюте, работа с пластиковыми карточками, хранение ценностей,
выплата заработных плат и приемы платежей, и многое другое.
Объектом исследования в контрольной
работе является отдел информационных технологий ОАО "Банк".
Развитие информационных технологий Банка строится по принципам:
формирования единого информационного пространства Банка;
централизации операций, выполняемых внутренними структурными подразделениями;
повышения производительности, надежности и оперативности работы;
информационно - технологической и телекоммуникационной системы Банка;
повышения качества обслуживания клиентов и роста производительности
работы сотрудников за счет возможностей информационных систем.
Основными задачами Отдела являются:
1.
Выбор, разработка, приемка, установка
и эксплуатация программных продуктов в соответствии с планами развития информационных
систем банка.
2. Контроль работы и обслуживание
программных средств различного назначения, эксплуатируемых в банке.
3. Обеспечение защиты информационных
систем банка и обрабатываемой информации от уничтожения, разрушения и искажения
в результате действия стихийных факторов (аварии, отказы оборудования, сбои и т.п.),
а также несанкционированного доступа, искажений и потерь при передаче по каналам
связи и воздействия других факторов, нарушающих функционирование информационных
систем.
4. Сертификация всех проектов
(технических и программных решений) по развитию информационных технологий банка,
а также всех готовых решений, приобретаемых для эксплуатации в составе информационной
системы банка, на предмет соответствия потребностям банка.
5. Обеспечение работоспособности
вычислительных систем и сетей, систем телефонной связи банка и телекоммуникаций,
специальных систем электроснабжения.
6. Развитие и модернизация средств
технического обеспечения информационных систем банка в соответствии с его потребностями,
обеспечение рационального использования технических ресурсов.
В
рамках поставленных задач Отдел выполняет следующие функции:
1. Планирование обеспечения потребностей
банка в программных и технических средствах обработки информации.
2. Поддержание бесперебойного
функционирования действующих банковских систем, контроль и сопровождение процесса
их эксплуатации.
3. Подготовка к работе, установка
и наладка вычислительной техники, техническое сопровождение и профилактические работы
по обеспечению бесперебойной работы технических элементов информационных систем.
4. Диагностика неисправностей,
мелкий ремонт и ремонт средней сложности, организация сложного ремонта специализированными
предприятиями различных устройств вычислительной техники.
5. Установка программного обеспечения
и обучение сотрудников филиалов.
6. Внедрение технологий и методов
контроля доступа к информации, выявления фактов несанкционированного доступа к информации,
методов защиты от несанкционированного копирования.
7. Разработка и внедрение как
административных, так и технических методов, побуждающих сотрудников банка к исполнению
требований информационной безопасности, а также нормативных документов по административному
воздействию на нарушителей режима.
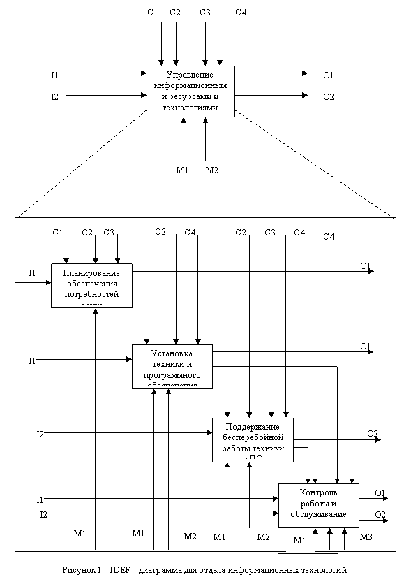
3. IDEF-диаграмма
исследуемой системы
Развитие информационных технологий
рассматривается банком как обязательное условие для поддержания своей конкурентоспособности
на рынке предоставления современных и передовых видов кредитно-финансовых услуг
и обеспечения безопасного функционирования.
Область информационных технологий
банка занимает место значительно большее по сравнению с инженерно-технической службой.
Современная служба ИТ обеспечивает взаимодействие функциональных блоков организации,
формирует бизнес-процессы подразделений и отвечает за оптимальную реализацию операционной
деятельности посредством информационных систем и функциональных приложений.
Рассмотрим процесс осуществления
управления информационными ресурсами и технологиями в ОАО "Банк", который
представлен на рисунке 1.
С1 - план развития ИТ Банка;
С2 - стандарты, регламенты в области
ИТ;
С3 - нормативные документы ЦБ
РФ;
С4 - инструкции;
I1 - информация о потребности определенной техники;
I2 - информация о поломке техники;
О1 - заявка на приобретение новой
техники и программных средств;
О2 - ремонт техники;
М1 - системный администратор;

Специалисты информационного отдела действуют согласно плану развития информационных
технологий банка и руководствуются нормативными документами ЦБ РФ, стандартами,
регламентами в области ИТ, инструкциями к технике и программному обеспечению.
Первым этапом управления информационными
ресурсами и технологиями является планирование обеспечения потребностей банка в
ресурсах.
Планирование потребностей для
филиала проводится на основании распоряжения управляющего. Готовая заявка на приобретение
новой техники и программных средств согласовывается с управляющим, необходимая сумма
оговаривается с главным офисом.
Специалисты проводят приемку,
установку и эксплуатацию программных продуктов в соответствии с планами развития
информационных систем банка. Установка программного обеспечения сопровождается и
обучением сотрудников филиала работы с ним.
От работы техники, программных
средств и банкоматов зависит работа и самого банка. Поэтому поддержание бесперебойной
работы техники и программных средств - главная функция специалистов. В нее входит
техническое сопровождение и профилактические работы по обеспечению работы технических
элементов информационных систем.
Контроль работы и обслуживание
является завершающей стадией процесса управления информационными ресурсами и технологиями.
К ней относится диагностика неисправностей, мелкий ремонт и ремонт средней сложности.
Самым длительным по времени этапом
является последний этап управления - контроль и обслуживание. Часто подводит техника,
уходит много времени на устранение неисправностей, отчего парализуется работа банка,
возникают убытки. Это вызвано в основном следующими причинами:
некачественное оборудование;
несанкционированный доступ к базам
данных.
Решением данной проблемы является
передача на сторону (подрядной организации) ремонт средней сложности. Это позволит
сократить время на обслуживание оборудования и тем самым уделить больше времени
на обеспечение защиты информационных систем банка.
Также у специалистов будет больше
времени на планирование обеспечения потребностей банка, в частности на выбор оборудования,
программных средств и поставщика данного оборудования.
Банку необходимо серьезно отнестись
к выбору подрядной организации: учесть опыт работы ремонтной организации, ее репутацию.
Построим усовершенствованную IDEF
- диаграмму (рисунок 2). Введем новое обозначение: М3 - подрядная организация.

В данной работе было проведено
исследование такого бизнес-процесса как управление информационными ресурсами и технологиями.
В работе дана характеристика информационного
отдела - подразделения, отвечающего за информационную систему банка: его задачи,
функции, взаимоотношения с другими подразделениями.
С помощью IDEF
- диаграммы мы проанализировали работу отдела филиала и выявили, что данная система
нуждается в совершенствовании "слабых" мест. Такими местами являются:
длительность выполнения последнего
этапа - контроль и обслуживание;
меньшее по времени выполнение
остальных функций.
Для решения данной проблемы было
предложено уменьшить по времени обслуживание техники, передав функции по ремонту
средней сложности, сторонней организации (подрядчику).