Бизнес-план ЧП Дикая Орхидея
Полтавський університет споживчої
кооперації України
Факультет економіки та менеджменту
Кафедра економічної кібернетики
Звіт про виконання індивідуальних
завдань
з дисципліни „Інформатика та комп’ютерна
техніка”
на тему: „Розробка алгоритмів та
складання програм на мові програмування MS
VisualBasic for
Application”
Виконав
студент гр. ЕК - 22
спеціальності
6.050102 “Економічна кібернетика”
Кот
Денис Володимирович
Полтава 2007
Зміст
1.
Алгоритми у вигляді блок–схем для розв’язання задач
1.1
Блок-схема до задачі № 1
1.2
Блок-схема до задачі № 2
1.3
Блок-схема до задачі № 3
1.4
Блок-схема до задачі № 4
2.
Задачі
2.1
Задача № 1 (прикладна задача)
2.2
Задача № 2 (задача на одновимірний масив)
2.3
Задача № 3 (задача на двовимірний масив)
2.4
Задача № 4 (задача на використання символьних величин)
Блок-схема до задачі № 1
Блок-схема до
задачі № 2
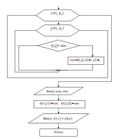
Блок-схема до задачі № 3
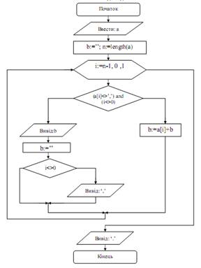
Блок-схема до задачі № 4
Варіант №22
1. Прикладна
задача
Якщо a,b,c,d – сторони чотирикутника, то чи не є
він паралелограмом?
Текст програми:
program k1;
var
a,b,c,d:integer;
begin
writeln('Введите
длины сторон четырехугольника');
read(a,b,c,d);
if ((a=b) and
(c=d)) or ((a=c) and (b=d))
then
writeln('Четырехугольник- паралелограмм')
else
writeln('Это другая фигура');
readln
end.
Результат роботи програми:
2. Задача на
одновимірний масив
Визначити
максимальний елемент серед елементів масиву В, які задовольняють умову хі < 0, та його порядковий номер.
Текст програми:
program k2;
const n=10;
var
b:array
[1..n] of integer;
i,max,number:integer;
begin
writeln('Введите
элементы массива');
for i:=1 to n
do
begin
write('b[',i,']=');
readln(b[i])
end;
for i:=1 to n
do
begin
write(b[i]:4);
end;
max:=-maxint;
number:=0;
for i:=1 to n
do
begin
if
(b[i]<0) and (b[i]>max) then
max:=b[i];
number:=i
end;
end;
writeln;
if
number<> 0 then
begin
writeln('Максимальный
среди отрицательных ',max);
writeln('Его
номер в массиве ',number);
end
else
writeln('Все элементы - неотрицательные');
readln
end.
Результат роботи
програми
3. Задача на
двовимірний масив
Знайти найбільший
і найменший елементи матриці R(K,N), K<=20, N<=10 та поміняти їх місцями.
Надрукувати матрицю R й одержану матрицю.
Текст програми
(для простоти введення візьмемо менші значення k та n):
program k3;
const
k=6;n=3;
var
r:array
[1..k,1..n] of integer;
i,j,max,min,x1,x2,y1,y2:integer;
begin
writeln('Введите
элементы массива');
for i:=1 to k
do
for j:=1 to n
do
begin
write('r[',i,',',j,']=');
readln(r[i,j])
end;
writeln;
for i:=1 to k
do
begin
for j:=1 to n
do write(r[i,j]:3);
writeln
end;
max:=r[1,1];
x1:=1;y1:=1;
for i:=1 to k
do
for j:=1 to n
do
if
r[i,j]>max then
begin
max:=r[i,j];
x1:=i;y1:=j
end;
min:=r[1,1];
x2:=1;y2:=1;
for i:=1 to k
do
for j:=1 to n
do
if
r[i,j]<min then
begin
min:=r[i,j];
x2:=i;y2:=j
end;
writeln;
writeln('Максимальный=
',max);
writeln('Минимальный=
',min);
r[x1,y1]:=min;r[x2,y2]:=max;
writeln;
writeln('Новый
массив');
for i:=1 to k
do
begin
for j:=1 to n
do write(r[i,j]:3);
writeln
end;
readln
end.
Результат роботи
програми:

Задано рядок, що містить від 1 до 30 слів, у
кожному з яких від 1 до 5 прописних латинських літер, між сусідніми словами –
кома, за останнім словом – крапка. Надрукувати цей же рядок слів, але в
зворотньому порядку.
Текст програми:
program k4;
uses crt;
var
a,b:string;
i,n:integer;
begin
clrscr;
writeln('Введите строку слов через
запятую');
readln(a);
b:='';
n:=length(a);
writeln;
writeln('Строка в обратном порядке слов');
writeln;
for i:=n-1 downto 0 do
if (a[i]<>',') and (i<>0) then
b:=a[i]+b
else
begin
write(b);b:='';
if i<>0 then write(',')
end;
write('.');
readln
end.
Результат роботи програми: