|
Стандартный
|
Семья
|
Основное использование
|
Радио Технология
|
Вниз (Мбит / с)
|
Uplink (Мбит / с)
|
Заметки
|
|
LTE
|
UMTS/4GSM
|
Генеральный 4G
|
OFDMA / MIMO / SC-FDMA
|
360
|
80
|
LTE-Advanced обновления предложить несколько Гбит / с
скорости.
|
|
WiMAX
|
802,16
|
Мобильный интернет
|
MIMO-SOFDMA
|
144
|
35
|
WiMAX м обновления предлагаем до 1 Гбит / с фиксированной
скоростью.
|
|
Flash-OFDM
|
Flash-OFDM
|
Мобильный интернет
подвижность до 200mph (350 км / ч)
|
Flash-OFDM
|
5,3
10,6
15,9
|
1,8
3,6
5,4
|
Мобильные диапазоне 18miles (30 км)
расширенный диапазон 34 милях (55 км)
|
|
HiperMAN
|
HiperMAN
|
Мобильный интернет
|
OFDM
|
56,9
|
56,9
|
|
|
Wi-Fi
|
802,11
(11N)
|
Мобильный Интернет (закрытый)
|
OFDM / MIMO
|
288,9
(Поддерживает 600MBps @ шириной 40MHz канал)
|
Антенны, РФ передней аксессуарами конца и мелких настроек
таймера (310 км & 382km).
|
|
iBurst
|
802,20
|
Мобильный интернет
|
HC-SDMA / TDD / MIMO
|
95
|
36
|
Сотовый Радиус: 3-12 кмSpeed: 250kmph
Спектральной эффективности: 13 бит / с / Гц / Cell
|
|
EDGE Evolution
|
GSM
|
Мобильный интернет
|
TDMA / FDD
|
1,9
|
0,9
|
3GPP Release 7
|
|
UMTS W-CDMA
HSDPA + HSUPA
HSPA +
|
UMTS/3GSM
|
Генеральный 3G
|
CDMA / FDD
CDMA / FDD / MIMO
|
0,384
14,4
42
|
0,384
5,76
11,5
|
HSDPA широко развернуты. Типичная скорость нисходящих сегодня 2
Мбит / с, ~ 200 кбит / с линии связи "нисходящий HSPA + до 42 Мбит / с.
|
|
UMTS-TDD
|
UMTS/3GSM
|
Мобильный интернет
|
CDMA / TDD
|
16
|
16
|
Отмеченные скорости в соответствии с IPWireless использовании
модуляции 16QAM аналогичные HSDPA + HSUPA
|
|
1xRTT
|
CDMA2000
|
Мобильный телефон
|
CDMA
|
0,144
|
0,144
|
Преемник EV-DO
|
|
EV-DO 1x Rev. 0
EV-DO 1x Rev.A
EV-DO CDMA2000Rev.B
|
CDMA2000
|
Мобильный телефон
|
CDMA / FDD
|
2,45
3,1
4.9xN
|
0,15
1,8
1.8xN
|
Rev B Примечание: N это количество кусков 1,25 МГц спектра
используется. Еще не развернута.
|
|
|
|
|
|
|
|
|
1.1 Сравнение ключевых
технологий WiMAX и HSPA
Системы с технологией HSPA (3GPP релиз 6) коммерчески доступны с 2007 года. Технология
предусматривает частотное дуплексирование (FDD) с шириной каждого дуплексного канала 5МГц. В
нисходящем канале используется модуляция QPSK, либо 16-QAM, потоковая скорость 14 Мбит/с. В восходящем канале модуляция BPSK, пиковая скорость 5,8 Мбит/с.
В то же время на рынке
были системы WiMAX (релиз 1.0) с временным
дуплексированием (TDD). При
аналогичной ширине полосы 10 МГц они обеспечивали скорость в нисходящем канале
в 2-3 раза более высокую, чем у HSPA
(поскольку WiMAX при TDD общая пропускная способность динамически
распределяется между нисходящими и восходящими каналами).
Таблица 2. Сравнение
систем HSPA (релизы 7 и 8) и WiMAX (релиз 1.5)
|
Параметры
|
HSPA
|
WiMAX
|
|
Версия
|
Релиз 7
|
Релиз 8
|
Релиз 1.5
|
|
Диапазон ГГц
|
2.0
|
2.5
|
|
Дуплексирование
|
FDD
|
FDD
|
TDD
|
|
Ширина канала МГц
|
2х5
|
2х5
|
10
|
|
Антенны БС
|
1х2
|
2х2
|
2х2
|
|
Антенны АС
|
1х2
|
1х2
|
|
Модуляции и скорость кодирования
|
|
В нисходящем канале
|
64 QAM 5/6
|
16 QAM 3/4
|
64 QAM 5/6
|
64 QAM 5/6
|
|
В восходящем канале
|
16 QAM 3/4
|
64 QAM 5/6
|
|
Пиковая скорость, Мбит/с
|
|
В нисходящем канале
|
17,5
|
21
|
35
|
36
|
48
|
|
В восходящем канале
|
8,3
|
8,3
|
8,3
|
17
|
24
|
|
|
|
|
|
|
|
Развитие технологии
создало HSPA+ (HSPA релиз 7 и отдельные поправки релиза 8). В нисходящем канале
их отличает модуляция 64-QAM c SIMO (1х2) или 64-QAM c SIMO (2х2). В восходящем канале добавлена модуляция 64-QAM и улучшены возможности для VoIP. Поправки в соответствии с релизом 8
позволяют использовать в нисходящем канале режим МIМО (2x2) с
модуляцией 64-QAM, рассматривается возможность использования
МIМОбольших порядков в нисходящем
канале и МIМО (2х2) – в восходящем канале.
При сравнении мобильных WiMAX и HSPA+ можно сделать следующий выводы:
- мобильный WiMAX (релиз 1.5) имеет сравнимые с HSPA+ (релиз 8) пиковые скорости в
нисходящем канале при одинаковой модуляции, скорости кодирования и ширине
канала. При этом у мобильного WiMAX
в восходящем канале пиковая скорость выше в 2-3 раза.
- Система HSPA+ ограничены шириной канала 2х5 МГц в
традиционных спектральных условиях сетей 3G. Мобильный WiMAX
поддерживает ширину канала до 20 МГц, как частотное, так и временное
дуплексирование. Его частотные профили планируются в диапазонах 700, 1700,
2300, 2500 и 3500 МГц. Мобильный WiMAX
обеспечивает «гладкую IP -
сеть» (из конца в конец).
1.2 Сравнение ключевых
технологий WiMAX и LTE
Следующим шагом эволюции
систем 3GPP, являются системы Long Term Evolution (LTE). Их отличает технология OFDMA в нисходящем канале и SC-FDMA – в
восходящем. Модуляция – до 64-QAM,
ширина канала – до 20 МГц, дуплексирование TDD и FDD. Применены
адаптивные антенные системы, гибкая сеть доступа. Сетевая архитектура полностью
IP – сеть. В системе LTE применяются технологии и методы, уже
применяемые в мобильном WiMAX,
поэтому следует ожидать схожей эффективности систем LTE (таблица 1-2 и 1-3).
Таблица 3. Сравнение
параметров реальных систем LTE и
мольного WiMAX (релиз 1.5) в одинаковых частотных
условиях при FDD с полосами 2х20 МГц
|
Параметры
|
LTE
|
WiMAX Релиз 1.5
|
|
Motorolla
|
T-Mobile
|
Qualcomm
|
|
Нисходящий канал
|
|
|
|
|
|
Антенна БС
|
2х2
|
2х4
|
4х2
|
2х2
|
4х4
|
|
Модуляция и скорость кодирования
|
64 QAM 5/6
|
64 QAM 5/6
|
64 QAM 5/6
|
64 QAM 5/6
|
|
Скорость Мбит/с
|
226
|
144
|
277
|
144,6
|
289
|
|
Восходящий канал
|
Нет данных
|
|
|
|
|
|
Антенна АС
|
1х2
|
1х2
|
1х2
|
|
Модуляция и скорость кодирования
|
64 QAM 5/6
|
64 QAM 5/6
|
64 QAM 5/6
|
|
Скорость Мбит/с
|
50,4
|
75
|
69,1
|
Системы LTE – это революционное улучшение 3G. LTE представляет переход от систем CDMA к системам OFDMA, а также переход к полностью IP – системе к коммуникацией пакетов. Поэтому внедрение этой
технологии на существующих сетях сотовой связи означает необходимость новых
радиочастотных ресурсов для получения преимущества от широкого канала. Для
обеспечения обратной совместимости необходимы двухрежимные абонентские
устройства. Поэтому плавный переход от систем 3G к LTE
весьма сложен.
Таблица 4. Сравнение
ключевых параметров LTE и WiMAX
|
Параметры
|
LTE
|
WiMAX Релиз 1.5
|
|
1
|
2
|
3
|
|
Дуплексирование
|
FDD и TDD
|
FDD и TDD
|
|
Частотный диапазон для анализа
|
2000 МГц
|
2500МГц
|
|
Ширина канала
|
До 20 МГц
|
До 20 МГц
|
|
От базы
|
OFDMA
|
OFDMA
|
|
Кбазе
|
SC-FDMA
|
OFDMA
|
|
Спектральная эффективность, бит/Гц/с
|
|
Нисходящий канал, MIMO (2х2)
|
1,57
|
1,59
|
|
Восходящий канал, SIMO (1х2)
|
0,64
|
0,99
|
|
Максимальная скорость мобильной станции км/ч
|
350
|
120
|
|
Длительность кадра, мс
|
1
|
5
|
|
Антенные системы
|
|
Нисходящий канал
|
2х2, 2х4, 4х2, 4х4
|
2х2, 2х4, 4х2, 4х4
|
|
Нисходящий канал
|
1х2, 1х4, 2х2, 2х4
|
1х2, 1х4, 2х2, 2х4
|
Рисунок 1 – Сравнение
средней спектральной эффективности.
Отметим, что преимущество
в спектральной эффективности означает выигрыш в стоимости развертывания сети (в
том числе в удельной стоимости по отношению к пропускной способности сети).
Кроме того, возрастает канальная емкость, что позволяет операторам вводить
дополнительные сервисы. Мобильный WiMAX представляет гладкую IP-сеть, сеть LTE
более сложна (рисунок 2).
Рисунок 2 - Сравнение
системных архитектур сетей WiMAX и LTE
Если сеть WiMAX
основывается полностью на IP-протоколах IEEE, то сеть LTE более сложна,
включает больше протоколов, в том числе проприетарные протоколы 3G. Немаловажно,
что интеллектуальная собственность в области технологий WiMAX, соответствующие
патенты распределены среди многих компаний, создан открытый патентный альянс,
что позволяет снижать цены абонентских устройств.
Выводы сравнения WiMAX и
LTE:
- WiMAX, и LTE отвечают
целям IMT-Advanced;
- спецификации
IMT-Advancedеще не полностью определены;
- стандарт IEEE802.16m
будет полностью отражать спецификации и требования IMT-Advanced;
- мобильный WiMAX релиз
1.5 и LTE имеют похожие характеристики. В обоих на линии от базы используется
OFDMAс многоуровневой модуляцией и кодированием. Пиковые скорости практически
одинаковы при одинаковых кратностях модуляции и скоростях корректирующего кода.
В обоих используется и FDD, и TDD дуплексированиепри ширине канала до 20 МГц. В
обоих используется MIMO большой кратности и уменьшение задержки;
- мобильный WiMAX имеет
двухлетний выигрыш по времени выхода на рынок и гладкую e2e IP архитектуру
сети;
- пропускная способность
и спектральная эффективность мобильного WiMAX по релизу 2.0 имеет лучшие
параметры, чем LTE;
- мобильный WiMAX релиз
2.0 совместим с релизами 1.0 и 1.5;
- инвестиции для
преобразования сетей из 2G/3Gв LTEи в мобильный WiMAXпримерно одинаковы;
- и для сетей LTE, и для
сетей WiMAX необходим новый спектр;
- для обоих сетей нужны
многорежимные абонентские приборы;
1.3 Сравнение ключевых
технологий WiMAX и Wi-Fi.
Сравнения и путаница
между WiMAX и Wi-Fi являются частыми, поскольку оба они связаны с беспроводной
связью и доступом в Интернет.
WiMAX использует спектр,
чтобы доставить "точка-точка подключения к Интернету. Различные 802,16
стандарты предусматривают различные виды доступа с портативных коммутаторов (по
аналогии с беспроводным телефоном) для фиксированного (альтернатива проводного
доступа, где беспроводные точки подключения конечных пользователей
зафиксирована в регионе.)
Wi-Fi использует
нелицензионное спектр для предоставления доступа к сети. Wi-Fi более популярна
в устройствах конечных пользователей.
WiMAX и Wi-Fi имеют
совершенно различные качества обслуживания (QoS) механизмов. WiMAX использует
механизм, основанный на связи между базовой станцией и устройством
пользователя. Каждое соединение основано на конкретных алгоритмов планирования.
Wi-Fi имеет механизм QoS аналогичные фиксированной Ethernet, где пакеты могут
получать различные приоритеты на основе их тегов.
Wi-Fi работает на Media
Access Control 'S CSMA / CA протокол, который не гарантирует доставку и
утверждения основаны, в то время как WiMAX работает ориентированный на
соединение ПДК.
Стандарт 802,16
распространяется через широкую полосу в спектре РФ и WiMAX может
функционировать на любых частотах ниже 66 ГГц, (более высоких частотах, привело
бы к уменьшению диапазона действия базовой станции до нескольких сот метров в
городской среде).
WiMAX профили определения
размера канала, TDD / FDD и другими необходимыми атрибутами для того, чтобы
иметь Inter-операционных продуктов. Нынешний фиксированный профили определяются
как для FDD и TDD профилей. На данный момент, все мобильные профиль TDD только.
Профили имеют фиксированные размеры канала 3,5 МГц, 5 МГц, 7 МГц и 10 МГц.
Мобильные профили 5 МГц, 8,75 МГц и 10 МГц. (Примечание: 802,16 стандарт
позволяет гораздо более широкий круг каналов, но только выше подмножества
поддерживаются профили WiMAX.)
Ожидается, что WiMAX
сможет обеспечить высокоскоростной беспроводной доступ проще и дешевле, чем
существующие технологии сотовой связи. Эта технология также имеет возможности
масштабирования, благодаря которым можно организовать недорогой широкополосный
доступ по всей Индии. Беспроводная инфраструктура WiMAX может расширяться,
чтобы обеспечить поддержку карманных и мобильных устройств, которые появятся в
будущем. Это дает дополнительные преимущества для стран с развивающейся
экономикой, подобным Индии, которые пока не имеют развитой широкополосной
инфраструктуры.
Благодаря тому, что
технология WiMAX основана на стандартах, она допускает положительный эффект
масштаба, который сможет уменьшить стоимость широкополосного доступа,
обеспечить возможность взаимодействия и упростить реализацию. В случае
отсутствия стандартов производители специализированного оборудования предлагают
полный комплекс аппаратных и программных компонентов, и из-за ограничительного
лицензирования увеличиваются расходы. Поставщикам услуг выгоднее работать со
стандартной продукцией, т.к. совместимость различных устройств и большие объемы
выпуска позволяют сократить стоимость оборудования.
2. ШИРОРОКОПОЛОСНЫЙ
МОБИЛЬНЫЙ ДОСТУП ПОД УПРАВЛЕНИЕМ СТАНДАРТА IEEE 802.16
2.1 Стандарт
802.16: стек протоколов.
Набор
протоколов, используемый стандартом 802.16, показан на рисунке 3. Общая
структура подобна другим стандартам серии 802, но больше Подуровней. Нижний
подуровень занимается физической передачей данных. Используется обычная
узкополосная радиосистема с обыкновенными схемами модуляции сигнала. Над
физическим уровнем находится подуровень сведения (с ударением на второй слог),
скрывающий от уровня передачи данных различия технологий.
Уровень
передачи данных состоит из трех подуровней. Нижний из них относится к защите
информации, в которых передача Данных осуществляется в эфире, физически никак
не защищенном от прослушивания. На этом подуровне производится цифрация,
дешифрация данных, а также управления ключами доступа.
Рисунок 3 - Стандарт
802.16: стек протоколов.
Затем
следует общая часть подуровня МАС. Именно на этом уровне иерархии располагаются
основные протоколы - в частности, протоколы управления каналом. Здесь станция
контролируют всю систему. Она очень эффективно распределяет очередность
передачи входящего трафика абонентам, немалую роль играет и в управлении
исходящим трафиком (от абонента к базовой станции). От всех остальных
стандартов 802.x МАС подуровень стандарта 802.16 отличается тем, что он
полностью ориентирован на установку соединения. Таким образом, можно
гарантировать определенное качество обслуживания при предоставлении услуг
телефонной связи и при передаче мультимедиа.
2.2 Стандарт
802.16: физический уровень
Широкополосным
беспроводным сетям необходим широкий частотный спектр, который можно найти
только в диапазоне от 10 до 66 ГГц. Миллиметровые волны обладают одним
интересным свойством, которое отсутствует у более длинных микроволн: они
распространяются не во всех направлениях (как звук), а по прямым линиям (как
свет). Следовательно, на базовой станции должно быть установлено множество
антенн, покрывающих различные секторы окружающей территории, как показано на
рисунок 4. В каждом секторе будут свои пользователи. Секторы не зависят друг от
друга, чего не скажешь о сотовой радиосвязи, в которой сигналы распространяются
сразу по всем направлениям.
Рисунок
4 - Оперативная среда
передачи данных сетей 802.16.
Поскольку
мощность сигнала передаваемых миллиметровых волн сильно уменьшается с
увеличением расстояния от передатчика (то есть базовой станции), то и
соотношение сигнал/шум также понижается. По этой причине 802.16 использует три
различных схемы модуляции в зависимости от удаления абонентской станции. Если
абонент расположен недалеко от БС, то применяется ЦАМ-64 с шестью битами на
отсчет. На среднем удалении используется ОДМ-16 и 4 бита/бод. Если абонент
расположен далеко, то работает схема ЦР5К с Двумя битами на отсчет. Например,
при типичной полосе спектра 25 МГц ОДМ-64 дает скорость 150 Мбит/с, СЭАМ-16 -
100 Мбит/с, а СФ5К - 50 Мбит/с. Таким образом чем дальше находится абонент от
базовой станции, тем ниже скорость передачи данных. Фазовые диаграммы всех трех
методов были показаны на риске 5.
Рисунок
5 - Фазовые диаграммы применяемых методов.
Стандарт
802.16 обеспечивает гибкость распределения полосы пропускания. Применяются две
схемы модуляции: FDD (дуплексная связь с частотным
разделением) и ТDD (дуплексная
связь с временным разделением). Последний метод показан на рисунок 6. Базовая
станция периодически передает кадры, разделенные Иа временные интервалы. Первая
часть временных интервалов отводится под входящий трафик. Затем следует
защитный интервал (разделитель), позволяющий станциям переключать режимы приема
и передачи, а за ним - интервалы исходящего трафика. Число отводимых тактов
может динамически меняться, что позволяет подстроить пропускную способность под
трафик каждого из направлений.
Рисунок
6 - Дуплексная связь с
временным разделением: кадры и временные интервалы
Входящий
трафик разбивается на временные интервалы базовой станцией. Она полностью
контролирует это направление передачи. Исходящий трафик от абонентов
управляется более сложным образом и зависит от требуемого качества
обслуживания. Мы еще вернемся к распределению временных интервалов, когда будем
обсуждать подуровень МАС.
Для
непосредственного исправления ошибок на физическом уровне используется код
Хэмминга. Все сетевые технологии просто полагаются на контрольные суммы и
обнаруживают ошибки с их помощью, запрашивая повторную передачу испорченных
фрагментов. Но при широкополосной беспроводной связи на больших расстояниях
возникает много ошибок, что их обработкой приходится заниматься физическому
уровню, хотя на более высоких уровнях и применяется метод контрольных сумм.
Основная задача коррекции ошибок на физическом уровне состоит в том, чтобы
заставить канал выглядеть лучше, чем он есть на самом деле (точно так же
компакт-диски кажутся столь надежными носителями только лишь благодаря тому,
что больше половины суммарного числа бит отводится под исправление ошибок на
физическом уровне).
2.3
Стандарт 802.16 протокол подуровня МАС
Уровень
передачи данных разделен на три подуровня, как показано на рисунке 7.
Кадры
МАС всегда занимают целое число временных интервалов физического уровня. Каждый
кадр разбит на части, первые две из которых содержат карту распределения
интервалов между входящим и исходящим трафиком. Там находится информация о том,
что передается в каждом такте, а также о том, какие такты свободны. Карта
распределения входящего потока содержит также разнообразные системные
параметры, которые важны для станций, только что подключившихся к эфиру.
Канал
входящего трафика состоит из базовая станция, которая определяет, что
разместить в каждой части кадра. Исходящий канал имеет конкурирующие между
собой станции, желающие получить доступ к нему. Его распределение тесно связано
с вопросом качества обслуживания. Определены четыре класса сервисов:
1. Сервис с постоянной битовой скоростью;
2. Сервис реального времени с переменной
битовой скоростью;
3. Сервис, работающий не в реальном
масштабе времени, с переменной битовой скоростью;
4. Сервис с обязательством приложения
максимальных усилий по предоставлению услуг.
Все
предоставляемые стандартом 802.16 сервисы ориентированы на соединение, и каждое
соединение получает доступ к одному из приведенных ранее классов сервиса.
Сервис с
постоянной битовой скоростью предназначен для передачи несжатой речи, такой,
какая передается по каналу Т1. Здесь требуется передавать предопределенный
объем данных в предопределенные временные интервалы. Это реализуется путем
назначения каждому соединению такого типа своих интервалов. После того как
канал оказывается распределенным, доступ к временным интервалам осуществляется
автоматически, и нет необходимости запрашивать каждый из них по отдельности.
Сервис
реального масштаба времени с переменной битовой скоростью применяется при
передаче сжатых мультимедийных данных и других программных приложений реального
времени. Необходимая в каждый момент времени пропускная способность может
меняться. Та или иная полоса выделяется базовой станцией, которая опрашивает
через определенные промежутки времени абонента с целью выявления необходимой на
текущий момент ширины канала.
Сервис,
работающий не в реальном масштабе времени, с переменной битовой скоростью
предназначен для интенсивного трафика — например, для передачи файлов большого
объема. Здесь базовая станция тоже опрашивает абонентов довольно часто, но не в
строго установленные моменты времени. Абонент, работающий с постоянной битовой
скоростью, может установить в единицу один из специальных битов своего кадра,
тем самым предлагая базовой станции опросить его (это означает, что у абонента
появились данные, которые нужно передать с новой битовой скоростью)..
Сервис с
обязательством приложения максимальных усилий используется для всех остальных
типов передачи. Никаких опросов здесь нет, а станции, желающие захватить канал,
должны соперничать с другими станциями, которым требуется тот же класс сервиса.
Запрос пропускной способности осуществляется во временных интервалах,
помеченных в карте распределения исходящего потока как доступные для
конкуренции. Если запрос прошел удачно, это будет отмечено в следующей карте
распределения входящего потока. В противном случае абоненты-неудачники должны
продолжать борьбу. Для минимизации числа коллизий используется взятый из Еsегпеt; алгоритм двоичного экспоненциального отката.
Стандартом
определены две формы распределения пропускной способности: для станции и для
соединения. В первом случае абонентская станция собирает вместе все требования
своих абонентов (например, компьютеров, принадлежащих жильцам здания) и
осуществляет коллективный запрос. Получив полосу, она распределяет ее между
пользователями по своему усмотрению. В последнем случае базовая станция
работает с каждым соединением отдельно.
2.4 Стандарт
802.16: структура кадра
Все
кадры подуровня управления доступом к среде (МАС) начинаются с одного и того же
заголовка. За ним следует (или не следует) поле данных, и кончается кадр также
необязательным полем контрольной суммы. Это показано на рис. 4.31. Поле данных
отсутствует в служебных кадрах, которые предназначены, например, для запроса
временных интервалов. Контрольная сумма тоже является необязательной благодаря
тому, что исправление ошибок производится на физическом уровне и никогда не
бывает попыток повторно переслать кадры информации, передающейся в реальном
масштабе времени.
Рассмотрим
поля заголовка (рисунок 7, а). Бит ЕС говорит о том, шифруется ли поле данных.
Поле Тип указывает тип кадра (в частности, сообщает о том, пакуется ли кадр и
есть ли фрагментация). Поле С1 указывает на наличие либо отсутствие поля
финальной контрольной суммы. Поле ЕК сообщает, какой из ключей шифрования
используется (если он вообще используется). В поле Длина содержится информация
о полной длине кадра, включая заголовок. Идентификатор соединения сообщает,
какому из соединений принадлежит кадр. В конце заголовка имеется поле Контрольная
сумма заголовка, значение которого вычисляется с помощью полинома х8
+ х2 + х + 1.
Рисунок
7 - Обычный кадр (а);
кадр запроса канала (б).
На
рисунке 7, б показан другой тип кадра. Это кадр запроса канала. Он начинается с
единичного, а не нулевого бита и в целом напоминает заголовок обычного Кадра,
за исключением второго и третьего байтов, которые составляют 16-битный номер,
говорящий о требуемой полосе для передачи соответствующего числа байтов. В кадре
запроса канала отсутствует поле данных, нет и контрольной суммы всего кадра.
Сети
802.16 могут охватывать целые районы городов, и расстояния при этом исчисляются
километрами. Следовательно, получаемый станциями сигнал может быть разной
мощности в зависимости от их удаленности от передатчика. Эти отклонения влияют
на соотношение сигнал/шум, что, в свою очередь, приводит к использованию
нескольких схем модуляции.
В каждой
ячейке широкополосной региональной сети может быть намного больше
пользователей, чем в обычной ячейке 802.11, и при этом каждому пользователю
предоставляется гораздо более высокая пропускная способность, чем пользователю
беспроводной ЛВС. Нелицензированной (15М) полосы частот недостаточно для такой
нагрузки, поэтому сети 802.16 работают в высокочастотном диапазоне 10-66 ГГц.
Сети
802.11 поддерживают передачу информации в реальном времени (в режиме РСР), но
вообще-то они не предназначены для телефонной связи и большого мультимедийного
трафика. Стандарт 802.16, напротив, ориентирован на поддержку подобных
приложений, поскольку он предназначен как для обывателей, так и для деловых
людей.
3. ОСОБЕННОСТИ ПРИМЕНЕНИЯ МОДЕМОВ OFDM И МНОГОСТАНЦИОННОГО ДОСТУПА OFDMA
На
физическом уровне стандарт IEEE 802.16 предусматривает три принципиально
различных метода передачи данных: метод модуляции одной несущей (SC, в
диапазоне ниже 11 ГГц), метод модуляции посредством ортогональных несущих OFDM
(orthogonal frequency division multiplexing) и метод мультиплексирования
(множественного доступа) посредством ортогональных несущих OFDMA (orthogonal frequency division multiple access).
3.1 Особенности
применения модемов OFDM.
Режим
OFDM – это метод модуляции потока данных в одном частотном канале (шириной 1–2
МГц и более) с центральной частотой fc. Деление же на каналы, как и в случае SC
– частотное. Напомним, что при модуляции данных посредством ортогональных
несущих в частотном канале выделяются N поднесущих:
fk= fc + k∆ f, (1)
где:
k– целое число из диапазона [6 N/2, N/2] (в данном случае k ≠ 0). Расстояние
между ортогональными несущими.
∆
f= 1/ Tb, (2)
где Tb – длительность передачи данных в символе.
Помимо
данных OFDM6символ включает защитный интервал длительностью Tg, так что общая
длительность OFDM – символа
Ts=
Tb+ Tg, (3)
Защитный
интервал представляет собой копию оконечного фрагмента символа. Его
длительность Tg может составлять 1/4, 1/8, 1/16 и 1/32 от Tb.
Каждая
поднесущая модулируется независимо посредством квадратурной амплитудной
модуляции.
Рисунок 8 - OFDM-символ.
Общий
сигнал вычисляется методом обратного быстрого преобразования Фурье (ОБПФ) как
комплексное представление удобно, поскольку генерация радиосигнала происходит с
помощью квадратурного модулятора в соответствии с выражением
(4)
где:
- комплексное представление символа
квадратной модуляции (QAM –
символа)
Для
работы алгоритмов БПФ/ОБПФ желательно, чтобы количество точек соответствовало 2
. Поэтому число несущих выбирают равным
минимальному числу NFFT = 2
,
превосходящему N. В режиме OFDM стандарта IEEE 802.16 N = 200, соответственно NFFT = 256. Из них 55 ( k = 6128…6101 и 101…127) образуют
защитный интервал на границах частотного диапазона канала. Центральная частота
канала ( k= 0) и частоты защитных интервалов не используются (т.е. амплитуды
соответствующих им сигналов равны нулю). Из остальных 200 несущих восемь частот
– пилотные (с индексами ±88, ±63, ±38, ±13), остальные разбиты на 16 подканалов
по 12 несущих в каждом, причем в одном подканале частоты расположены не подряд.
Например, подканал 1 составляют несущие с индексами -100, -99, -98, -37, -36,
-35, 1, 2, 3, 64, 65, 66. Деление на подканалы необходимо, поскольку в режиме
WirelessMAN-OFDM предусмотрена (опционально) возможность работы не во всех 16,
а в одном, двух, четырех и восьми подканалах – некий прообраз схемы
множественного доступа OFDMA. Для этого каждый подканал и каждая группа
подканалов имеют свой индекс (от 0 до 31).
Длительность
полезной части Tb OFDM6символа зависит от ширины
полосы канала BW и системной тактовой частоты (частоты дискретизации) Fs;
Fs = NFFT/ Tb. (5)
Соотношение
Fs/ BW = n нормируется, и в зависимости
от ширины полосы канала принимает значения 86/75 (BW кратно 1,5 МГц), 144/125
(BW кратно 1,25 МГц), 316/275 (BW кратно 2,75 МГц), 57/50 (BW кратно 2 МГц ) и
8/7 (BW кратно 1,75 МГц и во всех остальных случаях). Защитный интервал при
OFDM-модуляции – мощное средство борьбы с межсимвольными помехами
(межсимвольной интерференции, МСИ), возникающими вследствие неизбежных в
городских условиях переотражений и многолучевого распространения сигнала. МСИ
приводит к тому, что в приемнике на прямо распространяющийся сигнал
накладывается переотраженный сигнал, содержащий предыдущий символ. При
модуляции OFDM переотраженный сигнал попадает в защитный интервал и вреда не
причиняет. Однако этот механизм не предотвращает внутрисимвольную интерференцию
– наложение сигналов с одним и тем же символом, пришедших с фазовой задержкой.
В результате информация может полностью исказиться или (например, при фазовом
сдвиге на 180°) просто исчезнуть. Для предотвращения потери информации при
пропадании отдельных символов или их фрагментов стандарт IEEE 802.16
предусматривает эффективные средства канального кодирования.
Кодирование данных на
физическом уровне включает три стадии – рандомизацию, помехозащитное
кодирование и перемежение. Рандомизация – это умножение блока данных на
псевдослучайную последовательность (ПСП), которую формирует генератор ПСП с
задающим полиномом вида 1 + х14 + х15. В нисходящем потоке генератор ПСП
инициализируется с началом кадра посредством кодового слова 4А8016. Начиная со
второго пакета кадра генератор ПСП инициализируется на основе идентификационного
номера базовой станции BSID, идентификатора про филя пакета DIUC (downlink
interval usage code) и номера кадра (рисунок 9). В восходящем потоке все
происходит аналогично, с той лишь разницей, что инициализация генератора ПСП по
схеме, приведенной на рис.2, происходит с первого пакета (вместо DIUC
используется UIUC – uplink interval usage code).
Рисунок 9 – Формирование
вектора инициализации генератора ПСП для рандомизации нисходящего потока OFDM.
Кодирование
данных предполагает каскадный код с двумя стадиями – кодер Рида-Соломона из
поля Галуа GF (256) и сверточный кодер. В базовом виде код Рида-Соломона
оперирует блоками исходных данных по 239 байт, формируя из них кодированный
блок размером 255 байт (добавляя 16 проверочных байт). Такой код способен
восстановить до 8 поврежденных байт. Поскольку реально используются блоки
данных меньшей длины K, перед ними добавляются (239 – K) нулевых байт. После
кодирования эти байты удаляются. Если необходимо сократить число проверочных
слов, так чтобы уменьшить число восстанавливаемых байт Т, используются только 2
первых проверочных байтов. Обязательные для поддержки в IEEE 802.16 варианты
каскадного кода приведены в таблице 5.
Таблица 5. Основные
режимы в стандарте IEEE 802.16.
|
Модуляция
|
Блок данных кодирования байт
|
Кодер Рида-Соломона
|
Скорость кодирования сверточного кодера
|
Суммарная скорость кодирования
|
Блокирование данных после кодирования байт
|
|
BPSK
|
12
|
(12,12,0)
|
1/2
|
1/2
|
24
|
|
QPSK
|
24
|
(32,24,4)
|
2/3
|
1/2
|
48
|
|
QPSK
|
36
|
(40,36,2)
|
5/6
|
3/4
|
48
|
|
16-QAM
|
48
|
(64,48,8)
|
2/3
|
1/2
|
96
|
|
16-QAM
|
72
|
(80,72,4)
|
5/6
|
3/4
|
96
|
|
64-QAM
|
96
|
(108,96,6)
|
3/4
|
2/3
|
144
|
|
64-QAM
|
108
|
(120,108,6)
|
5/6
|
3/4
|
144
|
После
кодера Рида-Соломона данные поступают в сверточный кодер (рис.3) с порождающими
последовательностями (генераторами кода) G1 =
171
(для выхода Х) и G2 = 133
(для Y) – так называемый
стандартный код NASA. Его базовая скорость кодирования – 1/2, т.е. из каждого
входного бита он формирует пару кодированных бит X и Y. Упуская из
последовательности пар элементы Xi или Yi, можно получать различные скорости
кодирования.
После
кодирования следует процедура перемежения – перемешивания битов в пределах
блока кодированных данных, соответствующего OFDM-символу. Эта операция
проводится в две стадии. Цель первой – сделать так, чтобы смежные биты
оказались разнесенными по несмежным несущим. На второй стадии смежные биты
оказываются разнесенными в разные половины последовательности. Все это делается
для того, чтобы при групповых ошибках в символе повреждались несмежные биты,
которые легко восстановить при декодировании. Перемежение реализуется в
соответствии с формулами
mk = ( Ncbps / 12) – ( kmod 12) +
floor ( k / 12);
jk = s – floor ( mk / s) + ( mk + Ncbps – floor (12 mk / Ncbps)) mod s, (6)
k =
0… Ncbps – 1,
где mk и jk – номер исходного бита после первой
и второй стадии перемежения, соответственно;
Ncbps – число кодированных бит в OFDM-символе (при заданном
числе субканалов),
s –
1/2 числа бит на несущую (1 / 2 / 4 / 6 бит для BPSK / QPSK / 166QAM / 646 QAM,
соответственно, для BPSK s= 1).
Функция
floor ( x) – это наибольшее целое число, не превосходящее x; функция ( x mod r)
– остаток от x/ r.
Рисунок 10 - Генерация
модулирующей последовательности для пилотных несущих.
Каждой
группе ставится в соответствие значения Q и I из векторных диаграмм Грея
(рисунок 10), которые затем используются при непосредственной модуляции
несущей.
Пилотные
несущие модулируются посредством BPSK.
После
определения модуляционных символов посредством ОБПФ вычисляется сам радиосигнал
и передается в передатчик. При приеме все процедуры производят в обратном
порядке. В режиме OFDM на физическом уровне для сетей с архитектурой
"точка6многоточка" кадровая структура передачи принципиально мало чем
отличается от режима SC. Так же как и в высокочастотной области, информационный
обмен происходит посредством последовательности кадров (фреймов). Каждый фрейм
(рис.6) делится на два субкадра – нисходящий (DL – от БС к АС) и восходящий (UL
– от АС к БС). Разделение на восходящий и нисходящий каналы – как временное
(TDD), так и частотное (FDD). В последнем случае DL и UL транслируются
одновременно, в разных частотных диапазонах.
Нисходящий
субкадр включает преамбулу, управляющий заголовок кадра (FCH – frame control
header) и последовательность пакетов данных. Преамбула в нисходящем канале –
посылка из двух OFDM6символов (длинная преамбула), предназначенная для
синхронизации. Первый OFDM6символ использует несущие с индексами, кратными 4,
второй – только четные несущие (модуляция – QPSK).
За
преамбулой следует управляющий заголовок кадра – один OFDM6символ с модуляцией
BPSK и стандартной схемой кодирования (скорость кодирования – 1/2). Он содержит
так называемый префикс кадра нисходящего канала (DLFP – Downlink Frame Prefix),
который описывает профиль и длину первого (или нескольких начальных) пакета в
DL6субкадре.
В
первый пакет входят широковещательные сообщения (предназначенные всем АС) –
карты расположения пакетов DL-MAP, UL-MAP, дескрипторы нисходящего/восходящего
каналов DCD/UCD, другая служебная информация. Каждый пакет обладает своим
профилем (схема кодирования, модуляция и т.д.) и передается по средством целого
числа OFDM6символов. Точки начала и профили всех пакетов, помимо первого,
содержатся в DL-MAP.
Рисунок 11 – Структура OFDM-кадров при временном
дуплексировании.
Нисходящий
субкадр содержит интервал конкурентного доступа, включающий периоды для
начальной инициализации АС (вхождение в сеть) и для запроса полосы передачи.
Далее следуют временные интервалы, назначенные базовой станцией определенным
абонентским станциям для передачи. Распределение этих интервалов (точки начала)
содержится в сообщении UL-MAP. АС в своем временном интервале начинает
трансляцию с передачи короткой преамбулы (один OFDM6символ, использует только
четные несущие). За ним следует собственно информационный пакет, сформированный
на МАС6уровне.
Длительность
OFDM-кадров может составлять 2,5; 4; 5; 8; 10; 12,5; и 20 мс. Заданный базовой
станцией, период построения кадров не может изменяться, поскольку в этом случае
потребуется ресинхронизация всех АС.
Запрос
на установление соединения не отличается от общепринятого в стандарте IEEE
802.16, за исключением дополнительного режима "концентрированного"
запроса (Region-Focused). Он предназначен только для станций, способных
работать с отдельными субканалами. В этом режиме в интервалах конкурентного
доступа (заданных в UL-MAP) АС может передать короткий 46разрядный код на одном
из 48 субканалов, каждый из которых включает четыре несущих. Всего
предусмотрено восемь кодов. Таблица кодов и подканалов приведена в тексте
стандарта IEEE 802.16. Код и номера канала АС выбирает случайным образом.
Получив
кодовое сообщение, БС предоставляет АС интервал для передачи
"обычного" запроса на предоставление доступа (заголовка запроса
МАС6уровня) – если это возможно. Однако в отличие от других механизмов, БС в
UL6MAP не указывает идентификатор запросившей ее станции, а приводит номера
кода запроса, подканала, а также порядковый номер интервала доступа, в течение
которого был передан запрос. По этим параметрам АС и определяет, что интервал
для запроса полосы передачи предназначен ей. Выбор момента для передачи 46разрядного
кода запроса доступа происходит случайным образом, по описанному выше алгоритму
обращения к каналу конкурентного доступа.
Отметим,
что в режиме OFDM канальный ресурс может предоставляться не только во временной
области, но в отдельных подканалах (группах подканалов), если БС и абонентские
станции поддерживают такую возможность. Одно из наиболее важных применений
такой опции – Mesh-сеть.
3.2 MESH-сеть
Формально
Mesh-сеть – это вид топологии сети IEEE 802.16 в режиме OFDM, и ее физический
уровень – это OFDM. Поэтому различия Mesh6сети с уже рассмотренными режимами
проявляются не только, да и не столько на физическом уровне. Основное отличие
Mesh6сети от рассматриваемой до сих пор архитектуры
"точка6многоточка" – в том, что если в последнем случае АС может
общаться только с БС, то в Mesh6сети возможно взаимодействие непосредственно
между АС. Поскольку сети стандарта IEEE 802.16 ориентированы на работу с
широкими частотными каналами, Mesh6сети вошли в стандарт вовсе не с целью
создания одноранговых локальных сетей – для этого есть стандарты группы IEEE
802.11. Причина в ином – необходим инструмент построения широкополосной сети, в
которой трафик может передаваться по цепочке из нескольких станций, ликвидируя
тем самым проблемы передачи при отсутствии прямой видимости. Соответственно и
все механизмы управления, в принципе позволяющие построить децентрализованную
распределенную сеть, ориентированы все же на древовидную архитектуру, с
выделенной базовой станцией (корневой узел) и доминирующими потоками БС-АС. В
Mesh6сети все станции (узлы) формально равноправны. Однако практически всегда
обмен трафика Mesh-сети с внешним окружением происходит через один определенный
узел (рис.7). Такой узел называют базовой станцией Mesh-сети, именно на него
возлагается часть необходимых для управления Mesh-сетью функций. При этом
управление доступом может происходить либо на основе механизма распределенного
управления, либо централизованным способом, под управлением БС. Возможна и
комбинация этих методов.
Базовое
понятие в Mesh-сети – соседи. Под соседями определенного узла понимают все
узлы, которые могут устанавливать с ним непосредственное соединение. Все они
образуют соседское окружение. Узлы, связанные с заданным узлом через соседские
узлы, называют соседями второго порядка. Могут быть соседи третьего порядка и
т.д.
В
Mesh-сети нет понятия восходящих/нисходящих каналов. Весь обмен происходит
посредством кадров. Станции передают сообщения либо в отведенные им временные
интервалы (в соответствии с предшествующим назначением каналов), либо получают
доступ к каналам произвольным (случайным) образом. Каждый узел имеет уникальный
486 разрядный МАС-адрес. Кроме того, для идентификации внутри Mesh-сети
станциям присваивается 166 разрядный сетевой идентификатор.
Рисунок
12 - Пример Mesh-сети
Распределение
канальных ресурсов в Mesh-сети может быть централизованным и децентрализованным
(распределенным). В свою очередь децентрализованное распределение бывает
координированным с БС и не координированным. Децентрализованное распределение
ресурсов подразумевает, что распределение происходит в пределах одной группы
соседей (т.е. между станциями, способными непосредственно связываться друг с
другом). При координированном децентрализованном распределении узлы
обмениваются между собой специальными сообщениями управления распределением (distributed scheduling – DSCH).
Координированность
заключается в том, что период выдачи таких сообщений каждой станцией определен
и известен ее соседям. Координированные DSCH-сообщения передаются в субкадрах
управления очередностью доступа в оговоренных в сетевом дескрипторе интервалах.
Некоординированные DSCH-сообщения передаются в субкадре данных. DSCH-сообщения
– это запросы на получение канального ресурса и ответные сообщения с
предоставлением (подтверждением) свободного ресурса (временного интервала в
субкадре данных).
Ресурс
предоставляется соседом под конкретное соединение. Централизованное
распределение ресурсов подразумевает древовидную топологию сети с БС в вершине.
Оно реализовано посредством двух типов сообщений – централизованного
конфигурирования CSCF и централизованного планирования CSCH. Эти управляющие
сообщения размещаются в начале субкадра управления графиком доступа. Используя
сообщения централизованного планирования CSCH, каждый узел определяет
потребность в трафике своих дочерних узлов (т.е. трафик которых от (к) БС
проходит через данный узел) и сообщает свою потребность вышестоящему узлу –
вплоть до БС. Проанализировав потребность, БС рассылает сообщение CSCH,
информируя каждый узел о выделенной ему полосе пропускания (в бит/с) в
восходящем и нисходящем направлениях. Исходя из этих данных, каждый узел уже
сам запрашивает (или назначает) расположение пакетов в субкадре данных у (для)
своих соседских узлов посредством сообщений децентрализованного планирования
DSCH.
Сообщения
централизованного конфигурирования CSCF формируются БС и транслируются по сети
для информирования всех ее узлов о текущем состоянии. CSCF включает такую
информацию, как число доступных логических каналов и их перечень, перечень
узлов в сети с указанием числа дочерних узлов для каждого из них, а также
профили восходящих/нисходящих пакетов для каждого дочернего узла.
3.3 Особенности
применения многостанционного доступа OFDMA
Режим WirelessMAN-OFDMA
(далее – OFDMA), как следует из его названия, это метод множественного доступа
посредством разделения ортогональных несущих. В отличие от рассмотренного в
предыдущей публикации [2] метода WirelessMAN-OFDM, речь идет уже не только о
механизме модуляции, но и о способе разделения каналов. Данный механизм уже
достаточно хорошо известен, в частности, он нашел широкое применение в системах
цифрового телевидения DVB (наземных, кабельных и спутниковых). Один логический
OFDMA-канал образован фиксированным набором несущих, как правило,
распределенных по всему доступному диапазону частот физического канала. В
упрощенном виде этот механизм опционально используется в режиме OFDM – вспомним
разбиение канала на 16 подканалов.
С точки зрения
формирования модуляционных символов OFDMA аналогичен OFDM: OFDMA-символ
включает собственно зону передачи данных и предшествующий ему защитный интервал
(повтор начального фрагмента символа), предназначенный для предотвращения
межисмвольной интерференции). Сам символ – это совокупность модулированных
ортогональных несущих. В режиме OFDMA несущих значительно больше, чем в OFDM –
2048 вместо 256, соответственно и число подканалов становится достаточным для
организации работы сети: в разных режимах их от 32 до 70, по 24 или 48
информационных несущих в каждом. Используются не все 2048 несущих – около 200
нижних и 200 верхних частот составляют защитный интервал канала и не
модулируются. Также не используется центральная частота канала (частота с
индексом 1024). Кроме того, часть несущих – пилотные, предназначенные для
служебных целей, а не для передачи информации. Точное число пилотных несущих и
частот в защитных интервалах незначительно варьируется в зависимости от режимов
OFDMA, описанных далее.
Системная тактовая
частота всегда составляет 8/7 ширины полосы физического канала BW. Ширина
физического канала не нормирована (в стандарте говорится "не менее 1 МГц),
но в реальных применениях вряд ли окажутся эффективными каналы менее 5 МГц.
Метод формирования,
структура OFDM-символов и механизм канального кодирования в OFDMA схожи с
описанными для OFDM [2]. Канальное кодирование включает рандомизацию,
помехоустойчивое кодирование, перемежение и модуляцию. Метод рандомизации
практически идентичен OFDM, различны лишь способы формирования
инициализирующего вектора генератора псевдослучайной последовательности (ПСП).
Помехоустойчивое
кодирование в OFDMA в качестве обязательного предусматривает только сверточный
кодер – такой же, как в OFDM, и с тем же набором скоростей кодирования. Кодера
Рида-Соломона нет. Опционально предусмотрено применение блоковых и сверточных
турбо-кодов. Метод перемежения также практически идентичен.
В нисходящем канале
первый символ – это преамбула. Несущие в символах преамбул модулируются посредством
BPSK специальным псевдослучайным кодом, зависящим от используемого сегмента (в
режиме PUSC) и переменной IDcell, задаваемой на МАС-уровне [3]. В преамбуле
модулируется каждая третья несущая всего канала (кроме несущих защитных
интервалов и центральной), причем начальный сдвиг [0..2] задается
дополнительно. Распознав тип преамбулы, АС сразу определяет значение переменной
IDcell и режим работы БС.
За преамбулой следуют два
символа, передающие заголовок кадра FCH и карту распределения полей нисходящего
канала DL-MAP. Заголовок транслируется посредством QPSK со скоростью
кодирования 1/2. Он содержит префикс нисходящего канала (DL Frame prefix), в
котором указываются используемые сегменты и параметры карты нисходящего канала
DL-MAP (длина, используемый метод кодирования и число повторений),
транслируемой сразу за заголовком кадра. Также в заголовке используется флаг,
установка которого означает изменение в расположении области конкурентного
доступа в восходящем субкадре по отношению к предыдущему кадру.
Далее транслируется карта
восходящего канала UL-MAP и нисходящие пакеты данных для разных АС.
Режим FUSC означает, что
используются весь диапазон физического канала (все возможные несущие). Это 1702
несущие информационные частоты и защитный интервал (173 и 172 несущих в верху и
низу диапазона, соответственно). Центральная частота с индексом 1024 не
используется.
Рисунок 13 – Совмещение
различных “зон перестановки” в OFDMA-кадре.
В режиме FUSC прежде
всего назначаются пилотные частоты. Они подразделяются на фиксированные и
переменные. Списки тех и других приведены в стандарте. Термин "переменные
пилотные частоты" означает, что в каждом четном OFDMA-символе их индексы
соответствуют приведенным в документе IEEE 802.16, в каждом нечетном –
увеличиваются на 6 (нумерация OFDMA-символов начинается с 0). Всего
предусмотрено 166 пилотных частот, из них 24 – фиксированные. И фиксированные,
и переменные пилотные частоты разбиты на два набора, одинаковых по объему. Это
разбиение имеет значение только при работе с адаптивными антенными системами в
режиме пространственно-временного кодирования (STC).
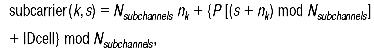
После определения
пилотных частот оставшиеся 1536 несущих предназначены для передачи данных. Они
подразделяются на Nsubchannels = 32 подканала по Nsubcarriers = 48 несущих в
каждом. Назначение информационных несущих подканалам происходит в соответствии
с формулой:
где subcarrier(k,s) – индекс несущей
k в подканале s, s = [0...Nsubchannels – 1],
k =
[0…Nsubcarriers – 1],
nk = (k + 13s)
mod Nsubcarriers. IDCell
– идентификатор
отдельного сегмента БС, определяемый на МАС-уровне (задаваемая базовой станцией
целая переменная в диапазоне 0–31). P(x) означает х-ый элемент
последовательности перестановок {P}, приведенной в стандарте (P = {3, 18, 2, 8,
16, 10, 11, 15, 26, 22, 6, 9, 27, 20, 25, 1, 29, 7, 21, 5, 28, 31, 23, 17, 4,
24, 0, 13, 12, 19, 14, 30}). Операция x mod k – это остаток от x/k.
Очевидно, что перед
применением приведенной формулы информационные несущие должны быть
перенумерованы так, чтобы их индексы укладывались в диапазон 0–1535 (последнее
значение соответствует физическому индексу 1702), т.е. пронумерованы подряд,
без учета пилотных частот. Поскольку в четных и нечетных символах расположение
пилотных частот различно, распределение информационных несущих для них также
нужно вычислять независимо.
В режиме PUSC весь
доступный диапазон подразделяется на 60 подканалов. По определению, для работы
используется лишь часть из них, но не менее 12. Подканалы группируются в шести
сегментах, из них три базовых (сегменты 0, 1 и 2), каждый включает 12
подканалов (0–11, 20–31 и 40–51 подканалы, соответственно). Очевидно, исходя из
требования минимума в 12 подканалов, не базовые сегменты могут использоваться
лишь совместно с базовыми. Деление на сегменты введено, чтобы БС было проще
сообщать, в каких подканалах она работает (достаточно сообщить номера
сегментов).
Рисунок 14 – Структура
кластера
Символ в режиме PUSC
формируется по следующему принципу. Всего предусмотрено 2048 частот, из них
центральная (с индексом 1024) и защитные (184 нижних и 183 верхних) не
используются. Оставшиеся 1680 несущих последовательно разбивают на 120
кластеров, каждый содержит 14 несущих. После этого последовательные физические
кластеры перенумеровываются в "логические" в соответствии с формулой
LogicalCluster = RenumberingSequence [(PhysicalCluster+13 IDcell) mod 120], где
RenumberingSequence (х) – соответствующий элемент приведенной в стандарте IEEE
802.16 последовательности перестановок, IDcell – определяемый на МАС-уровне
идентификатор отдельного сегмента БС (задаваемая базовой станцией целая переменная
в диапазоне 0–31). Эта операция фактически означает перемежение – распределение
последовательных групп несущих по всему диапазону физического канала. Далее
логические кластеры разбиваются на шесть групп (0–23, 24–39, 40–63, 64–79,
80–103, 104–119), по 24 и 16 кластеров. Большие группы соответствуют большим
сегментам (по умолчанию, группа 0 соответствует сегменту 0, группа 2 – сегменту
1, группа 4 – сегменту 2). В каждом кластере определяются пилотные несущие –
для четных символов это 5-я и 9-я несущие, для нечетных – 1-я и 13-я (рисунок
14).
Таким образом, набору
подканалов в пределах сегмента или нескольких сегментов оказывается
поставленным в соответствие набор несущих (для 12 подканалов – 336 несущих, из
них 24 пилотные и 288 информационных). Информационные несущие в сегменте
нумеруются подряд, не учитывая пилотные частоты, после чего в соответствии с
формулой (1) каждому подканалу назначаются по 24 несущих. В данном случае в
формуле (1) используются значения Nsubchannels = 12 или 8, Nsubcarriers = 24, а
также специальные перестановочные последовательности P12 и P8 для сегментов из
12 и 8 каналов, соответственно (приведены в стандарте [3]).
Кроме рассмотренных
методов распределения несущих, в стандарте предусмотрены и опциональные
механизмы – в частности, т.н. optional FUSC, принципиально не отличающийся от
рассмотренного.
Восходящий канал
Восходящий субкадр
следует непосредственно за нисходящим через интервал TTG. Он содержит пакеты от
абонентских станций и интервал для запроса доступа/инициализации. Минимальный
размер одного сообщения в восходящем субкадре (слот) – 3 OFDMA-символа в одном
подканале. Это привело к появлению в документе IEEE 802.16 термина "фрагмент"
(мозаичный элемент, tile).
Рисунок 15 – Структура
“фрагмента” восходящего канала.
Фрагмент представляет
собой совокупность трех символов и четырех несущих, в котором положения
пилотных частот жестко определены (рисунок 15). Весь частотный диапазон канала
(1680 несущих) разбивается на 420 последовательных фрагментов, по 4 несущих в
каждом. Предусмотрено 70 подканалов. Каждый из них включает 6 фрагментов – т.е.
24 несущие на символ в одном подканале. Распределение фрагментов по подканалам
происходит следующим образом. Все 420 фрагментов разбиваются на 6 групп по 70
фрагментов. В каждый подканал включается по одному фрагменту из каждой группы в
соответ ствии с уравнением:
Tile (n, s) =
70n + {P[(n + s) mod 70] + UL_IDcell} mod 70, (8)
где Tile(n, s) – фрагмент n подканала s, n = [0…5], s = [0…69].
P(x) – перестановочная
последовательность,
UL_IDcell – переменная в
диапазоне 0–69, задаваемая БС на МАС-уровне.
В результате каждому
подканалу в каждом символе назначается свой набор несущих.
После распределения по
подканалам происходит нумерация информационных несущих в каждом слоте – всего
их в трех символах 48. Информационные частоты в подканале нумеруются начиная с
наименьшей несущей фрагмента с наименьшим индексом – сначала в первом символе,
затем во втором и третьем. Затем информационные несущие в каждом слоте
перенумеровываются в соответствии с формулой:
subcarrier (n,
s) = (n + 13s) mod 48, (9)
где s – номер подканала,
n = [0…47] (т.е. происходит циклический сдвиг нумерации информационных несущих
на 13s в каждом подканале s).
Отметим, что в тексте
документа IEEE 802.16 происходит подмена терминов: подканалом в восходящем
субкадре авторы текста IEEE 802.16 называют именно слот, информационную
структуру размером 24 несущих на 3 символа. И когда в документе – английским по
белому – написано, что в субканале 48 информационных несущих, следует помнить,
что с точки зрения правильной терминологии речь идет не о субканале, а о слоте.
Реальных несущих (т.е. физических частот) в субканале всего 24. Умножая их на 3
(число OFDMA-символов в слоте) и вычитая 24 пилотные несущие, как раз и получим
48 информационных несущих.
Опционально в восходящем
канале предусмотрен режим, в котором во фрагменте одна пилотная частота
(рисунок 16), 6 фрагментов на подканал, всего 96 подканалов (1728 используемых
частот).
Механизмы запроса
начальной инициализации в сети и первичного запроса полосы пропускания в режиме
OFDMA схожи – и принципиально отличаются от других режимов. Для этих запросов в
OFDMA используется специально выделенный канал. Он назначается БС и состоит из
шести последовательных подканалов, индексы которых приведены в UL-MAP. Запрос
представляет собой 144-разрядный CDMA-код, передаваемый посредством BPSK, т.е.
1 бит на несущую в одном символе. В результате для передачи такого кода
достаточно 6 подканалов (24 информационных несущих в каждом). Сам код
формируется в генераторе ПСП – 15-разрядном сдвиговом регистре с задающим
полиномом 1 + X1 + X4 + X7 + X15. Старшие 6 разрядов вектора инициализации
генератора ПСП равны переменной UL_IDcell, остальные 9 – константа. Номер кода
определяется начальной точкой (т.е. числом тактов генератора ПСП после
инициализации) – всего предусмотрено 256 кодов. Причем БС использует только
часть из всех возможных кодов – сначала N кодов начальной инициализации, за
ними следуют M кодов периодического определения параметров АС, далее L кодов
запроса полосы. Для каждой БС задается точка начала этой последовательности (N
+ M + L).
Рисунок 16 – Структура
“фрагмента” восходящего канала в опциальном режиме
Начальная инициализация
происходит так: АС, приняв дескриптор восходящего канала и UL-MAP, определяет
набор CDMA-кодов и посылает в отведенном интервале случайно выбранный код из
группы возможных. Один и тот же код транслируется в двух последовательных
OFDMA-символах. Если длительность интервала конкурентного доступа составляет
более одного слота, АС может отправить CDMA-код в четырех последовательных
символах, причем коды должны быть смежными (т.е. последовательными фрагментами
ПСП).
Успешно приняв и
распознав CDMA-код (а этого может и не произойти, поскольку в интервале
конкурентного доступа возможны коллизии при одновременной работе передатчиков
нескольких АС), базовая станция не знает, от какой АС пришел запрос. Поэтому в
ответ в UL-MAP следующего кадра она указывает номер принятого CDMA-кода,
субканал и символ, в котором код был отправлен. Так АС определяет, что именно
ее запрос принят, и понимает, что следующее за этим широковещательное сообщение
с указанием диапазона запроса (номера символа, подканала и длительности)
предназначено именно ей. В этом сообщении БС передает необходимые параметры для
процесса инициализации в сети (включая идентификатор соединения CID,
присвоенный МАС-адрес, набор физических параметров и др.). Далее в указанный в
UL-MAP интервал АС приступает к штатной процедуре регистрации в сети.
Первичный запрос полосы в
методе OFDMA может происходить двумя способами: посредством заголовков запроса
полосы, как и в остальных режимах, и путем посылки CDMA-кода запроса полосы в
интервале конкурентного доступа. Посылка кода запроса полосы (равно как и кода
периодического измерения параметров) происходит в одном OFDMA-символе. Возможна
и посылка трех последовательных кодов в трех символах (какой из вариантов
необходимо использовать, указывается в UL-MAP). Приняв CDMA-код, БС в UL-MAP
повторяет его номер и параметры, а также сообщает интервал для отправки
заголовка запроса полосы – уже обычным способом.
3.4 Поддержка адаптивных антенных
систем
Важнейшая особенность
стандарта IEEE 802.16, принципиально отличающая его, скажем, от стандартов IEEE
802.11 a/b/g, – это наличие встроенных средств поддержки адаптивных антенных
систем (AAS). Разумеется, применение AAS – это не обязательное требование
стандарта. AAS – это системы с секторными направленными антеннами (метод
формирования диаграмм направленности антенн в стандарте не оговаривается), т.е.
антенные системы с несколькими антенными элементами. Применение AAS существенно
увеличивает потенциальную емкость сети стандарта IEEE 802.16, поскольку в
разных секторах БС возможна работа в одних и тех же каналах (частотных и
OFDMA). Кроме того, направленные антенны позволяют существенно уменьшать общую
излучаемую мощность. В результате снижается и межканальная интерференция. Не
менее важно применение многоэлементных антенных систем для улучшения
прохождения сигналов в каналах с замираниями – так называемых методов
пространственно-временного кодирования (разнесения) STC.
Поддержка ASS в спецификации
IEEE 802.16 означает модификацию протоколов на физическом и МАС-уровнях,
наличие специальных управляющих и контролирующих сообщений для работы с
адаптивными антеннами.
Рисунок 17 – Структура
кадров с зоной ААS.
Стандарт допускает в
рамках одного кадра транслировать как ненаправленный, так и направленный
(посредством AAS) трафик (рис.6). Для разграничения зон не-AAS и AAS-трафика
используются специальные сообщения. Принцип применения AAS в режимах OFDM и
OFDMA (равно как и в SCa) достаточно схож. Наиболее полно он описан в стандарте
для случая OFDMA [3], поэтому остановимся именно на нем.
Механизм Diversity-Map
Scan. В режиме OFDMA предусмотрено два метода работы с AAS – с распределенными
несущими в подканале (FUSC, PUSC) и с последовательными несущими (AMC). Каждый
из методов в начале AAS-зоны предусматривает передачу OFDMA-символа преамбулы
AAS-зоны и заголовка с префиксом AAS-зоны. Для передачи этих сообщений в
AAS-зоне нисходящего субкадра выделены специальные подканалы (два старших для
FUSC/PUSC и четвертый с начала и четвертый с конца подканалы в AMC). Сообщения
в этих подканалах могут повторяться несколько раз – с тем, что если
используется не широковещательная трансляция, а передача с переключением лучей,
сообщения с префиксом дошли бы до всех АС. В префиксе указывается код луча
антенны, тип и размеры преамбулы ASS-зоны (в восходящем и нисходящем каналах),
область для начальной инициализации / запросов полосы, а также области в кадре
для каждого AAS-соединения. Префикс, как и в штатном режиме, передается
посредством QPSK со скоростью кодирования 1/2 и двухкратным повтором (в
пределах одного символа). Основное назначение префикса – сообщить АС о том, как
будут переданы карты DL/UL-каналов для разделенных по направлениям лучей групп
пользователей (очевидно, что распределение канальных ресурсов может происходить
независимо в каждом луче).
Для работы в режиме
АМС-AAS кадры могут объединяться в суперкадр длительностью не менее 20 обычных
кадров. В суперкадр входит по крайней мере один широковещательный кадр,
содержащий дескрипторы и карты DL/UL-каналов. Смысл такого объединения –
обеспечить минимум управляющих сообщений для группы кадров.
Перечисленные методы
работы с AAS используют так называемый механизм Diversity-Map Scan –
сканирование (абонентскими станциями) разнесенных карт распределения канальных
ресурсов. В режиме OFDMA предусмотрен и другой способ работы с AAS – метод
прямой сигнализации (Direct Signaling Method).
Метод Direct Signaling
использует механизм последовательного распределения несущих AMС. Его
особенность – в каждом кадре в AAS-зоне выделяется от одного до четырех каналов
доступа /распределения ресурсов (BWAA – bandwidth allocation/access). Каждый
BWAA-канал состоит из двух субканалов, расположенных в верхней и нижней частях
диапазона симметрично относительно центральной частоты (если BWAA-канал один,
то он включает самый верхний и самый нижний подканалы). В этом канале
передаются префикс нисходящего субкадра (для режима Direct Signaling Method),
карты UL-MAP и DL-MAP для каждой из пространственно разделенных АС или групп
АС. Благодаря точной пространственной настройке AAS данный метод позволяет в
одном кадре передавать сообщения множеству пользователей.
В методе прямой
сигнализации предусмотрены четыре специальных кодовых сообщения – обучения
обратного соединения RLT (reverse link training), доступа в обратном соединении
RLA (reverse link access), обучения прямого соединения FLT (forward link
training) и инициирования прямого соединения FLI (forward link initiation).
Первые два сообщения использует АС, вторые два – БС. Для начальной
инициализации или запроса полосы АС посылает сообщение RLA в канале BWAA. Оно
предшествует сообщениям запроса полосы или начального доступа и используется БС
для точной настройки своей антенной системы на данную АС. В ответ БС передает
сообщение FLI – уникальный код для каждой АС (БС может сама инициировать
соединение, послав FLI). FLI транслируется в подканале, выделенном для данной АС.
Каждая абонентская станция сканирует все подканалы и, обнаружив по кодовой
последовательности адресованное ей сообщение начальной инициализации,
отправляет в ответ в том же самом канале (в отведенном для нее временном
интервале) последовательность RLT, предназначенную для точной настройки антенн
БС на АС в данном подканале. В результате, выполнив все необходимые подстройки,
БС и АС устанавливают соединение, в течение которого происходит обмен данными.
Причем пакетам данных предшествуют тренировочные последовательности FLT (со
стороны БС) и RLT (со стороны АС).
4. УСЛУГИ И АРХИТЕКТУРА
СЕТЕЙ Mobile WiMAX
4.1 Услуги сетей
технологии Mobile WiMAX.
Сети WiMAX предназначены
для предоставления сервисов как неподвижным, так и подвижным пользователям.
WiMAX поддерживает следующие виды мобильности:
1) фиксированный (fixed).
В этом случае с оператором согласовывается положение пользователя, в котором он
получает обслуживание, н-р, конкретная сота. Для этого хорошо подходят
пользовательские терминалы с закрепленной снаружи здания антенной, направленной
на базовую станцию.
2) блуждающий (nomadic),
т.е. с изменяемым местоположением. Пользователь имеет возможность подключиться
к сети оператора из любого места, где оператор предоставляет покрытие. В
течение одной сессии пользователь должен быть неподвижен.
3) передвижной
(portable). Пользователь имеет возможность передвигаться со скоростью до 5 км/ч без потери установленной сессии, в том числе (опциональная возможность сети) переходить из одной
соты в другую (handover). Во время handover допускаются перерывы в передаче
данных (вплоть до значения, максимального для обслуживания текущей TCP/IP
сессии), до 2 с. Допускаются потери данных во время handover, заданное качество
обслуживания, QoS, восстанавливается только после завершения handover.
4) ограниченная
мобильность (simple mobility). Пользователь может передвигаться, в том числе
переходить из соты в соту, со скоростью до 60 км/ч без ухудшения качества обслуживания, и до 120 км/ч с допускаемым постепенным ухудшением
качества обслуживания. Для приложений нереального (non-real time) времени
(работа с e-mail, c Интернет, просмотр видео с буферизацией данных, передача
файлов по FTP, IPsec/VPN) качество обслуживания гарантируется. Время handover
не должно превышать 1 с при переключении между IP подсетями и 150 мс в пределах
одной подсети, время прерывания передачи данных не превышает 150 мс.
Обязательна поддержка ждущего (idle), спящего (sleeping) режимов работы
пользовательских терминалов, а также вызовов пользователя (paging), см.
соответствующие разделы.
5) полная мобильность
(full mobility). Пользователь может передвигаться, в том числе переходить из
соты в соту, со скоростью до 120 км/ч без ухудшения качества обслуживания.
Гарантируется качество обслуживания для приложений реального времени (VoIP,
видео-телефония, просмотр видео без буферизации) и нереального времени (см.
ограниченная мобильность). Время handover не превышает 50 мс, время прерывания
передачи данных не более 5 мс (или не более длительности одного кадра).
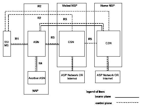
4.2 Принципы построения
сетей WiMAX
Существуют следующие
принципы построения сетей WiMAX (Release 1 version 4):
1) WiMAX основан на
стандарте 802.16
2) архитектура сети WIMAX
включает в себя 2 глобальные части: ASN - подсеть доступа, CSN - подсеть,
обеспечивающая подключение к сетям IP, см. далее. Поддержка стандарта 802.16
полностью реализована в ASN. Обычно подсетью CSN владеет провайдер IP услуг,
NSP - Network Server Provider, подсетью ASN - провайдер радиодоступа, NAP -
Network Access Provider. NSP и NAP могут являться одним провайдером.
3) одна подсеть доступа,
ASN, может использоваться несколькими провайдерами услуг (NSP), т.е. к одному
ASN могут быть подключены несколько CSN, а также один провайдер IP услуг, NSP,
может использовать несколько разных подсетей доступа, т.е. к одному CSN может
быть подключено несколько ASN.
4) в архитектуре
определены стандартные интерфейсы (опорные точки, Reference Points), см. далее,
в частности между MS, ASN, CSN для обеспечения работоспособности при
использовании оборудования разных производителей.
5) сеть должна
подерживать мобильную телефонию на основе VoIP, мультимедийные услуги, а также
обязательные функции, определяемые регулятором, такие как экстренный вызов,
легальное прослушивание и т.д.
6) сеть должна
предоставлять пользователю услуги в соответствие с согласованным уровнем
сервиса (SLA), поддерживать, если требуется, одновременно несколько голосовых
сессий для одного пользователя, одновременную передачу голоса и данных,
приоритезацию экстренных вызовов.
7) сеть должна быть
способна взаимодействовать с шлюзами, обеспечивающими существующие услуги,
основанные на IP: SMS over IP, MMS, WAP и другие;
8) сеть должна
поддерживать широковещательные (broadcast) и многоабонентские (multicast)
услуги;
9) сеть должна
поддерживать взаимную аутентификацию MS и сети, как определено в стандарте
802.16;
10) сеть должна
поддерживать аутентификацию пользователя с помощью логина/пароля, SIM, USIM,
RUIM;
11) сеть должна
поддерживать конфиденциальность (confidentiality) и целостность (integrity)
передаваемых данных с помощью функций, реализованных в ASN;
12) сеть должна
поддерживать установление/удаление VPN (Virtual Private Network),
инициированное MS
13) сеть не должна
препятствовать переключению (handover) мультистандартной MS на сеть другой
технологии — Wi-Fi, 3GPP, 3GPP2, DSL;
14) сеть должна
поддерживать мобильность IPv4 или IPv6;
15) сеть не должна препятствовать
роумингу между провайдерами услуг (NSP). Сеть должна позволять провайдеру доступа
(NAP) обслуживать MS, использующие различные доменные имена, (обслуживаемые
разными провайдерами услуг) ;
16) сеть должна
поддерживать бесшовный handover при скоростях движения транспорта;
17) сеть должна
поддерживать разные уровни качества обслуживания QoS;
18) сеть должна
поддерживать взаимодействие с другими беспроводными (3GPP, 3GPP2) или
проводными (DSL) сетями. Интерфейс, используемый для такого взаимодействия,
должен быть основан на протоколах IETF и IEEE;
19) сеть должна
поддерживать роуминг с другими операторами WiMAX
20) сеть должна
поддерживать изменение параметров и обновление ПО абонентских устройств через
радиоинтерфейс Over-the-Air (OTA) ;
21) архитектура сети
должна обеспечивать взаимную работоспособность устройств разных производителей;
внутри ASN (BS и
транспортной сетью), между разными ASN, а также разными элементами ASN и CSN;
22) архитектура сети
должна поддерживать следующие виды CS (из перечня CS, определенного в 802.16).
Укрупненно WiMAX сеть
состоит из следующих логических объектов:
1) SS
(Subscriber Station) ;
2) ASN (Access
Service Network) ;
3) CSN (Connectivity
Service Network) .
Каждый объект может быть
реализован в одном физическом модуле (н-р, SS) или в нескольких (ASN, CSN).
Несколько CSN могут быть
подключены к одному ASN, и наоборот; несколько ASN могут быть подключены к
одному CSN. ASN и CSN могут принадлежать одному оператору или разным:
Архитектура сети,
согласно WiMAX, показана на рисунке 17:
Рисунок 17 - Архитектура
сети WiMAX.
Рисунок 18 – Компоненты
архитектура сети WiMAX.
Оператор может владеть
WiMAX сетью полностью или частично. Оператор, предоставляющий радио-доступ,
называется NAP — Network Access Provider. Ему может принадлежать один или
несколько ASN. Оператор, предоставляющий сервисы сети (доступ в Интернет,
передачу голоса, доступ к определенному контенту) называется NSP — Network
Service Provider, ему могут принадлежать один или несколько CSN.
Более подробно
архитектура сети показана на рисунке 19:
Рисунок 19 - Элементы
сети WiMAX.
User terminal или Mobile
Station, MS, или Subscriber Station, SS - устройство, обеспечивающее соединение
между оборудованием пользователя (н-р, компьютером) и сетью. MS может
представлять собой CPE, Customer Premises Equipment, обеспечивающее подключение
к сети нескольких компьютеров.
Base Station, BS, базовая
станция - логический элемент сети, выполняющий обработку физического и МАС
уровней по стандарту 802.16. BS представляет один сектор с одной частотой. BS
может подключаться к нескольким ASN GW для обеспечения резервирования и/или
балансировки нагрузки. Одно физическое изделие может включать в себя несколько
BS (логических объектов).
ASN-GW, шлюз радиоподсети
- логический элемент сети, выполняющий агрегирование (объединение) сигнальных
функций, а также, если необходимо, маршрутизацию потоков данных пользователей.
ASN-GW может быть связан с другими ASN-GW для обеспечения резервирования и
балансировки нагрузки.
AAA server,
Authentication, Authorisation, Accounting, - устройство (сервер),
выполняющий процедуры:
- аутентификации пользователя, т.е.
проверки его подлинности и возможности доступа в сеть
- авторизации -
выделение ему ресурсов сети в соответствии с услугами, на которые он подписан
- аккаунта - подсчет
потребленных пользователем ресурсов (кол-во времени или размер переданных
данных) для формирования счета за пользование сетью.
MIP HA - Mobile IP Home Agent. Применяется
для поддержки мобильности, заанкерной в CSN, см. гл. «Обеспечение мобильности».
Он же обычно является edge-роутером - роутером-шлюзом, расположенном на границе
WiMAX сети и внешних сетей.
IMS, Content services,
Billing Support System (BSS), Operator Support System (OSS) - стандартные
системы, не являющиеся специфичными для WiMAX, предоставляют вспомогательные
функции оператору.
Роуминг - это
возможность предоставления абоненту сервисов при его нахождении в чужой сети (в
visited network). Абонент может пользоваться теми услугами, которые определены
соглашением между домашней (home network) и чужой сетью. Основным достоинством
роуминга является бОльшая зона предоставления услуг при наличии единого счета
на оплату.
Основные характеристики
SI3000 Light ASN:
- Инфраструктура с
наименьшими затратами, базирующаяся на коммерческих маршрутизаторах
- Доступны услуги
мобильной связи
- Доступны услуги
стационарной связи
- Совместимость с
будущими решениямислужит гарантией защиты инвестиций
- Взаимодействие SI3000
ASN-GW
4.3
Решения WiMAX с усовершенствованными функциями и рабочими характеристиками.
Рисунок 20 – Архитектура
сети WiMAX с усовершенствованными функциями
Эффективные
решения WiMAX с усовершенствованными функциями и рабочими характеристиками
Для достижения более
высокого энергетического потенциала линий связи (link budget), уменьшения
затухания сигналов и лучшего покрытия микро-спотов (micro-spot), могут быть
использованы различные технологии разнесения.
Примечание: Iskratel
поддерживает обе технологии: STC/MRC в настоящее время и MIMO с ее платформами
16e. Прибыльная бизнес-модель WiMAX с более высоким покрытием пользователей,
удовлетворенностью пользователей и улучшающая энергетические потенциалы линий
связи (link budget) WiMAX может быть достигнута при использовании передовых
антенных технологий (MIMO и AAS): MIMO A/B & STC: Эффект MIMO A/B
заключается в ее способности переключаться между MIMO A и MIMO B.
Вариант MIMO A с одной
принимающей антенной известен также как режим STC (Space Time Coding – прием с
пространственно-временным кодированием) и особенно пригоден в условиях NLOS.
ААS - адаптивные антенные
системы: в AAS используется несколько антенн для динамического формирования
направленного луча. Этот луч контролируется базовой станцией (BS) для
направления его к абонентской станции (SS), с которой она (BS) осуществляет
коммуникацию. Системы AAS особенно годятся для использования в сценариях
с ограниченными
интерференциями и могут обеспечить значительные выгоды в среде с прямой
видимостью (LOS). Системы Iskratel по умолчанию поддерживают MIMO A/B &
STC, а системы AAS будут добавляться там, где это будет технически и
коммерчески выгодно.
Рисунок 21 – Общий вид
развертывание технологии WiMAX в Егорьевском районе.
Решением SI3000 Light ASN
предусматривается простой сетевой дизайн и использование «commodity» элементов
(т.е. однородных элементов, элементов массовой продукции с одинаковыми
свойствами) для установления мобильных соединений на сети провайдера услуг.
Результатом этого является наличие механизма хэндовера и продолжения IP-сеанса,
обеспечивающего хэндовер не в реальном масштабе времени для фиксированной WiMAX
сети и хэндовер операторского класса для мобильной WiMAX сети. Решение SI3000
Light ASN поддерживает также стандартные сетевые элементы, находящиеся за
пределами ASN. Помимо этого, возможна миграция типа SI3000 ASN – GW Mobile
WiMAX. Когда рынок и технология пересекутся, вы уже будете готовы предложить
полную поддержку роуминга и взаимодействия с широким диапазоном приложений CSN.
Рисунок 22 - Физическое
соединение сети WiMAX.
Light ASN от Iskratel
можете предложить:
- мобильные услуги со
значительно меньшими затратами на инфраструктуру.
- SI3000 Light ASN –
новая сетевая архитектура
- В решении SI3000 Light
ASN используется новая сетевая архитектура (New Network Architecture),
представляющая собой уникальную структуру, позволяющую использовать недорогие и
однородные (commoditized) сетевые элементы для создания управляемых, мобильных,
насыщенных мультимедийными услугами сетей.
Новая сетевая архитектура
SI3000 Light ASN, основанная на простой иерархии со сконфигурированными
однородными (commodity) сетевыми элементами, обеспечивает структуру между
базовой сетью CSN и радиосетью WiMAX.
Рисунок 23 - Логические
соединения сети WiMAX.
Преимущества новой
сетевой архитектуры:
- Уникальная и
новаторская архитектура;
- Развертывание однородных
(commodity) элементов (коммутатор, маршрутизатор) с небольшими затратами;
- Достаточен WiMAX
SS/SSM; отсутствие MobileIP стека на SSM;
- «Подрывное» воздействие
(disruptive impact);
- Обеспечивается механизм
хэндовера и продолжения IP-сеанса;
- Обеспечивает
возможность управления QoS для доставки услуг Triple Play.
5. РАЗРАБОТКА СЕТИ WiMAX ДЛЯ РЕАЛИЗАЦИИ УСЛУГИ ШИРОКОПОЛОСНОГО
ДОСТУПА В ИНТЕРНЕТ
5.1 Выбор характеристик
радиоинтерфейса
Базовая станция WiMAX
представляет собой модульное решение, которое может по мере необходимости
дополняться различными блоками, например, модулями для связи с магистральной
сетью провайдера. В минимальной конфигурации устанавливается модуль
радиоинтерфейса и модуль соединения с проводной сетью.
При выборе оборудования
WiMAX кроме его технических характеристик и цены важное и зачастую определяющее
значение представляет такой фактор, как специфические для России трудности
оформления частотных разрешений. Дело в том, что в России практически не
существует «безлицензионных» диапазонов. Для разных типов оборудования
предусмотрен различный порядок получения частотных разрешений. Для работы в
любых диапазонах операторы связи должны получить достаточно сложные и
многоуровневые разрешения как частотных служб, так и служб надзора за связью
[5].
Очевидно, что в нашей
стране главным фактором, влияющим на скорость внедрения систем WiMAX, являются
вопросы регулирования спектра, так как развитие рынка услуг WiMAX напрямую
зависит от выделения операторам необходимого частотного ресурса. Сегодня
наиболее перспективными с точки зрения будущего развития технологии WiMAX
являются диапазоны в районе 2,4, 3,5 и 5,6 ГГц.
Следует учитывать, что
распространение радиоволн в различных участках спектра имеет свои особенности,
которые во многом определяют дальность действия оборудования, а также
устойчивость к многолучевости.
Оборудование должно
производиться специализированной компанией, имеющий опыт разработки и
производства беспроводного оборудования, что является некоторой гарантией
качества.
Технические
характеристики оборудования, предоставляемые производителем, должны быть
достаточно полными, для того чтобы по ним можно было сделать вывод о его
возможностях. Представление таких характеристик говорит о профессионализме
сотрудников и в определенной мере гарантирует, что речь идет об оригинальном
продукте, а не о перепродаже малоизвестного бренда под торговой маркой
продавца.
Желательно, чтобы базовая
станция имела возможность секторирования и поэтапного наращивания
производительности, для чего она должна иметь возможность подключения внешней
антенны. Тогда на первом этапе достаточно одной базовой станции с
всенаправленной антенной, на следующем — двух, с антеннами с шириной диаграммы
180°, и так далее.
Оборудование должно быть
сертифицировано.
Должна быть возможность
получения разрешения на использование частот в диапазонах, используемых
оборудованием.
Система должна обладать
приемлемой стоимостью, причем в первую очередь важна минимальная стоимость
абонентского оборудования.
Принцип действия Mobile
WiMAX идентичен сетям сотовой связи: несколько рядом расположенных базовых
станций Mobile WiMAX образуют соту, соты объеденяются между собой и
обеспечивают непрерывное покрытие целого города. Оборудование Mobile WiMAX
обеспечивает большую скорость передачи данных, по сравнению с сотовыми сетями,
и сравнима со скоростью доступа в проводных сетях. Основные характеристики
WiMAX устройства:
Технические
характеристики WiMax:
·
Дальность
действия: до 50 км;
·
Максимальная скорость
передачи данных: до 70 Мбит/с на сектор одной базовой станции;
·
Рабочая частота:
2-11 ГГц;
·
Спектральная
эффективность: до 5 бит/сек/Гц;
·
Покрытие:
расширенные возможности работы вне прямой видимости значительно улучшают
качество покрытия обслуживаемой зоны;
·
Скорость доступа
в интернет в пределах сектора базовой станции на клиентских устройствах – до 10
Мбит/c;
·
Зона действия
одного сектора базовой станции в условиях плотной застройки – от 800 до 1500 метров;
·
Мобильность:
мгновенное переключение клиентского Mobile WiMAX оборудования между базовыми
станциями на скорости движения до 120 км/ч.
5.2 Расчет частотных
каналов
Общее число частотных
каналов, выделенных для развертки сотовой сети связи в данном месте,
определяется по формуле
,
(10)
где int(x) – целая часть числа х;
Fk – полоса частот, занятая одним
частотным каналом системы (частотный разнос между каналами).
5.3 Определения
размерности кластера
Для определения
необходимой размерности кластера С при заданных значениях p0 и pt используют соотношение
,
(11)
где p(C) – процент времени, в течение которого соотношения мощность
сигнала/ мощность помехи на входе приемника MS будет находиться ниже защитного отношения
.
Интеграл представляет
собой табулированную Q-функцию:
.
(12)
Нижний придел этого
интервала имеет вид:
,
(13)
где
и
выражены
в дБ;
–
определяется соотношением
.
(14)
В свою очередь значения
и
определяются
по формулам
,
(15)
,
(17)
–
параметр, который определяет диапазон случайных флуктуаций уровня сигнала в
точке приема:
.
(18)
Коэффициент
в (17) представляет собой медианное
значение затухания радиоволн на i-му
направлении увеличении помехи. Эти коэффициенты обратно пропорциональны
четверти ступени расстояния до источника помехи. Величина М обозначает число
базовых станций, которые «мешают», расположенных в соседних кластерах.
Сначала рассмотрим
случай, для всенаправленной антенны, где
,
,
и
,
,
;
где
- число секторов.
Выберем значение С=3.
,
(19)
Определим
Вычислив квадратный
корень, из получившегося значение получаем
Отсюда следует
Теперь вычислим нижнюю
границу Q-функции:
Этому значению в таблице
соответствует величина, равная
, это значение
приблизительно равно единице. Считая по формуле (3.2), получаем
Получившееся значение
явно больше
, которое из задания равно 10. Отсюда
следует, что данный тип антенны и выбранное значение кластера не подходит для
указанного стандарта.
Теперь рассмотрим случай
для направленной антенны, у которой угол диаграммы направленности
,
, М=2
и
,
.
Выберем значение С=4.
Определим 
Вычислив квадратный корень
из получившегося значение получаем
Отсюда следует:
Теперь вычислим нижнюю
границу Q-функции:
Этому значению в таблице
соответствует величина, равная 0,0838. Считая по формуле (3.2), получаем
Получившееся значение
немного меньше
, отсюда вытекает, что данный
тип антенны является наиболее оптимальным.
5.4 Расчет частотных
каналов, которые используются для обслуживания абонентов БС
Число частотных каналов,
которые используются для обслуживания абонентов в одном секторе, определяется
по формуле:
(20)
где
- число секторов.
5.5 Расчет допустимой
нагрузки БС
Величина допустимой
нагрузки в одном секторе определяется соотношением:
(21)
при условии, что
,
(22)
где
;
-
число абонентов, которые могут одновременно использовать один частотный
радиоканал. В данном случае величина
=1, т.к. используется
аналоговый стандарт.
Подкоренное выражение
больше, чем величина
, т.к.
.
5.6 Расчет числа абонентов,
обслуживающихся одной БС
При заданной активности
одного абонента в час наибольшей нагрузки можно рассчитать число абонентов,
которые обслуживаются одной БС по формуле
(23)
5.7 Расчет количества БС
Необходимое число базовых
станций на заданной территории обслуживания определяется соотношением:
,
(24)
где
- заданное число абонентов, которых
обслуживает сотовая сеть связи.
5.8 Расчет радиуса зоны
обслуживания БС
Величину радиуса можно
определить, используя выражение
(25)
км
6. ПРОВЕРОЧНЫЙ РАСЧЕТ
ПОМЕХОУСТОЙЧИВОСТИ ДЛЯ ОБЕСПЕЧЕНИЯ РАБОТЫ СЕТИ
6.1 Расчет величины
защитного расстояния
Величина защитного
расстояния между BTS с одинаковыми
частотными каналами определяется соотношением
(26)
6.2 Расчет уровня сигнала
на входе приемника
Необходимую мощность на
входе приемника
при
и
определяют, пользуясь так называемым
первым уравнением передачи.
(27)
где
- коэффициент усиления антенны базовой
станции, дБ;
f – средняя частота выделенного
диапазона частот;
-
мощность передатчика BTS,
дБВт;
-
потери в фидере BTS, дБ;
-
длинна фидера, которая может быть равной или больше высоты подвеса антенны BTS;
-
погонное ослабление фидера, дБ/м.
6.3 Расчет вероятности
ошибки
Для определения
вероятности ошибки, когда MS
находится на границе зоны обслуживания BTS, необходимо использовать соотношение
(28)
6.4 Расчет эффективности
использования радиоспектра
Важным параметром сотовой
сети связи является эффективность использования радиоспектра
, обусловленная числом активных абонентов
на 1 МГц полосы частот на передачу (или прием) BTS, то есть
(29)
где полоса частот на
передачу (или прием)
, число активных абонентов
.
(30)
где
- радиус территории, которая
обслуживается,
.
Отсюда
(31)
.
7. ВЫБОР ОБОРУДОВАНИЯ
БАЗОВЫХ АБОНЕНТСКИХ СТАНЦИЙ
Функционально
оборудование WiMAX разделяется на базовое и абонентское. Первое поколение чипов
для базовых станций обладает меньшим уровнем интеграции, чем для абонентских
станций. Для реализации MAC-протокола базовой станции требуется увеличение
производительности этих решений. Для этой цели используются внешние процессоры,
служащие для выполнения верхнего уровня MAC-протокола. Таким образом, чипсеты
WiMAX реализуют функции физического уровня и функции нижнего уровня
MAC-протокола.
7.1 Выбор оборудования
абонентских станций
Для разработчиков
абонентского оборудования WiMAX наиболее перспективными являются «системы на
кристалле» от четырех производителей: Fujitsu, Intel, Sequans и Wavesat.
Компания Intel первой
предложила разработчикам «систему на кристалле» PRO/Wireless 5116 для
абонентских станций WiMAX, в которой были интегрированы функции как
физического, так и MAC уровней. Чип MB87M3400 компании Fujitsu предназначен для
более широкого диапазона приложений и позволяет разрабатывать как базовое, так
и абонентское оборудование. Компания Sequans разработала отдельные чипы SQN1010
и SQN2010 — для базового и абонентского оборудования соответственно.
«Системы на кристалле» от
Fujitsu, Intel и Sequans полностью реализуют функции MAC-протокола для
абонентских станций WiMAX. Другой подход к разработке предложила компания
Wavesat, выпустив две микросхемы: OFDM-модем DM256 (реализует функции
физического уровня) и MC336 (представляет собой вычислительное ядро,
реализующее нижний уровень MAC-протокола). Для разработки абонентского модема
на базе «системы на кристалле» от Fujitsu, Intel и Sequans не требуется
дополнительного внешнего процессора.
Характеристики
рассматриваемых чипов, определяемые типом дуплекса, шириной канала и другими
параметрами, сильно отличаются. Для организации полнодуплексной работы на базе
решения Fujitsu MB87M3400 требуется использование двух чипов. Микросхема Sequans
SQN1010 является первой «системой на кристалле», которая поддерживает
полнодуплексный режим работы. Решение компании Wavesat DM256/MC336 также
позволяет организовывать полнодуплексный режим работы на основе одной
микросхемы OFDM-модема DM256.
Микросхемы компаний
Fujitsu и Sequans позволяют организовывать каналы шириной до 20 и 28 МГц
соответственно, тогда как максимальная ширина канала для чипов Intel и Wavesat
составляет 10 МГц с промежуточными значениями 3,5 и 7 МГц.
Радиоинтерфейс
рассмотренных «систем на кристалле» содержит блоки АЦП/ЦАП для прямого
аналогового соединения с внешним приемопередатчиком. В табл. 2 представлены
основные параметры решений для разработки абонентского оборудования WiMAX [6].
Таблица 6. Основные
параметры решений для разработки абонентского оборудования WiMAX.
|
Параметр
|
Fujitsu MB87
|
Intel PRO/Wireless 5116
|
Sequans SQN1010
|
Wavesat DM256/MC336
|
|
Функции
|
PHY/MAC
|
PHY/MAC
|
PHY/MAC
|
PHY/MAC
|
|
Максимальная ширина канала
|
20 МГц
|
10 МГц
|
28 МГц
|
10 МГц
|
|
Режим дуплекса
|
H-FDD, TDD, FDD (2 чипа)
|
H-FDD, TDD
|
H-FDD, TDD, FDD
|
H-FDD, TDD, FDD
|
|
Системный интерфейс
|
Mill, 32-bit generic
|
Mll
|
RMLL, PCI
|
PCI
|
7.2 Выбор оборудования
базовых станций
Рассмотрим варианты
разработки базовых станций WiMAX на основе известных чипов. Компания Fujitsu разработала
чип MB87M3400 как для базовых, так и для абонентских станций. Однако, в отличие
от решения Intel, чип Fujitsu имеет интерфейс для внешнего процессора. Для
реализации полнодуплексного режима требуется использовать два чипа, один из
которых выполняет функции физического уровня и нижнего уровня MAC-протокола, а
второй представляет собой внешний процессор (сторонней фирмы) для реализации
верхнего уровня MAC-протокола. Для разработки базовых станций компания Fujitsu
предоставляет отладочный комплект, реализующий полнодуплексный режим работы, с
процессором Freescale MPC8560, но не поставляет программное обеспечение,
обеспечивающее функции верхнего уровня MAC-протокола.
Компания PicoChip
предлагает решение PC102/PC8520, построенное на двух своих параллельных
процессорах PC102. Компания предоставляет программное обеспечение, реализующее
физический уровень и функции нижнего уровня MAC-протокола на чипах PC102. Так
же как и Fujitsu, компания PicoChip использует процессор Freescale MPC8565 для
реализации верхнего уровня MAC-протокола в своем отладочном комплекте. Однако в
отличие от Fujitsu, PicoChip лицензировала свое программное обеспечение для
верхнего уровня MAC-протокола. Так как в решение PC102/PC8520 не заложены
функции шифрования-дешифрования, для их выполнения должен быть использован
внешний процессор.
Чип для разработки
базовых станций SQN2010 компании Sequans является первой «системой на
кристалле», имеющей полнодуплексный режим. SQN2010 реализует все функции
физического и MAC уровней, необходимые для полнодуплексной работы базовой
станции. Чип SQN2010 отличается от SQN1010 наличием второго центрального
процессора, реализующего верхний уровень MAC-протокола. На чипе SQN1010
предусмотрен интерфейс PCI для обеспечения возможности подключения внешнего процессора.
Решение DM256/MC336
компании Wavesat может быть использовано и для разработки базовых станций. Это
решение поддерживает полнодуплексный режим работы, но следует отметить, что для
реализации функций шифрования-дешифрования оно требует подключения внешнего
процессора. Так же как и Fujitsu, Wavesat не предоставляет программное
обеспечение для верхнего уровня MAC-протокола, необходимое для разработки
базовых станций.
Из четырех описанных
решений только чипы PicoChip PC102 не интегрируют в себе функций АЦП/ЦАП.
Поэтому для разработок, в которых используется аналоговый радиоинтерфейс,
дополнительно потребуются устройства АЦП/ЦАП. Основные параметры рассмотренных
решений для разработки базовых станций представлены в табл. 3 [6].
Таблица 7. Основные параметры
рассмотренных решений для разработки базовых станций WiMAX.
|
Параметр
|
Fujitsu MB87
|
PicoChip PC102/PC8520
|
Sequans SQN2010
|
Wavesat DM256/MC336
|
|
Функции
|
PHY/MAC
|
PHY/MAC
|
PHY/MAC
|
PHY/MAC
|
|
Максимальная ширина канала
|
20 МГц
|
10 МГц
|
28 МГц
|
10 МГц
|
|
Колличество чипов
TDD
FDD
|
1 чип
1 чип
|
2 чипа
2 чипа
|
1 чип
1 чип
|
1 чип
1 чип
|
|
Системный интерфейс
|
Mill, 32-bit generic
|
Mll
|
RMLL, PCI
|
PCI
|
|
Радиоинтерфейс
|
Аналоговый и цифровой
|
цифровой
|
Аналоговый и цифровой
|
Аналоговый и цифровой
|
Выбор производителя чипов
для разработки систем WiMAX является важным стратегическим решением. Для
быстрой и эффективной разработки системы требуется максимально полная
программная и аппаратная поддержка и средства для разработки и отладки. Наличие
отладочных комплектов позволяет значительно увеличить скорость и уменьшить
стоимость разработки оборудования WiMAX, что является одним из главных
критериев при выборе того или иного продукта.
Развертывание систем
WiMAX:
Построение сети
фиксированного беспроводного доступа предполагает использование трех типов
оборудования — базовых станций, абонентских станций и оборудования для
организации связи между базовыми станциями.
Для того чтобы два и
более радиосигнала не мешали работе друг друга, необходимо, чтобы они совпадали
(пересекались) по частоте (частотному спектру), времени и в пространстве. Тем
самым, каждая система для своего нормального функционирования должна иметь
частотно-территориальный разнос (ЧТР) с мешающим сигналом (интерференцией).
Кроме того, поскольку мы имеем дело с цифровыми системами, радиосигналы в
которых имеют форму импульса, то условие совпадения по времени означает
совпадение или наложение по времени импульсов сигналов, приходящих в систему.
Тем самым, временной разнос импульсов радиосигналов может быть обеспечен временной
синхронизацией работы системы с источниками интерференции.
Сети стандарта IEEE
802.16 WiMAX являются на сегодняшний день наиболее высокотехнологичной системой
BWA в области беспроводных телекоммуникаций и предъявляют повышенные требования
к параметрам и качеству своего антенно-фидерного тракта. Антенны и СВЧ тракт в
целом является самой капризной частью любой системы беспроводного доступа, в
случае же сетей WiMAX, неправильная интеграция активного оборудования и СВЧ
может свести к нулю все преимущества данной технологии. В базовых станциях
сетей WiMAX могут использоваться всенаправленные и секторные антенны с углом
сектора на 60, 90 и 120 градусов.
При установке базовых
станций используется существующая инфраструктура.
Рисунок 24 - Типовая
схема включения БС WiMAX, размещенных на существующих площадках БШД с
использованием транспортных каналов NGN
Местоположение
WiMAX-площадок должно выбираться таким образом, чтобы обеспечить максимальную
производительность. С точки зрения операционной эффективности особое внимание
необходимо обращать на операционную поддержку процесса развертывания площадок,
а также на их стандартизацию. Это позволяет экономить время и деньги,
затрачиваемые на проектирование каждой индивидуальной площадки. Стандартизация
подразумевает создание небольшого набора конфигураций, которые берутся как
готовые проекты и подгоняются с минимальными изменениями под специфику
конкретной площадки. На рынке существуют инвентарные решения, поддерживающие
автоматизацию такого процесса. Особое внимание в таких решениях следует уделять
поддержке актуальности инвентарных данных, так как в дальнейшем они будут
необходимы для расширения WiMAX-площадок по мере роста спроса и для
гарантирования высокого уровня услуг.
8. БЕЗОПАСНОСТЬ
ЖИЗНЕДЕЯТЕЛЬНОСТИ ПРИ РАЗВЕРТЫВАНИИ СЕТИ.
8.1 Особенности
географического положения Егорьевского района Московской области.
Расположен в 101 км к юго-востоку от Москвы (80 км от МКАД), в Мещёрской низменности, на реке Гуслица (приток
Нерской), связан со столицей прямой автодорогой (Москва — Касимов). Население
80000 человек.
Поверхность территорий
Егорьевского района в основном равнинная, с небольшими холмам, достигающими
высоты 140 м над уровнем моря. Лишь к югу от Егорьевска есть отдельные холм,
поднимающиеся до 168 и 214 м. Самая низкая часть территории находится близ реки
Цны и реки Устани, здесь она опускается до уровня 107 м. Егорьевский район характеризуется высокой лесистостью (52,5%), что выше среднего показателя по
Московской области более чем на 10 процентов. Все реки на территории района
относятся к категории малых. В районе выделяется 26 относительно крупных рек и
речек, среди них р. Ока - 280 км, р. Москва - 44 км, р. Клязьма - 27 км.
8.2 Воздействие
радиочастотного поля на организм человека
Распространение
широкополосного Интернета обеспечивает развитая сеть базовых станций с
фиксированными антеннами, передающими информацию коммутационным центрам с
помощью радиочастотных сигналов. С целью обеспечения повышения скорости
мобильного интернета операторы увеличивают количество базовых станций и
осуществляют их постоянное переоснащение в соответствии с самыми новыми
технологическими разработками отрасли. Факт наличия значительного количества радиотехнических
объектов время от времени вызывает беспокойство по поводу возможного влияния
радиосигналов на здоровье пользователей.
В результате проведенных
исследований Всемирная организация здравоохранения (ВОЗ) официально признала,
что ни одна из проведенных в последнее время экспертиз не подтвердила, что
радиочастотное поле, создаваемое мобильными телефонами или базовыми станциями,
негативно влияет на здоровье человека.
Важно также указать, что
установленные в России максимально допустимые уровни излучения значительно ниже
допустимого уровня влияния радиочастотных сигналов радио- и телевизионных
передатчиков, некоторых других бытовых приборов (например, микроволновых
печей).
Месторасположение базовой
станции определяется с учетом необходимости обеспечения покрытия и качества
связи и обусловливается наличием помещений или открытых мест, отвечающих
техническим требованиям для монтирования соответствующего оборудования. Базовые
станции позволяется устанавливать на сооружениях общественного пользования и жилых
домах, если суммарная мощность излучения не превышает предельно допустимых
уровней, установленных санитарными нормами.
Санитарные нормы уровней
излучения приведены в документе «Санитарные нормы и правила защиты населения от
действия электромагнитных излучений», утвержденном приказом Министерства
транспорта и связи России (от 01.08.96 г. №29) и зарегистрированном в Минюсте
России (29.08.96 г. №488/151). В соответствии с этими нормами плотность потока
электромагнитной энергии не должна превышать в месте пребывания человека 2,5
мкВт/см2. Нормативная база России в сфере гигиены электромагнитного облучения
является одной из самых жестоких в мире. Для сравнения приводим предельно
допустимые уровни электромагнитного излучения в мкВт/см2: Россия — 10; Скандинавия
— 100; Венгрия — 12. Результаты исследований влияния мобильной связи
На сегодня достоверно
подтвержден только непрямой вред излучения радиосвязи в населенных пунктах.
Так, немецкие ученые протестировали работу 231 модели кардиостимуляторов при
влиянии на них микроволнового излучения радиоволн. В соответствии с
результатами их исследования, более 30% кардиологических аппаратов подвержены
влиянию радиоволн.
Микроволновый диапазон
электромагнитного поля, в котором работает современная радиосвязь, находится в
пределах 450 МГц—2 ГГц. Такие поля, в отличие от ионизирующего излучения
(гамма-, рентгеновские лучи, коротковолновый ультрафиолет), независимо от их
мощности, не могут вызывать ионизацию или вторичную радиоактивность в
организме.
Доказано, что волны диапазона
с частотой выше 1 МГц приводят к нагреванию тканей (вследствие поглощения ими
энергии электромагнитного поля). Поля высокой интенсивности способны локально
повышать температуру тканей на 10° и больше. Даже менее важное изменение
температуры живых тканей может приводить к таким последствиям, как нарушение
развития плода, снижение мужской фертильности, изменение гормонального фона.
Можно выделить четыре
системы организма, более всего поддающиеся вредному влиянию электромагнитного
излучения:
1. Центральная нервная
система. Она наиболее чувствительна к электромагнитным полям. Наблюдается
ухудшение памяти, внимания, нарушение сна, возможно возникновение
нейроциркуляторной дистонии.
2. Иммунитет. Происходит
угнетение иммуногенеза, что приводит к ухудшению устойчивости организма к
различным инфекциям.
3. Эндокринная система.
Увеличивается содержание адреналина в крови (нет потребности рассказывать о
вреде повышенного давления и хронического пребывания организма в состоянии
стресса).
4. Половая система.
Именно молодые люди репродуктивного возраста особенно часто пользуются
источниками электромагнитных волн. Наблюдается угнетение сперматогенеза,
повышение количества врожденных недостатков развития и увечий. Яичники более
чувствительны к влиянию электромагнитного излучения.
Из изложенного очевидно,
что при равномерном расположении базовых станций в зоне покрытия широкоплосным
мобильным интернетом с соблюдением санитарных норм наибольшую опасность для
здоровья абонента несет непосредственно его мобильный телефон и телефоны людей,
его окружающих. Причем от работающего рядом мобильника можно получить
значительно выше уровень облучения, чем от собственного телефона. Это связано с
тем, что при разговоре антенна мобильника ориентирована таким образом, чтобы ее
основный поток излучения направлялся в сторону от головы того, кто
разговаривает. К сожалению, такое облучение мы очень часто можем получить в
общественном транспорте.
При установлении антенны
базовой станции вокруг нее фиксируется санитарная зона, за границей которой
суммарная мощность излучения не превышает предельно допустимых уровней,
установленных санитарными нормами. Место установления антенны базовой станции,
которая не попадает в санитарную зону, является вполне безопасным. При этом,
чтобы отвести санитарную зону от сооружения, на котором устанавливается
антенная система (до трех антенн), последнюю закрепляют на башню, возвышающуюся
на 10—20 м над уровнем крыши сооружения, или же на край стены сооружения
(только одну отдельную антенну). А вот все места и сооружения, расположенные в
направлениях, куда нацелены антенны, попадают под облучение микроволновой
энергии, которая с увеличением расстояния от установленной антенны спадает.
Следовательно, сооружение или здание, на котором устанавливается базовая
станция, имеют самую низкую величину облучения. А те здания, где нет антенн
базовых станций, но расположенные в зоне облучения антенн с соседних зданий,
имеют наивысший уровень облучения. Причем, чтобы «пробить» стены зданий и тем
самым обеспечить достаточный уровень мощности для работы мобильных телефонов,
мощность облучения от базовой станции нужно увеличивать. Повышение мощности
излучения антенны базовой станции требуется также и в случае, когда базовая
станция расположена на значительном расстоянии от зоны, которую она должна
обслуживать, чтобы компенсировать потери энергии на большое расстояние
распространения. Следовательно, чтобы излучение антенн базовых станций было как
можно ниже, они должны равномерно располагаться в зоне обслуживания. Если же
зона обслуживается отдаленными базовыми станциями, то уровень радиочастотной
энергии существенным образом повышается и может на отдельных направлениях
наносить ущерб.
9. ТЕХНИКО-ЭКОНОМИЧЕСКОЕ
ОБОСНОВАНИЕ ЦЕЛЕСООБРАЗНОСТИ РАЗРАБОТКИ ИНФОРМАЦИОННОЙ СЕТИ НА ОСНОВЕ ТЕХНОЛОГИИ
Mobile WiMAX
Построение сети МБД может
проводиться различными способами, которые требуют различное количество каналов
для реализации. В первую очередь количество каналов, требуемых для построения
сети МБД, определяется размерностью кластера. Для частотно-территориального
планирования сетей МБД используются кластеры 1, 2 или 3, в редких случаях 4.
Так как системы МБД строятся с использованием секторных антенн, то конфигурация
сети в зависимости от типа кластера записывается в следующем формате:
BxSxF, (32)
где B - количество БС в
кластере c разными наборами частот,
S - количество секторов
на БС,
F - количество частот на
одной БС.
Впоследствии, с ростом
абонентской базы требования к пропускной способности возрастут, и доход от
новых абонентов можно будет использовать на расширение сети. Для минимизации
перепланирования и построения уровня плотности размещения БС: макро, микро и
пико. Макроуровень обычно строится из БС с радиусом обслуживания до нескольких
километров и в основном предназначен для обслуживания абонентов, движущихся в
автомобиле, и части пешеходов на улице. Такие абоненты не могут быть обслужены
БС с меньшими зонами обслуживания, так как потери пропускной способности и
задержки из-за частого хэндовера приводят к ухудшению качества связи. Также
макроуровень используется для покрытия малонаселенных районов. Микроуровень
состоит из БС с радиусом обслуживания обычно до километра и применяется для
обслуживания пешеходов в районах со средней плотностью абонентов внутри и вне
помещений. Как правило, микро- и макроуровни обеспечивают сплошное покрытие
городов.
Пико-уровень строится из
БС с радиусом обслуживания до нескольких сотен метров и предназначен для
обслуживания пешеходов и стационарных абонентов в местах скопления людей: в магазинах,
на площадях, в транспортных узлах и т.д. Построение многоуровневой сети
схематично показано на рис. 2, при этом каждый уровень может строиться с
применением секторных или всенаправленных антенн.
Каждый уровень такой сети
может строиться с единичным переиспользованием частоты, однако из-за
существенной разницы в мощности между БС различных уровней невозможно
развернуть на одной территории разные уровни с использованием одного частотного
канала. Это приводит к тому, что соты нижнего уровня испытывают недопустимые
помехи от БС более высокого уровня. По этой причине для построения
многоуровневой
Таким образом, для
обеспечения гибкости при планировании сетей МБД требуется порядка трех-четырех
каналов, что позволяет постепенно наращивать количество оборудования и
пропускную способность сети, а также строить сети с многоуровневой иерархией. В
результате этого при использовании оборудования с шириной канала 10 МГц
требуется порядка 30—40 МГц.
Помимо этого очень важно
отметить, что спектр, выделяемый одному оператору, должен идти одним
непрерывным блоком. В первую очередь это объясняется конструкцией современных
БС. Как правило, многосекторные макро-БС МБД изначально предусматривают
модульную конструкцию. При этом предусматривается функционирование всех каналов
БС в узком диапазоне, что позволяет создавать высококачественные фильтры,
обеспечивающие значительное подавление помех в соседних каналах и эффективное
использование спектра за счет исключения защитных полос, а также дублировать
часть высокочастотных цепей для разных каналов. При несплошном выделении
спектра такая возможность отсутствует, что требует покупки большего количества
оборудования, дополнительных усилий по интеграции нескольких комплектов БС и
увеличивает затраты на размещение и эксплуатацию БС. Все это может привести к
многократному увеличению стоимости построения сети МБД. Также несплошное
выделение повышает вероятность появления помех от сетей различных операторов в
соседних полосах и требует организации дополнительных защитных полос.
Таблица 8. Профили для
сертификации оборудования Mobile WiMAX.
|
Полоса, МГ ц
|
Ширина канала, МГ ц
|
Тип дуплекса
|
|
2300—2400
|
5
10
8,7
|
TDD
|
|
2305—2320
|
3,5
5
10
|
|
2496—2690
|
5
10
|
Как видно из таблицы,
минимальной единицей спектра для систем МБД является 5 МГц, и любое выделение
частотного ресурса должно быть кратно этой величине. Однако для выделения
спектра рекомендуется использовать максимальную ширину канала в качестве
единицы выделения. В первую очередь это связано с экономической эффективностью,
так как стоимость оборудования для 5 МГц и 10 МГц является одинаковой, и
поэтому предоставление пропускной способности с помощью каналов 5 МГц потребует
двукратного увеличения капитальных вложений в сеть. Предоставление оператору
радиочастотного спектра, кратного максимальной полосе частот, дает оператору
максимальную гибкость в развертывании сети и минимизирует расходы, тем самым
повышая конкурентоспособность и востребованность услуг МБД. Далее все выкладки
приводятся для ширины 10 МГц, но могут быть легко нормированы к каналам 5 и 7
МГц.
В данном работе
рассматривается типовой город с населением 1,75 млн. и прилегающая к нему
территория Егорьевского района Московской области. Характеристики
рассматриваемого района приведены в таблице 3.
Таблица 9. Распределение
населения в рассматриваемом регионе.
|
Районы
|
Площадь, км²
|
Население
|
|
Городской центр
|
5
|
35000
|
|
Остальной город
|
3
|
15000
|
|
Пригород
|
12
|
8000
|
|
Окраины
|
20
|
10000
|
|
Вся городская территория
|
40
|
68000
|
В качестве потенциальных
абонентов рассматривается возрастная группа от 15 до 75 лет, которая, как
правило, составляет 75% от всего населения. Помимо указанных плотностей в
различных районах, также учитывается миграция населения в деловой центр из
пригородов и окраин и обратно в течение дня. За основу взяты данные ежедневного
наблюдения за транспортом в Егорьевском районе Московской области.
Все абоненты разделены на
три категории, различающиеся перечнем востребованных услуг и активностью.
Рассматриваются следующие группы абонентов:
• Профессионалы -
пользователи, использующие услуги сетей МБД в своей работе, а также и для
личных целей. Основными используемыми приложениями для таких абонентов будут
считаться скачивание файлов, видеоконференции и электронная почта. Несмотря на
то что данные пользователи большую часть времени будут работать стационарно, им
требуется мобильность при выезде на совещания, к клиентам или на объекты
строительства и т. д.
•
Высокоактивные частные пользователи. Данная группа использует доступ через МБД
в основном в собственных целях. Основными приложениями являются просмотр
web-страниц, online-игры, скачивание музыки и видео;
• Обычные пользователи -
пользователи, использующие доступ в Интернет по мере необходимости, в основном
для просмотра web-страниц. Предполагается, что данные абоненты используют сети
МБД не более нескольких часов в день.
Последовательность
расчета требуемой плотности трафика, которая используется в данном анализе,
приведена в таблице 10.
Таблица 10. Параметры
расчета плотности трафика.
|
Шаг
|
Описание
|
Комментарии и предположения
|
|
1
|
Плотность населения
|
1,4
|
|
2
|
Прирост населения
|
1-2%
|
|
3
|
Потенциальные абоненты
|
В возрасте от 15 до 75, 70—75% от всего населения
|
|
4
|
Проникновение
|
10—12%
|
|
5
|
Распределение абонентов
|
• 50% профессионалы
• 35% активные пользователи
• 15% обычные пользователи
|
|
6
|
Эффект от мобильности и роуминга
|
Распределение абонентов по территории в ЧНН
|
|
7
|
Требуемая пропускная способность в ЧНН
|
Простое суммирование отдельных пользователей
|
На основе предсказанных
параметров приложений и услуг в были сформированы минимальные требования к
пропускной способности, указанные в таблице 11.
Таблица 11. Минимальные
требования к пропускной способности в ЧНН
|
Тип абонентов
|
Распределение
по группам
|
Активность среди
абонентов (1 из N)
|
Доля времени
активной передачи
|
Минимальная
(желаемая)
скорость в ЧН
|
|
Профессионалы
|
50%
|
N = 5
|
25%
|
75 кбит/с
(600 кбит/с)
|
|
Активные
пользователи
|
35%
|
N = 7
|
25%
|
60 кбит/с
(480 кбит/с)
|
|
Обычные
пользователи
|
15%
|
N = 20
|
25%
|
30 кбит/с
(240 кбит/с)
|
|
Среднее по всем типам
пользователей
|
N = 7.9
|
25%
|
63 кбит/с
(504 кбит/с)
|
На основании этих данных
были рассчитаны требования к плотности трафика для различных районов
рассматриваемой территории. Данные требования показаны в таблице 12. Также
составлена диаграмма числа активных абонентов на территории Егорьевского района
Московсой области на рисунке 25.
Рисунок 25 - Число
активных абонентов на территории Егорьевского района Московской области.
Таблице 13. Требования к
плотности трафика.
|
Район
|
Число активных абонентов
|
Поправка
|
Требуемая пропускная способность к
десятому году функционирования сети
|
|
Городской центр
|
30000
|
+ 15%
|
20 Мбит/с/км2 на площади 5 км²
|
|
Остальной город
|
10000
|
+15%
|
5,8 Мбит/с/км2 на площади 3 км²
|
|
Пригород
|
6 000
|
0%
|
1,6 Мбит/с/км2 на площади 12 км²
|
|
Окраины
|
4 000
|
0%
|
0,12 Мбит/с/км2 на площади 20 км²
|
9.1. Расчет себестоимости
разработки
Структура расходов
оператора на построение сети радиодоступа показана на рисунке 26.
Так как структура сети
радиодоступа имеет широкую инфраструктуру оценить затраты на ее развертывание
очень сложно. Могут возникать дополнительные расходы с монтажем оборудования
для развертывания сетей WiMAX.
Также использование на территории Егорьевского района имеющихся базовых станций
смежных технологий позволит значительно сократить расходы на монтировку БС. Для
расчета капитальных вложений используем данные для средних капитальных вложений
на квадратный километр, в зависимости от плотности насыщения базовых станций.
Рисунок – 26. Структура
расходов оператора на построение сети радиодоступа.
В зависимости от того,
имеется ли у оператора уже существующая сеть для другого оборудования или
диапазона, определяется, насколько значительными будут инвестиции. Однако в
любом случае оператору придется затратить значительные средства на
переоборудование существующих мест установки, а также и на развертывание
дополнительных мест в том случае, если предыдущая сеть не обеспечивала плотного
покрытия всей территории. На основании приведенных данных в [3] проведен анализ
требуемого числа БС для обеспечения покрытия всей территории с заданным порогом
качества в зависимости от доступной полосы и используемых ширин каналов.
Результаты данного анализа для полосы 2500—2690 МГц показаны в таблице 14.
Таким образом доля
капитальных затрат в данной технологии определяется, как произведение затрат на
1 км² и количество покрытой площади (таблица 9):
К = 83,5 · 5 + 77,3 · 3 +
68,4 · 12 + 49,3 · 20 = 2 454,2 тыс. руб.
Таблица 14. Влияние
доступного радиоспектра на количество БС и приемопередающих комплектов.
|
Площадь территории
|
40 км²
|
|
Требуемая плотность
трафика
|
20 Мбит/с/ км²
|
|
Доступный спектр
|
20 МГц
|
|
Ширина канала
|
10 МГц
|
|
Тип антенны БС
|
(2x2) MIMO
|
|
Расстояние между БС
|
1,10 км
|
|
Площадь БС
|
1,05 км2
|
На рисунке 27 показана
диаграмма распределения числа базовых станций на территории Егорьевского района
Московской области для предоставления широкополосного доступа в Интернет. По
данному графику можно увидеть резкое увеличение числа станций в районе
городского центра в связи с большим количеством активных абонентов.

Рисунок 28 - Капитальные
затраты в тысячах рублей на 1 квадратный километр покрытия широкополосным
доступом
9.2 Оценка экономической
эффективности внедрения проектируемой информационной сети
Основной метрикой для
определения экономической эффективности сети для оператора в выбрано количество
БС, требуемых для покрытия заданного региона, так как развертывание и
эксплуатация БС МБД составляет значительную долю расходов операторов.
В зависимости от того,
имеется ли у оператора уже существующая сеть для другого оборудования или
диапазона, определяется, насколько значительными будут инвестиции. Однако в любом
случае оператору придется затратить значительные средства на переоборудование
существующих мест установки, а также и на развертывание дополнительных мест в
том случае, если предыдущая сеть не обеспечивала плотного покрытия всей
территории.
Это позволяет снизить
затраты на развертывание новых площадок, составляющие значительную часть
затрат. В пригородах и области, где требуется обеспечить покрытие, количество
БС и приемопередатчиков остается неизменным. Также следует отметить, что
использование более широких каналов позволяет сократить затраты на оборудование
МБД.
Таблица 15. Развитие
абонентской базы (из числа активных пользователей) в промежуток времени с 2010
– 2017 гг.
|
Район
|
2010
|
2011
|
2012
|
2013
|
2014
|
2015
|
2016
|
2017
|
|
Городской центр
|
12
|
17
|
21
|
23
|
25
|
27
|
29
|
30
|
|
Остальной город
|
3
|
5
|
6
|
7
|
8
|
9
|
10
|
10
|
|
Пригород
|
1
|
2,3
|
2,9
|
3,3
|
3,9
|
4,4
|
5
|
6
|
|
Окраины
|
0,5
|
1,3
|
2,1
|
2,6
|
3
|
3,1
|
3,5
|
4
|
По результатам таблицы 15
можно обнаружить закономерность роста числа абонентов использующих технологию WiMAX, объясняется это тем, что новая
технология дает ощутимую экономию средств на предоставляемые услуги, а также
мобильность данной технологии позволяет использовать Интернет в удобных местах.
Далее наблюдается некоторое падение за счет временного перенасыщения рынка:
меньший прирост новых пользователей. Малый прирост обусловлен за счет
медленного перехода на нового оператора радиосвязи. Далее наблюдается
стабильный рост числа абонентов. После 2017 года в планах завоевание так
называемой “неактивной публики”.
По результатам таблицы 15
развитие абонентской базы из числа активных абонентов можно построить график
интенсивности роста числа абонентов.
Рисунок 29 –
Интенсивность роста числа абонентов в период с 2010 по 2017 гг.
Для определения дохода от
предлагаемых услуг предлагается составить таблицу доходов 16.
Таблица 16. План дохода
от применение технологии WiMAX
в промежуток времени с 2010 – 2017 гг. в тыс. рублей.
|
Район
|
2010
|
2011
|
2012
|
2013
|
2014
|
2015
|
2016
|
2017
|
|
Городской центр
|
1 400
|
2 400
|
3 200
|
4 600
|
5 000
|
5 400
|
5 800
|
6 000
|
|
Остальной город
|
600
|
1 000
|
1 200
|
1 400
|
1 600
|
1 800
|
2 000
|
2 000
|
|
Пригород
|
200
|
460
|
580
|
660
|
780
|
880
|
1 000
|
1 200
|
|
Окраины
|
100
|
260
|
420
|
520
|
600
|
3,1
|
700
|
800
|
|
Итог
|
1 300
|
2 120
|
3 400
|
4 180
|
4 980
|
5 083
|
9 500
|
9 000
|
С учетом использования
беспроводной технологии WiMAX
установке и монтажу базовых и абонентских станций норма выработки 1 ремонтника составит
224 руб./час.
Далее рассчитывается месячный
доход от деятельности автомехаников:
1)Расчет дохода за 1 рабочий
день с 1 работника:
224 руб./час × 8
часов = 1792 рубля
2)Расчет месячного дохода
1 автомеханика:
1792 рубля × 22 дня
= 39424 рубля
3)Расчет месячного дохода
6 автомехаников:
39424 рубля × 6
чел. = 236544 рубля
Получение доходов
напрямую связано с ростом числа активных абонентов пользования сетью, поэтому
также как и в таблице 15 наблюдается закономерный рост доходов от внедренной
технологии WiMAX на территории Егорьевского района
Московской области.
По результатам таблицы 16
строим диаграмму роста доходов по экономическим зонам.
Рисунок 30 – Диаграмм
роста доход в период с 2010 – 2017 гг. в тыс. рублей распределенных по
экономическим зонам
Общей оценкой
эффективности работы предприятия в рыночных условиях хозяйствования служат
показатели рентабельности и показатели интенсивности использования
производственных ресурсов предприятия.
Рентабельность
характеризует прибыль, получаемую с каждого рубля средств, вложенных в
предприятия или иные финансовые операции. Показатели рентабельности – это
важнейшие характеристики фактической среды формирования прибыли и дохода
предприятий. При анализе производства показатели рентабельности используются
как инструмент инвестиционной политики и ценообразования. Для расчета
показателей составляется аналитическая таблица 17.
Таблица 17 Расчет и динамика
показателей интенсивности использования ресурсов технологий.
|
Показатели
|
Методика расчета
|
2010 г
|
2011г
|
Изменение
|
|
Выручка от реализации продукции, тыс. руб
|
Табл.16
|
5310
|
7131
|
1821
|
|
Себестоимость включая коммерческие и управленческие расходы, тыс.
руб
|
Исходные данные
|
4920
|
6681
|
1761
|
|
Прибыль от реализации, тыс. руб
|
|
315
|
434
|
119
|
|
Чистая прибыль тыс. руб
|
|
214
|
339
|
125
|
|
Рентабильнось
|
|
Предлагаемой продукции
|
Прибыль/себестоимость
|
0,064
|
0,065
|
0,001
|
|
Ипользования технологии WiMAX
|
Прибыль/выручку
|
0,04
|
0,05
|
0,01
|
где стр. 220 – НДС;
стр. 230 – дебиторская
задолженность (более 12 месяцев);
стр. 240 – дебиторская
задолженность (менее 12 месяцев);
стр. 215 – товары отгруженные.
На 01.01.2009 г = 0 +
0 + 129 + 0 = 315 тыс. руб.
На 01.01.2010 г = 0 +
0 + 434 + 0 = тыс. руб.
Одним из показателей
экономической деятельности организации в целом является рентабельность, который
принято называть экономической рентабельностью. Это самый общий показатель,
отвечающий на вопрос, сколько прибыли организация получает в расчете на рубль
своего имущества.
Показатель рентабельности
активов повышается на 0,02 (на начало 20011 года показатель составил 0,05).
Рост рентабельности произошел за счет более эффективного увеличения чистой прибыли.
Увеличение рентабельности активов свидетельствует об эффективном использовании технологии
WiMAX.
Показатель рентабельности
продукции за отчетный период не изменился, т.к. с повышением себестоимости продукции
в равных долях увеличивается и прибыль от реализации продукции. Рост цены на продукцию
обусловлен ростом затрат на производство.
Рентабельность продаж характеризует
эффективность предпринимательской деятельности: сколько прибыли имеет предприятие
с рубля продаж. С 2010 года показатель повысился на 0,001. Данный показатель увеличился
за счет увеличения выручки от реализации продукции. Рентабельность продаж можно
наращивать путем повышения цен или снижения затрат. Однако эти способы временны
и недостаточно надежны. Наиболее последовательная политика предприятия,
отвечающая целям укрепления финансового состояния, состоит в том, чтобы увеличивать
производство и реализацию той продукции (работ, услуг), необходимость которой определена
путем улучшения рыночной конъюнктуры.
Анализируя показатели
рентабельности предприятия, видна проблема выбора стратегии управления финансово
– хозяйственной деятельности рентабельность продаж предприятия. Увеличение показателей
рентабельности продукции и продаж говорит, что увеличился спрос на продукцию
(услуги).
Факторный
анализ эффективности использования активов предприятия по модели фирмы «Du Pont».
В основе
определения эффективности системы лежит коэффициент рентабельности используемых
активов предприятия, который представляет собой произведение коэффициента
рентабельности реализации продукции на коэффициент оборачиваемости (количество
оборотов) активов:
,
(33)
где
Pa – коэффициент рентабельности используемых активов;
РРП
– коэффициент рентабельности реализации продукции;
КОА–
коэффициент оборачиваемости (количество оборотов) затрат;
ЧП – чистая прибыль;
В – выручка
от продажи товаров, работ, услуг;
А –
средняя сумма всех затрат на распространение беспроводного интернета
К/17 =
2454,2/2 = 1227,1 тыс. руб. за 2010г.
А = 1227
· 1,3 = 1595 тыс. руб. за 2011г.
С
помощью данной модели можно выявить основные резервы дальнейшего повышения
рентабельности активов предприятия: увеличение рентабельности реализации
продукции, ускорение оборачиваемости капитальных затрат, использование обоих
направлений.
Из формулы
видно, что рентабельность используемых средств зависит от рентабельности реализации
продукции и коэффициента оборачиваемости активов.
2010 год:
РРП = ЧП / В =
214 / 5310 = 0,04 или 4 %
КОА = В / А = 5310
/ 1227,1 = 4,32
РА = РРП ×
КОА = 0,039 × 4,32 = 0,17 или 17,1 %
РА = ЧП / А =
214 / 1227,1 = 0,17 или 17 %
2011 год:
РРП = 339 /
7131 = 0,047 или 4,7 %
КОА = 7131 /
1595,1 = 5,8
РА = РРП ×
КОА = 0,041 × 5,8 = 0,23 или 23 %
РА = ЧП / А =
339 / 1227,1 = 0,27 или 27 %
Рост показателя рентабельности
капитальных затрат в динамике является положительной чертой. Из расчетов видно,
что происходит рост коэффициента оборачиваемости на 1,48 (значение коэффициента
оборачиваемости за 2010 год 4,32). Так же происходит повышение коэффициента рентабельности
реализации продукции на 0,001. Повышение показателя рентабельности используемых
активов в данной ситуации, главным образом зависит от увеличения выручки от
продажи товаров (работ, услуг).
Срок окупаемости.
Отношение затрат на
реализацию проекта к полученной прибыли за один год.
45 тыс. руб. / 250 тыс.
руб. = 0,18 года * 12 мес. = 2,16 мес.
Срок окупаемости проекта
составляет менее трех месяцев.
В первый месяц реализации
проекта планируется провести ремонт помещения и оформить все необходимые документы,
во второй месяц необходимо приобрести и установить необходимое оборудование.
Так же запуск рекламной кампании планируется на второй месяц, для обеспечения полного
объема реализации услуг при открытии центра.
Заработная плата работников
начисляется на следующий месяц после начала работ. Начало работы центра диагностики
планируется на третий месяц запуска проекта.
После составления таблиц по затратам и расходам
составляется комплексная таблица плана доходов и расходов (таблица 18).
В первый месяц реализации
проекта планируется провести ремонт помещения и оформить все необходимые документы,
во второй месяц необходимо приобрести и установить необходимое оборудование.
Так же запуск рекламной кампании планируется на второй месяц, для обеспечения полного
объема реализации услуг при открытии центра.
Заработная плата работников
начисляется на следующий месяц после начала работ. Начало работы центра диагностики
планируется на третий месяц запуска проекта.
После составления таблиц
по затратам и расходам составляется комплексная таблица плана доходов и расходов
(таблица 45).
Амортизация берется в
размере 10 -15% от стоимости основного оборудования:
Ам = 1 276 · 0,12 =
106,3 тыс. руб.
Амортизация
оборудования за месяц
Ам = 106,3 / 12 = 8,86
тыс. руб.
По данным таблицы 18,
делаются следующие выводы:
-
в течении 6 месяцев, с момента внедрения
проекта, центр диагностики будет терпеть убытки;
-
в июле планируется получение дохода
в размере 193247 рублей;
-
начиная с августа, планируется,
что размер чистой прибыли от деятельности центра составит 392464 рубля, в дальнейшие
месяцы сумма прибыли остается такой же;
-
срок окупаемости проекта составляет
6 месяцев.
Таблица 18 – План доходов
и расходов по месяцам 20010 года в рублях
|
Наименование статьи в тыс руб
|
Месяц внедрения проекта
|
|
01.10
|
02.10
|
03.10
|
04.10
|
05.10
|
06.10
|
07.10
|
08.10
|
|
Доход от услуг,
|
-
|
-
|
104,5
|
155,5
|
242,5
|
442,5
|
442,5
|
442,5
|
|
Затраты на реализацию технологии WIMAX
|
|
Расходы на покупку оборудования
|
-
|
1276
|
-
|
-
|
-
|
-
|
-
|
-
|
|
Расходы на оформление документов
|
24,5
|
|
|
|
|
|
|
|
|
Расходы на рекламную компанию
|
-
|
30,7
|
30,7
|
30,7
|
30,7
|
30,7
|
30,7
|
30,7
|
|
Расходы на зарплату
|
-
|
-
|
-
|
236,5
|
236,5
|
236,5
|
236,5
|
236,5
|
|
Расходы на амортизацию оборудования
|
-
|
-
|
8,86
|
8,86
|
8,86
|
8,86
|
8,86
|
8,86
|
|
Итого расходов
|
24,5
|
1306,7
|
39,56
|
276,06
|
276,06
|
276,06
|
276,06
|
276,06
|
|
Прибыль
|
-24,5
|
-1331,2
|
-1305,8
|
-1426
|
-1460
|
-1285
|
-1175
|
-1065
|
По составлению
таблицы 18 составляем календарный план внедрения технологии Главной целью а
является определение финансовых последствий стадии реализации проекта с целью
обеспечения его достаточными средствами, как до начала внедрения проекта, так и
после него. Реализация проекта включают следующие этапы:
-
проведение ремонта
помещений;
-
покупка и
доставка оборудования;
-
выпуск рекламы;
-
найм персонала;
-
эксплуатация
объекта.
Предполагается начать проект с января 2009 года. Календарный
график реализации проекта по всем работам представлен в таблице 19.
Таблица 19 – Календарный план реализации проекта
|
Показатели
|
2009 год
|
|
январь
|
февраль
|
март
|
апрель
|
|
Закупка оборудования
|
|
|
|
|
|
Ремонт помещений
|
|
|
|
|
|
Оформление договоров
|
|
|
|
|
|
Рекламная кампания
|
|
|
|
|
|
Найм персонала
|
|
|
|
|
|
Реализация услуг
|
|
|
|
|
Внедрение технологии WiMax планируется на март 2010 года.
ЗАКЛЮЧЕНИЕ
Использование
информационных технологии Mobile WiMAX позволяют
предоставить относительно дешевое покрытие беспроводным широкополосным доступом
в Интернет. Как показали расчеты, использование данной технологии будет
эффективно при покрытии большой территории, как Егорьевский район Московской
области. При использовании беспроводного доступа оператор может сэкономить, как
на трудовых резервах (обслуживание станций всего 6 работниками), так и при
развертывании базовых станций нужен только монтаж и установка, что несравненно
скажется на себестоимости предоставляемых услуг.
В
данной работе предложен и обоснован метод распространения WiMAX с усовершенствованными
функциями и рабочими характеристиками
Для достижения более
высокого энергетического потенциала линий связи (link budget), уменьшения
затухания сигналов и лучшего покрытия микро-спотов (micro-spot), использованы
различные технологии разнесения. Прибыльная бизнес-модель WiMAX с более высоким
покрытием пользователей, удовлетворенностью пользователей и улучшающая
энергетические потенциалы линий связи (link budget) WiMAX может быть достигнута
при использовании передовых антенных технологий (MIMO и AAS): MIMO A/B &
STC:.
В работе предложена в
использование новая сетевая архитектура SI3000 Light ASN, основанная на простой
иерархии со сконфигурированными однородными (commodity) сетевыми элементами,
обеспечивает структуру между базовой сетью CSN и радиосетью WiMAX.
Также в данной работе
произведен расчет числа базовых станций, а также показано распределение их
числа по различным градациям экономических зон Егорьевского района.
В основу расчета
себестоимости услуги был положен принцип распределения капитальных затрат при
развертывании сетей на квадратный километр, учитывая распределение базовых
станций в различных районах округа. Составлены таблицы доходов на текущий и
планируемые года, по результатам которой прибыль будет неуклонно расти, сростом
и числа активнопользующихся абонентов.
Также в работе
представлена таблица доходов и расходов на текущий 2010 год по результатам
которой, окупаемость данной технологии не превысит 1-1,5 лет. В перспективе
данной технологии является также использование оборудования для телевещания,
которая может дать существенную прибыль.
Текущая установка с
учетом всех рисков планируются на запуск марте 2010 года.
СПИСОК ИСПОЛЬЗОВАННЫХ
ИСТОЧНИКОВ
1. Берлин А.Н. Цифровые сотовые
системы связи. М.: Эко-Трендз, 2007
2. В. Вишневский, С. Портной, И.
Шахнович. Энциклопедия WiMAX. Путь к 4G. Техносфера, 2009
3. Весоловский Кшиштоф. Системы
подвижной радиосвязи. Горячая линия – Телеком, 2006
4. Григорьев В.А., О.И. Лагутенко, Ю.А.
Распаев. Сети и системы радиодоступа. Эко-Трендз, 2005
5. Маковеева, Шинаков. Системы связи
с подвижными объектами. Радио и связь, 2002
6. А.С. Гринберг, В.М. Шестаков
Информационные технологии моделирования процессов управления экономикой
Издательство: Юнити-Дана; 400 стр., 2003 г.
7. Л.А. Широков Бухгалтерские информационные системы Издательство: МГИУ, 250
стр., 2002 г.
8. Н.Н. Карабутов Информационные
технологии в экономике Издательство: Экономика; 208 стр., 2003 г.
9. С.М. Патрушина Информационные
системы в бухгалтерском учете Издательство: МарТ; 368 стр., 2003 г.
10. И.И. Родионов, и др. Рынок
информационных услуг и продуктов Издательство: МК-Периодика 552 стр., 2002 г.
11. А.В. Волокитин, и др. Средства
информатизации государственных организаций и коммерческих фирм. Справочное
пособие Издательство: ФИОРД-ИНФО 272 стр., 2002 г.
12. Ю. Шафрин Информационные
технологии. Часть 2 Издательство: Бином. Лаборатория знаний; 320 стр., 2002 г.
13. М.Р. Когаловский Перспективные технологии информационных систем
Издательства: ДМК Пресс, Компания АйТи; 288 стр., 2003 г.
14. И.А. Стрелец Новая экономика и
информационные технологии Издательство: Экзамен, 256 стр., 2003 г.
15. Томас Хюлланд Эриксен Тирания
момента. Время в эпоху информации Издательство: Весь Мир, 208 стр., 2003 г.
16. В.В. Липаев Системное
проектирование сложных программных средств для информационных систем
Издательство: Синтег; 268 стр., 2002 г.
17. Скрипкин К.Г. Экономическая
эффективность информационных систем Издательство: ДМК Пресс; 256 стр., 2002 г.
18. Веревченко А.П., и др.
Информационные ресурсы для принятия решений Издательства: Деловая Книга,
Академический проект; 560 стр., 2002 г.
19. Майкл Дж.Д. Саттон Корпоративный
документооборот. Принципы, технологии, методология внедрения Издательства:
БМикро, Азбука, 446 стр., 2002 г.
20. В.В. Годин, И.К. Корнеев
Информационное обеспечение управленческой деятельности Издательства: Высшая
школа, Мастерство; 240 стр., 2001 г.
21. А.П. Прокушева, Т.Ф. Липатникова,
Н.А. Колесникова Информационные технологии в коммерческой деятельности
Издательство: Маркетинг, 192 стр., 2001 г.
22. В.П. Божко Информационные
технологии в статистике Издательства: Финстатинформ, КноРус, 144 стр., 2002 г.
23. Л.Н. Герасимова Информационное обеспечение маркетинга Издательство:
Маркетинг, 120 стр., 2004 г.
24. В.Б. Уткин, К.В. Балдин
Информационные системы в экономике Издательство: Финансы и статистика , 288
стр., 2004 г.
25. В.Г. Синюк, А.В. Шевырев
Использование информационно-аналитических технологий при принятии
управленческих решений Издательство: ДМК Пресс; 160 стр., 2003 г.