Основы черчения

  • Вид работы:
    Контрольная работа
  • Предмет:
    Математика
  • Язык:
    Русский
    ,
    Формат файла:
    MS Word
    503,68 kb
  • Опубликовано:
    2010-05-28
Вы можете узнать стоимость помощи в написании студенческой работы.
Помощь в написании работы, которую точно примут!

Основы черчения

Роль чертежа в жизни человека история развития чертежа


Графика – это средство создания материальных, духовных, интеллектуальных и художественных ценностей человека. Чтобы построить дом, автомобиль или самолет, изготовить одежду, мебель или детскую игрушку, надо сначала спроектировать изделие, вычертить его и нарисовать. Этим занимаются инженеры, архитекторы, дизайнеры и представители многих других профессий. Все они говорят на едином, общем для них профессиональном языке – языке графики.

Трудно сказать, когда появились у того или иного народа первые графические построения. По-видимому, потребность в их точных или приблизительных результатах относится к самым ранним стадиям развитая человеческого общества. Можно сомневаться, что какой-либо определенный народ впервые изобрел тот или иной прием или способ графических построений и затем путем общения передал свое изобретение другим народам. Скорее всего, каждый самостоятельно проходил первый этап развития графической культуры. Именно этот этап теряется в глубине тысячелетий и имеет, должно быть, не меньшую историю, чем возникновение речи и совершенствование простейших орудий труда.

Другое дело – развитие абстрактных понятий, создание правил и методов изображений. Здесь заимствование неизбежно. И более развитые народы являются источником более квалифицированных познаний. Именно это заставляет нас пристально изучать те нити, которые могут служить путями передачи интеллектуальных богатств. Естественно, и нам придется обращать внимание на эти исторические факты, чтобы знать истоки возникновения графического искусства.

Оформление чертежей

Графические изображения Чертежные инструменты и принадлежности


В наше время чертеж – это своеобразный документ. Он определяет состав и устройство изделия, содержит необходимые данные для его разработки, изготовления, контроля, эксплуатации и ремонта. Чертеж содержит изображения, размеры, текст. По изображениям можно судить о геометрической форме данной детали, а по надписи – о названии, масштабе, в котором выполнены изображения, материале, из которого изготовляется деталь и др. Размерные числа дают возможность судить о величине детали в целом и ее частей. Здесь же содержатся данные об обработке детали при ее изготовлении, некоторые другие условные знаки и надписи. Такой чертеж дает полное представление о детали.

Кроме чертежа детали существуют сборочные чертежи, эскизы, схемы, изображения разверток, технические рисунки и т.п. Такие изображения называют графическими. Они состоят из линий, штрихов, точек и выполняются карандашом, тушью, чернилами.

Изображения на чертежах строят с помощью чертежных инструментов. От правильной подготовки рабочего места во многом зависит качество чертежа.

Твердые карандаши Мягкие карандаши


Таблица 1. Параметры надписей чертежа

№ графы

Надпись в графах

Номер шрифта

1

Название листа

3,5 строчной

или 5 прописной

2

Масштаб

5

3

Номер листа

5

4

Чертил

3,5 строчной

5

Принял

3,5 строчной

6

НТГСПА

5 прописной

7

ХГФ

5

8

Шифр (№ зачетной книжки)

3,5



Для рамки на любом формате Напоминаю вам опять: Откладывайте слева 20, А от других сторон по 5.

При выполнении чертежей применяют линии разной толщины и начертания в соответствии с ГОСТ 2.303–68. Каждая из них имеет свое значение.

Таблица 2. Линии чертежа



Чертежи и другие конструкторские документы промышленности и строительства выполняют на листах определенных размеров. Форматы листов определяются размерами внешней рамки (выполненной тонкой линией). Обозначения и размеры сторон должны соответствовать указанным на рис. 6.

Интересно, что в XXIII столетии основными линиями чертежа являлись сплошные контурные и точечные (пунктирные – с нем. punkt – точка) линии. Последние применялись в качестве линий невидимого контура и линий обрыва, а с появлением на чертежах размеров – в качестве выносных и размерных линий:

С повышением требования к чертежу в части его полноты и возможности проведения на нем графических преобразований с 40-х годов XIX столетия на чертежах стали применяться осевые линии. Их проводили сплошными линиями синего цвета.

Стремление к большей наглядности чертежа вызвало необходимость оттенения и раскраски чертежей. Однако от цветных линий, тушовки и раскраски пришлось отказаться в связи с новыми способами размножения чертежей – светокопированием (с 1897 г.) и фотографированием. Осевые линии стали проводить штрих-пунктирными. Для невидимого контура вместо точечных (пунктирных) линий стали применять штриховые. В начале XX столетия размерные, а затем и выносные линии стали проводить тонкими сплошными линиями, что способствовало ускорении работ по выполнению оригиналов и подлинников, увеличивало четкость их копий. Вместо раскраски мысленно рассеченных частей деталей стали наносить условные обозначения материалов с помощью штриховок различного вида.

Шрифты чертежные


Любые технические чертежи обычно сопровождаются надписями. Умелое их распределение на чертеже, аккуратное выполнение придаст чертежу строгость и четкость. Размеры шрифта, который вы выбираете, должны строго соответствовать размерам формата чертежа. Для хорошего чтения и восприятия надписей, а также правильного и быстрого их выполнения вам необходимо знать стандартный шрифт ГОСТ 2.304–81, применяемый для чертежей и другой технической документации как отраслей промышленности, так и строительства. Ниже для справок даны основные размеры шрифта типа В, поскольку он наиболее часто используется в учебных чертежах.

Таблица 3 Параметры и размеры чертежного шрифта

Параметры шрифта

Обозначение

Относительный размер

Размеры, мм

Размер шрифта –












высота прописных букв

h

(10/10) h

10d

1,8

2,5

3,5

5,0

7,0

14,0

20,0

высота строчных букв

с

(7/10) h

7d

1,3

1,8

2,5

3,5

5,0

7,0

10,0

14,0

расстояние между буквами минимальный шаг

а

(2/10) h

2d

0,35

0,5

0,7

1,0

1,4

2,0

2,8

4,0

строк (высота вспомогательной

b

(17/10) h

17d

3,1

4,3

6,0

8,5

12,0

17,0

24,0

34,0

сетки)












минимальное












расстояние между словами

е

(6/10) h

6d

1,1

1,5

2,1

3,0

4,2

6,0

8,4

12,0

толщина линии шрифта

d

(1/10) h

d

0,18

0,25

0,35

0,5

0,7

1,0

1,4

2,0


Расстояние а между буквами, соседние линии которых не параллельны между собой (например, ГА, AT), может быть уменьшено наполовину, т.е. на толщину d линии шрифта.

Минимальным расстоянием, между словами (е), разделенными знаком препинания, является расстояние между знаком препинания и следующим за ним словом.


Устанавливаются следующие размеры шрифта: (1,8); 2,5; 3,5; 5; 7; 10; 14; 20; 28; 40 (применение шрифта размером 1,8 не рекомендуется и допускается только для типа Б).

Размер шрифта (h) - величина, определенная высотой прописных букв в миллиметрах (рис. 15).

Рис. 15


Как писать буквы, чтобы было просто, красиво и со вкусом!

1. Вертикальные и наклонные (под углом 75°) элементы проводим сверху вниз; горизонтальные – слева направо.

2. Если в букве есть скругления, то сначала выполняем скругления, а потом плавно соединяем их прямыми.

3. Серединный дополнительный элемент прописных букв чертежного шрифта Р, У, Ч, Я (где наиболее развита верхняя часть) проводим под средней линией вспомогательной сетки, в остальных случаях – над ней.

4.   Для качественного выполнения надписей чертежным шрифтом сначала размечаем буквы тонкими линиями (мягким карандашом).

5.   Направление обводки особенно важно, когда вы работаете пером или ручкой (гелиевой, шариковой и т.п.), при обводке тушью, краской и т.п.

Рис. 17

Знаете ли вы, что впервые стандартный шрифт ввел Петр I еще в начале XVIII века. Его назвали «гражданским». С незначительными изменениями этот шрифт сохранился и до наших дней. Со шрифтом Петра I можно познакомиться в одной из первых печатных книг «Русская техника».

Однако большая часть чертежей до середины XIX века подписывалась обычным почерком. И чем он был замысловатей, тем лучше оценивалась работа чертежника. Только после 40-х годов XIX века стали встречаться чертежи, оформленные художественными шрифтами:

Елизаветинский, Канон малый, Рондо и другие.

Рис. 19

Нанесение размеров. Масштабы


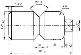
Основанием для суждения о величине изображаемого на чертеже предмета и его элементов служат размерные числа.

Правила для нанесения размеров на чертежах изложены в ГОСТ 2.307–68, а также частично в ГОСТ 2.109–73. При чтении размеров необходимо помнить, что размерные числа без обозначения единицы измерения указывают линейные размеры в миллиметрах. При других единицах измерения длины (см, м, км) их указывают на чертеже. Угловые размеры указывают в градусах, минутах и секундах с обозначением единицы измерения, например: 4°; 4°30'; 0°30'40».

Нанесение размеров на технических чертежах обусловлено рядом специальных положений. Следует помнить, что с геометрической точки зрения без учета технологии изготовления изделия размеры следует наносить в такой последовательности:


- размеры каждой части формы предмета;

- размеры, связывающие геометрические формы между собой;

- габаритные размеры (наибольшая длина, высота, ширина). Масштаб – отношение

линейных размеров предмета на чертеже к его натуральным (действительным) размерам. Стандарт 2.302–68 устанавливает масштабы изображений на чертежах всех отраслей промышленности и строительства. При этом в машиностроении нередко используют масштаб натуральной величины (1:1) строительстве и архитектуре – масштабы уменьшения, в оптике и приборостроении – масштабы увеличения.

Рис. 28. Расстановка линейных размеров

Основные понятия:

•   Габаритные размеры – наи большие размеры детали по длине (80), высоте (50), толщине (4).

•   Размеры элементов – раз меры величины вырезов (30, 15), выступов, отверстий (016), пазов и т.д.

•   Координирующие размеры - размеры, показывающие расположение элементов относительно контура дета ли (17) и друг друга (50).

• Если диаметр меньше 12 мм, то размерные числа и стрелки располагают снаружи окружности.

•   Если диаметр больше 20 мм и меньше 40 мм, то стрелки располагают внутри элемента, размерные числа – снаружи.

•   Если диаметр больше 40 мм, то размерные числа и стрелки располагают внутри окружности.

•   Размеры радиусов дуг наносят аналогично нанесению размеров окружностей.

•   Угловые размеры указывают в градусах, минутах и секундах с обозначением единицы измерения.

При расположении элементов предмета (отверстий, пазов, зубьев и т.п.) на одной оси или на одной окружности размеры, определяющие их взаимное расположение, наносят следующим образом:

•   от общей базы (поверхности, оси) – по рис. 31 а и 6;

•   заданием размеров нескольких групп элементов от нескольких общих баз – по рис. 31 в;

•   заданием размеров между смежными элементами (цепочкой) – по рис. 31г.

Размеры на чертежах не допускается наносить в виде замкнутой цепи, за исключением случаев, когда один из размеров указан как справочный.

Проецирование на одну плоскость проекций

Проецирование – процесс получения изображения предмета на плоскости.

Плоскость проекции – плоскость, на которой получают проекцию предмета.

Проекция – изображение объекта, полученное при проецировании его на плоскость проекции.

В зависимости от направления проецирующих лучей проецирование бывает прямоугольным, косоугольным и центральным (рис. 37). Если проецирующие лучи параллельны друг другу, проецирование называется параллельным. Если при параллельном проецировании проецирующие лучи направлены перпендикулярно плоскости проекций (т.е. под углом 90°), проецирование называется прямоугольным или ортогональным, если не под прямым углом – косоугольным. Если проецирующие лучи выходят из одной точки (центра), проецирование называется центральным.


Не нашли материал для своей работы?
Поможем написать уникальную работу
Без плагиата!
Без нейросетей!