|
Показники
|
2007
рік
|
2008
рік
|
|
Зерно
|
7231
|
22063
|
|
У
т.ч. пшениця
|
6645
|
17381
|
|
Сояшник
|
1447
|
4124
|
|
М’ясо,
жива вага
|
1232
|
1007
|
|
В
т.ч. свинина
|
1023
|
764
|
|
Яловичина
|
209
|
243
|
|
Молоко
|
2147
|
1826
|
Машинно-тракторний
парк представлений наступною технікою:
-
Трактори, зайняті в рослинництві – 500 шт.,
з них 3 зарубіжного виробництва:
-
Автомобільний парк: вантажні – 24 машини
вантажністю 205,5 т; легкові – 16 шт.; спеціальні – 11 шт.; автобуси – 6шт.
-
Збиральна техніка: зернові комбайни – 8 шт.,
кормозбиральний – 1комбайн, всі зарубіжного виробництва.
2.
Асортимент виготовлюваної продукції
На
заводі працює лінія по переробці молока. Зараз підприємство випускає вершкове
масло, кефір 1%-ої та 2,5%-ої жирності, молоко пастеризоване жирністю 2,5% та
3,2%, молоко пряжене жирністю 4% та 6%, творог, сметану 15% та 20%, ряжанку.
Вершкове масло, до складу якого входять молочний жир, білки, лактоза та
інші компоненти молока, має високу харчову цінність, чудові смакові якості й
високу засвоюваність — 98 % для молочного жиру та 94 % —для сухих речовин
плазми. Солодковершкове — характеризується вираженим смаком і ароматом,
утворюється в результаті пастеризації свіжих вершків; може бути солоним та
несолоним; масова частка жиру не менш як 82,5 %, вологи — не більш як 16%.
Кефір
2,5% жирності.
Поліетиленові
пакети по 500 г і пакети ПЮР-ПАК по 1 кг. Кефір має однорідну консистенцію
білого кольору; можливе газоутворення, у виді окремих вічок. Кефір виробляється
з цільного і знежиреного коров'ячого молока, заквашеного закваскою на кефірних
грибках. Він має високу харчову цінність, дієтичні і лікувальні властивості
завдяки наявності молочної кислоти і вуглекислого газу, сприяють поліпшенню
травлення.
Кефір
1% жирності.
Поліетиленова
плівка, вагою 500 р. Кефір має однорідну консистенцію білого кольору. Можливі
газоутворення у виді одиничних вічок. Кефір виготовляється з цільного і
знежиреного коров'ячого молока, заквашеного закваскою на кефірних грибках.
Сметана
20% жирності.
Полістирольні
стаканчики, вагою 500 гр. Сметана 20 % жирності виготовляється з молока
коров'ячого цільного, вершків з коров'ячого молока, заквашених на чистих
культурах молочнокислих бактерій.
Молоко
фасоване 2,5% жирності.
Плівка
поліетиленова, об'єм 0,5 л. Молоко - це біла, однорідна рідина, без осаду, з
чистим без сторонніх присмаків і запахів продукт. Молоко виготовляється з
незбираного молока коров'ячого і молока знежиреного.
Ряжанка
4% жирності.
ПЮР-ПАК,
об'єм 0,5 л. Ряжанка має однорідну консистенцію кремового кольору, з чистим
кисломолочним запахом і присмаком пастеризації. Ряжанка виготовляється з
незбираного коров'ячого молока і вершків, заквашених термофільною закваскою.
3.
Технологія виробництва кисломолочних
напоїв
До
кисломолочних напоїв відносяться кисляк, кефір, кумис, ацидофільні напої,
кисломолочні
напої із солодовим екстрактом. Всі види кисломолочних напоїв виробляються
шляхом сквашування підготовленої вихідної сировини заквасками визначених чистих
культур. Отриманий згусток охолоджується, а для деяких продуктів він дозріває.
Для одержання
кисломолочних напоїв використовують молоко суцільне і знежирене, вершки,
згущене і сухе молоко, казеінат натрію, сколотини й іншу молочну сировину, а
також солодовий екстракт, цукор, плодово-ягідні сиропи, джеми, корицю й ін.
Існує два
способи виробництва кисломолочних напоїв — резервуарний і термостатний.
Резервуарний
спосіб. Технологічний процес виробництва кисломолочних напоїв резервуарним
способом складається з таких технологічних операцій: підготовки сировини,
нормалізації, пастеризації, гомогенізації, охолодження, заквашування,
сквашування в спеціальних ємностях, охолодження згустку, дозрівання згустку
(кефір, кумис), фасування.
Для виробництва
кисломолочних напоїв використовується молоко не нижче другого сорту кислотністю
не вище 19 °Т, яке попередньо піддають очищенню. Знежирене молоко, сколотини,
вершки, згущене і сухе молоко, казеінат натрію і плодово-ягідні наповнювачі повинні
бути доброякісними без сторонніх присмаків і запахів і пороків консистенції.
Кисломолочні
напої виробляють із різноманітною масовою долею жиру: 6; 4; 3,2; 2,5 1,5; 1 %.
Тому вихідне молоко відповідно нормалізується до необхідної масової частки
жиру. Нормалізація молока здійснюється в потоку на сепараторах-нормалізаторах
або змішанням. Нежирні продукти виробляються зі знежиреного молока.
Нормалізована
сировина піддається тепловій обробці. У результаті пастеризації знищуються
мікроорганізми в молоці і створюються умови, сприятливі для розвитку мікрофлори
закваски. Найкращі умови для розвитку мікроорганізмів створюються, якщо молоко
пастеризується при температурах, близьких до 100 °С. При цих умовах
відбувається денатурація сироваткових білків, що беруть участь у побудові
структурної сітки згустку, підвищуються гідратаційні властивості казеіну і його
спроможність до утворення більш щільного згустку, що добре утримує сироватку.
Тому при виробництві всіх кисломолочних напоїв, крім ряжанки і варенця, вихідна
сировина пастеризується при температурі 85-87 °С із витримкою 5-10 хв. або при
90- 92 °С із витримкою 2-3 хв., ряжанки і варенця — 95-98 °С із витримкою 2-3
год.
Теплова обробка
молока звичайно пов'язується з гомогенізацією. У результаті гомогенізації при
температурі 55-60 °С і тиску 17,5 МПа поліпшується консистенція кисломолочних
продуктів і запобігається відділення сироватки.
У охолоджене до
температури заквашування молоко повинна бути негайно внесена закваска, яка
відповідає виду продукту. Найбільш раціонально вносити закваску в молоко в
потоці. Для цього закваска через дозатор подається безперервно в молокопровід і
в змішувачі змішується з молоком. Сквашування молока проводять при температурі
заквашування. У процесі сквашування відбувається розмноження мікрофлори закваски,
наростає кислотність, коагулює казеїн і утвориться згусток. Закінчення
сквашування визначають по утворенню достатньо щільного згустку і досягненню
визначеної кислотності. По закінченні сквашування продукт негайно
охолоджується. Кисломолочні продукти, виготовлені без дозрівання, негайно
направляються на охолодження.
Мал. 1. Схема
технологічної лінії виробництва кисломолочних напоїв
резервуарним
засобом:
1- ємність для
сирого молока; 2 - насоси; 3 - балансировочний бачок: 4-пластинчаста
пастерізаційно-охолоджувальна установка; 5 - пульт керування; 6 -
поворотний клапан; 7 - сепаратор-нормалізатор; 8 - гомогенізатор; 9 -
ємність для витримування молока; 10 - ємність для кисломолочних напоїв;
11 - змішувач; 12 – заквасочник.
Кефір, що
виготовляється із дозріванням, після сквашування охолоджується до14-16 °С і при
цій температурі дозріває. Тривалість дозрівання кефіру не менше 10-12 год. Під
час дозрівання активізуються дріжджі, відбувається процес спиртового бродіння,
у результаті чого в продукті накопичуються спирт, вуглекислота й інші речовини,
які надають цьому продукту специфічні властивості.
4.
Схема технологічної лінії по виробництву
кисломолочних напоїв та детальний опис декількох машин цієї лінії
Технологічна
лінія виробництва кисломолочних напоїв резервуарним засобом подана на мал. 1.
Молоко з ємності для сирого молока подається в
балансировочний
бачок, звідки направляється в рекуперативну секцію
пастеризаційно-охолоджувальної
установки, де підігрівається до 55-57 °С.
Для пастеризації
молока використовуються пастеризаційно-охолоджувальні установки для
кисломолочних продуктів, у яких можна проводити пастеризацію з необхідною
витримкою і наступним охолодженням до температури сквашування. Підігріте молоко
направляється спочатку в сепаратор-нормалізатор, а потім - на гомогенізатор.
Для
гомогенізації призначені гомогенізатори клапанного типу. З гомогенізатора молоко
спочатку надходить у секцію пастеризації, далі через пульт керування — у
ємність для витримування і повертається в рекуперативну секцію і у секцію
охолодження пастеризаційно-охолоджувальної установки, де охолоджується до
температури заквашування. Якщо по виході із секції пастеризації молоко не
досягло заданої температури, то воно за допомогою поворотного клапану
направляється в балансировочний бачок для повторної пастеризації. Охолоджене
молоко надходить у ємність для виробництва кисломолочних напоїв, перемішуючись
у змішувачі з закваскою. Сквашування молока проводять у спеціальних двустінних
вертикальних ємностях, обладнаних мішалками з автоматичним пристроєм.
Мішалка
обладнана таким чином, щоб не збовтувати кефір і не різати його на шари і
кубики, а рівномірно й одночасно перемішувати всю масу кефіру.
Часткове
перемішування або розрізка згустку призводить до відділення
сироватки,
а збовтування мішалкою — до піноутворення, що у свою чергу
викликає
відділення сироватки.
Автоматичний
пристрій забезпечує протікання сквашування по визначеному циклі: перемішування
- спокій - перемішування, а також служить для вмикання системи охолодження.
Охолодження здійснюють холодною водою або розсолом, що циркулює по кільцевому
зазорі між внутрішньою і середньою ємностями. Середня ємність постачена
теплоізоляцією, облицьованої захисним кожухом. Для виробітки кисломолочних
продуктів використовуються ємності місткістю 2000, 4000, 6000 і 10000 л.
Заквашене молоко
сквашується в ємності до необхідної кислотності. Отриманий згусток
охолоджується в тій же ємності, при цьому через кожні 30-40 хв. включається
мішалка для розмішування згустку і більш швидкого його охолодження. Якщо
потрібно дозрівання, то згусток охолоджується до
температури
дозрівання й залишається в ємності на дозрівання. Охолодження продукту можна
проводити в потоці. Для цього молоко заквашується в ємності, а по досягненні
заданої кислотності продукт подається на пластинчастий охолоджувач, де
охолоджується в потоці до необхідної температури і надходить у проміжну ємність,
звідки направляється на фасування.
Кисломолочні
напої фасуються в термозварювальні пакети автоматах для фасування рідких
молочних продуктів.
Танк молокохранительный В2-ОМГ-10
Емкость
для хранения молока цилиндрической формы, состоит из алюминиевого корпуса и
стального кожуха. Пространство между ними заполнено термоизолирующим веществом.
В верхней части емкости предусмотрены смотровое окно, светильник, моечное
устройство, датчик верхнего уровня и воздушный клапан. Смотровое окно и
светильник предназначены для периодического осмотра внутренней полости емкости.
Моечное устройство выполнено в виде двух трубчатых полудуг с отверстиями для
подачи раствора. При вытекании моющего раствора из отверстий трубчатые дуги
вращаются за счет возникающих реактивных сил. При этом внутренняя поверхность
емкости равномерно орошается моющим раствором. Датчик верхнего уровня
сигнализирует о заполнении рабочей вместимости емкости, а воздушный клапан
впускает и выпускает воздух при ее опорожнении и заполнении.
В
средней части емкости расположены люк, термометр, кран для отбора проб,
устройство для контроля за уровнем молока и стационарная лестница для
обслуживания верхней части. В нижней части имеются перемешивающее устройство,
датчик нижнего уровня и опоры. Перемешивающее устройство состоит из
центробежного насоса, эжектора, кранов и соединяющих из трубопроводов.
Емкость
наполняется через нижний патрубок. Через этот же патрубок емкость и
опорожняется при переключении трехходового крана. Окончание заполнения или
опорожнения сопровождается подачей светового или звукового сигнала. При отборе
проб пользуются специальным краником, а температуру молока контролируют
термометром. Повышение температуры молока за 24 ч хранения в таких емкостях при
разности температур окружающего воздуха и продукта, равной 24 0С,
допускается не более чем на 2 0С.
Техническая
характеристика молокохранительного танка В2-ОМГ-10
Рабочая
вместимость, м3 - 10
Исполнение
- горизонтальное
Габаритные
размеры, мм - 4450х2125х2825
Установленная
мощность, кВт - 0,75
Масса
(без молока), кг – 2255
Рисунок 1 - Танк молокохранительный В2-ОМГ-10
1
– рабочая емкость; 2 – теплоизоляция; 3 – кожух; 4 – мешалка; 5 – смотровое
окно; 6 – люк; 7 – привод мешалки; 8 – ножки; 9 – сливной патрубок; 10 –
термометр; 11 – наливная труба
Имеет
корпус в виде цилиндра, закрываемого крышкой. Во внутренней полости корпуса
через отверстие проходит вал с насаженной на него лопастью. Крышка уплотнена
резиновым кольцом и зажимными винтами. На ней расположен по оси вала
всасывающий патрубок. По касательной к цилиндру корпуса установлен
нагнетательный патрубок.
При
вращении вала в камере насоса молоко отбрасывается лопастью к периферии камеры
и под действием центробежных сил создается давления для вывода продукта в
нагнетательный патрубок и транспортирования по молокопроводу. При этом в
центральной части камеры насоса образуется разрежение и туда поступает новая
порция молока. Поток молок не прерывается. Возврат молока из полости нагнетания
в полость всасывания между корпусом и лопастью предотвращения благодаря
минимально возможным зазорам между ними.
Подводимая
от электродвигателя к рабочему колесу насоса энергия затрачивается на
преодоление гидравлических сопротивлений внутри самого насоса и на приращение
энергии потока молока. Гидравлические сопротивления внутри насоса зависят от
формы и расположения всасывающего и нагнетательного патрубков насоса, формы
лопастей, зазоров между ними и корпусом, профиля клапанов и чистоты обработки
их поверхностей. Приращение энергии потока молока в насосе зависит от частоты
вращения рабочего колеса, размеров и формы камеры и рабочего колеса.
Техническая
характеристика центробежного насоса НМУ-6
Подача,
м3/ч - 6
Напор,
м - 8
Диаметр
патрубка, мм всасывания - 40
Нагнетания
- 21; 29
Частота
вращения рабочего органа, с- - 47
Мощность
электродвигателя, кВт - 1,1
Габаритные
размеры, мм - 390х275х200
Масса,
кг - 14,8
Рисунок
2 - Центробежный
насос НМУ-6
1
– защитный кожух; 2 – фланец; 3 – шпонка; 4 – зажимное устройство; 5 – гайка
крепления кожуха; 6 – обойма; 7 – корпус насоса; 8 – лопасть; 9 – резиновое
кольцо; 10 – крышка; 11 – торцевое уплотнение; 12 – торцевая шайба; 13 –
наконечник вала; 14 – обратный клапан; 15 – патрубок; 16 – гайка крепления
напорного патрубка.
Автоматизированная пластинчатая
пастеризационно-охладительная установка ОПЛ-5
Установка
ОПЛ-5 предназначена для быстрой тонкослойной пастеризации молока в закрытом
потоке с последующим охлаждением. Она работает при автоматическом регулировании
технологического процесса, что исключает возможность выхода из аппарата
недопастеризованного молока.
Принцип
работы установки.
Сырое
молоко поступает в балансировочный бак, снабженный поплавковым клапаном для
поддержания постоянного уровня молока. Из бака молоко поступает в насос,
который подает его в регулятор потока соответствующей производительности (5000
л/ч). Затем под напором оно входит в секцию регенерации, где прогревается
пастеризованным молоком, движущимся с другой стороны пластины. Подогретое
молоко из секции регенерации поступает в один из двух работающих по очереди
сепараторов-молокоочистителей, где под действием центробежной силы взвешенные
частицы вместе со слизью молока остаются на стенках барабана. Очищенное молоко
под напором, создаваемым сепаратором (2-3 ат), подается в гомогенизатор, а из
него молоко поступает в секцию регенерации теплообменника, где нагревается до
заданной температуры и направляется в выдерживатель, затем возвращается в
секцию регенерации теплообменника, проходит ее, отдавая тепло через стенку
пластины встречному потоку молока, частично охлаждается и приходит в секцию
охлаждения, где температура его снижается до заданной. При работе установки
ОПЛ-5 в секцию пастеризации насосом (3К-9) подается теплоноситель – горячая
вода из бойлера, обогреваемого паром. В секцию охлаждения подается
хладоноситель – ледяная вода.
Контроль
и регулирование технологического процесса обработки молока в установке ОПЛ-5
осуществляются автоматически. Если во время работы установки температура
пастеризации снижается, то перепускной клапан автоматически возвращает
недопастеризованное молоко в балансировочный бачок.
Техническая
характеристика трехсекционной установки ОПЛ-5
Производительность,
л/ч - 5000
Начальная
температура молока, 0С - 5-10
Конечная
температура молока, 0С - 85-90
Температура
охлаждения, 0С - 20-25
Теплоноситель
- горячая вода
Начальная
температура теплоносителя, 0С - +95
Габаритные
размеры, мм - 4400х4200х9500
Рисунок 3 - Автоматизированная пластинчатая пастеризационно-охладительная
установка ОПЛ-5
1 – пластинчатый
пастеризатор; 2 – молокоочиститель ОМА-3М; 3 – балансировочный бак; 4 –
центробежный насос для молока; 5 – регулятор потока; 6 – бойлер; 7 – насос для
горячей воды; 8 – инжектор; 9 - гомогенизатор А1-ОГМ; 10 – выдерживатель
пастеризованного молока Г6-ОПБ-1000; 11 – насос центробежный; 12 – щит
управления
Гомогенизатор А1-ОГМ
Гомогенизация
– это раздробление (диспергирование) жировых шариков путем воздействия на
молоко значительных внешних усилий. В процессе обработки уменьшаются размеры
жировых шариков и скорость всплывания. Происходит перераспределение
оболочечного вещества жирового шарика, стабилизируется жировая эмульсия, и
гомогенизированное молоко не отстаивается.
Принцип
действия клапанного гомогенизатора А1-ОГМ.
В
цилиндре гомогенизатора на молоко оказывается механическое воздействие при
давлении 15-20 МПа (125-175 ат). При подъеме клапана, приоткрывающего узкую
щель, молоко выходит из цилиндра. Это возможно при достижении в цилиндре
рабочего давления. При проходе через узкую круговую щель между седлом и
клапаном, скорость молока возрастает от нулевой до величины, превышающей 100
м/с. Давление в потоке резко падает, и капля жира, попавшая в такой поток,
вытягивается, а затем в результате действия сил поверхностного натяжения
дробится на мелкие капельки-частицы. Во избежании слипания раздробленных
частичек на выходе из клапанной щели применяют двухступенчатую гомогенизацию.
На первой ступени создается давление, равное 75% рабочего, на второй ступени
устанавливается рабочее давление.
Гомогенизатор
представляет собой трехплунжерный насос. Каждый из трех плунжеров, совершая
возвратно-поступательное движение, всасывает молоко из приемного канала,
закрытого всасывающим клапаном, и нагнетает его через нагнетательный клапан в
гомогенизирующую головку под давлением 15-20 МПа.
Техническая
характеристика гомогенизатора А1-ОГМ
Производительность,
л/ч - 5000
Рабочее
давление, МПа - 15-20
Температура
обрабатываемого продукта, 0С - 45-85
Число
плунжеров - 3
Ход
плунжеров, мм - 60
Частота
вращения коленчатого вала, с-1 - 5,65
Число
ступеней гомогенизатора - 2
Мощность
электродвигателя, кВт - 37
Габаритные
размеры, мм - 1480х1110х1640
Масса,
кг - 1710

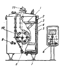
Танк Г6-ОПБ-1000 для выдерживания
пастеризованного молока
В
танке для выдерживания пастеризованного молока продукт нагревается через
теплопередающую стенку-рубашку от поступающей в нее горячей воды или пара,
пропускаемого через горячую воду.
Емкость
состоит из корпуса цилиндрической формы, теплообменной рубашки, теплоизоляции и
наружного кожуха. Для ее заполнения и опорожнения служит патрубок. Емкость
снабжена мешалкой пропеллерного типа. С теплообменной рубашкой соединяется
переливная труба и парораспределительная головка, к которой через трубопровод
подается пар. Теплоноситель удаляется через патрубок в нижней части из
теплообменной рубашки. Люк для осмотра и ремонта рабочей поверхности расположен
в средней части. Моющее устройство, находящееся в верхней части емкости,
представляет собой реактивную вертушку.
Техническая
характеристика танка Г6-ОПБ-1000
Вместимость
геометрическая, дм3 - 1180
Вместимость
рабочая, дм3 - 1000
Мощность,
кВт - 0,75
Время
поддержания температуры пастеризации, мин - 3-90
Расход
пара, кг/ч - 100
Расход
воды для охлаждения, м3/ч - 5
Габариты
ванны, мм - 1880х1410х2015
Габариты
шкафа управления, мм - 540х460х650
Общая
масса, кг – 625
Рисунок 6 - Танк Г6-ОПБ-1000 для выдерживания пастеризованного молока
1
– мешалка; 2 – теплоизоляция; 3 – теплообменная рубашка; 4 – внутренний корпус;
5 – наружный корпус; 6 – пульт управления; 7 – ножки; 8 – патрубок наполнения-опорожнения;
9 – пробоотборный кран; 10 – люк; 11 – привод мешалки
Висновки
В
ході виробничої практики ми мали змогу самостійно брати участь у певних
технологічних операціях, пов´язаних з переробкою молока. У даному звіті
описано технологію виробництва кисломолочних напоїв резервуарним способом та
надано схему технологічної лінії.
Із вторинної молочно-білкової сировини одне з основних місць
займає сироватка, що отримується при виробництві твердих сирів, кисломолочних
сирів, казеїну, норма виходу якої складає 75-80%.
Виробництво сироваткових напоїв, які збагачені різними соками,
сиропами, джемами, пюре, ягідними наповнювачами значно підвищить доходи
підприємства і сироватка буде використовуватись доцільно.
Цілком обгрунтованою представляється разом з виробництвом нових
для ВАТ «» модернізація існуючої технології виробництва традиційного сиру з
метою механізації ручних операцій, застосування закритого способу ведення
процесу, впровадження комплексного АСУТП для виключення впливу людського
чинника на складний технологічний процес.
Щоб
забезпечити людей продукцією, повинен весь час відбуватися ріст виробництва.
Ріст виробництва, розширення асортименту повинні суміщуватися постійним
покращенням якості продукції, біологічної цінності та смакових властивостей
продуктів. Суттєвою задачею є також більш повне використання
сільськогосподарської сировини для виробітку повноцінних продуктів з високим
вмістом білка, вітамінів, біологічно активних речовин.
Література
1.
Машкін М.І., Париш Н.М. Технологія
виробництва молока і молочних продуктів: Навчальне видання. – Вища освіта,
2006. – 351 с.: іл.
2.
Краснокутский Ю.В. Механизация первичной
обработки молока. – 2-е изд., перераб. И доп. – М.: Агропромиздат, 1988.-
335с.: ил.
3.
А.М. Николаев, В.Ф. Малушко, Технология
сыра: Пищевая промышленность, 1977. – 335с.: ил.
4.
Справочник по молочному делу. – М.:
Колос, 1968. – 347с.
5.
Кугенев П.В., Барабанщиков Н.В.
Практикум по молочному делу. – М.: Агропромиздат, 1988.- 224с.