|
u1
|
u2
|
u3
|
u4
|
|
y1
|
  
|
|
|
|
|
y2
|
-
|
 
|
|
|
|
y3
|
  
|
|
|
|
|
y4
|
  
|
|
|
|
Блок-схема системы приведена в - Приложении 1.
Развёрнутая схема системы с учётом запаздывания приведена в - Приложении
2.
В исходных данных, модель дана как мы видим в виде матриц передаточных
функций. Для преобразования передаточных функций в пространство состояний
использовалась функция матлаба tf2ss. Для проверки правильности преобразования
следует найти собственные значения матрицы А с помощью функции еig и убедиться,
что или все собственные значения матрицы А имеют отрицательные действительные
части, или число нулевых собственных значений совпадает с числом интегральных
звеньев в исходной модели. Окончательно система должна быть представлена
матрицами A,B,C,D
Ниже приведены матрицы модели в пространстве состояний
где х- состояние систем;
y- измеряемые входы;
f- возмущение;
u- управление.
Матрицы системы имеют вид:
A=[-1/118 0 0 0 0 0 0 0 0 0 0 0 0 0 0 0 0 0 0 0 0 0 0 0 0 0 0 0 0 0 0 0
0;
1/26.7 -1/26.7 0 0 0 0 0 0 0 0 0 0 0 0 0 0 0 0 0 0 0 0 0 0 0 0 0 0 0 0 0
0 0;
0 4/14 -2/14 0 0 0 0 0 0 0 0 0 0 0 0 0 0 0 0 0 0 0 0 0 0 0 0 0 0 0 0 0
0;
0 0 0 -1/1300 0 0 0 0 0 0 0 0 0 0 0 0 0 0 0 0 0 0 0 0 0 0 0 0 0 0 0 0 0;
0 0 0 4/80 -2/80 0 0 0 0 0 0 0 0 0 0 0 0 0 0 0 0 0 0 0 0 0 0 0 0 0 0 0 0;
0 0 0 0 0 -1/118 0 0 0 0 0 0 0 0 0 0 0 0 0 0 0 0 0 0 0 0 0 0 0 0 0 0 0;
0 0 0 0 0 1/26.7 -1/26.7 0 0 0 0 0 0 0 0 0 0 0 0 0 0 0 0 0 0 0 0 0 0 0 0
0 0;
0 0 0 0 0 0 4/-14 -2/14 0 0 0 0 0 0 0 0 0 0 0 0 0 0 0 0 0 0 0 0 0 0 0 0
0;
0 0 0 0 0 0 0 0 -1/118 0 0 0 0 0 0 0 0 0 0 0 0 0 0 0 0 0 0 0 0 0 0 0 0;
0 0 0 0 0 0 0 0 1/26.7 -1/26.7 0 0 0 0 0 0 0 0 0 0 0 0 0 0 0 0 0 0 0 0 0
0 0;
0 0 0 0 0 0 0 0 0 4/14 -2/14 0 0 0 0 0 0 0 0 0 0 0 0 0 0 0 0 0 0 0 0 0 0;
0 0 0 0 0 0 0 0 0 0 0 -1/430 0 0 0 0 0 0 0 0 0 0 0 0 0 0 0 0 0 0 0 0 0;
0 0 0 0 0 0 0 0 0 0 0 4/80 -2/80 0 0 0 0 0 0 0 0 0 0 0 0 0 0 0 0 0 0 0 0;
0 0 0 0 0 0 0 0 0 0 0 0 0 -1/470 0 0 0 0 0 0 0 0 0 0 0 0 0 0 0 0 0 0 0;
0 0 0 0 0 0 0 0 0 0 0 0 0 4/170 -2/170 0 0 0 0 0 0 0 0 0 0 0 0 0 0 0 0 0
0;
0 0 0 0 0 0 0 0 0 0 0 0 0 0 0 -1/480 0 0 0 0 0 0 0 0 0 0 0 0 0 0 0 0 0;
0 0 0 0 0 0 0 0 0 0 0 0 0 0 0 4/180 -2/180 0 0 0 0 0 0 0 0 0 0 0 0 0 0 0
0;
0 0 0 0 0 0 0 0 0 0 0 0 0 0 0 0 0 -1/430 0 0 0 0 0 0 0 0 0 0 0 0 0 0 0;
0 0 0 0 0 0 0 0 0 0 0 0 0 0 0 0 0 4/100 -2/100 0 0 0 0 0 0 0 0 0 0 0 0 0
0;
0 0 0 0 0 0 0 0 0 0 0 0 0 0 0 0 0 0 0 -1/840 0 0 0 0 0 0 0 0 0 0 0 0 0;
0 0 0 0 0 0 0 0 0 0 0 0 0 0 0 0 0 0 0 4/100 -2/100 0 0 0 0 0 0 0 0 0 0 0
0;
0 0 0 0 0 0 0 0 0 0 0 0 0 0 0 0 0 0 0 0 0 -1/800 0 0 0 0 0 0 0 0 0 0 0;
0 0 0 0 0 0 0 0 0 0 0 0 0 0 0 0 0 0 0 0 0 4/250 -2/250 0 0 0 0 0 0 0 0 0
0;
0 0 0 0 0 0 0 0 0 0 0 0 0 0 0 0 0 0 0 0 0 0 0 -1/570 0 0 0 0 0 0 0 0 0;
0 0 0 0 0 0 0 0 0 0 0 0 0 0 0 0 0 0 0 0 0 0 0 4/300 -2/300 0 0 0 0 0 0 0
0;
0 0 0 0 0 0 0 0 0 0 0 0 0 0 0 0 0 0 0 0 0 0 0 0 0 -1/450 0 0 0 0 0 0 0;
0 0 0 0 0 0 0 0 0 0 0 0 0 0 0 0 0 0 0 0 0 0 0 0 0 4/150 -2/150 0 0 0 0 0
0;
0 0 0 0 0 0 0 0 0 0 0 0 0 0 0 0 0 0 0 0 0 0 0 0 0 0 0 -1/640 0 0 0 0 0;
0 0 0 0 0 0 0 0 0 0 0 0 0 0 0 0 0 0 0 0 0 0 0 0 0 0 0 4/220 -2/220 0 0 0
0;
0 0 0 0 0 0 0 0 0 0 0 0 0 0 0 0 0 0 0 0 0 0 0 0 0 0 0 0 0 -1/540 0 0 0;
0 0 0 0 0 0 0 0 0 0 0 0 0 0 0 0 0 0 0 0 0 0 0 0 0 0 0 0 0 4/300 -2/300 0
0;
0 0 0 0 0 0 0 0 0 0 0 0 0 0 0 0 0 0 0 0 0 0 0 0 0 0 0 0 0 0 0 -1/950 0;
0 0 0 0 0 0 0 0 0 0 0 0 0 0 0 0 0 0 0 0 0 0 0 0 0 0 0 0 0 0 0 4/480
-2/480];
Матрица входа:
B=[6.5/118000;
0000;
0000;
0-6.1/130000;
0000;
006.5/1180;
0000;
0000;
0 006.5/118;
0 000;
0 000;
00.4/43000;
0000;
000.3/4700;
0000;
0000.9/480;
0000;
-0.7/430000;
0000;
00.2/84000;
0000;
000.9/8000;
0000;
0000.5/570;
0000;
-0.1/450000;
0000;
00.1/64000;
0000;
000.1/5400;
0000;
0000.2/950;
0000];
Матрица измерений:
C=[0 -1 1 -1 1 0 -1 -1 0 -1 1 0 0 0 0 0 0 0 0 0 0 0 0 0 0 0 0 0 0 0 0 0
0;
0 0 0 0 0 0 0 0 0 0 0 -1 1 -1 1 -1 1 0 0 0 0 0 0 0 0 0 0 0 0 0 0 0 0;
0 0 0 0 0 0 0 0 0 0 0 0 0 0 0 0 0 -1 1 -1 1 -1 1 -1 1 0 0 0 0 0 0 0 0;
0 0 0 0 0 0 0 0 0 0 0 0 0 0 0 0 0 0 0 0 0 0 0 0 0 -1 1 -1 1 -1 1 -1 1];
3.
Преобразование математической модели в дискретное время и ее проверка с помощью
построения разгонных характеристик
Для преобразования математической модели в дискретное время пользуется
функция матлаба с2d. Шаг дискретизации может быть выбран с учетом того, что
процессы в замкнутой системе будут где-то в 10 раз быстрее, чем в объекте. То есть:
dt=0.01/max(abs(eig(A)));
[Ad,Bd]=c2d(A,B,dt);
Проверить найденную модель в дискретном времени следует с помощью расчета
разгонных характеристик. Для этого следует используем функцию dstep. Для вывода
графиков используем функции: subplot, plot, grid.
Матрицы модели в дискретном времени:
Ad =
Columns 1 through 12
0.9941 0 0 0 0 0 0 0 0 0 0 0
0.0258 0.9741 0 0 0 0 0 0 0 0 0 0
0.0025 0.1878 0.9048 0 0 0 0 0 0 0 0 0
0 0 0 0.9995 0 0 0 0 0 0 0 0
0 0 0 0.0347 0.9827 0 0 0 0 0 0 0
0 0 0 0 0 0.9941 0 0 0 0 0 0
0 0 0 0 0 0.0258 0.9741 0 0 0 0 0
0 0 0 0 0 -0.0025 -0.1878 0.9048 0 0 0 0
0 0 0 0 0 0 0 0 0.9941 0 0 0
0 0 0 0 0 0 0 0 0.0258 0.9741 0 0
0 0 0 0 0 0 0 0 0.0025 0.1878 0.9048 0
0 0 0 0 0 0 0 0 0 0 0 0.9984
0 0 0 0 0 0 0 0 0 0 0 0.0347
0 0 0 0 0 0 0 0 0 0 0 0
0 0 0 0 0 0 0 0 0 0 0 0
0 0 0 0 0 0 0 0 0 0 0 0
0 0 0 0 0 0 0 0 0 0 0 0
0 0 0 0 0 0 0 0 0 0 0 0
0 0 0 0 0 0 0 0 0 0 0 0
0 0 0 0 0 0 0 0 0 0 0 0
0 0 0 0 0 0 0 0 0 0 0 0
0 0 0 0 0 0 0 0 0 0 0 0
0 0 0 0 0 0 0 0 0 0 0 0
0 0 0 0 0 0 0 0 0 0 0 0
0 0 0 0 0 0 0 0 0 0 0 0
0 0 0 0 0 0 0 0 0 0 0 0
0 0 0 0 0 0 0 0 0 0 0 0
0 0 0 0 0 0 0 0 0 0 0 0
0 0 0 0 0 0 0 0 0 0 0 0
0 0 0 0 0 0 0 0 0 0 0 0
0 0 0 0 0 0 0 0 0 0 0 0
0 0 0 0 0 0 0 0 0 0 0 0
0 0 0 0 0 0 0 0 0 0 0 0
Columns 13 through 24
0 0 0
0 0 0 0 0 0 0 0 0
0 0 0 0 0 0 0 0 0 0 0 0
0 0 0 0 0 0 0 0 0 0 0 0
0 0 0 0 0 0 0 0 0 0 0 0
0 0 0 0 0 0 0 0 0 0 0 0
0 0 0 0 0 0 0 0 0 0 0 0
0 0 0 0 0 0 0 0 0 0 0 0
0 0 0 0 0 0 0 0 0 0 0 0
0 0 0 0 0 0 0 0 0 0 0 0
0 0 0 0 0 0 0 0 0 0 0 0
0 0 0 0 0 0 0 0 0 0 0 0
0 0 0 0 0 0 0 0 0 0 0 0
0.9827 0 0 0 0 0 0 0 0 0 0 0
0 0.9985 0 0 0 0 0 0 0 0 0 0
0 0.0164 0.9918 0 0 0 0 0 0 0 0 0
0 0 0 0.9985 0 0 0 0 0 0 0 0
0 0 0 0.0155 0.9923 0 0 0 0 0 0 0
0 0 0 0 0 0.9984 0 0 0 0 0 0
0 0 0 0 0 0.0278 0.9861 0 0 0 0 0
0 0 0 0 0 0 0 0.9992 0 0 0 0
0 0 0 0 0 0 0 0.0278 0.9861 0 0 0
0 0 0 0 0 0 0 0 0 0.9991 0 0
0 0 0 0 0 0 0 0 0 0.0112 0.9944 0
0 0 0 0 0 0 0 0 0 0 0 0.9988
0 0 0 0 0 0 0 0 0 0 0 0.0093
0 0 0 0 0 0 0 0 0 0 0 0
0 0 0 0 0 0 0 0 0 0 0 0
0 0 0 0 0 0 0 0 0 0 0 0
0 0 0 0 0 0 0 0 0 0 0 0
0 0 0 0 0 0 0 0 0 0 0 0
0 0 0 0 0 0 0 0 0 0 0 0
0 0 0 0 0 0 0 0 0 0 0 0
0 0 0 0 0 0 0 0 0 0 0 0
Columns 25 through 33
0 0 0 0 0 0 0 0 0
0 0 0 0 0 0 0 0 0
0 0 0 0 0 0 0 0 0
0 0 0 0 0 0 0 0 0
0 0 0 0 0 0 0 0 0
0 0 0 0 0 0 0 0 0
0 0 0 0 0 0 0 0 0
0 0 0 0 0 0 0 0 0
0 0 0 0 0 0 0 0 0
0 0 0 0 0 0 0 0 0
0 0 0 0 0 0 0 0 0
0 0 0 0 0 0 0 0 0
0 0 0 0 0 0 0 0 0
0 0 0 0 0 0 0 0 0
0 0 0 0 0 0 0 0 0
0 0 0 0 0 0 0 0 0
0 0 0 0 0 0 0 0 0
0 0 0 0 0 0 0 0 0
0 0 0 0 0 0 0 0 0
0 0 0 0 0 0 0 0 0
0 0 0 0 0 0 0 0 0
0 0 0 0 0 0 0 0 0
0 0 0 0 0 0 0 0 0
0 0 0 0 0 0 0 0 0
0.9953 0 0 0 0 0 0 0 0
0 0.9984 0 0 0 0 0 0 0
0 0.0186 0.9907 0 0 0 0 0 0
0 0 0 0.9989 0 0 0 0 0
0 0 0 0.0127 0.9937 0 0 0 0
0 0 0 0 0 0.9987 0 0 0
0 0 0 0 0 0.0093 0.9953 0 0
0 0 0 0 0 0 0 0.9993 0
0 0 0 0 0 0 0 0.0058 0.9971
Bd =
0.0384 0 0 0
0.0005 0 0 0
0.0000 0 0 0
0 -0.0033 0 0
0 -0.0001 0 0
0 0 0.0384 0
0 0 0.0005 0
0 0 -0.0000 0
0 0 0 0.0005
0 0 0 0.0000
0 0.0007 0 0
0 0.0000 0 0
0 0 0.0004 0
0 0 0.0000 0
0 0 0 0.0013
0 0 0 0.0000
-0.0011 0 0 0
-0.0000 0 0 0
0 0.0002 0 0
0 0.0000 0 0
0 0 0.0008 0
0 0 0.0000 0
0 0 0 0.0006
0 0 0 0.0000
-0.0002 0 0 0
-0.0000 0 0 0
0 0.0001 0 0
0 0.0000 0 0
0 0 0.0001 0
0 0 0.0000 0
0 0 0 0.0001
0 0 0 0.0000
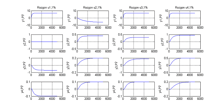
Рисунок. Кривые разгона передаточных функций
Если сравнить матрицу передаточных функций и полученные разгонные
характеристики(рисунок ), видно, что Кр из матрицы передаточных функций
совпадают с Кр на графиках, можно сделать вывод: построение модели и
преобразование выполнены верно.
4. Синтез многомерного ПИ-регулятора
Для синтеза ПИ-регулятора полученные матрицы должны быть расширены в
матрицы A1, B1, C1:
A1=[Ad zeros(8,2); C eye(2)];
B1=[Bd;zeros(10)];
C1=[C eye(2)];
Матрицы параметров регулятора должны быть рассчитаны с помощью функции
dlqr.
K=dlqr(A1,B1,Q,R)
L=dlqr(A1',C1',Q1,R1)'
Расширены матрицы имеют вид:
A1 =
Columns 1 through 12
0.9941 0 0 0 0 0 0 0 0 0 0 0
0.0258 0.9741 0 0 0 0 0 0 0 0 0 0
0.0025 0.1878 0.9048 0 0 0 0 0 0 0 0 0
0 0 0 0.9995 0 0 0 0 0 0 0 0
0 0 0 0.0347 0.9827 0 0 0 0 0 0 0
0 0 0 0 0 0.9941 0 0 0 0 0 0
0 0 0 0 0 0.0258 0.9741 0 0 0 0 0
0 0 0 0 0 -0.0025 -0.1878 0.9048 0 0 0 0
0 0 0 0 0 0 0 0 0.9941 0 0 0
0 0 0 0 0 0 0 0 0.0258 0.9741 0 0
0 0 0 0 0 0 0 0 0.0025 0.1878 0.9048 0
0 0 0 0 0 0 0 0 0 0 0 0.9984
0 0 0 0 0 0 0 0 0 0 0 0.0347
0 0 0 0 0 0 0 0 0 0 0 0
0 0 0 0 0 0 0 0 0 0 0 0
0 0 0 0 0 0 0 0 0 0 0 0
0 0 0 0 0 0 0 0 0 0 0 0
0 0 0 0 0 0 0 0 0 0 0 0
0 0 0 0 0 0 0 0 0 0 0 0
0 0 0 0 0 0 0 0 0 0 0 0
0 0 0 0 0 0 0 0 0 0 0 0
0 0 0 0 0 0 0 0 0 0 0 0
0 0 0 0 0 0 0 0 0 0 0 0
0 0 0 0 0 0 0 0 0 0 0 0
0 0 0 0 0 0 0 0 0 0 0 0
0 0 0 0 0 0 0 0 0 0 0 0
0 0 0 0 0 0 0 0 0 0 0 0
0 0 0 0 0 0 0 0 0 0 0 0
0 0 0 0 0 0 0 0 0 0 0 0
0 0 0 0 0 0 0 0 0 0 0 0
0 0 0 0 0 0 0 0 0 0 0 0
0 0 0 0 0 0 0 0 0 0 0 0
0 0 0 0 0 0 0 0 0 0 0 0
0 -1.0000 1.0000 -1.0000 1.0000 0 -1.0000 -1.0000 0 -1.0000
1.0000 0
0 0 0 0 0 0 0 0 0 0 0 -1.0000
0 0 0 0 0 0 0 0 0 0 0 0
0 0 0 0 0 0 0 0 0 0 0 0
Columns 13 through 24
0 0 0 0 0 0 0 0 0 0 0 0
0 0 0 0 0 0 0 0 0 0 0 0
0 0 0 0 0 0 0 0 0 0 0 0
0 0 0 0 0 0 0 0 0 0 0 0
0 0 0 0 0 0 0 0 0 0 0 0
0 0 0 0 0 0 0 0 0 0 0 0
0 0 0 0 0 0 0 0 0 0 0 0
0 0 0 0 0 0 0 0 0 0 0 0
0 0 0 0 0 0 0 0 0 0 0 0
0 0 0 0 0 0 0 0 0 0 0 0
0 0 0 0 0 0 0 0 0 0 0 0
0 0 0 0 0 0 0 0 0 0 0 0
0.9827 0 0 0 0 0 0 0 0 0 0 0
0 0.9985 0 0 0 0 0 0 0 0 0 0
0 0.0164 0.9918 0 0 0 0 0 0 0 0 0
0 0 0 0.9985 0 0 0 0 0 0 0 0
0 0 0 0.0155 0.9923 0 0 0 0 0 0 0
0 0 0 0 0 0.9984 0 0 0 0 0 0
0 0 0 0 0 0.0278 0.9861 0 0 0 0 0
0 0 0 0 0 0 0 0.9992 0 0 0 0
0 0 0 0 0 0 0 0.0278 0.9861 0 0 0
0 0 0 0 0 0 0 0 0 0.9991 0 0
0 0 0 0 0 0 0 0 0 0.0112 0.9944 0
0 0 0 0 0 0 0 0 0 0 0 0.9988
0 0 0 0 0 0 0 0 0 0 0 0.0093
0 0 0 0 0 0 0 0 0 0 0 0
0 0 0 0 0 0 0 0 0 0 0 0
0 0 0 0 0 0 0 0 0 0 0 0
0 0 0 0 0 0 0 0 0 0 0 0
0 0 0 0 0 0 0 0 0 0 0 0
0 0 0 0 0 0 0 0 0 0 0 0
0 0 0 0 0 0 0 0 0 0 0 0
0 0 0 0 0 0 0 0 0 0 0 0
0 0 0 0 0 0 0 0 0 0 0 0
1.0000 -1.0000 1.0000 -1.0000 1.0000 0 0 0 0 0 0 0
0 0 0 0 0 -1.0000 1.0000 -1.0000 1.0000 -1.0000 1.0000
-1.0000
0 0 0 0 0 0 0 0 0 0 0 0
Columns 25 through 36
0 0 0 0 0 0 0 0 0 0 0 0
0 0 0 0 0 0 0 0 0 0 0 0
0 0 0 0 0 0 0 0 0 0 0 0
0 0 0 0 0 0 0 0 0 0 0 0
0 0 0 0 0 0 0 0 0 0 0 0
0 0 0 0 0 0 0 0 0 0 0 0
0 0 0 0 0 0 0 0 0 0 0 0
0 0 0 0 0 0 0 0 0 0 0 0
0 0 0 0 0 0 0 0 0 0 0 0
0 0 0 0 0 0 0 0 0 0 0 0
0 0 0 0 0 0 0 0 0 0 0 0
0 0 0 0 0 0 0 0 0 0 0 0
0 0 0 0 0 0 0 0 0 0 0 0
0 0 0 0 0 0 0 0 0 0 0 0
0 0 0 0 0 0 0 0 0 0 0 0
0 0 0 0 0 0 0 0 0 0 0 0
0 0 0 0 0 0 0 0 0 0 0 0
0 0 0 0 0 0 0 0 0 0 0 0
0 0 0 0 0 0 0 0 0 0 0 0
0 0 0 0 0 0 0 0 0 0 0 0
0 0 0 0 0 0 0 0 0 0 0 0
0 0 0 0 0 0 0 0 0 0 0 0
0 0 0 0 0 0 0 0 0 0 0 0
0 0 0 0 0 0 0 0 0 0 0 0
0.9953 0 0 0 0 0 0 0 0 0 0 0
0 0.9984 0 0 0 0 0 0 0 0 0 0
0 0.0186 0.9907 0 0 0 0 0 0 0 0 0
0 0 0 0.9989 0 0 0 0 0 0 0 0
0 0 0 0.0127 0.9937 0 0 0 0 0 0 0
0 0 0 0 0 0.9987 0 0 0 0 0 0
0 0 0 0 0 0.0093 0.9953 0 0 0 0 0
0 0 0 0 0 0 0 0.9993 0 0 0 0
0 0 0 0 0 0 0 0.0058 0.9971 0 0 0
0 0 0 0 0 0 0 0 0 1.0000 0 0
0 0 0 0 0 0 0 0 0 0 1.0000 0
1.0000 0 0 0 0 0 0 0 0 0 0 1.0000
0 -1.0000 1.0000 -1.0000 1.0000 -1.0000 1.0000 -1.0000
1.0000 0 0 0
Column 37
0
0
0
0
0
0
0
0
0
0
0
0
0
0
0
0
0
0
0
0
0
0
0
0
0
0
0
0
0
0
0
0
0
0
0
0
1.0000
B1 =
0.0384 0 0 0
0.0005 0 0 0
0.0000 0 0 0
0 -0.0033 0 0
0 -0.0001 0 0
0 0 0.0384 0
0 0 0.0005 0
0 0 -0.0000 0
0 0 0 0.0384
0 0 0 0.0005
0 0 0 0.0000
0 0.0007 0 0
0 0.0000 0 0
0 0 0.0004 0
0 0 0.0000 0
0 0 0 0.0013
0 0 0 0.0000
-0.0011 0 0 0
-0.0000 0 0 0
0 0.0002 0 0
0 0.0000 0 0
0 0 0.0008 0
0 0 0.0000 0
0 0 0 0.0006
0 0 0 0.0000
-0.0002 0 0 0
-0.0000 0 0 0
0 0.0001 0 0
0 0.0000 0 0
0 0 0.0001 0
0 0 0.0000 0
0 0 0 0.0001
0 0 0 0.0000
0 0 0 0
0 0 0 0
0 0 0 0
0 0 0 0
C1 =
Columns 1 through 20
0 0 0 0 0 0 0 0 0 0 0 0 0 0 0 0 0 0 0 0
0 0 0 0 0 0 0 0 0 0 0 0 0 0 0 0 0 0 0 0
0 0 0 0 0 0 0 0 0 0 0 0 0 0 0 0 0 0 0 0
0 0 0 0 0 0 0 0 0 0 0 0 0 0 0 0 0 0 0 0
Columns 21 through 37
0 0 0 0 0 0 0 0 0 0 0 0 0 1 0 0 0
0 0 0 0 0 0 0 0 0 0 0 0 0 0 1 0 0
0 0 0 0 0 0 0 0 0 0 0 0 0 0 0 1 0
0 0 0 0 0 0 0 0 0 0 0 0 0 0 0 0 1
K =
1.0e+003 *
Columns 1 through 12
0.0004 0.0064 0.0046 -0.0111 0.0123 0.0006 0.0060 -0.0045
0.0004 0.0060 0.0045 0.0046
0.0006 0.0021 0.0055 -0.0062 0.0107 0.0005 0.0020 -0.0055
0.0007 0.0020 0.0055 0.0148
0.0021 0.0062 0.0043 -0.0115 0.0122 0.0021 0.0068 -0.0043
0.0016 0.0061 0.0043 0.0395
0.0023 0.0057 0.0037 -0.0011 0.0110 0.0021 0.0056 -0.0037
0.0027 0.0064 0.0038 -0.0981
Columns 13 through 24
-0.0165 0.0305 -0.0271 0.0328 -0.0278 -0.0629 -0.0589
-0.0539 -0.0589 0.0373 -0.1078 0.0462
0.0382 -0.0327 0.0614 -0.0367 0.0630 -0.0073 0.0034 -0.0202
0.0034 -0.0268 0.0053 -0.0211
-0.0126 0.0753 -0.0215 0.0795 -0.0221 0.1055 0.0455 0.1545
0.0455 0.0897 0.0883 0.0549
-0.0270 -0.0866 -0.0464 -0.0869 -0.0482 -0.0302 0.0153
-0.0766 0.0153 -0.1052 0.0240 -0.0859
Columns 25 through 36
-0.1173 -0.1704 -0.0363 -0.2339 -0.0512 -0.1978 -0.0673
-0.3134 -0.1028 0.0004 -0.0002 -0.0008
0.0054 0.1627 0.0338 0.2241 0.0479 0.1893 0.0633 0.3033
0.0968 0.0006 0.0007 0.0000
0.0982 -0.5156 -0.0681 -0.7405 -0.1021 -0.6439 -0.1429
-1.0379 -0.2414 0.0004 -0.0002 0.0006
0.0244 0.5344 0.0678 0.7721 0.1016 0.6741 0.1429 1.0857
0.2443 0.0003 -0.0006 0.0002
Column 37
-0.0003
0.0003
-0.0006
0.0006
L =
0.0623 -0.0000 -0.0000 0.0000
0.0771 -0.0000 -0.0000 0.0000
0.2162 -0.0000 -0.0000 0.0000
0.2181 0.0000 -0.0000 -0.0000
0.5175 0.0000 -0.0000 -0.0000
0.0623 -0.0000 0.0000 -0.0000
0.0771 -0.0000 0.0000 -0.0000
-0.2162 0.0000 -0.0000 0.0000
0.0623 0.0000 0.0000 0.0000
0.0771 0.0000 0.0000 0.0000
0.2162 0.0000 0.0000 0.0000
-0.0000 0.1229 0.0000 -0.0000
-0.0000 0.3421 0.0000 -0.0000
-0.0000 0.1079 0.0000 0.0000
-0.0000 0.3455 0.0000 0.0000
0.0000 0.1076 -0.0000 -0.0000
0.0000 0.3482 -0.0000 -0.0000
0.0000 0.0000 0.0789 -0.0000
0.0000 0.0000 0.2349 -0.0000
0.0000 -0.0000 0.1252 -0.0000
0.0000 -0.0000 0.3223 -0.0000
-0.0000 0.0000 0.1000 0.0000
-0.0000 0.0000 0.3037 0.0000
0.0000 0.0000 0.0665 0.0000
0.0000 0.0000 0.2504 0.0000
-0.0000 0.0000 0.0000 0.0709
-0.0000 0.0000 0.0000 0.2282
-0.0000 -0.0000 0.0000 0.0839
-0.0000 -0.0000 0.0000 0.2651
0.0000 -0.0000 0.0000 0.0613
0.0000 -0.0000 0.0000 0.2373
0.0000 0.0000 0.0000 0.0892
0.0000 0.0000 -0.0000 0.3165
1.6703 0.0000 -0.0000 -0.0000
0.0000 1.6189 0.0000 0.0000
-0.0000 0.0000 1.6746 0.0000
-0.0000 0.0000 0.0000 1.6746
5. Моделирование замкнутой системы и оценка качества переходных процессов
Для получения переходных процессов следует сформировать матрицы замкнутой
системы и получить переходные процессы с помощью программы dstep.
Ar=[Ad-Bd*K1 -Bd*K2-L1 L1; C eye(2)-L2 L2; zeros(2,8)
zeros(2) eye(2)];
Br=[zeros(8,2); zeros(2); eye(2)];
Cr=[-K zeros(2)];
При оценке качества переходных процессов необходимо чтоб отклонение
управляющих воздействий не превышало 30% открытия.
Максимальное возмущение следует принять на уровне 10% номинального
значения соответствующих параметров. Допустимое значение регулируемых
переменных нужно принять равными 20% номинального значения.
Рисунок. Переходные процессы
замкнутосистемы(f=[0.5;05;05;1];z=[7;0.8;1.5;2.8])
6. Преобразование модели регулятора в форму, отвечающую ее реализации в
программном обеспечении
ПИ закон регулирования вычисляется по формулам:
y=C*x; x=Ad*x+Bd*(u+f);
e=-z+y;
u=Cr*xr; xr=Ar*xr+Br*e;
Где Ar,Br,Cr матрицы регулятора:
K1=K(:,1:n);K2=K(:,n+1:n+m);
L1=L(1:n,:);L2=L(n+1:n+l,:);
Ar2=[ Ad-Bd*K1 -Bd*K2-L1 L1;
C eye(l)-L2 L2;
zeros(l,n) zeros(l) eye(l)];
Br2=[Bd;zeros(l,m);eye(m)];
Cr2=[-K zeros(m,l)];
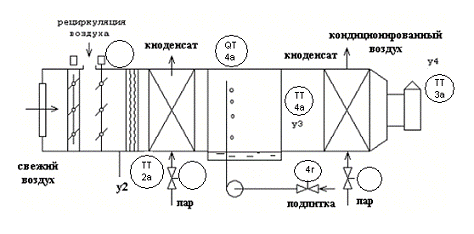
7. Выбор технических средств реализации системы управления
Технические средства реализации системы управления включают датчики
регулированных параметров, исполнительные механизмы и регулирующие органы,
преобразователи, рабочую станцию.
Общая структурная схема рабочей станции изображена на рисунке
Рабочая станция имеет вид:
Рисунок. Схема рабочей станции.
|
№
|
Наименование
|
Количество
|
|
1
|
Мат. плата Gigabyte GA-EG41MFT-US2H
|
1
|
|
2
|
Процессор DualCore AMD Athlon 64 X2, 2200 MHz (11
x 200) 4200+
|
1
|
|
3
|
Модуль памяти DIMM2:
Samsung M3 78T2863QZS-CF7 1Гб
|
2
|
|
4
|
Жесткий диск SAMSUNG 500Гб
|
1
|
|
5
|
Видеокарта NVIDIA GeForce 8500 GT 512мб.
|
1
|
|
6
|
Монитор 19 LG TFT W1942SE
PF
|
1
|
|
7
|
Клавиатура Sven KB-2925
PS/2
|
1
|
|
8
|
1
|
|
9
|
Корпус Zalman MS1000-HS1
|
1
|
Таблица. Технические характеристики
компьютера
|
№
|
Тип
|
К-во
|
Найменування
|
|
1
|
БАЙКАЛ-МК
|
1
|
Гигрометр кулометрический
стационарный
|
|
2
|
ADAM-4013 1
|
3
|
термометр сопротивления
|
|
3
|
ADAM 4069
|
4
|
Модуль c релейными
выходами, 8 реле с нормально разомкнутым контактом, нагрузочная способность
контактов: 250 В/ 5 A для перем. тока, 30 В/ 5 A для пост. тока, время
включения 5 мс , время выключения 5,6 мс
|
|
4
|
МЭО 40/25-0,25
|
4
|
Механизм исполнительный
одно-оборотный , номинальный крутя-щий момент 40кгс/м, номинальный ход
выходного органа 0,25 оборота за 25с, Напряжение питания 220В. Частота 50Гц
|
Таблица. Упрощённая спецификация технических средств.
8. Технические средства автоматизации
БАЙКАЛ-МК гигрометр кулонометрический стационарный
Предназначен для измерений объемной доли влаги в азоте, кислороде,
водороде, углекислом газе, воздухе и их смесях, а также в инертных и других
газах, не взаимодействующих с фосфорным ангидридом, и представляет собой
стационарный прибор непрерывного действия. Принцип действия гигрометра основан
на кулонометрическом методе измерения. Гигрометр выпускается в 3-х исполнениях:
- с датчиком на высокое давление (от 0,16 до 40 МПа);
- с датчиком на низкое давление (от 0,03 до 0,16 МПа);
- с датчиком на разрежение (от минус 0,005 до плюс 0,03 МПа).
Гигрометр используется в химической, нефтехимической промышленности, на
предприятиях по производству полупроводников, микросхем, микроконтроллеров,
полимерных материалов, легированных сталей, а также в атомной промышленности и
наземных космических объектах. Показатели конкурентоспособности:
- выбор единиц измерений по влажности с отображением на дисплее: ppm,
мг/м3, °С т.р.;
- наличие интерфейса RS-485 для связи с ЭВМ;
- наличие функции почасового и суточного архива с энергонезависимой
памятью;
- дисплей повышенной яркости;
- автоматический выбор диапазонов измерений;
- высокая точность и надежность;
- устройство сигнализации о неисправности чувствительного элемента;
- устройство задания и сигнализации о превышении в анализируемом газе
заданного значения объемной доли влаги;
- активная защита чувствительного элемента по напряжению и влажности;
- измерительная схема гигрометра выполнена на микроконтроллере;
- возможность реализации альтернативной независимой поверки при
отсутствии эталонов;
- возможность размещения блоков гигрометра друг от друга на расстоянии до
300 м.
ADAM-4013 1-канальный модуль аналогового ввода сигнала
стермосопротивления
Вывод
Разработан проект автоматической системы регулирования промышленного
кондиционера. Данный проект включает следующие элементы:
1) Математическое обеспечение: разработана математическая модель
объекта виде матриц входов, внутренних состояний и выходов; данные матрицы
переведены в дискретное время; разработан многомерный ПИ регулятор. Все расчеты
проведены автоматически в среде Matlab.
2) Техническое обеспечение: разработан функциональная схема
автоматизации, подобрано оборудование для технической реализации данной
системы.
3) Программное обеспечение: разработана программа, моделирующая
поведение системы.
Испытание данной программы показало удовлетворительные результаты, что
говорит о том что разработанное математическое обеспечение адекватно объекту
автоматизации
Литература
1. Стопакевич
А.А. Теория систем и системный анализ. Учебник для вузов.- Киев: ВИПОЛ,
1996.-200 с.
2. Стопакевич
А.А. Сложные системы: анализ, синтез, управление. Монография. - Одесса: КРЕД,
2004.-278 с.
3. Демченко
В.А. Автоматизация и моделирование технологических процессов АЭС и ТЭС.-
Одесса: Астропринт, 2001.-308с.
4. Потемкин
В.Г., Рудаков П.И. Matlab 5.0 для студентов. - М.: Диалог-МИФИ, 1999.-448с.
5. Стопакевич
А.А. Matlab. Методические указания к лабораторным работам, курсового и
дипломного проектирования. - Одесса, 2000.-18 с.
6. Каталог
продукции фирмы ProSoft. - М.,2003.-178 с.
7. Чистяков
В.С. Краткий справочник по теплофизическим измерениям. - М.: Энергоатомиздат,
1990.-320 с.
Приложение А
Текст программы
A=[-1/118 0 0 0 0 0 0 0 0 0 0 0 0 0 0 0 0 0 0 0 0 0 0 0 0 0 0 0 0 0 0 0
0;
1/26.7
-1/26.7 0 0 0 0 0 0 0 0 0 0 0 0 0 0 0 0 0 0 0 0 0 0 0 0 0 0 0 0 0 0 0;
0 4/14 -2/14 0 0 0 0 0 0 0 0 0 0 0 0 0 0 0 0 0 0 0 0 0 0 0 0
0 0 0 0 0 0;
0 0 0 -1/1300 0 0 0 0 0 0 0 0 0 0 0 0 0 0 0 0 0 0 0 0 0 0 0
0 0 0 0 0 0;
0 0 0 4/80 -2/80 0 0 0 0 0 0 0 0 0 0 0 0 0 0 0 0 0 0 0 0 0 0
0 0 0 0 0 0;
0 0 0 0 0 -1/118 0 0 0 0 0 0 0 0 0 0 0 0 0 0 0 0 0 0 0 0 0 0
0 0 0 0 0;
0 0 0 0 0 1/26.7 -1/26.7 0 0 0 0 0 0 0 0 0 0 0 0 0 0 0 0 0 0
0 0 0 0 0 0 0 0;
0 0 0 0 0 0 4/-14 -2/14 0 0 0 0 0 0 0 0 0 0 0 0 0 0 0 0 0 0 0
0 0 0 0 0 0;
0 0 0 0 0 0 0 0 -1/118 0 0 0 0 0 0 0 0 0 0 0 0 0 0 0 0 0 0 0
0 0 0 0 0;
0 0 0 0 0 0 0 0 1/26.7 -1/26.7 0 0 0 0 0 0 0 0 0 0 0 0 0 0 0
0 0 0 0 0 0 0 0;
0 0 0 0 0 0 0 0 0 4/14 -2/14 0 0 0 0 0 0 0 0 0 0 0 0 0 0 0 0
0 0 0 0 0 0;
0 0 0 0 0 0 0 0 0 0 0 -1/430 0 0 0 0 0 0 0 0 0 0 0 0 0 0 0 0
0 0 0 0 0;
0 0 0 0 0 0 0 0 0 0 0 4/80 -2/80 0 0 0 0 0 0 0 0 0 0 0 0 0 0
0 0 0 0 0 0;
0 0 0 0 0 0 0 0 0 0 0 0 0 -1/470 0 0 0 0 0 0 0 0 0 0 0 0 0 0
0 0 0 0 0;
0 0 0 0 0 0 0 0 0 0 0 0 0 4/170 -2/170 0 0 0 0 0 0 0 0 0 0 0
0 0 0 0 0 0 0;
0 0 0 0 0 0 0 0 0 0 0 0 0 0 0 -1/480 0 0 0 0 0 0 0 0 0 0 0 0
0 0 0 0 0;
0 0 0 0 0 0 0 0 0 0 0 0 0 0 0 4/180 -2/180 0 0 0 0 0 0 0 0 0
0 0 0 0 0 0 0;
0 0 0 0 0 0 0 0 0 0 0 0 0 0 0 0 0 -1/430 0 0 0 0 0 0 0 0 0 0
0 0 0 0 0;
0 0 0 0 0 0 0 0 0 0 0 0 0 0 0 0 0 4/100 -2/100 0 0 0 0 0 0 0 0
0 0 0 0 0 0;
0 0 0 0 0 0 0 0 0 0 0 0 0 0 0 0 0 0 0 -1/840 0 0 0 0 0 0 0 0
0 0 0 0 0;
0 0 0 0 0 0 0 0 0 0 0 0 0 0 0 0 0 0 0 4/100 -2/100 0 0 0 0 0
0 0 0 0 0 0 0;
0 0 0 0 0 0 0 0 0 0 0 0 0 0 0 0 0 0 0 0 0 -1/800 0 0 0 0 0 0
0 0 0 0 0;
0 0 0 0 0 0 0 0 0 0 0 0 0 0 0 0 0 0 0 0 0 4/250 -2/250 0 0 0
0 0 0 0 0 0 0;
0 0 0 0 0 0 0 0 0 0 0 0 0 0 0 0 0 0 0 0 0 0 0 -1/570 0 0 0 0
0 0 0 0 0;
0 0 0 0 0 0 0 0 0 0 0 0 0 0 0 0 0 0 0 0 0 0 0 4/300 -2/300 0
0 0 0 0 0 0 0;
0 0 0 0 0 0 0 0 0 0 0 0 0 0 0 0 0 0 0 0 0 0 0 0 0 -1/450 0 0
0 0 0 0 0;
0 0 0 0 0 0 0 0 0 0 0 0 0 0 0 0 0 0 0 0 0 0 0 0 0 4/150
-2/150 0 0 0 0 0 0;
0 0 0 0 0 0 0 0 0 0 0 0 0 0 0 0 0 0 0 0 0 0 0 0 0 0 0 -1/640
0 0 0 0 0;
0 0 0 0 0 0 0 0 0 0 0 0 0 0 0 0 0 0 0 0 0 0 0 0 0 0 0 4/220
-2/220 0 0 0 0;
0 0 0 0 0 0 0 0 0 0 0 0 0 0 0 0 0 0 0 0 0 0 0 0 0 0 0 0 0
-1/540 0 0 0;
0 0 0 0 0 0 0 0 0 0 0 0 0 0 0 0 0 0 0 0 0 0 0 0 0 0 0 0 0
4/300 -2/300 0 0;
0 0 0 0 0 0 0 0 0 0 0 0 0 0 0 0 0 0 0 0 0 0 0 0 0 0 0 0 0 0 0
-1/950 0;
0 0 0 0 0 0 0 0 0 0 0 0 0 0 0 0 0 0 0 0 0 0 0 0 0 0 0 0 0 0 0
4/480 -2/480];
B=[6.5/118000;
0000;
0000;
0-6.1/130000;
0000;
006.5/1180;
0000;
0000;
0 006.5/118;
0 000;
0 000;
00.4/43000;
0000;
000.3/4700;
0000;
0000.9/480;
0000;
-0.7/430000;
0000;
00.2/84000;
0000;
000.9/8000;
0000;
0000.5/570;
0000;
-0.1/450000;
0000;
00.1/64000;
0000;
000.1/5400;
0000;
0000.2/950;
0000];
%B=[ 0 0 0 0;0 0.4/430 0 0;0 0 0 0;0 0 0.3/470 0;0 0 0 0;0 0
0 0.9/480;0 0 0 0;-0.7/430 0 0 0;0 0 0 0;0 0.2/840 0 0;0 0 0 0;0 0 0.9/800 0;0
0 0 0;0 0 0 0.5/570;0 0 0 0;-0.1/450 0 0 0;0 0 0 0;0 0.1/640 0 0;0 0 0 0;0 0
0.1/540 0;0 0 0 0;0 0 0 0.2/950;0 0 0 0];
C=[0 -1 1 -1 1 0 -1 -1 0 -1 1 0 0 0 0 0 0 0 0 0 0 0 0 0 0 0 0
0 0 0 0 0 0;
0 0 0 0 0 0 0 0 0 0 0 -1 1 -1 1 -1 1 0 0 0 0 0 0 0 0 0 0 0 0
0 0 0 0;
0 0 0 0 0 0 0 0 0 0 0 0 0 0 0 0 0 -1 1 -1 1 -1 1 -1 1 0 0 0 0
0 0 0 0;
0 0 0 0 0 0 0 0 0 0 0 0 0 0 0 0 0 0 0 0 0 0 0 0 0 -1 1 -1 1
-1 1 -1 1];
%%%%%%%%%%%%%%%%%%%%%%%%%%%%%%%%%%%%%%%%%%%%%%%%%%%%%%%%%%%%%%%%%%%%%%%%%%%
dt=0.1/max(abs(eig(A))); %0.25
D=zeros(4);
t=[0:dt:5000];
[Ad Bd]=c2d(A,B,dt);
G=length(t);
y=dstep(Ad,Bd,C,D,1,G);
%%%%%%%%%%%%%%%%%%%%%%%%%%%%%%%%%%%%%%%%%%%%%%%%%%%%%%%%%%%%%%%%%%%%%%%%%%%
figure(1)
subplot(4,4,1); plot(t,y(:,1));grid;ylabel('y1,РЎ');title('Razgon u1,1%');
subplot(4,4,5); plot(t,y(:,2));grid;ylabel('y2,РЎ');
subplot(4,4,9); plot(t,y(:,3));grid;ylabel('y3,РЎ');
subplot(4,4,13); plot(t,y(:,4));grid;ylabel('y4,РЎ');
%%%%%%%%%%%%%%%%%%%%%%%%%%%%%%%%%%%%%%%%%%%%%%%%%%%%%%%%%%%%%%%%%%%%%%%%%%%
y=dstep(Ad,Bd,C,D,2,G);
subplot(4,4,2); plot(t,y(:,1));grid;ylabel('y1,РЎ');title('Razgon u2,1%');
subplot(4,4,6); plot(t,y(:,2));grid;ylabel('y2,РЎ');
subplot(4,4,10); plot(t,y(:,3));grid;ylabel('y3,РЎ');
subplot(4,4,14); plot(t,y(:,4));grid;ylabel('y4,РЎ');
%%%%%%%%%%%%%%%%%%%%%%%%%%%%%%%%%%%%%%%%%%%%%%%%%%%%%%%%%%%%%%%%%%%%%%%%%%%
y=dstep(Ad,Bd,C,D,3,G);
subplot(4,4,3); plot(t,y(:,1));grid;ylabel('y1,РЎ');title('Razgon u3,1%');
subplot(4,4,7); plot(t,y(:,2));grid;ylabel('y2,РЎ');
subplot(4,4,11); plot(t,y(:,3));grid;ylabel('y3,РЎ');
subplot(4,4,15); plot(t,y(:,4));grid;ylabel('y4,РЎ');
y=dstep(Ad,Bd,C,D,4,G);
subplot(4,4,4); plot(t,y(:,1));grid;ylabel('y1,РЎ');title('Razgon u4,1%');
subplot(4,4,8); plot(t,y(:,2));grid;ylabel('y2,РЎ');
subplot(4,4,12); plot(t,y(:,3));grid;ylabel('y3,РЎ');
subplot(4,4,16); plot(t,y(:,4));grid;ylabel('y4,РЎ');
%%%%%%%%%%%%%%%%%%%%%%%%%%%%%%%%%%%%%%%%%%%%%%%%%%%%%%%%%%%%%%%%%%%%%%%%%%%
A1=[Ad zeros(33,4); C eye(4)];
B1=[Bd;zeros(4)];
C1=[zeros(4,33) eye(4)];
Q=[eye(33) zeros(33,4);zeros(4,33) eye(4)];
R=eye(4);
Q1=eye(37);
R1=eye(4);
K=dlqr(A1,B1,Q,R);
L=dlqr(A1',C1',Q1,R1)';
K1=K(:,1:33);
K2=K(:,34:37);
L1=L(1:33,:);
L2=L(34:37,:);
Ar=[Ad-Bd*K1 -Bd*K2-L1 L1; C eye(4)-L2 L2; zeros(4,33)
zeros(4) eye(4)];
Br=[zeros(33,4); zeros(4); eye(4)];
Cr=[-K zeros(4)];
x=zeros(33,1); xr=zeros(41,1); u=zeros(4,1);
yy=[]; uu=[];f=[0.5;0.5;0.5;1];z=[7;0.8;1.5;2.8];
%%%%%%%%%%%%%%%%%%%%%%%%%%%%%%%%%%%%%%%%%%%%%%%%%%%%%%%%%%%%%%%%%%%%%%%%%
for i=1:10000,
y=C*x; e=-z+y;
u=Cr*xr; xr=Ar*xr+Br*e;
y=C*x; x=Ad*x+Bd*(u+f);
yy=[yy; y']; uu=[uu; u'];
end
%%%%%%%%%%%%%%%%%%%%%%%%%%%%%%%%%%%%%%%%%%%%%%%%%%%%%%%%%%%%%%%%%%%%%%%%%
x1=x; xr1=xr; u1=u;
figure(2)
subplot(4,4,2);
plot(yy(:,1));grid;ylabel('y1,C');title('y1');
subplot(4,4,4);
plot(yy(:,2));grid;ylabel('y2,C');title('y2');
subplot(4,4,6);
plot(yy(:,3));grid;ylabel('y3,C');title('y3');
subplot(4,4,8); plot(yy(:,4));grid;ylabel('y4,C');title('y4');
subplot(4,4,1);
plot(uu(:,1));grid;ylabel('u1,%');title('u1');
subplot(4,4,3);
plot(uu(:,2));grid;ylabel('u2,%');title('u2');
subplot(4,4,5);
plot(uu(:,3));grid;ylabel('u3,%');title('u3');
subplot(4,4,7);
plot(uu(:,4));grid;ylabel('u4,%');title('u4');
Функциональная схема автоматизации приведена на рисунке
Рисунок - Функциональная схема автоматизации