Технологічні особливості систем мобільного зв'язку для вчинення злочинів
План
Вступ
Розділ 1. Загальна характеристика
систем мобільного зв’язку
1.1 Основні типи систем мобільного
зв’язку
1.2 Структура мереж мобільного
зв’язку
Розділ 2. Здійснення злочинів у сфері
мобільного зв’язку
2.1 Злочини проти компанії стільникового
зв’язку
2.2 Несанкціоноване перехоплення
інформації
Розділ 3. Запобігання злочинам у
сфері мобільного зв’язку
3.1 Шифрування даних
3.2 Аутентифікація
Висновок
Література
Вступ
В умовах
сьогодення відбувається якісна зміна кримінального світу: у своїй злочинній
діяльності кримінальні структури використовують найсучасніші досягнення науки і
техніки, комп’ютерні системи та нові інформаційні технології. Тобто,
відбувається процес інтенсивної інтелектуалізації організованої злочинності.
Революція зв'язку
вийшла за стіни офісів і контор і поширилася на школи, квартири, бібліотеки,
проникаючи в кожний куток нашого повсякденного життя. Мобільний телефонний
зв’язок сьогодні є одним з видів безпровідного персонального зв’язку, що активно
розвивається. Але значно більшими темпами зростає злочинність у цій сфері.
Злочини здійснюються організованими злочинними групами, діяльність багатьох з
яких має транснаціональний характер.
Сьогодні
мобільний телефон – це не тільки засіб зв'язку, фотоапарат або відеокамера, але
ще і радіомаяк. Сучасна людина, сама того деколи не підозрюючи, всюди залишає
сліди – і йдеться не тільки про відбитки пальців. Ми чи не щохвилини залишаємо
електронні сліди – коли дзвонимо з мобільного телефону, входимо в Інтернет або
вставляємо квиток в турнікет метро. І сліди ці можуть бути виявлені за
допомогою різних технічних засобів. Злочини у сфері інформаційно-комунікаційних
технологій переважно не є тяжкими, але їх розкриття потребує застосування
спеціальних науково-технічних засобів та залучення фахівців зі спеціальними
знаннями у галузях телекомунікацій, електронних розрахунків, застосування
Інтернет-технологій і т. ін. Тому у даній роботі за мету я ставила дослідити
системи мобільного зв’язку, проаналізувати різноманітні способи здійснення
злочинів у сфері мобільного телефонного зв’язку, а також визначити способи
запобігання злочинам такого типу.
Розділ 1. Загальна
характеристика систем мобільного зв’язку
система
мобільний зв'язок злочин
Мобільні телефони
фактично є складною мініатюрною прийомо-передаваючою радіостанцією. Кожному
мобільному телефонному апарату присвоюється свій електронний серійний номер (ESN), який кодується в мікрочіпі
телефону при його виготовленні і повідомляється виробниками апаратури
спеціалістам, які здійснюють його обслуговування. Крім того, деякі виробники
вказують цей номер у посібнику для користувача. При підключенні апарату до
системи зв’язку компанії, яка представляє послуги мобільного зв’язку, в
мікрочіп телефону додатково заносяться мобільний ідентифікаційний номер (MIN).
Мобільний телефон має велику, а іноді і
необмежену, дальність дії, яку забезпечує сотова структура зон зв’язку. Вся
територія, яка обслуговується стільниковою системою зв’язку, поділена на окремі
прилягаючі один до одного зони зв’язку або «соти». Телефонний обмін в кожній
такій зоні управляється базовою станцією, здатною приймати сигнали на великій
кількості радіочастот. Крім того, ця станція підключена до звичайної провідної
телефонної мережі і оснащена апаратурою перетворення високочастотного сигналу
мобільного телефону в низькочастотний сигнал провідного телефону і навпаки, чим
забезпечується узгодження обох систем.
В основі будь
яких систем мобільного зв'язку лежить підсистема базових радіо станцій (далі
БС). Основна функція БС обмін інформацією з мобільними телефонами (далі МТ), що
знаходяться в зоні дії БС, та обмін інформацію з центральним комутатором (далі
ЦК).Функція ЦК обмін інформацією з БС та через них з МТ, а також обмін
інформацією з абонентами, що користуються мережами загального користування, як
національними так і міжнародними, мережами інших операторів.
Інтерфейсом,
транспортною мережею (далі ТМ) між БС, ЦК є найчастіше радіорелейні системи,
оптичні системі передачі інформації іноді системи на основі кабельних ліній
зв'язку.
Під покриттям або
зоною обслуговування (далі 30) зазвичай розуміють територію, що знаходиться в
зоні дії БС (базових станцій) оператора. Саме сигнал від наявних БС (базових
станцій) і визначає розміри, границі 30 (зони обслуговування). 30 (зону
обслуговування) поділяють на чарунки. В умовному центрі яких розміщені БС
(базові станції). Чарунки поділяються зазвичай на три сектора: А,Б,С.
1.1 Основні
типи систем мобільного зв’язку
Сучасні системи
мобільного радіозв’язку (CMP) досить різноманітні за спектром застосувань, що використовується
інформаційними технологіями і принципами організації. Тому їх змістовний огляд
був би досить складним без попередньої систематизації. Отже, можна
запропонувати наступний набір класифікаційних ознак CMP:
· спосіб керування системою,
інакше спосіб об’єднання абонентів - централізований (координовий) або
автономний (некоординований). При централізованому об’єднанні зв’язок між
абонентами здійснюється через центральні (або базові) станції. В протилежному
випадку зв’язок між користувачами встановлюється безпосередньо, без участі
базових станцій;
· зона обслуговування -
радіальна (в межах радіуса дії радіостанції), лінійна (для лінійно протяжних
зон), територіальна (для певних конфігурацій території);
· спрямованість зв’язку -
односторонній або двосторонній зв’язок між абонентом і базовою станцією;
· вид роботи системи - симплекс
(почергова передача від абонента до базової станції і назад) і дуплекс -
одночасна передача і прийом в кожному з двох названих напрямків;
· метод розподілу каналів у
системі радіозв’язку, або метод множинного доступу - частотний, тимчасовий або
кодовий;
· спосіб використання
частотного ресурсу, виділеного системі зв’язку, - жорстке закріплення каналів
за абонентами, можливість доступу абонентів до загального частотного ресурсу
(транкінгові системи), повторне використання частот за рахунок просторового
рознесення передатчиків (стільникові системи);
· категорія абонентів, які
обслуговуються системою зв’язку абонентів - професійні (службові, корпоративні)
абоненти, приватні особи;
· вид інформації, що
передається - мова, кодоване повідомлення та ін.
Даний перелік не
вичерпує всіх можливих системоутворюючих ознак (можна згадати і такі, як
діапазон частот, що використовуються, вид модуляції сигналів, спосіб з’єднання
системи зв’язку з комутованою телефонною мережею загального використання
(ТМЗВ), число абонентів, що обслуговується і т.д.), однак і його достатньо для
демонстрації різноманіття існуючих CMP.
В залежності від
призначення системи, об’єму послуг, що надаються і розмірів зони обслуговування
можна виділити чотири типи СМР: транкінгові системи зв’язку, системи
персонального радіовиклику, системи персонального супутникового зв’язку та стільникові
системи мобільного зв’язку.
Термін «транкінговий»
(або транковий) походить від англійського trunk (стовбур) і відображає ту обставину,
що «стовбур зв’язку» містить декілька каналів, прим чому жорстке закріплення
каналів за абонентами відсутнє. В літературі можна знайти різні визначення
транкінгових систем, загальним для яких є саме надання в розпорядження абонента
одного із вільних на даний момент каналів. До цього класу відносять:
·
радіально-зонові
системи наземного мобільного радіозв’язку, що використовують автоматичний
розподіл обмеженого частотного ресурсу ретранслятора серед великої кількості
абонентів;
·
системи
масового застосування, які дозволяють при обмеженому частотному ресурсі
обслуговувати максимальну кількість абонентів.
Транкінгова
система зв’язку може бути представлена узагальненою структурною схемою
(рис.1.1), де використані наступні позначення:
–
МС -
мобільна станція (мобільний абонент);
–
БС -
базова станція (центр управління);
–
УОР -
пристрій об’єднання радіосигналів;
–
Р -
ретранслятори;
–
ЦКМС -
центр комутації мобільного зв’язку;
–
ТФОП -
телефонна мережа загального користування;
–
ДПУ -
диспетчерський пункт управління.
Рис. 1.1 Узагальнена структурна схема
транкінгової системи зв’язку
Системи
персонального радіовиклику (СПРВ), або пейджингові системи (від англійського paging - виклик), являють собою
системи мобільного радіозв’язку, які забезпечують односторонню передачу
коротких повідомлень із центру систему (терміналу персонального радіовиклику,
або пейджингового терміналу) на мініатюрні абонентські прийомники (пейджери).
В найзагальнішому
версії структурна схема СПРВ представлена на рис. 1.2, де використовуються
скорочення:
–
ТПВ -
термінал персонального виклику;
–
КСПВ -
контролер мережі персонального виклику;
–
ЦЕиО -
центр експлуатації та обслуговування;
–
БС -
базова станція;
–
АП -
абонентський прийомник.
Рис. 1.2. Узагальнена структурна схема
СПРВ
Терміном «системи
персонального супутникового зв’язку» (СПСЗ) об’єднуються різні за будовою і
орбітальною конфігурацією системи, в яких термінал користувача отримує і
передає повідомлення по радіолінії, що напряму пов’язує його з космічним
апаратом (КА). Основна роль СПСЗ у сучасному світі полягає в розповсюдженні
послуг мобільного зв’язку на ті ділянки земної поверхні, де розгортання
наземних мереж неможливе в принципі або є економічно недоцільним, тобто в
акваторіях Світового океану, в районах з малою густотою населення и т.д. Можна
сказати, що СПСЗ призначені для «глобалізації» інформаційного сервісу, так як
вільні від будь-яких обмежень, пов’язаних з географією і рельєфом регіонів, що
обслуговуються. Ділянка території радіопокриття, на якій здійснюється зв’язок у
фіксованій смузі частот, схематично зображується у вигляді правильного
шестикутника і за подібністю до бджолиних сот отримала назву соти. В результаті
СМР з територіальним рознесенням частот отримали назву сотових (стільникових)
систем мобільного зв’язку (ССМЗ). Групу сот, в межах якої відсутнє повторне
використання частотних смуг, називають кластером. Сотова топологія дозволяє
багатократно збільшити абонентську ємкість системи у порівнянні з системами
радіальної структури і охопити скільки завгодно велику зону обслуговування без
погіршення якості зв’язку і поширення виділеного частотного діапазону. Разом з
тим використання стільникового принципу побудови передбачає і ряд ускладнень,
що стосуються визначення місце розташування мобільного абонента на даний момент
і забезпечення безперервності зв’язку при переміщенні його з однієї соти в
іншу. Відповідна процедура отримала назву естафетної передачі.
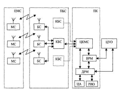
Функціональна
побудова ССМЗ проілюстрована рис. 1.3. У схемі можна умовно виділити чотири
основних компоненти: центр управління і обслуговування (ЦУО) і три підсистеми:
–
підсистема
мобільних станцій ПМС;
–
підсистема
базових станцій ПБС;
–
підсистема
комутації ПК.
Рис. 1.3 Узагальнена структурна ССМЗ
Мобільний зв’язок
третього покоління будується на основі пакетної передачі даних. Мережі третього
покоління 3G працюють на частотах
дециметрового діапазону, як правило в діапазоні близько 2 ГГц, передаючи дані
зі швидкістю до 14 Мбіт/с. Вони дозволяють організовувати відеотелефонний
зв’язок, дивитись на мобільному телефоні фільми і телепрограми і т.д.
3G включає в себе 5 стандартів
сімейства IMT-2000 (UMTS/WCDMA, CDMA2000/IMT-MC, TD-CDMA/TD-SCDMA (власний стандарт Китаю), DECT и UWC-136).
Найбільш
розповсюджені два: UMTS
(або W-CDMA) і CDMA2000
(IMT-MC), в основі яких лежить одна і та ж
технологія — CDMA (Code Division Multiple Access
— множинний доступ з кодовим розподілом). Також можливе
використання CDMA450.
Технологія
CDMA2000 забезпечує еволюційний
перехід от вузькосмугових систем з кодовим розподілом каналів IS-95 (американський стандарт цифрового
стільникового зв'язку другого покоління) до систем CDMA «третього покоління» і отримала
найбільше розповсюдження на північнопмериканському континенті, а також у
країнах Азіатсько-Тихоокеанського регіону.
Технологія
UMTS
(Universal Mobile
Telecommunications System
— універсальна система мобільного електрозв'язку) розроблена для
модернізації мереж GSM (європейського
стандарта сотільникового зв'язку другого покоління), і отримала гироке
розповсюдження не тільки в Європі, але і в багатьох інших регіонах світу.
В мережах 3G
забезпечується надання двох базових послуг: передача даних і передача голосу.
Згідно регламентів ITU (International Telecommunications Union — Міжнародний
Союз Електрозв'язку) мережі 3G повинні підтримувати наступні швидкості передачі
даних:
для абонентів
с високою мобільністю (до 120 км/год) — не менше 144 кбіт/с;
для абонентів
с низькою мобільністю (до 3 км/год) — 384 кбіт/с;
для нерухомих
об'єктів — 2,048 Мбіт/с.
Основні
тренди в мережах 3G:
переважання
трафіка data-cards (USB-модеми, ExpressCard/PCMCIA-карти для ноутбуків) над
трафіком телефонів и смартфонів 3G;
постійне
зниження ціни 1 Мб трафіка, обумовлене переходом операторів до більш сучасних і
ефективних технологій. HSDPA (англ. High-Speed Downlink Packet Access — високошвидкісна пакетна
передача даних від базової станції до мобільного телефону) — стандарт
мобільного зв’язку, розглядається спеціалістами як один з перехідних етапів
міграції до технологій мобільного зв’язку четвертого покоління (4G).
Максимальна теоретична швидкість передачі даних по стандарту складає 14,4
Мбіт/сек, практично ж швидкість, що досягається в існуючих мережах зазвичай не
перевищує 6 Мбіт/сек. До технологій, які претендують на роль 4G відносяться: WiMAX (англ. Worldwide
Interoperability for Microwave Access) — телекомунікаційна технологія,
розроблена з метою надання універсального бездротового зв’язку на великих
відстанях для широкого спектру пристроїв (від робочих станцій і портативних
комп’ютерів до мобільних телефонів). Заснована на стандарті IEEE 802.16, який
також називають Wireless MAN. Назва «WiMAX» була створена WiMAX Forum — організацією,
що була заснована в червні 2001 року з метою розвитку технології WiMAX. Форум
описує WiMAX як «засновану на стандарті технологію, що надає високошвидкісний
бездротовий доступ до мережі, альтернативний виділеним лініям і DSL». В
загальному вигляді WiMAX мережі складаються з наступних основних частин:
базових і абонентських станцій, а також обладнання, що зв’язує базові станції
між собою, з поставником сервісів і з Інтернетом. Для з’єднання базової станції
з абонентською використовується високочастотний діапазон радіохвиль від 1,5 до
11 ГГц. В ідеальних умовах швидкість може досягати 70 Мбіт/с, при цьому не
потребується забезпечення прямої видимості між базовою станцією і прийомником. WiMAX
застосовується як для вирішення проблеми «останньої милі», так і для надання
доступу в мережу офісним і районним мережам. Між базовими станціями
встановлюються з’єднання (прямої видимості), які використовують діапазон частот
від 10 до 66 ГГц, швидкість обміну даними може досягати120 Мбіт/c. При цьому,
принаймні одна базова станція підключається до мережі провайдера з
використанням класичних дротових з’єднань. Однак, чим більша кількість БС
підключена до мереж провайдера, тим вища швидкість передачі даних і надійність
мережі в цілому. Wi-Fi (англ. Wireless Fidelity — «беспроводная точность») —
стандарт на обладнання Wireless LAN. Розроблений консорціумом Wi-Fi Alliance на
базі стандартів IEEE 802.11, «Wi-Fi» — торгова марка «Wi-Fi Alliance».
Технологію назвали Wireless-Fidelity (дослівно «бездротова точність») за
аналогією Hi-Fi. На сьогодні у багатьох організаціях використовується Wi-Fi,
так як при певних умовах швидкість роботи мережі уже перевищує 100 Мбіт/сек.
Користувачі можуть переміщуватися між точками доступу по території покриття
мережі Wi-Fi. Мобільні пристрої (КПК, смартфони, PSP і ноутбуки), обладнані
клієнтськими Wi-Fi прийомно-передаючими приладами, можуть підключатися до
локальної мережі і отримувати доступ в Інтернет через точки доступу або
хот-споти. Зазвичай схема Wi-Fi мережі містить не менше однієї точки доступу і
не менше одного клієнта. Також можливе підключення двох клієнтів у режимі
точка-точка, коли точка доступу не використовується, а клієнти з’єднуються
шляхом мережевих адаптерів «напряму». Точка доступу передає свій ідентифікатор
мережі (SSID) за допомогою спеціальних сигнальних покатів на швидкості 0.1
Мбіт/с кожні 100 мс. Тому 0.1 Мбіт/с — найменша швидкість передачі даних Wi-Fi.
Знаючи SSID мережі, клієнт може вияснити, чи можливе підключення до даної точки
доступу. При потрапляння в зону дії двох точок доступу з ідентичними SSID,
приймач може обирати між ними на основі даних про рівень сигналу. Стандарт
Wi-Fi дає клієнту повну свободу при виборі критеріїв для з’єднання. Також до
стандартів четвертого покоління відносять LTE, TD-LTE,UMB. На сьогодні запущені
лише WiMAX, Wi-Fi та LTE.
Можна
зробити висновок, що на сьогодні існує декілька поколінь систем мобільного
зв’язку: 1G, 2G, 2,5G, 3G, 3,5G і навіть 4G. Найбільш поширеними з них є 3G та 3,5G, але поступово набувають
розповсюдження і стандарти останнього покоління. У зв’язку з цим поширюється і
злочинність у мережах мобільного зв’язку. Для того, щоб зрозуміти, яким чином
ці злочини здійснюються і як ним запобігти, розглянемо структуру мереж
мобільного зв’язку.
1.2 Структура
мереж мобільного зв’язку
Основні, найбільш
загальні елементи мереж зв’язку показані на рис. 1.4. Вони містять мобільні
станції (МС), базові станції (БС), центри управління і комутації (ЦК),
радіоінтерфейси (РИ)
Рис. 1.4 Елементи мереж зв’язку
Мобільні станції
використовуються подвижники абонентами, БС - стаціонарні прийомопередаваючі
станції, які забезпечують радіозв’язок з МС у певній зоні (квоті, соті,
секторі). В ЦК обирається напрямок передачі даних (комутація), здійснюється
управління БС і здійснюється доступ до зовнішніх систем.
Мобільні станції
можуть обмінюватися інформацією один з одним або через ЦК, або безпосередньо.
Використовуючи основні елементи, можні побудувати регіональні і національні
мережі (під мережі) мобільного зв’язку, структура яких у спрощеному варіанті
показана на рис. 1.5. В якості прикладу взята транкінгова мережа стандарту TETRA
Окремі мережі та
підмережі об’єднуються в єдину структуру за допомогою міжмережевих інтерфейсів
(СІ) - кабельних або радіоліній. Контролери базових станцій (КБС) виконують
функції комутації, управління БС, забезпечують доступ до зовнішніх мереж
(телефонних, передачі даних). Вони можуть підрозділяютися на головні (з розширеними
можливостями) і підлеглі (з обмеженими функціями). Підмережа може містити
власну станцію управління (СУ). Таким чином, функції управління і комутації
розподіляються по всій мережі, що забезпечує швидку передачу викликів і
збереження роботоспроможності мережі при несправностях окремого обладнання.
Рис. 1.5. Структура мережі зв’язку
Розділ 2. Здійснення
злочинів у сфері мобільного зв’язку
Незважаючи на
прийняті національні законодавства по боротьбі з кіберзлочинністю у ряді країн,
у тому числі й в Україні, її “уніфікований” склад до цих пір чітко не
визначений, оскільки як можливості технічних засобів, програмного забезпечення,
засобів телекомунікацій, так і кримінальні хитрування самих кіберзлочинців,
безперервно зростають з розвитком науково-технічного прогресу і відсталістю
правових норм протидії. На сьогодні не існує загальновизнаного визначення
поняття “мобільних злочинів”, а сам термін має переважно операційний характер.
Тільки за останні
роки кримінальне законодавство доповнено рядом норм, якими передбачена
кримінальна відповідальність за злочини, раніше невідомі чинному законодавству.
До їх числа відносяться і так звані "злочини в сфері комп'ютерної
інформації".
Уперше термін
"злочину в сфері комп'ютерної інформації " з'явився в 70-ті роки,
коли помітно зросло число кваліфікованих фахівців в області
електронно-обчислювальної техніки, здатних "проникнути" в комп'ютерні
системи і здійснити необхідні маніпуляції з даними і засобами програмування.
Загальноприйнятого
визначення злочину в сфері комп'ютерної (а зокрема, і мобільного зв’язку)
інформації в нашому законодавстві доки не існує. Частіше всього воно
трактується як злочин, об'єктом посягання якого є саме технічні засоби
(комп'ютери і периферія), - як матеріальні об'єкти, так і програмне
забезпечення і бази даних.
Є пропозиції під
визначенням злочинності в сфері комп'ютерної інформації розуміти "всі
злочинні дії, при вчиненні яких комп'ютер є знаряддям або метою їх
здійснення".
Злочини в сфері
комп'ютерної інформації умовно можна поділити на три основних групи:
злочини в сфері інформації
- майнові (комп'ютерне (мобільне) шахрайство, комп'ютерний саботаж й ін.);
злочини в сфері інформації
проти прав особистості, і, передусім, приватних осіб (несанкціоноване
копіювання втручання і перехоплення);
злочини проти
суспільних і соціальних правових цінностей (злочини, пов'язані з комп'ютерами;
заміна або пошкодження інформації).
Відповідно до
положень XVI розділу Особливої частини КК України можна дати загальне
визначення злочинів в даній сфері.Злочини у сфері комп’ютерної інформації – це
передбачене кримінальним законом винне порушення прав та інтересів стосовно
автоматизованих систем обробки даних, що зашкоджує правовій охороні прав та інтересів
фізичних і юридичних осіб, суспільства і держави. Тобто це діяння, суть якого
міститься зовсім не у використанні самої електронно-обчислювальної техніки як
засобу скоєння злочину. Цей розділ включає суспільнонебезпечні дії, які
посягають на безпеку інформації та автоматизовані системи її обробки.Наслідки
неправомірного використання інформації можуть бути різноманітними: це не тільки
порушення недоторканності інтелектуальної власності, але й розголошення
відомостей про особисте життя громадян, майнова шкода у вигляді прямих збитків
та неотриманих прибутків, втрата репутації фірми, різноманітні види порушень
нормальної діяльності підприємства, галузі і т. ін.
Аналіз диспозиції
ст. 198-1 КК України дозволяє зробити висновок, що даною нормою передбачається
кримінальна відповідальність за здійснення таких дій, як "умисне втручання
в роботу автоматизованих систем, спотворення або знищення інформації або носіїв
інформації, або розповсюдження програмних і технічних засобів, призначених для
незаконного проникнення в автоматизовані системи, і здатних спричинити
спотворення або знищення інформації або ж носіїв інформації".
Дане діяння, як
злочинне, відтворене в ст. 332 проекту Кримінального кодексу.
У ст. 333 проекту
КК як злочинні діяння передбачається "викрадення, привласнення, вимагання
комп'ютерної інформації або заволодіння нею шахрайством".
У наступній ст.
334 проекту КК злочинним вважається "порушення правил експлуатації
автоматизованих електронно-обчислювальних систем", їх систем або
комп'ютерних мереж особою, яка відповідає за їх експлуатацію, якщо це призвело
до викрадення, спотворення або знищення комп'ютерної інформації, коштів
захисту, або незаконному копіюванню комп'ютерної інформації чи істотному
порушенню роботи таких машин, їх систем або комп`ютерних мереж".
Необхідно
передбачити кримінальну відповідальність і за такі види злочинів, де для
досягнення злочинного результату використовуються переваги комп'ютерних
технологій і мереж. Наприклад, країнам Заходу вже відомі такі правопорушення як
"комп'ютерне шахрайство" (мета злочину - фінансовий прибуток або інша
вигода; результат - спричинення потерпілому економічного збитку);
"комп'ютерна підробка" (підробка за допомогою ЕОМ електронного
серійного номера стільникових або мобільних телефонів, магнітних розрахункових
карток, різного роду документів ); "Телефонне шахрайство" (
несанкціонований доступ з використанням комп'ютера і мережі до
телекомунікаційних послуг з метою уникнути розрахунків за переговори, в окремих
випадках - щоб уникнути підслуховування ).
Так, незаконне
перехоплення за допомогою технічних пристроїв і коштів зв'язку даних, які
знаходяться в комп'ютерній системі, або прямують до неї або з неї, вважаємо
можна кваліфікувати за ст.ст. 131, 148-6 КК.
Випадки
шахрайства з платіжними коштами і системами реєстрації платежів, довершені з
незаконним входженням в телекомунікаційні лінії - за ст.ст. 83, 143 КК.
Несанкціоноване
копіювання, розповсюдження або публікація комп'ютерних ігор, програмного
забезпечення - по ст. 136 КК, що передбачає порушення авторського права.
Незаконне
привласнення або розголошування, передача або використання комерційної таємниці
з використанням комп'ютерної техніки з метою заподіяти економічного збитку або
отримати незаконної економічної вигоди - ст. 148-6 КК.
Практика свідчить,
що для правопорушень в сфері комп'ютерної інформації показовий високий рівень
прихованої злочинності. За відомостями зарубіжних джерел, приблизно 80-90%
злочинів цього виду залишаються невідомими для правоохоронних органів.
За даними ДСБЕЗ
МВС України, частка виявлених злочинів у сфері високих технологій у 2005 році
складає 0,14 % від загальної кількості виявлених злочинів економічної
спрямованості, що свідчить – при великозбитковості та високому рівні небезпеки,
яку викликають злочини, вчинювані у сфері використання комп’ютерної інформації,
– про вкрай низьку ефективність проведення дізнання та досудового слідства по
злочинах цієї категорії, відсутність кваліфікованих фахівців (спеціалістів) у
даній галузі, про нерозуміння на вищому державному рівні всіх проблем, що
виникають внаслідок злочинної діяльності у цій сфері, сумнозвісну
правозастосовчу практику, коли реалії розвитку криміналітету випереджають
розробку ефективних механізмів протидії.Офіційна статистика не дає можливості
одержати достовірні дані щодо кримінологічної характеристики злочинів, що
вчинюються у сфері використання інформаційних технологій, динаміки й структури
таких злочинів. Це відбувається як через її недосконалість, так й через високу
латентність таких видів злочинів. Дана тенденція спостерігається не тільки в
Україні. За кордоном, де накопичена чимала й достовірна статистика
кіберзлочинів, до суду доходять справи про менш ніж 1 % порушень. При цьому
слід пам’ятати, що, за твердженням фахівців, ревізія в змозі виявити не більше 10
% електронних розкрадань. За даними Департаменту інформаційних технологій МВС
України у 2002 році із загальної кількості виявлених злочинів – 25 розслідувано
було всього 15, п’ять справ зупинено на підставі п. 3 ст. 206 КПК України. 2003
рік: 66 – виявлено, розкрито – 45, зупинено – 19 справ. 2004 рік: виявлено –
52, розслідувано – 38, зупинено – 16. 2005 рік: виявлено – 60, розслідувано –
31, зупинено – 33 справи. Таким чином, кількість нерозкритих справ з
Управлінням організації дізнання на основі даних ДІТ МВС України проведено
аналіз фактів протиправних заволодінь індивідуальним майном громадян.
Установлено, що в середньому по Україні у 65% випадків таких заволодінь
предметом злочину є мобільні телефони. Станом на перше півріччя 2007 року за
матеріалами попередніх перевірок ЖРЗПЗ по Україні викрадено 56540 мобільних
телефонів, з них поставлено на облік 46483, разом з цим розшукано лише чверть
викрадених мобільних телефонів. Це свідчить про те, що у підпорядкованих
підрозділах дізнавачі та оперативні працівники приділяють недостатню увагу
розкриттю злочинів невеликої та середньої тяжкості ( основна маса діянь
пов'язаних із незаконними заволодіннями мобільними телефонами відноситься до
цієї категорії злочинів).
На сьогодні існує
широка законодавча база, що регламентує мобільний зв’язок. Зокрема, серед таких
правових норм є:
Конституция
України
Закон України
„Про телекомунікації”
Закон України
„Про радіочастотний ресурс України”
Закон України
„Про телебачення і радіомовлення”
Закон України
„Про ліцензування певних видів господарської діяльності”
Закон України
„Про Національну раду України з питань телебачення і радіомовлення”
Закон України
„Про Національну систему конфіденційного звязку”
Закон України
„Про ратифікацію Статуту і Конвенції Міжнародного союзу електрозв’язку”
Закон України
„Про інформацію”
Закон України
„Про захист інформації в інформаційно-телекомунікаційних системах”
Закон України
„Про ратифікацію Конвенції про кіберзлочинність”
Закон України
„Про електронні документи та електронний документообіг”
Закон України
"Про електронний цифровий підпис"
Закон України
„Про стандартизацію”
Закон України
„Про метрологію та метрологічну діяльність”
Закон України
„Про підтвердження відповідності”
Закон України
„Про акредитацію органів з оцінки відповідності”
Закон України
„Про стандарти, технічні регламенти та процедури оцінки відповідності’
Кодекс України
"Об административных правонарушениях"
Закон України
„Про звернення громадян”
Закон України
„Про захист прав споживачів”.
Але загалом злочини
у сфері стільникового телефонного зв’язку можуть бути об’єднані у дві основні
групи:
· злочини проти компанії стільникового
зв’язку (переадресація дзвінків, шахрайство з абонементом, перепрограмування,
клонування);
· злочини, які посягають на
інтереси користувачів стільникового телефонного зв’язку (несанкціонований
перехват інформації, крадіжка мобільних телефонів стільникового зв’язку,
незаконне використання втрачених і вкрадених мобільних телефонних апаратів).
2.1 Злочини
проти компаній стільникового зв’язку
Існує декілька
типових схем здійснення злочинних посягань даного виду. Розглянемо їх більш
детально.
1. Переадресація
викликів. Злочинець стає клієнтом компанії мобільного зв’язку, купує телефон, а
потім дає рекламу в газету про надання послуг дешевого зв’язку з будь-якою
країною світу. Клієнт, що з ним зв’язався, називає номер, з яким він хоче
зв’язатися. Потім шахрай кладе свою трубку, встановлює переадресацію на
вказаний номер і зв’язок здійснюється в обхід по транку через комутатор. При
цьому номер злочинця не зайнятий і може використовуватися знову. Таким чином
можна одночасно обслужити багато міжнародних викликів, отримати за них гроші і
зникнути.
2. Шахрайство з
абонементом. Дана злочинна схема включає наступні стадії:
а) злочинець
абонує стільниковий зв’язок на ім’я іншої особи без відому останньої.
б) злочинець
використовує телефон в операціях по «торгівлі телефонними дзвінками», тобто
пропонує своїм клієнтам анонімно дзвонити в будь-яку точку світу за низьким
тарифом;
г) компанії стільникового
зв’язку вимушені відшкодовувати компаніям міжміського зв’язку вартість таких
дзвінків
3.
Перепрограмування. Дана схема передбачає виконання наступних основних операцій:
а) злочинець
купує стільниковий телефонний апарат законним способом і замінює мікросхему або
нелегально купує телефон з уже перепрограмованим програмним запам’ятовуючим
пристроєм (ПЗП);
б) за допомогою
перепрограмованого апарату злочинець отримує доступ до комутаційного
устаткування телефонних компаній, і його виклики обробляються, як і будь-які
інші, з тою лише різницею, що надати по ним рахунок нікому;
в) оскільки
компанія стільникового зв’язку не може встановити особу клієнта, вона вимушена
оплатити рахунки по вартості міжміського зв’язку таких викликів. Якщо така
махінація проведена на високому рівні, даний тип шахрайства неможливо
відслідкувати або запобігти йому.
4. Клонування.
Клонування засноване на тому, що абонент використовує чужий ідентифікаційний
номер (а, отже - і рахунок) і корисливих інтересах. При використанні даного
способу використовується наступна послідовність дій:
а) злочинець
перехоплює ідентифікуючий сигнал чужого телефону і виділяє з нього
ідентифікаційні номери MIN і ESN. Потенційний злочинець може
перехватити цю електронну інформацію за допомогою радіо сканера, або так
званого стільникового кеш-боксу, що представляє собою комбінацію сканера,
комп’ютера і стільникового телефону. Він легко виявляє і запам’ятовує номера MIN та ESN і автоматично перепрограмовує себе
на них. Використавши пару MIN/ESN один раз, він стирає її з пам’яті і
обирає іншу. Такий апарат робить виявлення шахрайства практично неможливим. Не
дивлячись на те, що ця апаратура на Заході поки що є рідкісною і дорогою, вона
вже існує і являє зростаючу небезпеку для користувачів мобільного зв’язку.
б) злочинець
перепрограмовує свій телефон так, щоб користуватися електронним серійним
номером і телефонним номером цього абонента. Перепрограмування здійснюється
шляхом перенесення інформації за допомогою комп’ютера на мікросхему, яка
вставляється в мобільний телефон. Таким телефоном можна користуватися до тих
пір, поки несанкціоновані виклики не будуть виявлені. Вартість розмови з цього
апарату заноситься на рахунок того абоненту, у якого ці номери були вкрадені.
в) довівши, що
такі виклик були здійснені не ним, абонент може опротестувати рахунки і
добитися їх скасування. В таких випадках компанія мобільного зв’язку повинна
оплатити міжміську частину таких викликів. Злочинець же виходить на номер
будь-якого іншого абонента і знову повертається до свого незаконного бізнесу.
Крадіжка номерів
здійснюється, як правило, в ділових районах і в місцях скупчення великої
кількості людей: шосе, дорожні пробки, парки, аеропорти - з допомогою дуже
легкого, малогабаритного автоматичного устаткування. Обравши зручне місце і
ввімкнувши апаратуру, шахрай може за короткий проміжок часу наповнити пам’ять
свого пристрою великою кількістю номерів. Наприклад, у великих містах Заходу,
частіше всього в аеропортах, працюють шахраї, які, клонувавши ESN-номер чийогось мобільного телефону,
надають за плату можливість іншим людям дзвонити з цього телефону у віддалені
країни за рахунок того, чий номер викрали.
Серед злочинів
проти інтересів користувачів персональним сотовим телефонним зв’язком найбільш небезпечним
є несанкціоноване перехоплення інформації, який здійснюється з різноманітними
цілями, серед яких одна з найбільш значущих - шпіонаж.
2.2 Несанкціоноване
перехоплення інформації
На сьогоднішній день
електронне перехоплення розмов, що ведуться по мобільному телефону, стало
широко розповсюдженим явищем. Так, наприклад, в Канаді, по статистичним даним,
від 20% до 80% радіообміну, що ведеться за допомогою мобільних телефонів,
випадково чи навмисно прослуховується сторонніми особами.
Електронне
перехоплення мобільного зв’язку не тільки легко здійснити, воно, до того ж, не
потребує великих затрат на апаратуру, і його майже неможливо виявити. Мобільні стільникові
телефони, особливо аналогові, є найуразливішими апаратами з точки зору захисту
інформації, яка передається.
Принцип передачі
інформації такими пристроями заснований на випромінювання в ефір радіосигналу,
тому будь-яка людини, налаштувавши відповідний радіоприйомний пристрій на ту ж
частоту, може почути кожне ваше слово. Для цього навіть не потрібно мати
особливо складну апаратуру. Розмова, що ведеться зі стільникового телефону,
може бути прослухана за допомогою програмуючих сканерів зі смугою прийому 30
КГц, здатних здійснювати пошук в діапазоні 860-890 МГц. Для цієї ж мети можна
використовувати і звичайні сканери після їх невеликої модифікації, яка детально
описана в Інтернеті. Перехопити розмову можна навіть шляхом повільної
перебудови УКВ-тюнера в телевізорах старої моделі у верхній смузі телевізійних
каналів (від 67 до 69), а іноді і за допомогою звичайного радіотюнера. Нарешті,
таке перехоплення можна здійснити за допомогою персонального комп’ютера
Використовуваний
у цифрових стільникових телефонах алгоритм шифрування Cellular Message Encryption Algorithm (СМЕА) може бути зламаний
досвідченим спеціалістом на протязі декількох хвилин за допомогою персонального
комп’ютера. Цифрові коди, що набираються на клавіатурі цифрового стільникового
телефону (телефонні номери, номери кредитних карт чи персональні
ідентифікаційні номера PIN) можуть бути легко перехоплені з допомогою цифрового сканеру.
Отже, можемо
зробити висновок, що всі злочини у сфері мобільного зв’язку поділяються на
злочини проти компанії стільникового зв’язку та злочини, що посягають на права
та інтереси власне користувача. Існує чимало видів та способів мобільного
шахрайства, що здійснюються за допомогою різноманітних засобів. І тому
зменшуються шанси вчасно засікти спроби чи фактичного здійснення шахрайства. У
зв’язку з цим були створені різноманітні методи запобігання злочинам у сфері
мобільного зв’язку.
Розділ 3. Запобігання
злочинам у сфері мобільного зв’язку
В
силу свободи доступи до радіефіру системи бездротового зв’язку потенційно
уразливі для різного роду зловмисників у плані як перехоплення повідомлення з
подальшим несанкціонованим використанням чужої інформації, так і спроб обману
мережі та абонентів. Тому стандарти систем мобільного зв’язку передбачають
різноманітні механізми захисту інтересів законних користувачів і самої мережі
від подібних дій. До таких механізмів відносяться шифрування даних та процедури
аутентифікації.
3.1
Шифрування даних
Шифрування
полягає в перетворенні вихідного, відкритого тексту в криптограму (шифротекст)
за деякими правилами (алгоритмом шифрування) з метою приховати зміст
повідомлення. Деякі параметри цього алгоритму, які називаються ключем
шифрування, відомі тільки законним абонентам і невідомі (секретні) для
зловмисників. Законний користувач легко може здійснити зворотнє перетворення
шифровки у вихідний текст, а суб’єкт, який намагається несанкціоновано отримати
відкритий текст, буде вимушений вгадувати значення ключа. Багато систем
шифрування поділяють на симетричні, одноключеві, та асиметричні, двоключеві,
або системи з відкритим ключем.
В
класичних симетричних системах для шифрування і розшифрування використовується
один і той же ключ. В асиметричних системах для отримання шифрограми
використовується відкритий, відомий всім (і зловмиснику) ключ, а для отримання
за шифровкою вихідного тексту - інший, секретний, відомий тільки законному
одержувачу повідомлення. Між цими ключами існує зв’язок, який забезпечує
правильну розшифровку, але який не дозволяє визначити секретний ключ по
відкритому. Розглянемо принципи побудови названих систем шифрування.
Структурна
схема симетричної системи шифрування показана на рис. 3.1.
На
передаваючому боці вихідний текст Х=(Х1,Х2…) за допомогою відомого алгоритму і
секретного ключа Z=(Z1,Z2…) перетворюється в шифрограму Y=(Y1,Y2…). Зазвичай компонентами цих
послідовностей є
біти. На прийомному боці за відомими компонентами Y` та Z відновлюється вихідний текст Х’.



Алгоритм шифрування




Х Y Y` X`


Z X Z

Z`
Рис.
3.1 Структурна
схема секретного зв’язку
Аналітик,
перехопивши шифрограму, намагається зрозуміти вихідний текст або визначити ключ
шифрування. Крім того, він може вставити в систему власну, фальшиву криптограму
з метою обману абонента Б. Таким чином, система шифрування повинна забезпечити
не тільки секретність зв’язку, але й захист від несанкціонованої зміни, підміни
повідомлення Х
З
цієї схеми видно, що для оперативної доставки ключа шифрування на прийомну
сторону повинен бути передбачений спеціальний, захищений канал. Виникає
завдання розподілу ключів між користувачами або завдання управління ключами.
При великій кількості абонентів, що бажають встановити секретний зв’язок,
розподіл ключів стає серйозною проблемою при використанні симетричних систем
шифрування. Вирішення цього завдання і стимулювало розробку асиметричних
методів шифрування.
Загальний
підхід до побудови практично стійких шифрів полягає в численному застосуванні
простих методів шифрування шляхом підстановки (заміни) і перестановки символів
вихідного тексту, а також скремблювання.
Метод
підстановки полягає в тому, що символ вихідного тексту заміняється іншим,
вибраним з того чи іншого алфавіту по правилу, що задається ключем шифрування.
Місцезнаходження символу в тексті при цьому не змінюється.
При
перестановці у відповідності з ключем змінюється порядок послідовності символів
відкритого тексту. Значення символу при цьому зберігається. Шифри перестановки
є блочними, тобто вихідний текст попередньо розбивається на блоки, в яких і
здійснюється задана ключем перестановка.
Під
скремблюванням мається на увазі процес накладення на коди символів відкритого
тексту кодів випадкової послідовності чисел, яку називають також гаммою (за
назвою букви грецького алфавіту, яка використовується в математичних формулах
для позначення випадкового процесу). Гаммування відноситься до поточних методів
шифрування, коли наступні один за одним символи відкритого тексту послідовно
перетворюються в символи шифрограми, що підвищує швидкість перетворення.
В
системах мобільного зв’язку загального користування для шифрування
використовуються алгоритми, передбачені відповідними специфікаціям (стандартний
рівень секретності). В корпоративних системах допускається використання своїх,
оригінальних шифрів (підвищений рівень секретності).
В
асиметричних системах шифрування кожен абонент має два пов’язаних між собою
ключа: відкритий і секретний. При необхідності встановлення секретного зв’язку
абоненти обмінюються відкритими ключами по незахищеним каналам і, відповідно,
відкриті ключі можуть бути відомі всім користувачам (і зловмиснику). Секретний
ключ зберігається абонентом у таємниці. Визначення секретного ключа по
відкритому практично неможливе, так як вимагає непорівнюваних з цінністю
отримуваної інформації розрахункових затрат.
В
асиметричних системах немає потреби розподіляти ключі шифрування. Тому
вважаються перспективними гібридні системи, в яких асиметрична система служить
для розподілу сеансових ключів, а шифрування даних виконується за допомогою
симетричної системи.
3.2
Аутентифікація
Під
аутентифікацією розуміється процедура встановлення справжності якогось об’єкта.
Розрізняють аутентифікацію повідомлення, абонента, приладу, масивів даних.
Пояснимо принципи побудови цих процедур.
Метою
аутентифікації повідомлення є підтвердження або відмова від наступних
припущень:
·
повідомлення
йде від законного абонента;
·
повідомлення
при передачі не змінилося;
·
повідомлення
доставлене за потрібною адресою;
·
послідовність
прийнятих повідомлень відповідає послідовності відправлених.
Перевірка
справжності особливо важлива для шифрограм, так як у одержувача вони викликають
більше довіри, ніж відкритий текст. Методи аутентифікації розробляються з
припущення, що встановлення справжності проводиться виключно по самому
повідомленню без залучення зовнішніх засобів. Розглянута процедура
аутентифікації передбачає наявність довіри між абонентами, які обмінюються
інформацією, тобто захищає від обману з боку зовнішнього порушника. В житті
існує багато ситуацій, коли довіра між абонентами відсутня (обмін електронними
документами між комерційними організаціями, між клієнтом і банком і т.д.). В
цьому разі можливий обман з боку законних абонентів. Наприклад, відправник
абонент А може згодом відмовитися від свого повідомлення, одержувач може
змінити (підмінити) отриманий документ і стверджувати потім, що в такому
вигляді його прислав абонент А. Прогнози розвитку систем мобільного зв’язку
показують, що найбільших успіхів варто очікувати у сфері електронної комерції.
Передбачається, що за допомогою мобільного телефону можна буде здійснювати всі
можливі банківські операції. В цих умовах стає важливим завдання захисту від
можливого обману законними абонентами. Для аутентифікації повідомлень за відсутності
довіри використовується електронний підпис. Його призначення аналогічне
функціям ручного підпису на паперових документах. Але приналежність ручного
підпису даному тексту забезпечується цілісністю паперу, на якому написаний
документ і поставлений підпис. В електронному вигляді єдність документу і
підпису, що йому відповіщається, досягається за рахунок введення зв’язку між
текстом і видом підпису.
Призначенням
аутентифікації абонента є встановлення справжності абонента, який претендує на
послуги зв’язку. Для цього розроблені криптографічні протоколи, в результаті
виконання яких законні користувачі досягають своїх цілей.
Найпоширенішим
методом аутентифікації є використання паролів - секретній послідовності
символів (букв і/або цифр). При спробі доступу до приладу абонент вводить свій
пароль, який порівнюється з тим, який зберігається в пам’яті приладу і
приписаним даному абоненту. Доступ дозволяється тільки в разі співпадання. Так,
в стандарті GSM пароль, так званий PIN код, слугує для активізації МС. Трьохкратний
неправильний ввід PIN коду
блокує SIM карту і робота даної МС
забороняється.
Парольна
аутентифікація володіє достатньо хорошою стійкістю за умови використання
достатньо довгого, випадкового пароля, а також, якщо передбачений захист від
перехоплення пароля при його введенні і від несанкціонованого зчитування його з
пам’яті приладу. Так як МС при вводі PIN коду знаходиться в руці абонента, можна вважати, що ці
вимоги виконуються.
Для
віддалених приладів використовуються більш складні протоколи, які захищають від
можливого перехоплення сигналів, що передаються. Вони реалізують принцип доказу
з нульовим знанням або з нульовим розголошенням. Абонент (МС) не пред’являє
перевіряючому (ЦКМС) власний секрет, а тільки демонструє, що ним володіє.
Зазвичай абоненту пропонується вирахувати значення якоїсь функції і повідомити
його перевіряючому, який також здатний провести подібні розрахунки. Порівняння
цих значень дозволяє встановити справжність абонента.
На
рис. 3.2 наведена спрощена схема аутентифікації МС в стільниковій системі
стандарту GSM. При надходженні від МС
запиту ЦКМС передає у відповідь випадкове число RAND. За алгоритмом А3 з допомогою
секретного числа К1,, отриманого МС при реєстрації і яке
зберігається в SIM,
абонент вираховує відгук SPES та повідомляє
його ЦКМС. Центр
комутації незалежно вираховує SPES` порівнює його з прийнятим по
радіоканалу. При їх співпаданні МС посилає сигнал підтвердження про здійснену
аутентифікацію. При неспівпадінні - сигнал про те, що розпізнання не відбулося.
Рис.
3.2. Спрощена
схема аутентифікації МС
Отже,
можна зробити висновок, що для захисту інформації чи взагалі запобігання
здійснення злочинів у сфері мобільного зв’язку створені дієві механізми,
найвідомішими з яких є шифрування та аутентифікація. Саме вони є найбільш
поширеними на сьогодні.
Висновок
Стратегічною
метою розвитку сучасних загальнодоступних телекомунікацій є надання
високоякісного зв’язку будь-якому користувачу в будь-який час в будь-якій точці
земної кулі. У зв’язку з цим Міжнародною організацією по стандартизації
розроблена концепція глобальної мережі зв’язку загального користування. Під
мережею розуміються численні системи, які взаємодіють один з одним, що
здійснюються зберігання, обробку і передачу різноманітної інформації. Найбільш
поширеною є система мобільного зв’язку, яка стрімко розвивається, адже вже на
сьогодні існує декілька видів систем мобільного зв’язку. Серед них найбільш
поширеними є 3G -системи, 3,5G - системи, а останнім часом
з’являються і набувають поширення стандарти 4G- систем.
У
зв’язку з цим збільшується можливість стати жертвою посягань зловмисників та
шахраїв, які застосовують різноманітні засоби для досягнення власних цілей. В
Україні створена широка законодавча база, яка регламентує мобільний зв’язок.
Відповідальність же за здійснення мобільних злочинів передбачена Кримінальним
та Кримінально-процесуальним кодексами Україні та іншими законами і
підзаконними актами України. Проте, незважаючи на це з’являється все більше
різновидів злочинів у сфері мобільного зв’язку, які загалом можна об’єднати у
дві групи: злочини проти компанії стільникового зв’язку та злочини проти
абонента. Серед них відомі переадресація викликів, шахрайство з абонентом,
несанкціоноване перехоплення інформації та ін. Статистика свідчить, що з кожним
роком кількість злочинів у сфері комп’ютерної інформації (а, отже і мобільного
зв’язку) збільшується.
Тому
актуальним є створення механізмів захисту від посягань злочинців і
вдосконалення систем захисту інформації. Найпоширенішими з них є шифрування
даних та аутентифікація (повідомлень та абонента). Вони допомагають абоненту
впевненіше почуватися, коли він користується послугами мобільного зв’язку.
Отже,
насамкінець можна сказати, що новітні технології є як корисними, так і можуть
принести шкоду. Думаю, кожен погодиться, що однією з характерних рис
представника початку ХХІ століття є мобільний телефон. Він може бути не тільки
засобом зв’язку, помічником у діловому та повсякденному житті, але й засобом
здійснення злочинів. Цьому сприяють технологічні особливості систем мобільного
зв’язку, які і були розглянуті в даній роботі. Таким чином, маємо бути
пильними, тим паче, що способи запобігання злочинності у сфері мобільного
зв’язку є на сьогодні достатньо доступними.
Список
використаної літератури