Автомобильные датчики

  • Вид работы:
    Реферат
  • Предмет:
    Детали машин
  • Язык:
    Русский
    ,
    Формат файла:
    MS Word
    1,21 Mb
  • Опубликовано:
    2010-07-05
Вы можете узнать стоимость помощи в написании студенческой работы.
Помощь в написании работы, которую точно примут!

Автомобильные датчики



МОСКОВСКИЙ ГОСУДАРСТВЕННЫЙ ТЕХНИЧЕСКИЙ

УНИВЕРСИТЕТ «МАМИ»






Кафедра   физики







Реферат

Автомобильные датчики










                                                   Выполнил Танин Е.С.  

                                        Группа 2-УИ-6    

                                                                                Научный руководитель Безделкин В.В.          

                                                                                                                                          

 

 

 

 

 

Москва   2008 г.

Содержание:

1)   Введение……………………………………………………………3

2)   Понятие датчика………………….…….………………………….3

3)   Общие свойства автомобильных датчиков……………………....7

4)   Существующие автомобильные датчики:………………………10

Ø Термобиметаллические датчики………………………..10

Ø Датчик оборотов коленчатого вала и BMT (CPS)……..11

Ø Датчики электрических приборов……………………...13

Ø Указатели автомобильных информационных измерительных систем…………………………………..18

Ø Термометры………………………………………………22

Ø Измерители давления……………………………………22

Ø Измерители уровня топлива…………………………….23

Ø Измерители зарядного режима аккумуляторной батареи……………………………………………………24

Ø Спидометры и тахометры……………………………….25

Ø Тахографы………………………………………………..27

Ø Электронные информационные системы………………27

 5) Автомобильные охранные системы и электронные сервисные комплексы……………………………………………………………..28

Ø Общие сведения об автомобильных сигнализациях…..28

Ø Основные режимы работы………………………………28

Ø Сервисные системы…………………………………...…29

Ø Датчики……………...……………………………………29

Ø Автомобильные пейджеры………………………...……33

Ø Электронные датчики…………………………………....33

Ø Датчики объема…………………………………………..34

Ø Датчики заднего хода……………………………………34

Ø Антирадары………………………………………………35

Ø Пейджерные противоугонные системы………………...36

6) Новинки автомобильных датчиков:………………………………37

Ø Датчик аварии DA-01……………………………………37

Ø Датчик перемещения AG-2 Luxe………………………..38

Ø Парктроник……………………………………………….39

Ø Новый аккумуляторный датчик от Bosch………………40

Ø Новые датчики давления в шинах от Motorola………...41

Ø Композитная заслонка от Bosch………………………...41

7) Список использованной литературы…………………………..….42

 

1)Введение:

   За последние годы в технике измерения и регулирования параметров различных процессов всё более и более возрастает роль отрасли изготовления и применения датчиков. Эта отрасль, постоянно развиваясь, служит основой создания разнообразных вариантов систем автоматического регулирования.

   Такое развитие обусловлено прежде всего гигантским прогрессом микроэлектроники. Широкий спектр применений микро-ЭВМ в бытовой технике, автомобилестроении и других областях промышленности всё в большей мере требует недорогих датчиков, выпускаемых крупными сериями. Как следствие этого появляются новые интересные и в то же время недорогие устройства на датчиках.

   Постоянное совершенствование автомобилей является важнейшим фактором в развитии экономики нашей страны. Современный автомобиль состоит из большого количества механических узлов, которые достаточно совершенны. Поэтому в последнее время наметилась тенденция к усложнению и развитию электрического и электронного оборудования автомобилей, стоимость которого в современных грузовых автомобилях зачастую превышает 30% от общей стоимости.

   Одной из важнейших проблем современного автотранспортного предприятия является быстрое и качественное выявление неисправностей у автомобилей. При эксплуатации автомобиля могут возникать скрытые неисправности внешне не чем себя не проявляющие, но, будучи незамеченными, они могут привести к серьезным поломкам, а, следовательно, к дорогостоящему ремонту.

   Кроме того, профилактическая диагностика позволяет предприятию экономить значительные средства за счет выявления неисправностей и своевременного их устранения, что сокращает время простоя в ремонте, а, следовательно, позволяет снизить трудозатраты и стоимость ремонта.

   Появление полупроводниковых приборов, интегральных микросхем, миниатюрных микро-ЭВМ позволяет быстро и качественно обнаруживать возникающие неисправности и устранять их как в процессе эксплуатации автомобиля, так и в процессе его подготовки к работе.

   По вопросам решения этих задач, применения полученных результатов имеются многочисленые научные публикации отечественных и зарубежных ученых, выполнено большое число исследований как в Российской Федерации, так и за рубежем. Основополагающие научные результаты по теории и принципам построения систем диагностирования получены в государственном научно-исследовательском институте автомобильного транспорта ( НИИАТ ), во Владимирском государственном университете и других научных учреждениях, занимающихся исследованиями в области диагностики.

   Исследования показали, что для диагностирования тех или иных параметров автомобиля необходимы в первую очередь надежные, высокоточные датчики. При этом принятия решений по различным параметрам должны осуществляться сразу по нескольким признакам, характеризующим по их совокупности состояния той или иной системы в целом.

2)Понятие датчика:

   Человек глазами воспринимает форму, размеры и цвет окружающих предметов, ушами слышит звуки, носом чувствует запахи. Обычно говорят о пяти видах ощущений, связанных со зрением, слухом, обонянием, вкусом и осязанием. Для формирования ощущений человеку необходимо внешнее раздражение определенных органов - "датчиков чувств". Для различных видов ощущений роль датчиков играют определенные органы чувств:

Зрение......Глаза

Слух........Уши

Вкус........Язык

Обоняние....Нос

Осязание....Кожа

   Однако, для получения ощущения одних только органов чувств недостаточно. Например, при зрительном ощущении совсем не значит, что человек видит только благодаря глазам. Общеизвестно, что через глаза раздражения от внешней среды в виде сигналов по нервным волокнам передаются в головной мозг и уже в нем формируется ощущение большого и малого, черного и белого и т.д. Эта общая схема возникновения ощущения относится также к слуху, обонянию и другим видам ощущения, т.е. фактически внешние раздражения как нечто сладкое или горькое, тихое или громкое оцениваются головным мозгом, которому необходимы датчики, реагирующие на эти раздражения.

   Аналогичная система формируется и в автоматике. Процесс управления заключается в приеме информации о состоянии объекта управления, ее контроле и обработке центральным устройством и выдачи им управляющих сигналов на исполнительные устройства. Для приема информации служат датчики неэлектрических величин. Таким образом, контролируется температура, механические перемещения, наличие или отсутствие предметов, давление, расходы жидкостей и газов, скорость вращения и т.п.

Принцип действия и классификация

   Датчики информируют о состоянии внешней среды путем взаимодействия с ней и преобразования реакции на это взаимодействие в электрические сигналы. Существует множество явлений и эффектов, видов преобразования свойств и энергии, которые можно использовать для создания датчиков. В табл. 1 приведен сравнительно скромный перечень.

   При классификации датчиков в качестве основы часто используется принцип их действия, который, в свою очередь, может базироваться на физических или химических явлениях и свойствах.

Основные виды:

   Температурные датчикия. С температурой мы сталкиваемся ежедневно, и это наиболее знакомая нам физическая величина.

   Среди прочих датчиков температурные отличаются особенно большим разнообразием типов и являются одним из самых распространненых.

   Стеклянный термометр со столбиком ртути известен с давних времен и широко используется в наши дни. Терморезисторы сопротивления которых изменяется под влиянием температуры, используются довольно часто в разнообразных устройствах благодаря сравнительно малой стоимости датчиков данного типа. Существует три вида терморезисторов: с отрицательной характеристикой (их сопротивление уменьшается с повышением температуры), С положительной характеристикой (с повышением температуры сопротивление увеличивается) и с критичной характеристикой (сопротивление увеличивается при пороговом значении температуры). Обычно сопротивление под влиянием температуры изменяется довольно резко. Для расширения линейного участка этого изменения параллельно и последовательно терморезистору присоединяются резисторы.

   Термочувствительные диоды и тиристоры относятся к полупроводниковым датчикам, в которых используется температурная зависимость проводимости p-n-перехода (обычно на кристалле кремния). В последнее время практическое применение нашли так называемые интегральные температурные датчики, представляющие собой термочувствительный диод на одном кристалле с периферийными схемами, например усилителем и др.

   Оптические датчикия. Подобно температурным оптические датчики от личаются большим разнообразием и массовостью применения. Как видно из табл. 3, по принципу оптико-электрического преобразования эти датчики можно разделить на четыре типа: на основе эффектов фотоэлектронной эмиссии, фотопроводимости, фотогальванического и пироэлектрических.

   Фотогальваническая эмиссия, или внешний фотоэффект, - это испускание электронов при падении света физическое тело. Для вылета электронов из физического тела им необходимо преодолеть энергетический барьер. Поскольку энергия фотоэлектронов пропорциональна hc/л (где h - постоянная Планка, с - скорость света, л - длина волны света), то, чем короче длина волны облучающего света, тем больше энергия электронов и легче преодоление ими указанного барьера.

Эффект фотопроводимости, или внутренний фотоэффект, - это изменение электрического сопротивления физического тела при облучении его светом. Среди материалов, обладающих эффектом фотопроводимости, - ZnS, CdS, GaAs, Ge, PbS и др. Максимум спектральной чувствительности CdS приходится приблизительно на свет с длиной волны 500-550 нм, что соответствует приблизительно середине зоны чувствительности человеческого зрения. Оптические датчики, работающие на эффекте фотопроводимости, рекомендуется использовать в экспонометрах фото- и кинокамер, в автоматических выключателях и регуляторах света, обнаружителях пламени и др. Недостаток этих датчиков - замедленная реакция (50 мс и более).

Фотогальванический эффект заключается в возникновении ЭДС на выводах p-n-перехода в облучаемом светом полупроводнике. Под воздействием света внутри p-n-перехода появляются свободные электроны и дырки и генерируется ЭДС. Типичные датчики, работающие по этому принципу, - фотодиоды, фототранзисторы. Такой же принцип действия имеет оптико-электрическая часть двухмерных твердотельных датчиков изображения, например датчиков на приборах с зарядовой связью (ПЗС-датчиков). В качестве материала подложки для фотогальванических датчиков чаще всего используется кремний. Сравнительно высокая скорость отклика и большая чувствительность в диапазоне от ближней инфракрасной (ИК) зоны до видимого света обеспечивает этим датчакам широкую сферу применения.

   Пироэлектрические эффекты - это явления, при которых на поверхности физического тела вследствие изменений поверхностного температурного "рельефа" возникают электрические заряды, соответствующие этим изменениям. Среди материалов, обладающих подобными свойствами: и множество других так нызываемых пироэлектрических материалов. В корпус датчика встроен полевой транзистор, позволяющий преобразовывать высокое полное сопротивление пиротехнического элемента с его оптимальными электрическими зарядами в более низкое и оптимальное выходное сопротивление датчика. Из датчиков этого типа наиболее часто используются ИК-датчики.

   Среди оптических датчиков мало найдется таких, которые обладали бы достаточной чувствительностью во всем световом диапазоне. Большинство датчиков имеет оптимальную чувствительность в довольно узкой зоне ультрафиолетовой, или видимой, или инфракрасной части спектра.

Основные преимущества перед датчиками других типов:

1. Возмож ность бесконтактного обнаружения.

2. Возможность (при соот ветствующей оптике) измерения объектов как с чрезвычайно большими, так и с необычайно малыми раз мерами.

3. Высокая скорость отклика.

4. Удобство применения интегральной технологии (оптические датчики, как правило, твердотельные и полупроводниковые),

обеспечивающей малые размеры и большой срок службы.

5. Обширная сфера использования: измерение различных физических величин, определение формы, распознавания объектов и т.д.

   Наряду с преимуществами оптические датчики обладают и некоторыми недостатками, а именно чувствительны к загрязнению, подвержены влиянию постороннего света, светового фона, а также температуры (при полупроводниковой основе).

   Датчики давления. В датчиках давления всегда испытывается боль шая потребность, и они находят весьма широкое применение. Принцип регистрации давления служит основой для многих других типов датчиков, например датчиков массы, положения, уровня и расхода жидкости и др. В подавляющем большинстве случаев индикация давления осуществляется благодаря деформации упругих тел, например диафрагмы, трубки Прудона, гофрированной мембраны. Такие датчики имеют достаточную прочность, малую стоимость, но в них затруднено получение электрических сигналов. Потенциалометрические (реостатные), емкостные, индукционные, магнитнострикционные, ультразвуковые датчики давления имеют на выходе электрический сигнал, но сравнительно сложны в изготовлении.

   В настоящее время в качестве датчиков давления все шире используются тензометры. Особенно перспективными представляются полкпроводниковые тензометры диффузионного типа. Диффузионные тензометры на кремниевой подложке обладают высокой чувствительностью, малыми размерами и легко интегрируются с периферийными схемами. Путем травления по тонкопленочной технологии на поверхности кристалла кремния с n-продимостью формируется круглая диафрагма. На краях диафрагмы методом диффузии наносятся пленочные резисторы, имеющие p-проводимость. Если к диафрагме прикладывается давление, то сопротивление одних резисторов увеличивается, а других - уменьшается. Выходной сигнал датчика формируется с помощью мостовой схемы, в которою входят эти резисторы.

   Полупроводниковые датчики давления диффузионного типа, подобные вышеописанному, широко используются в автомобильной электронике, во всевозможных компрессорах. Основные проблемы - это температурная зависимость, неустойчивость к внешней среде и срок службы.

   Датчики влажности и газовые анализаторы

Влажность - физический параметр, с которым, как и с температурой, человек сталкивается с самых древних времен; однако надежных датчиков не было в течение длительного периода. Чаще всего для подобных датчиков использовались человеческий или конский волос, удлиняющиеся или укорачивающиеся при изменении влажности. В настоящее время для определения влажности используется полимерная пленка, покрытая хлористым литием, набухающим от влаги. Однако датчики на этой основе обладают гистерезисом, нестабильностью характеристик во времени и узким диапазоном измерения. Более современными являются датчики, в которых используются керамика и твердые электролиты. В них устранены вышеперечисленные недостатки. Одна из сфер применения датчиков влажности - разнообразные регуляторы атмосферы.

   Газовые датчики широко используются на производственных предприятиях для обнаружения разного рода вредных газов, а в домашних помещениях - для обнаружения утечки горючего газа. Во многих случаях требуется обнаруживать определенные виды газа и желательно иметь газовые датчики, обладающие избирательной характеристикой относительно газовой среды. Однако реакция на другие газовые компоненты затрудняет создание избирательных газовых датчиков, обладающих высокой чувствительностью и надежностью. Газовые датчики могут быть выполнены на основе МОП-транзисторов, гальванических элементов, твердых электролитов с использованием явлений катализа, интерференции, поглощения инфракрасных лучей и т.д. Для регистрации утечки бытового газа, например сжиженного природного или горючего газа типа пропан, используется главным образом полупроводниковая керамика, в частности, или устройства, работающие по принципу каталитического горения.

   При использовании датчиков газа и влажности для регистрации состояния различных сред, в том числе и агрессивных, часто возникает проблема долговечности.

   Магнитные датчикия. Главной особеностью магнитных датчиков, как и оптических, является быстродействие и возможность обнаружения и измерения бесконтактным способом, но в отличие от оптических этот вид датчиков не чувствителен к загрязнению. Однако в силу характера магнитных явлений эффективная работа этих датчиков в значительной мере зависит от такого параметра, как расстояние, и обычно для магнитных датчиков необходима достаточная близость к воздействующему магнитному полю.

   Среди магнитных датчиков хорошо известны датчики Холла. В настоящее время они применяются в качестве дискретных элементов, но быстро расширяется применение элементов Холла в виде ИС, выполненных на кремниевой подложке. Подобные ИС наилучшим образом отвечают современным требованиям к датчикам.

Магниторезистивные полупроводниковые элементы имеют давнюю историю развития. Сейчас снова оживились исследования и разработки магниторезистивных датчиков, в которых используется ферромагнетики. Недостатком этих датчиков является узкий динамический диапазон обнаруживаемых изменений магнитного поля. Однако высокая чувствительность, а также возможность создания многоэлементных датчиков в виде ИС путем напыления, т. е. технологичность их производства, составляют несомненные преимущества.

3) Общие свойства автомобильных датчиков.

   На датчик могут одновременно воздействовать различные физические величины (давление, температура, влажность, вибрация, ядерная реакция, магнитные и электрические поля и т. д.), но воспринимать он должен только одну величину, называемую естественной величиной .

   На рисунке 1 показано устройство воспринимающей системы. Датчик возвращает некую величину , зависящую от , которая затем поступает на предварительную обработку.

Рис. 1. Устройство воспринимающей системы с получением, обработкой и преобразованием сигнала:  - первичный процесс,  - вторичный процесс,  - измерительный мост, Amp – усилитель.

   Функциональную зависимость выходной величины  датчика от естественной измеряемой величины  в статических условиях, выраженную аналитически, таблично или графически, называют статической характеристикой датчика.

   Статическая чувствительность представляет собой отношение малых приращений выходной величины к соответствующим малым приращениям входной величины в статических условиях. По определению, статическая чувствительность равна  или, переходя к пределу, будем иметь

.

   Это соотношение является постоянным, когда выходная величина (выходной сигнал) представляет собой линейную функцию входной величины (выходного сигнала). Если имеется нелинейная функция, то должны быть указаны точки, к которым относится данная чувствительность. В некоторых случаях чувствительность может быть представлена в виде наклона секущей между двумя характеристическими точками статической нелинейной характеристики.

   Понятие статической чувствительности аналогично понятию коэффициента усиления; градиента; коэффициента чувствительности.

   Чувствительность датчика – это, как правило, именованная величина с разнообразной размерностью, зависящей от природы входной и выходной величин.

   Понятие чувствительности можно распространить на динамические условия работы. При этом под чувствительностью подразумевают отношение скорости изменения выходного сигнала к соответствующей скорости изменения входного сигнала:

.

   В случае периодических, в частности синусоидальных, сигналов чувствительность может быть определена как отношение амплитуд выхода и входа.

   Под порогом чувствительности датчика понимают минимальное изменение измеряемой величины (входного сигнала), вызывающее изменение входного сигнала.    Наиболее характерным показателем качества датчика является полный диапазон датчика, выражаемый отношением

,

где  - естественный предел измерения;  - порог чувствительности датчика.

   Для каждого типа датчиков существует практически достижимый предел величины , определяемый принципом действия и характеристиками чувствительного элемента.

   Гистерезисом называют неоднозначность хода статической характеристики датчика при увеличении и уменьшении входной величины.

   Для упругих элементов (мембраны, пружины и т. д.) в понятие гистерезис также включают понятие упругое последействие.

   Гистерезис относится в общем случае к случайным погрешностям, так как его величина определяется не только значениями входной величины, но и временными характеристиками работы датчика. Гистерезис выражается в процентах

,

где  - изменение выходной величины в рабочих пределах.

   Гистерезис возникает в датчиках из-за внутреннего трения в упругих элементах, трения в подвижных элементах, ползучести (например, в наклеиваемых тензодатчиках), магнитного гистерезиса и т. п.

   Основной погрешностью датчика является максимальная разность между действительным значением выходного сигнала и его величиной, соответствующей истинному значению входного параметра. Эта разность определяется по статической характеристике датчика при нормальных условиях и обычно относится к разности предельных значений выходной величины:

.

   Нормальными условиями эксплуатации датчика являются: температура окружающей среды ; атмосферное давление Па/мм рт. ст.; относительная влажность окружающего воздуха ; отсутствие вибрации и полей, кроме гравитационного.

   Дополнительные погрешности датчика – это погрешности, вызываемые изменением внешних условий по сравнению с нормальными. Они выражаются в процентах, отнесённых к изменению неизмеряемого параметра (например, температурная погрешность  на  и т. д.).

   Первичной погрешностью датчика называют отклонение его параметра от расчётного значения:

,

где  - первичная погрешность параметра ;  - расчётное значение параметра ;  - индекс (номер) преобразователя;  - индекс (номер) параметра.

   Первичная погрешность  датчика вызывает отклонение выходной величины  от её расчётного значения при заданном значении входной величины . Это отклонение принято называть частной погрешностью датчика:

;

.

   Суммарная погрешность датчика определяется как сумма частных погрешностей. Способ суммирования определяется природой первичных погрешностей.

   При систематических первичных погрешностях частная погрешность датчика определяется по зависимости

.

   Если первичные погрешности случайные, то предельное значение погрешности датчика можно определить квадратичным суммированием предельных значений частных погрешностей:

.

   Практическая оценка погрешности измерений различных физических параметров часто усложняется большим числом одновременно действующих независимых факторов, вызывающих частные погрешности.

 

4) Существующие автомобильные датчики:

Ø Термобиметаллические датчики.

   Термометры применяются для контроля теплового режима двигателя, а также (на некоторых автомобилях) для контроля теплового состояния аккумуляторной батареи, системы смазки, гидравлической трансмиссии, отопителя и т.п. В настоящее время для замера величин температуры на автомобилях устанавливаются системы с магнитоэлектрическим логометром и терморезистивным датчиком. Приборы указывают температуру охлаждающей двигатель жидкости, температуру масла или температуру электролита аккумуляторной батареи.

   Приборы, контролирующие температуру двигателя, работают с датчиками ТМ 100, А, В или ТМ 106. Модификации датчиков ТМ 100, А, В, не отличаются по выходным параметрам и обеспечивают величину сопротивления при температуре +40°С - 400-530 Ом, при +100°С - 80-95 Ом. Датчик ТМ 106, устанавливаемый на автомобили ВАЗ, обеспечивает величину сопротивления при +30°С - 1350-1880 Ом, при +90°С-155-196 Ом.

   Замер температуры электролита осуществляется датчиком 11.3842 с величиной сопротивления при нулевой температуре в пределах 210-370 Ом.

   Логометрические указатели потребляют ток до 0,25 А (У К 193 - 0,1 А). На автомобилях ВАЗ-21083, -21093, оборудованных микропроцессорной системой, в качестве датчика температуры установлена интегральная микросхема 19.3828 с диапазоном измерения температуры -40...+125°С и потреблением тока 0,001 А.

   Термобиметаллические датчики используются в системе аварийных сигнализаторов температуры.

   Температура размыкания контактов на 10°С ниже температуры их замыкания

Ø Датчик оборотов коленчатого вала и BMT (CPS):

Внешний вид датчика:


 

 

 

Расположение датчика в автомобиле:


Принцип работы

   Датчик посылает сигналы, свидетельствующие о скорости вращения коленчатого вала, положении поршней в SBEC. SBEC конвертирует эти сигналы о скорости изменения угла поворота коленчатого вала и угле поворота коленчатого вала в скорость вращения в оборотах за минуту и положение поршней, соответственно. Датчик обнаруживает верхнюю мертвую точку (ВМТ), нижнюю мертвую точку (НМТ), обороты двигателя путем пересчета зубцов маховика, которые проходят под датчиком.

   SBEC генерирует выходной сигнал для тахометра, основываясь на показаниях датчика положения коленвала.

Датчик имеет внутри электромагнит, который генерирует выходное напряжение, когда зубец маховика проходит через его магнитное поле.

Схема синхрогизации сигналов

Кликните для увеличения

Ø Датчики электрических приборов:

1) Реостатные датчики:

   Реостатные датчики применяются там, где в электрической части измерительной системы используется для замеров метод сопротивлений. По этому методу величина сопротивления на выходе реостата изменяется в связи с изменением физической величины. По своей сути реостатный датчик является датчиком перемещения (рис. 9.1) - сопротивление на выходе реостатного датчика изменяется с перемещением его ползунка в соответствии с выражением

   где R0- начальное значение сопротивления на выходе датчика;

   J - крутизна изменения сопротивления.

   Чем выше крутизна J, тем чувствительнее датчик, однако слишком большая величина чувствительности связана с ростом общего сопротивления датчика и, следовательно, с протеканием по нему малых значений силы тока, которые трудно измерить достаточно грубым и дешевым автомобильным измерителем.

   Ранее реостатные датчики выполнялись исключительно намоткой провода с высоким удельным сопротивлением (нихром, константан) на каркас (рис. 5.1, а). Однако такое исполнение датчика приводит к наличию на его выходе зоны нечувствительности при перемещении ползунка в пределах диаметра провода.

Поэтому последние реостатные датчики выполняются намазными из проводящих паст на подложке (рис. 5.1, б). Реостатный датчик может быть выполнен не обязательно с изменением выходного сопротивления по линейному закону, нелинейность обеспечивается созданием соответствующего профиля проводящей дорожки.

   Обычно реостатный датчик совмещают с датчиком, превращающим измеряемую величину в перемещение ползунка. Например, мембрана датчика давления перемещает ползунок, и на выходе совмещенного датчика возникает электрический сигнал в соответствии с измеряемым давлением. Недостатком реостатного датчика является возникновение в нем дополнительной погрешности при изменении температуры окружающей среды.



               2) Терморезистивные датчики:

   Чувствительным элементом терморезистивного датчика является полупроводниковое термосопротивление, отличительная особенность которого состоит в том, что изменение температуры вызывает значительное изменение его сопротивления. Конкретная связь температуры и сопротивления зависит от материала и размеров чувствительного элемента, поэтому величина сопротивления при заданной температуре имеет довольно широкий разброс. На рис. 9.2, б, представлена зависимость сопротивления от температуры терморсзистивного датчика ТМ100А, а на рис. 9.2, а - его конструктивное исполнение. Терморезистивный датчик выполняется в виде латунного баллона с резьбой и шестигранником под ключ для ввертывания в место измерения.

"Таблетку" терморезистора прижимает к основанию баллона пружина, осуществляющая одновременно подвод напряжения к "таблетке". Пружина изолируется от стенок баллона изоляционной втулкой, конец ее соединен с выводом датчика. Внутренняя полость баллона герметизирована, что делает конструкцию датчика неразборной.

        3) Термобиметаллические датчики:

   Термобиметаллические датчики применяются как в сигнализирующих, так и указывающих приборах импульсной системы.

   Основной частью термобиметаллического датчика является тонкая двухслойная пластинка (термопара), выполненная из двух слоев металлов с разными значениями температурного коэффициента линейного расширения, соединенных методом плакирования. Активный слой имеет больший коэффициент линейного расширения и выполняется обычно из инвара, пассивный, с меньшим коэффициентом линейного расширения - из хромоникелевой или молибденевой стали. При нагреве биметаллическая пластинка прогибается в сторону пассивного слоя тем сильнее, чем больше температура окружающей среды. При этом может замыкаться или размыкаться контактная пара, подвижный контакт, которой закреплен на конце пластины. Устройство термобиметаллических датчиков представлено на рис. 5.4, а, б и в.

   Датчики допускают регулировку температуры включения винтом перемещения неподвижных контактов. Термобиметаллический датчик указывающих приборов снабжен нагревательной спиралью, включенной последовательно с контактами датчика (рис. 9.3, в). Включение датчика зависит от суммарной температуры окружающей среды и развиваемой нагреваемой спиралью, т.е. от величины силы тока, протекаемого в спирали. Такие датчики применяются только с указателями импульсной системы.

 

        4) Датчики давления:

   Обязательным элементом датчика давления является мембрана - плоская или гофрированная пластина, выполненная из бронзы или какого-либо иного упругого материала, жестко зажатая по краям. Герметичная полость, расположенная под мембраной, должна соединяться через штуцер с полостью измерения давления. В большинстве случаев мембрану снабжают жестким центром, на котором укрепляют устройство, связывающее мембрану с передающим механизмом. С изменением давления мембрана прогибается и ее жесткий центр перемещается. Связь перемещения жесткого центра П с величиной измеряемого давления Р, как показано на рис. 9.4, а, нелинейна, причем гофрированная мембрана при прочих равных условиях более чувствительна к изменению давления, чем плоская. Отличие датчиков давления друг от друга в основном состоит в том, как в них перемещение жесткого центра преобразуется в электрический сигнал. Это зависит от системы измерения, в которой используется датчик. На рис. 5.5, б, изображен датчик давления масла, снабженный реостатным датчиком. Толкатель, закрепленный в жестком центре мембраны, через качалку воздействует на ползунок реостата, который при этом поворачивается вокруг своей оси.

Возвратное движение ползунка происходит под действием пружины. Дроссель, запрессованный в штуцер датчика, создает большое сопротивление протеканию масла и препятствует возникновению колебаний ползунка реостата при резком изменении давления. Ползунок соединен с массой датчика, и изменение сопротивления реостата происходит между его выводом и “массой”.

В датчике импульсной системы (рис. 5.5, в) на жесткий центр мембраны опирается выступом упругая пластина с контактом, соединенным с “массой”. Другой контакт закреплен на плече П-образной биметаллической пластины, с навитой на нем спиралью, один конец спирали приварен к пластине, другой соединен через упругий токовод с выводом датчика.

   Второе плечо П-образной биметаллической пластины закреплено на упругом держателе, положение которого можно изменить поворотом воздействующего на него регулятора. Это позволяет осуществлять настройку датчика, изменяя первоначальное усилие прижатия контактов друг к другу. Изменение давления перемещает жесткий центр мембраны, при этом меняется усилие прижатия контактов друг к другу и соответственно изменяется относительное время нахождения их в замкнутом состоянии.

   Датчик сигнализатора аварийного давления (рис. 5.5, г) имеет простую конструкцию. На жесткий центр мембраны опирается рычаг выключателя, который и замыкает контакты, если давление превышает заданные пределы или, в зависимости от назначения датчика, если давление падает ниже допустимых пределов.

        5) Датчики электронных информационных систем:

   Применение электроники позволяет расширить класс датчиков, используемых в информационных системах.

   Для замера температуры нашли применение термопары, которые представляют собой соединение двух разнородных металлических проводников, главным образом, медь и константан, хромель-алюмель, хромель-копель. Величина ЭДС между концами проводов, образующих термопару, зависит от разности температур этих концов и температуры спая. Величина ЭДС, развиваемая термопарой, зависит только от температуры и материалов проводников, составляющих термопару. Зависимость ЭДС от температуры, например, в термопарах хромель-копель, хромель-алюмель, стандартизирована. Поскольку термопара является маломощным источником ЭДС, точность ее показаний может быть обеспечена только в комплекте с высокоомным приемником, практически не потребляющим тока во входной цепи. Для замера температуры применяются также кремниевые и интегральные датчики.

   Зависимость сопротивления кремниевой пластинки Rt от температуры t довольно точно описывается зависимостью:

 

где R25 - сопротивление пластинки при 25 °С;

a и b - температурные коэффициенты;

a = 0,78*10-2 град-1 ; b = 1,84*10-5 град-1.

   Таким образом, изменение сопротивления кремниевого датчика от температуры нелинейно.

   В интегральном датчике в качестве измеряемой величины используется напряжение перехода база-эмиттер кремниевого транзистора, которое в значительной мере зависит от температуры. Ток, протекающий через измерительный переход, стабилизируется электронным устройством. Обычно в датчик встраивается схема, усиливающая величину сигнала. Кремниевые датчики используются и для замера давления. Путем травления по тонкопленочной технологии на поверхности кристалла кремния формируется круглая диафрагма, на которую методом диффузии наносятся пленочные резисторы. Если к диафрагме прикладывается давление, сопротивление одних резисторов увеличивается, других уменьшается, что и формирует с помощью мостовой схемы сигнал с датчика. Температурная зависимость сигнала таких датчиков требует компенсации.

   Для измерения уровня топлива в баках применяется терморезистивный датчик. Ток через датчик стабилизируется. Сопротивление датчика, а следовательно, и напряжение на его выходе зависит от того, какая часть датчика находится в воздухе, а какая погружена в топливо, так как теплопроводность воздуха и топлива различны. Похожим способом измеряется уровень топлива по величине емкости между двумя электродами, помещенными в бак. Емкость изменяется по мере выработки топлива, так как диэлектрическая проницаемость воздуха и топлива различны. Однако такой способ замера требует подвода к датчику переменного напряжения.

   Датчиком частоты вращения в электронных системах служит обычно система зажигания, частота следования импульсов которой связана с частотой вращения коленчатого вала двигателя. В информационных системах используются также индуктивные датчики или датчики Холла, подобные применяемым в системе зажигания.

Ø Указатели автомобильных информационных измерительных систем:

   Обычно на автомобилях применяются указатели трех систем - магнитоэлектрической, электромагнитной и импульсной.

        1) Магнитоэлектрические указатели:

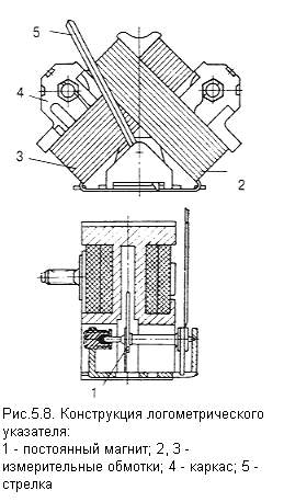
   В качестве магнитоэлектрических указателей на автомобилях наиболее распространены трехобмоточные логометры. Логометр имеет две обмотки L1 и L2, расположенные соосно, но намотанные встречно. Третья обмотка L3 перпендикулярна первым двум (рис. 5.6, а). Применение трех обмоток позволяет повысить точность логометра, так как расширяет возможности его шкалы до 120-160 градусов.

   Рядом с обмотками располагается постоянный магнит, способный поворачиваться на своей оси, он устанавливается в направлении действия суммарной магнитодвижущей силы всех трех обмоток. Магнит соединен со стрелкой прибора.

Величина силы тока I2 в обмотках L2 и L3 постоянна, сила тока I1 в обмотке L1 изменяется с изменением сопротивления датчика Rд. Магнитодвижущие силы (МДС) обмоток F1, F2 и F3 равны произведению сил тока соответствующих обмоток на число витков обмоток. МДС по вертикальнрй оси Fy создается только обмоткой L3 Fy= F3; МДС по горизонтальной оси Fx определяется разностью МДС F1 и F2, так как эти обмотки включены встречно Fx = F1 – F2. МДС F, по направлению которой устанавливается постоянный магнит, равна геометрической сумме Fy и Fx. На рис. 5.6, б представлена векторная диаграмма МДС для случаев, когда МДС F1 больше F2 (сопротивление датчика Rд мало, ток I1 велик) и F2 больше F1 (велико значение Rд и мало значение I1). По векторным диаграммам видно, что суммарная МДС поворачивается относительно горизонтальной оси в зависимости от величины сопротивления датчика влево или вправо, т.е. угол поворота магнита и связанной с ним стрелки прибора стремится к 180°. Все более находят распространение логометры с переключением обмоток электронной схемой, позволяющим расширить шкалу прибора почти до 360°.

   К особым достоинствам логометра следует отнести независимость его показаний от величины напряжения питания, так как с ростом напряжения, например, токи всех обмоток, и следовательно, и их МДС возрастают пропорционально, так что суммарная МДС остается прежней.

Сопротивление температурной компенсации Rт выполняется из провода с малым температурным коэффициентом сопротивления (константан, манганин), оно практически не меняется с изменением температуры, и поскольку его величина значительно превышает суммарную величину сопротивления обмоток L2 и L3, ток и, следовательно, МДС этих обмоток становятся мало зависимы от температуры. Если обмотки выполнены из провода, сопротивление которого мало реагирует на температуру, то Rт отсутствует. На рис. 5.8 представлена конструкция логометра. Магнит может поворачиваться вокруг своей оси, на корпус которой закреплена стрелка. Обмотки намотаны на пластмассовый каркас магнита. Рис. 5.8 Конструкция логометрического уканый экран предотвращает, влияние внешних полей на показания прибора.

   Возврат стрелки в нулевое положение при отключении прибора происходит за счет силы притяжения магнита к небольшому неподвижному магниту, встроенному в нижнюю половину каркаса.

   Кроме логометров, на автомобилях особенно в качестве вольтметров и амперметров, используются общепромышленные конструкции магнитоэлектрических указателей с неподвижной катушкой, воздействующей на поворотный магнит, соединенный со стрелкой или неподвижным магнитом и поворотной катушкой.

        2)Электромагнитные указатели:

   В электромагнитных указателях поворотный якорек из магнитомягкого материала; соединенный со стрелкой, притягивается двумя расположенными под углом катушками (рис. 9.7). Если МДС катушек одинаковы, силы воздействия на него обеих катушек уравновешиваются. При изменении сопротивления датчика Rд, например, в сторону уменьшения, сила тока в катушке 1 увеличивается, а в катушке 3 уменьшается и якорек со стрелкой поворачивается в сторону большей силы притяжения, т.е. к катушке 1, при увеличении сопротивления датчика поворот происходит в обратную сторону. Уравновешивание действия магнитных сил на якорек и возврат стрелки в нулевое положение осуществляется под действием противовеса, которым снабжен якорек. Это накладывает определенные требования по положению электромагнитных указателей на приборном щитке.

   Конструкция прибора содержит, кроме катушек, якорька, шкалы, стрелки и ряда конструктивных элементов, магнитопровод катушек в виде полюсных наконечников для подведения магнитного потока катушек к якорьку.

   Указатели импульсной системы могут использоваться только с термоэлектрическими датчиками и составляют в комплекте с ними единую импульсную систему.

   На рис. 5.10, а, представлена конструкция указателя импульсной системы. Его основу составляет П-образная биметаллическая пластина, на одной ножке которой, соединенной со стрелкой, расположена нагревательная спираль, другая ножка закреплена на регулировочном секторе. При регулировке прибора сектор с закрепленным на нем концом биметаллической пластины перемещают с помощью зубьев. Второй регулировочный сектор с упругой пластиной, создающей шарнирную опору стрелки, также при регулировке может перемещаться с помощью зубьев. Соединенное с ним плечо П-образной пластины является термокомпенсационным, при изменении температуры воздуха, окружающего указатель, изгиб этого плеча компенсирует возникающий по этой же причине изгиб плеча, соединенного со стрелкой. Спираль указателя и термобиметаллического датчика включены последовательно (рис. 5.10, б). До включения прибора стрелка указателя находится в положении вне пределов градуированной шкалы прибора. Это является отличительным признаком импульсной системы. После включения прибора ток начинает протекать в общей цепи спиралей датчика и указателя, нагревая биметаллические элементы. Биметалл датчика изгибается, при этом размыкаются и его контакты, ток в общей цепи пропадает. Время нахождения контактов датчика в разомкнутом состоянии Тр зависит от температуры окружающей

среды, на которую и призван реагировать датчик термометра, и от давления на контакты, оказываемое извне, что характерно для измерителей давления. После остывания биметаллической пластины контакты замыкаются на время Тз и ток вновь начинает протекать в общей цепи датчика и указателя, нагревая биметаллические элементы.

   Таким образом, действующее значение силы тока в спирали, нагревающей биметалл указателя, зависит от относительного времени нахождения контактов датчика в замкнутом состоянии:

   где Io - сила тока в общей цепи при замкнутых контактах.

   Чем больше температура измеряемой среды или меньше давление на контакты, тем меньше время нахождения контактов в замкнутом состоянии, меньше величина силы тока, протекающего через спираль указателя, биметалл указателя нагревается меньше, меньше деформируется и меньше отклоняется стрелка от ее положения при выключенном состоянии прибора. Соответствующим образом градуируется шкала указателя.

   Точность импульсных приборов невелика, однако их отличает достаточно простое устройство и, соответственно, невысокая стоимость. В различных автомобильных контрольно-измерительных приборах используется та или иная система из приведенных выше.

Ø Термометры:

   Термометры применяются для контроля теплового режима двигателя, а также (на некоторых автомобилях) для контроля теплового состояния аккумуляторной батареи, системы смазки, гидравлической трансмиссии, отопителя и т.п. В настоящее время для замера величин температуры на автомобилях устанавливаются системы с магнитоэлектрическим логометром и терморезистивным датчиком. Приборы указывают температуру охлаждающей двигатель жидкости, температуру масла или температуру электролита    аккумуляторной батареи.

   Приборы, контролирующие температуру двигателя, работают с датчиками ТМ 100, А, В или ТМ 106. Модификации датчиков ТМ 100, А, В, не отличаются по выходным параметрам и обеспечивают величину сопротивления при температуре +40°С - 400-530 Ом, при +100°С - 80-95 Ом. Датчик ТМ 106, устанавливаемый на автомобили ВАЗ, обеспечивает величину сопротивления при +30°С - 1350-1880 Ом, при +90°С-155-196 Ом.

   Замер температуры электролита осуществляется датчиком 11.3842 с величиной сопротивления при нулевой температуре в пределах 210-370 Ом. Схемы термометров, применяемых на автомобиле, представлены на рис. 5.11, а и б.

Логометрические указатели потребляют ток до 0,25 А (У К 193 - 0,1 А). На автомобилях ВАЗ-21083, -21093, оборудованных микропроцессорной системой, в качестве датчика температуры установлена интегральная микросхема 19.3828 с диапазоном измерения температуры -40...+125°С и потреблением тока 0,001 А.

Термобиметаллические датчики используются в системе аварийных сигнализаторов температуры. Схема их включения представлена на рис. 5.11, в.

   Температура размыкания контактов на 10°С ниже температуры их замыкания.

Ø Измерители давления:

   Измерители давления применяются для определения давления в системе смазки, пневмосистеме тормозов, системе централизованной подкачки шин. В них используются магнитоэлектрические логометрические указатели давления с мембранными датчиками и реостатным выходом или указателями и датчиками импульсной системы. Последние на современных автомобилях применяются редко. Схема манометра с реостатным датчиком представлена на рис. 5.12, а. Сопротивление Rп включается в системах на бортовое напряжение 24 В для гашения напряжения.

   Датчики сигнализаторов аварийного давления мембранного типа включаются последовательно в цепь контрольной лампы или звукового сигнала по схеме рис. 5.12, б.

Ø Измерители уровня топлива:

   В измерителях уровня топлива используется реостатный датчик, помещенный в топливный бак (рис. 5.13). С выработкой топлива поплавок перемещается и через рычаг воздействует на ползунок реостата, который соответственно меняет свое положение. Если автомобиль имеет два бака, то датчики помещают в каждый бак, при этом водитель с помощью переключателя может определить уровень топлива в каждом баке. Специальные контакты, установленные в некоторых типах датчиков, замыкаются при снижении уровня топлива до минимального уровня, позволяющего проехать ограниченное расстояние. Контакты включают контрольную лампу на щитке приборов, т.е. образуют сигнализирующий прибор выработки топлива. В указателях уровня топлива используются магнитоэлектрические приборы (логометры) или, реже, электромагнитные указатели. Электромагнитные указатели соединяются с датчиком по схеме на рис. 5.9, магнитоэлектрические - по схемам на рис. 5.13. Схема на рис. 5.13, б, характерна для системы 24 В, поэтому имеет добавочный резистор Re, гасящий напряжение. Сопротивление Rт - термокомпенсационное, Rд - сопротивление датчика, HL - лампа контроля минимального уровня топлива.

   Электромагнитные указатели используются с датчиками на максимальное сопротивление 60 Ом, магнитоэлектрические - на 90 Ом или 350 Ом (в основном, на автомобилях ВАЗ).



Ø Измерители зарядного режима аккумуляторной батареи:

   Зарядный режим батареи определяется напряжением, которое создает на ее выводах система электроснабжения, силой тока, который батарея способна при этом принять. Поэтому в качестве измерителей зарядного режима аккумуляторной батареи используются амперметры, вольтметры и индикаторы заряда аккумуляторной батареи: Последние фактически контролируют работоспособность генераторной установки. Их включение в схему и принцип действия подробно рассмотрена в главе 2. Амперметры на современных моделях отечественных и, зарубежных автомобилей не устанавливаются, так как последовательное включение их в цепь батареи создает дополнительное падение напряжения в этой цепи, что неблагоприятно сказывается на зарядном режиме.

   Конструкции амперметра и вольтметра аналогичны - это приборы магнитоэлектрической системы, в которых измеряемая величина подводится к обмотке, магнитный поток которой воздействует на постоянный магнит. Конструкция может выполняться с подвижным магнитом, связанным со стрелкой или подвижной катушкой. Основное отличие амперметра от вольтметра состоит в том, что измерительная катушка амперметра подключена к шунту, установленному в приборе или вне его, по которому протекает измеряемый ток, измерительная же цепь вольтметра включается непосредственно в место измерения напряжения.

   Шкала вольтметра в двенадцативольтовой системе электрооборудования имеет пределы от 8 до 16 В и снабжена разноцветными секторами, красным (напряжение 8-11 В, батарея не заряжается), белым (11-12 В, батарея недозаряжается), зеленым (12-15 В, заряд батареи и работа генераторной установки нормальный), красным (15-16 В, перезаряд батареи, неисправна генераторная установка).

   В двадцатичетырехвольтовой системе электрооборудования указанные выше цифры удваиваются. Вольтметр, как правило, встраивается в комбинацию приборов.

В 12-вольтовой системе используются вольтметры 16.3812 (ВАЗ - 2108, -2109), 21.3812 (ЗИЛ-433420). Промышленность выпускает большое количество индикаторов уровня зарядного напряжения, включаемых обычно в гнездо прикуривателя, световая индикация которых соответствует цветным уровням шкалы вольтметра.


Ø Спидометры и тахометры:

   Спидометры дают водителю информацию о скорости движения автомобиля и о пройденном пути. Соответственно спидометр состоит из двух узлов - скоростного (собственно спидометра) и счетного узла, который иногда называют одометром, указывающего пробег автомобиля. Привод спидометра осуществляется гибким валом, если длина приводного троса не превышает 3,55 м, или с помощью электрического синхронного привода. Скоростной узел спидометра, преобразующий частоту вращения его входного вала в перемещение стрелки, принципиально устроен одинаково у всех типов спидометра. Основу его составляет постоянный магнит, закрепленный на входном валу, и катушка, охватывающая магнит и выполненная из электропроводящего материала, чаще всего алюминия, соединенная со стрелкой. При вращении магнита его силовые линии пересекают тело катушки, в которой наводятся при этом вихревые токи, тем больше, чем больше скорость вращения магнита. Сила взаимодействия магнитного потока магнита и вихревых токов увлекает, катушку в сторону вращения магнита, так же, как это происходит с ротором асинхронного двигателя. Однако, катушка может только поворачиваться, так как ее вращению препятствует упругая пружина, уравновешивающая действие магнитных сил. Угол поворота катушки и связанной с ней стрелки зависит от величины, магнитного потока магнита, материала катушки, упругих свойств пружины и частоты вращения приводного вала спидометра, -пропорциональной скорости движения автомобиля. Поскольку все эти параметры, кроме скорости автомобиля, являются неизменными, стрелка прибора указывает значение скорости на шкале. Магнитный экран, охватывающий катушку снаружи, служит своеобразным магнитопроводом и усиливает магнитный поток в зоне расположения катушки: Температурная погрешность спидометра компенсируется с помощью магнитного термошунта, прижатого к магниту. С ростом температуры сопротивление катушки возрастает, но одновременно снижается магнитная проницаемость термошунта, часть магнитного потока, замыкающегося через него, уменьшается, возрастает магнитный поток, пронизывающий катушку.

   Регулировка спидометра осуществляется в заводских условиях при его изготовлении изменением натяжения пружины и частичным размагничиванием магнита. Относительная погрешность спидометра при нормальных условиях не превышает 5%, нагрев на каждые 10°С увеличивает или уменьшает, погрешность на 2%. Счетный узел спидометра приводится во вращение от входного вала через червячную передачу, промежуточный, вал и его, червячные передачи. Счетный узел состоит из набора цилиндрических барабанчиков свободно, установленных на общей оси, на их цилиндрической поверхности нанесены цифры от 0 до 999999.

Конструкция спидометра с электроприводом представлена на рис. 5.14, а. Его устройство отличается тем, что приводной вал спидометра вращается электродвигателем, получающим питание от датчика рис. 5.14, б, выполненного в виде синхронного генератора, возбуждаемого постоянным магнитом.

Соединение между датчиком, и электродвигателем может происходить через электронный усилитель, как показано на рис. 5.14.

   Электронные спидометры 45.3802 автомобилей ВАЗ-2110 и автомобилей ГАЗ-3110 получают сигналы от датчика Холла, расположенного на коробке передач. Электронная схема преобразует сигналы в напряжение, пропорциональное скорости движения автомобиля. В соответствии с международными стандартами датчик вырабатывает 8 тысяч импульсов за 1 км пути.

Основные параметры некоторых типов спидометров представлены в табл. 9.6.

Спидометры с электрическим приводом работают в комплекте с датчиками МЭ307, 20.3843.

   Электрические тахометры имеют скоростной узел, аналогичный узлу спидометра. Тахометры с электроприводом используют те же датчики, что и спидометры, и ту же схёму управления. Однако последнее время более широкое распространение получили электронные тахометры. Шкала тахометра имеет цветовые сектора: зелёный - допустимая частота, красный - опасный для двигателя режим.

Датчиком для электронного тахометра является первичная цепь системы зажигания, откуда на тахометр поступают импульсы, частота следования которых пропорциональна частоте вращения двигателя. Схема электронного тахометра представлена на рис. 9.14. На входе тахометра установлен формирователь импульсов на резисторах R1, R2 и конденсаторах С1-С4, диоде VD1, который преобразует входной колебательный импульс в сигнал положительной полуволны, запускающий одностабильный мультивибратор на транзисторах VT1, VT2, который формирует сигналы прямоугольной формы постоянной величины и длительности, следующие друг за другом с частотой входного сигнала, приходящего на магнитоэлектрический измерительный прибор PV, чем .выше частота следования импульсов, тем больше среднее значение тока, протекающего через прибор, что и фиксируется в виде его показаний по шкале, отградуированной в частоты вращения коленчатого вала двигателя. Терморезистор R3 осуществляет термокомпенсацию в приборе, стабилитрон VD3 защищает его от всплесков напряжения по цепи питания. Датчиком тахометра может служить и вывод фазы вентильного генератора.

Ø Тахографы:

   Тахографы устанавливаются в соответствии с рекомендациями Европейской экономической комиссии на автомобилях, совершающих дальние междугородние и международные рейсы. Цель – установления тахографа - контроль за режимом работы автомобиля и его водителя, объективное расследование обстоятельств в случае возникновения дорожно-транспортного происшествия.

Тахограф .позволяет регистрировать на диаграмме скорость движения, пройденный путь, время стоянки, работы двигателя, текущее время, расход топлива. Часовой механизм поворачивает круглую диаграмму. В применяемых на отечественных автомобилях тахографах ТЭ.МС-1 перемещение диаграммы осуществляется шаговым двигателем этого механизма.

   Перемещение пера самописца скорости осуществляется двигателем постоянного тока. Для записи расхода топлива используется также шаговый двигатель.

Тахограф защищен от вскрытия и вскрытия электронного блока.

Последнее время на зарубежных автомобилях появляются тхографы с записью показаний в памяти электронных устройств.

Ø Электронные информационные системы:

   Электронные информационные системы значительно расширяют возможности получения информации при малом объеме, занимаемом приборной панелью. Электронная панель приборов способна по желанию водителя выдавать на экран несколько вариантов значимой информации, в том числе с дублированием ее голосовым сообщением.

   Управление электронной информационной системой осуществляет бортовой компьютер, в который стекается информация с датчиков. Аварийная информация передается водителю без его участия, другая же поступает по его запросу или непрерывно. Для электронной индикации применяются электронно-лучевые трубки, жидкокристаллические индикаторы и т.п.

   Панели с электронно-лучевой трубкой позволяют во время стоянки принимать телепрограммы, а также вызывать на экран карту местности с ориентировкой на ней автомобиля. Компьютер способен не только оценить аварийную ситуацию, но и выявить тенденцию, направленную к появлению такой ситуации, заранее предупредив водителя об опасности.

   Электронная информационная система предоставляет возможность через спутниковую связь или через сотовую связь с местными сетями информировать водителя об оптимальном маршруте движения.

   К недостаткам таких систем следует отнести высокую стоимость, сложность, требующую квалифицированного обслуживания и ремонта.

 

5) Автомобильные охранные системы и электронные сервисные комплексы:

 

Ø Общие сведения об автомобильных сигнализациях:

Конструкция.

По конструктивному исполнению автосигнализации делятся на два типа: компактные и модульные.

Сигнализация в компактном исполнении представляет собой моноблок, содержащий в себе почти все элементы системы: электронные узлы, сирену, датчики. Ввиду того, что электронные компоненты располагаются в корпусе сирены, которая устанавливается под капотом, они более доступны злоумышленникам.

Сигнализация в модульном исполнении состоит из отдельных частей: центрального блока, сирены и внешних датчиков. Центральный блок располагается в салоне автомобиля, в защищенном от доступа месте, и не подвергается атмосферным воздействиям. Этот тип сигнализации также оборудуется дополнительными датчиками и исполнительными устройствами (центральным замком, замком багажника, стеклоподъемниками и т. п.). Имеет более широкий набор сервисных функций.

В последних моделях сигнализаций применяют технологию поверхностного автоматизированного монтажа (технология SMD), планарные корпуса микросхем, монтаж элементов по бескорпусной технологии. Данная технология повышает помехоустойчивость схем, а также надежность и безотказность элементной базы охранных систем. В некоторых моделях применяют электронные реле блокировки (двигателя, стартера и т. д.), управляемые но штатной проводке автомобиля. Все paзрабатываемые модели должны проходить комплексные испытания для получения международного сертификата соответствия ISO серии 9000, выдаваемое независимыми центрами европейских стран и США.

Ø Основные режимы работы:

Независимо от конструктивного исполнения в сигнализациях возможны следующие режимы работы:

“охрана” – активное состояние сигнализации с включенными охранными и защитными функциями при установке вспомогательных систем;

служебный – устанавливается сервисным ключем (кнопкой) “Valet” и предназначен для отключения охранных функций с сохранением сервисных; используется при техническом обслуживании автомобиля;

“паника” – режим работы сигнализации с включенным сигналом тревоги, используемом в качестве предупреждения или отпугивания незваных гостей;

тревога – режим работы сигнализации с включенными сигналами тревоги и при срабатывании одного либо нескольких датчиков;

“защита от нападения” (Anti-Hi-Jack) — режим работы автосигнализации, при котором через заданный промежуток времени происходит остановка двигателя (с последующей его блокировкой) и формирование сигнала тревоги; режим включается, как правило, дистанционно с помощью брелка;

“антиограбление” — то же самое, что и Anti-Нi-Jack, только включается заблаговременно, в случае возникновения и пути неприятностей;

“бесшумная постановка и снятие с охраны” - включение режима охраны без звукового сигнала подтверждения.

В зависимости от технического исполнения сигнализация может выполнять множество режимов (таких, как, например, иммобилизация, программирование, тестирование и т. п.),о которых будет рассказано по ниже.

Почти во всех сигнализациях используются сервисные системы, такие как:

контроль и проверка ложных cpабaтываний, например Fact;

Auto Testing — автоматически проверяет все датчики сигнализации, определяет любые неисправности, избавляя пользователя от их длительного и дорогостоящего поиска;

обход неисправностей (Auto Bypass) с автоматическим мониторингом. Система автоматически (по желанию пользователя) отключает неисправные датчики или контура, сохраняя общую работоспособность сигнализации и защиту автомобиля.

В некоторых автосигнализациях предусмотрены режимы программирования брелков-передатчиков. В радиобрелках предусмотрены дополнительные каналы управления сигнализацией второго автомобиля, замком багажника и т.п., вплоть до дистанционного запуска двигателя для прогрева. Практически во всех сигнализациях при дистанционном снятии автомобиля с охраны предусмотрена светодиодная индикация датчиков, сработавших во время охраны (функция “Память на воздействие).

Ø Датчики:

Автомобильные охранные сигнализации используют множество датчиков от самых простых (контактных) до сложных, представляющих собой практически самостоятельные интеллектуальные электронные устройства (объемные датчики)

1.   Контактные датчики:

Контактные датчики, как правило, используют все сигнализации. Эти датчики предназначены для защиты дверей автомобиля, капота и багажника. В качестве таких датчиков обычно используются кнопочные выключатели (как правило, штатные дверные).

2.   Датчик битого стекла:

Датчик битого стекла реагирует на характерный звук разбитого стекла. Это датчик микрофонного тина и может быть одноуровневым иди двухуровневым. Срабатывание такого датчика в большей степени зависит от типа стекла, ею толщины и расположения микрофона. Одноуровневый датчик реагирует только на характерный звук разбиваемого стекла. Двухуровневый – регистрирует звук удара по стеклу и собственно звон разбиваемого стекла. Для срабатывания и выдачи соответствующею сигнала в центральный блок такой датчик должен зарегистрировать два тина сигналов с интервалом не более 150 мс.

Принцип работы этих датчиков - реагирование на колебания с частотой порядка 1500 Гц, производимые разбиваемым стеклом, или на колебания высокой частоты, обусловленные внутренними напряжениями стекла, когда его раскалывают или вырезают.

Датчик электромеханический заключен в герметичную ампулу; его контакты выполнены в виде двух электрических нитей, полупогруженных в ртуть. Колебания, генерируемые при разбитии стекла, вызывают кратковременные размыкания электрического контакта.

Акустический датчик предназначен для улавливания колебаний с частотой около 1500 Гц, которые появляются при разрушении стеклянных перегородок. Сигнал, принятый микрофоном, усиливается и анализируется электронной схемой, связанной с датчиком.

Датчик пьезоэлектрический - это более точный детектор, поскольку обладает высокой избирательностью. Он не реагирует на низкие частоты, возникающие при ударе по стеклу, если оно не разбилось, а улавливает колебания около 200 кГц, обусловленные внутренними напряжениями разбиваемого стекла. Таким образом, исключаются несвоевременные срабатывания сигнализации, случающиеся, например, при проезде тяжелого или скоростного автомобиля вблизи от стеклянной перегородки или при проникновении сквозь стену авиационного гула.

3.   Датчик удара (вибрации):

Датчик удара (вибрации), как правило, поставляется в базовом комплекте автосигнализации. Он представляет собой устройство, регистрирующее вибрацию и удары по корпусу автомобиля. Если амплитуда вибрации превышает заданную величину, срабатывает сигнализация.

Датчик работает па основе пьезоэффекта или электромагнитной индукции, когда постоянным магнит перемещается вдоль обмотки катушки и тем самым, создает в ней переменный ток. В отечественной и зарубежной литературе в зависимости от технической реализации такой датчик называют электромагнитным, магниторезонансным или датчиком Piezosensor.

Редкий вариант устройства вибродатчика – вибродатчик с шариками . В покое электрический контакт замкнут. Один или оба шарика свободно лежат на двух контактах, которые конструктивно могут быть выполнены в виде двух металлических перилец. В момент удара шарики отскакивают от контакта, вызывая кратковременные размыкания, анализируемые электронной схемой, посредством которой регулируется чувствительность к ударам.

Чувствительность определяется по длительности размыкания контакта при отскакивании шариков друг от друга.

4.   Датчик наклона:

Это очень простой датчик. Он пользуется большой популярностью у отечественных владельцев автомобилей. Датчик наклона состоит из двух магнитов и катушки. Один магнит закреплен неподвижно у основания катушки, а второй подвешен в магнитном поле первого. При наклоне корпуса датчика второй магнит смещается относительно первого, что приводит к изменению магнитного поля, в котором находится катушка. В обмотке катушки наводится ЭДС, которая усиливается и является информационным сигналом датчика. В зарубежных автосигнализациях такие датчики наклона применяются крайне редко, но находят широкое применение в мотоциклетных системах охраны.

5.   Датчик падения напряжения:

Датчик падения напряжения в режиме охраны контролирует напряжение бортовой сети автомобиля. При возникновении бросков напряжения, вызванных, например, открыванием дверей автомобиля, датчик выдает соответствующий сигнал в блок управления сигнализации. Датчик такого типа встраивается в центральный блок и входит в состав базового комплекта большинства сигнализации.

6.   Токовый датчик:

Токовый датчик работает аналогично датчику падения напряжения. Однако в режиме охраны он регистрирует скачок тока, возникающий при подключении дополнительной нагрузки к источнику питания (например, при открывании двери автомобиля). Токовый датчик должен обладать очень высокой чувствительностью к малым броскам тока и поэтому в сигнализациях используется довольно редко.

7.   Датчик обрыва питания:

Использование датчика обрыва питания в автосигнализациях считается традиционным. При обрыве цепи питания сигнализации (отсоединении клемм аккумуляторной батареи) датчик срабатывает и включает сирену с автономным питанием, если она подключена к сигнализации.

8.   Датчик движения:

Датчик движения часто называют Proximity Sensor, поскольку он срабатывает при попадании объекта, излучающею тепло, например человека, в зону охраны датчика. Proximity Sensor обычно имеет одну зону чувствительности (90-110°) и устойчив к ложным срабатываниям. Недостатком самых простых и дешевых датчиков заключается в том, что они срабатывают при определенной скорости изменения теплового потока. Например, из-за прогрева солнцем салона автомобиля датчик может сработать.

Более совершенные датчики лишены этого недостатка. Их надежность и стойкость к тепловым помехам обеспечивается многоканальными головками и сложной электронной обработкой сигнала в самом датчике. В простых моделях обработка сигналов осуществляется аналоговыми методами, а в более сложных — цифровыми, например, с помощью встроенного процессора.

9.   Объемные датчики:

Объемные датчики oтносятся к наиболее чувствительным системам охраны салона автомобиля. Они регестрируют любое перемещение в закрытом пространстве салона. Поэтому во многих сигнализациях предусмотрен режим дистанционного отключения датчика при помощи брелка. К объемным датчикам относятся:

Ø  Ультразвуковой:

Ультразвуковой датчик (Ultrasonic) предназначен для обнаружения перемещений в салоне автомобиля. Действие его основано на интерференции ультразвуковых колебаний. В состав датчика входят излучатель ультразвуковой частоты и приемник, которые разнесены в салоне автомобиля. При закрытых окнах и дверях пространство, контролируемое датчиком, ограничено салоном автомобиля, и в точке расположения приемника формируется устойчивая интерференционная картина. При проникновении какого-либо объема и салон устойчивость интерференционной картины нарушается и формируется сигнал тревоги. К основному недостатку ультразвукового датчика можно отнести ложные срабатывания при возникновении конвекционных потоков воздуха в системе отопления автомобиля.

Ø  Микроволновый:

      Микроволновый датчик предназначен для обнаружения движения внутри салона                      и вблизи автомобиля. Поэтому его еще называют двухзоновым датчиком. Первая       зона охраны находился за пределами автомобиля, а вторая собственно салон. Принцип действия датчика основан на рнгистации изменений интерференционной картины радиоволн сантиметрового диапазона (прозрачного для стекол автомобиля), формируемой передатчиком. Устройство очень эффективно, но нуждается в тщательной регулировке чувствительности, так как зона охраны распространяется за пределами автомобиля, что может вызвать ложные срабатывания датчика.

Часто двухзоновые датчики используют для отпугивания лиц, приближающихся к автомобилю. При срабатывании первой зоны включаются фары и раздается слабый звуковой сигнал. В наиболее совершенных моделях используется речевой синтезатор, предлагающий прохожим, приблизившимся к автомобилю слишком близко, отойти дальше

Ø  Инфракрасный:

Инфракрасный датчик (Infrasonic) также, как и ультразвуковой охраняет только салон автомобиля. Его действие основано на регистрации изменения интерференционной картины поля инфракрасного диапазона. Этот датчик способен контролировать закрытые помещения большого объема, поэтому рекомендуется для установки в салонах микроавтобусов, фургонов и т. п. Основной недостаток — большой потребляемый ток по сравнению с другими объемными датчиками.

Ø  Изменения объема:

Датчик изменения объема предназначен для регистрации изменения давления воздуха в салоне автомобиля, возникающего, например, при открывании двери либо стекла автомобиля. Этот датчик имеет очень высокую чувствительность и в связи с этим, возможны его ложные срабатывания, особенно при остывании салона автомобиля в зимний период. В автосигнализациях применяется крайне редко.

               10. Дополнительные устройства:

Некоторые известные фирмы предлагают широкий ассортимент дополнительных устройств для автосигнализаций, расширяющих спектр охранных, и сервисных функций систем охраны автомобилей.

Ø Центральный замок:

Центральный замок предназначен для одновременного отпирания (запирания) всех дверей автомобиля. Комплект центрального замка представляет собой набор из 2- или 4-х электрических исполнительных механизмов (активаторов дверей) и контроллера управления. Сигналы управления двеpьми на контроллер поступают от центрального блока сигнализации. В некоторых моделях контроллер управления находится в корпусе самой сигнализании.

Ø Электростеклоподъёмники:

Электростеклоподъемники представляют собой электроприводы, предназначенные для поднятия и опускания дверных стекол автомобиля. Управление стеклоподъемниками осуществляется контроллером, который представляет собой отдельное устройство.

Ø Дополнительный топливный электроклапан:

Дополнительный топливный электроклапан предназначен для блокировки системы подачи топлива автомобиля. Обычно топливный клапан управляется сигнализацией или иммобилизатором и может стать серьезным противоугонным устройством.

Ø Иммобилизаторы:

Как правило, современные автосигнализации частично выполняют функции иммобилизатора, т. е. позволяют разрывать одну или две цени (стартера, системы зажигания, подачи топлива и т.п.) автомобиля. Некоторые модели сигнализаций включают в себя функции полноценного иммобилизатора.

Большинство моделей иммобилизаторов имеет дистанционное управление (кодовый брелок), с помощью которого владелец может включать и выключать режим охраны на расстоянии. Почти во всех иммобилизаторах предусмотрен режим пассивного (автоматического) включения охраны (активации) через заданный промежуток времени после выключения зажигания. В режиме активации иммобилизатор разрывает 3-4 цепи, а иногда и 5 цепей пуска двигателя. Для выключения (деактивации) иммобилизатора в некоторых моделях применяют электронный кодовый ключ-транспондер бесконтактною типа, конструктивно оформленный в виде брелка или пластиковой карточки.

Так, например, в бесконтактном иммобилизаторе Proximity ключ-транспордер не имеет внутреннего источника питания и следовательно, не способен самостоятельно излучать управляющие сигналы. При приближении к проволочной петле (антенне) иммобилизатора ключ-транспондер принимает кодовый сигнал, излучаемый антенной, трансформирует его определенным образом и переотражает. Проволочная петля устанавливается под общипкой салона автомобиля и не нарушает его и терьера.

Ø Автомобильные пейджеры:

  Такие пейджеры предназначены для оповещения владелец о состоянии автомобиля, находящегося пол охраной. Наиболее привлекательными (по цене) являются пейджеры с рабочей частотой 433 МГц, которые обеспечивают надежную связь в радиусе до 250- 500 м. Для пейджеров этого частотного диапазона железобетонные панели жилых домов являются незначительным препятствием и практически не уменьшают дальность их действия.

Более дорогими являются автомобильные пейджеры диапазона 27 МГц, которые обеспечивают дальность действия с внешней антенной автомобиля до 1 км. Некоторые из них позволяют принимать сигналы от трех охранных устройств, установленных на разные автомобили, и могут быть использованы в качестве универсальной пейджинговой системы охраны автомобиля даже без сигнализации.

Автомобильные пейджеры имеют не только высокие технические характеристики, но и элегантный внешний вид приемника

Ø Электронные датчики:

В настоящее время предлагается большой выбор автомобильных датчиков, выполненных с использованием самых современных технологии. Схемные решения запатентованы изготовителями.

В сигнализациях используются:

  • датчик объема.
  • датчик падения напряжения;
  • токовый датчик;
  • датчик удара (двухуровневые лазерные датчики);
  • датчик удара (вибрации);
  • акустический датчик битого стекла;
  • датчик крена кузов;
  • датчик движения;
  • датчик обрыва питания;
  • контактный датчик и др.


Ø Датчик объёма:

К датчикам объема относятся — ультразвуковой, микроволновый и инфракрасный.  Высокочувствительные ультразвуковые датчики реагируют даже на движение воздуха в салоне, вследствие остывания автомобиля зимой или при сильном ветре снаружи и открытых воздуховодах салона. Зона действия ультразвукового датчика ограничена салоном автомобиля.

Зона действия микроволнового датчика не ограничивается салоном и может выходить за его пределы, так как стекла автомобиля не являются преградой для микроволнового датчика. Существуют двухзоновый микроволновые датчики.

Инфракрасный датчик способен контролировать салон большого объема, поэтому рекомендуется для установки в микроавтобусах, фургонах и т.п.

Ø Датчик заднего хода:

Особый интерес представляют датчики заднего хода ROS (reverse obstacle sensor) или BS (back sonar). Они выполняют роль ультразвуковых измерителей расстояния при движении автомобиля задним ходом. При наличии в зоне действия датчика препятствия, он включает зуммер и панель индикации. По характеру звучания зуммера можно оценить дистанцию до препятствия, а потому какая зона светится на панели — определить направление. Датчик заднего хода имеет широкий угол обзора, который позволяет обнаружить боковые препятствия, что крайне удобно при въезде машины в узкий гараж. Рабочая зона действия датчика от плоскости установки сенсоров до препятствия составляет 110 см. Рабочий угол каждого сенсора 90° по горизонтали и 40° по вертикали, что гарантируем отсутствие мертвых зон на безопасном расстоянии. Для удобства определения реального расстояния до препятствия рабочая зона разделена на три внутренние зоны по 30 см каждая. Датчики имеют современный дизайн, компактный размер и удобны в эксплуатации.

Датчики заднего хода моделей ROS-3, ROS-2, BS-3, могут устанавливаться на любом автомобиле с напряжением бортовой сети +12 В. Установка датчика доступна и проста даже для человека с небольшим опытом и знанием электрооборудования автомобиля.

По желанию клиента датчик может комплектоваться как тремя сенсорами (модели ROS-З и RS-3}, так и двумя сенсорами (модели ROS 2, BS-2}. При включении задней передачи в первые 2 с происходит самодиагностика датчика. По характерному звучанию зуммера и по показаниям дисплея можно определить исправность работы всех элементов датчика заднею хода.

Ø Антирадары:

В России и ряде европейских стран для регистрации скорости автомобиля применяют радары, работающие в стандартных СВЧ-диапазонах:

  • Х-диаиазон на частоте 10,52 ГГц;
  • К-диапазон на частоте 24,15 ГГц.

В Америке, помимо перечисленных выше стандартных диапазонов СВЧ, применяют радары, работающие на более высоких частогах Ка-диапазона (34,36 ГГц).

В последнее время для регистрации скорости автомобилей как за рубежом, так и в России стали применяться лазерные радары, которые, по сравнению с радарами СВЧ-диапазона, обеспечивают более высокую точность измерений.

Милицейские радары могут работать как в импульсном режиме, так и в режиме непрерывного излучения. В импульсном режиме радар излучает зондирующие импульсы в строго фиксированные моменты времени, принимает отраженные от автомобиля импульсы и измеряет интервал их запаздывания относительно зондирующих. Скорость изменения интервала запаздывания позволяет определить скорость передвижения автомобиля.

В режиме непрерывного излучения радар сравнивает частоты сигналов – излучаемого и отраженного от автомобиля. Разность частот этих сигналов – частота Доплера – характеризует скорость движения автомобиля.

Антирадары имеют современный дизайн (рис. 4.25), достаточно компакты и не создают никаких проблем при установке и подключении.

Антирадар сообщит водителю о направленном на автомобиль милицейском радаре путем подачи звукового си гнала. Информация о мощности излучаемого сигнала и,

Следовательно о расстоянии до инспектора выводится на дисплей. В дорогих моделях используется матричный дисплей, в более дешевых – обычная линейка светодиодов. Переключение “город/трасса” позволяет повысить помехозащищенность прибора в городе и дальность обнаружения за городом. Модели Whistler 1250, 1450-1490 имеют уникальную возможность регистрации специальных приборов – обнаружителей антирадаров, применяемых в тех странах , где использование антирадаров запрещено.

В настоящее время но всем мире намечается значительный рост интереса к системам, обеспечивающим автоматизацию контроля за перемещением автотранспорта. Будучи на начальном этапе прерогативой спецслужб и небольшого числа коммерческих организации, занимающихся транспортировкой особо ценных грузов, в настоящее время, благодаря совершенствованию технологии и снижению цен, эти системы становятся доступны и экономически зффективны для использования в самых разных отраслях, включая коммерческие грузоперевозки, общественный транспорт и пели рядового потребителя.

В последнее время широкое распространение во всем мире получили системы и комплексы технических средств определения местоположения подвижных объектов. Эти системы используются на море, суше и в воздухе для слежения за объектами, определения их местоположения, корректировки маршрута и т.д. Они различаются по методам определения координат объектов, способам передачи информации между подвижными объектами и диспетчерскими пунктами, логикой построения и т. п. Однако во всех этих системах должно выполняться условие - возможность для потребителя самостоятельно определять ее основные параметры:

  • зону работы системы;
  • тип транспорта, который требуется контролировать;
  • частоту обновления информации о подвижном объеме;
  • перечень задач, решаемых в системе.

Далее мы подробно остановимся на задачах определения местоположения автомашин, других транспортных средств, ценных грузов и т.п., которые крайне актуальны для государственных правоохранительных органов, частных структур безопасности и диспетчерских служб предприятии различных форм собственности. Эти задачи приходится решать в процессе управления патрульными службами и контроля перемещения подвижных объектов, обеспечения безопасности автомашин и их поиска в случае угона, сопровождения транспортных средств и ценных грузов и т. д. Наиболее актуальными являются задачи автоматизированного местоопределения подвижных объектов в составе систем комплексного обеспечения безопасности .

Современные системы автоматического (атома in трепанного) определения местоположения транспортных средств—AVL (Aiitoin.itk: Vehicle Location system), выполняющие эти задачи, автоматически определяю! коорчинаш транспоршо-го средства is группе ему подобных по мере его перемещения в пределах определенной территории. Система AVL обычно состоиг из полсистемы определения местоположения, подсистемы передачи данных и подсистемы управления и обработки данных.

Ø Пейджерные противоугонные системы:

Сегодня пейджерные противоугонные системы (ППС) с функциями охранной сигнализации и дистанционным управлением посредством телефона по цене становятся дешевле многих обычных охранных сигнализации. В то же время, приобретая такую систему, владелец автотранспортного средств получает (в дополнение к функциям обычных противоугонных и охранных систем) новые возможности по защите и возврату автомобиля, а также, на выбор, большое количество сервисных функций. Простой пример: при насильственном угоне в обычных противоугонных системах уловки типа Anti-Hi-Jack уже не cpaбатывают, так как они широко рекламируются и поэтому хорошо известны угонщикам. Остается одно: позвонить в милицию, а потом — на радиовещательную станцию и попросить дать сообщение об угнанном автомобиле. В этой ситуации владелец ППС имеет несколько возможностей управления противоугонными функциями, которые он и выбирает в зависимости от обстоятельств. Так, перед тем как звонить в милицию, он может самостоятельно по команде с телефонного аппарата:

  • остановить автомобиль;
  • “атаковать” угонщика включением внутрисалонной сирены или дымовой машины (если они установлены);
  • запустить передатчик поиско-пеленгационного комплекса, например — КОРЗ или LoJuck (если они установлены);
  • включить одновременно все указанные противоугонные функции.

Напомним о способах активизации передатчика, установленного в автомобилях в составе поиско-пеленгационных комплексов. Активация осуществляется:

  • автономно при срабатывании датчиков охранной сигнализации в случае несанкционированного проникновения в автомобиль;
  • дистанционно — сетью мощных передатчиков, которые периодически посылают команду “включить передатчик”.

Пейджерное обслуживание предлагает, кроме противоугонных, большое количество других сервисных функций. Например, вызов водителя по телефону специальными тональными сигналами (звуковой пейджер), дистанционное включение/выключение средств предупреждения и автоматики центрального замка, кондиционера, двигателя и т. п. Ведь самое главное - это дать автовладельцу столько возможностей, сколько он захочет иметь.

6) Новинки автомобильных датчиков:

 

Ø Датчик аварии DA-01:

 

   Двухуровневый датчик аварии DA-01 предназначен для регистрации ДТП. Предупредительный уровень датчика срабатывает при относительно легких столкновениях автомобиля с препятствием, а тревожный – при сильных ударах, которые могут быть опасны для жизни водителя и пассажиров, например, при лобовом столкновении.

   Информацию об аварии можно передать с помощью GSM-сигнализатора или спутниковой системы серии Reef GSM. Для этого датчик аварии DA-01 подключается к дополнительному входу системы оповещения.

При установке на автомобиль настройка датчика не требуется.

Ø  Датчик перемещения AG-2 Luxe:


   Датчик контролирует положение охраняемого автомобиля и реагирует на попытки переместить его с места стоянки в продольном и поперечном направлениях. Цифровой алгоритм обработки сигнала позволяет избежать ложных срабатываний датчика.

   Технические особенности и функциональные возможности:

Ø Реакция на продольные и поперечные перемещения автомобиля

Ø Самоадаптация к начальному положению автомобиля

Ø Игнорирование вибраций от проезжающего транспорта, порывов ветра и других внешних воздействий

Ø Не нуждается в регулировке

Ø Малые размеры (25 x 43 x 12 мм)


Ø Парктроник:

Парктроник (парковочный радар) — это система, облегчающая процедуру парковки автомобиля, движение его задним ходом в тёмное время суток и маневрирование в узких местах. Он сводит к минимуму риск повреждения кузова автомобиля о приближающееся препятствие, так как своевременно предупреждает водителя о сокращающемся расстоянии до объекта. Некоторые модели парктроников сами предотвращают возможное столкновение с приближающимся объектом.

Многие марки автомобилей выпускаются в настоящее время с изначально установленными датчиками парковки (парктрониками), что подтверждает необходимость наличия данной системы.

Принцип действия парктроника

Парковочный радар (парктроник) измеряет расстояние до приближающегося объекта с помощью ультразвука. Датчики парковки посылают ультразвуковые волны, которые, отразившись от препятствия, улавливаются сенсорами. Полученная информация обрабатывается и сообщается водителю. Парктроник выводит информацию на дисплей и дублирует её прерывистым звуковым сигналом.

Дисплеи и датчики парктроников (парковочных радаров) являются высокоточными и показывают водителю, не только направление приближающегося препятствия, но и расстояние до него, если оно меньше полутора метров. В это время, с уменьшением расстояния, звуковой сигнал звучит чаще. а когда расстояние становится меньше 25 см, звуковой сигнал парктроника становится непрерывным.

Датчики парковки (сенсоры) инсталлируются в бампер автомобиля. Обычно таких датчиков четыре, но существуют и более сложные модели парктроников — с 8 датчиками.

 

Виды парктроников «Sho Me»

Дисплеи парктроников бывают различными: от обычных светодиодных, до цифровых дисплеев и встроенных в зеркало заднего вида DVD-дисплеев (в последнем случае информация на дисплей подается при помощи видеокамеры). В комплектах парктроников «Sho Me» дисплеи взаимозаменяемы.

Датчики парковки (сами сенсоры), которые входят в комплект, бывают разных размеров и цветов. Они монтируются в бампер автомобиля. Многие модели автомобиля имеют штатные места для установки датчиков парктроника, либо для их установки вырезаются отверстия. Внешний вид автомобиля в этом случае не ухудшается.

Плюсы использования парктроников

Парктроники сообщают с высокой точностью информацию не только о направлении приближающегося препятствия, но и о расстоянии до него. Поэтому использование датчиков парковки помогает водителю чувствовать себя увереннее управляя автомобилем при движении задним ходом, в тёмное время суток, сильной тонировке стёкол, в узких местах, при плохой видимости задней части машины (что особенно актуально у автобусов, лимузинов, грузовых микроавтобусов).

При движении в плотном потоке автомобилей (пробке) парктроник можно выключить.

Парктроник (система датчиков парковки) «Sho Me» адаптирован к суровым климатическим условиям, работе при низкой и высокой температуре, повышенной влажности и загрязненности.

Ø  Новый аккумуляторный датчик от Bosch…..

Концерн Bosch разработал электронный датчик состояния автомобильной батареи (EBS). Встроенная измерительная электроника датчика определяет основные физические параметры батареи – напряжение, силу тока и температуру, а программные алгоритмы рассчитывают величины, точно описывающие ее состояние. Кроме того, датчик выполняет ситуативный прогноз состояния заряда.

В современных автомобилях эта информация используется блоком управления энергоснабжением, что дает возможность всегда поддерживать достаточный уровень заряда батареи для надлежащего запуска двигателя даже после длительного простоя. Данные, на основании которых осуществляется управление генератором и двигателем, позволяют снизить расход топлива и, следовательно, объем выхлопа, а также увеличить срок службы батареи. Контроль состояния батареи играет большую роль и в гибридных автомобилях с функцией «старт-стоп».

Датчик состоит из чипа с электронной начинкой и резистивного элемента для измерения тока. Вместе с полюсной клеммой они образуют монтажный блок, который подключается непосредственно к аккумулятору и помещается в углублении рядом с клеммой на стандартных автомобильных батареях. Новинка выигрывает по сравнению с другими решениями в этой области за счет значительной экономии свободного места и средств.

Помимо аппаратной основы датчика, Bosch в сотрудничестве с Varta разработал программное обеспечение для определения состояния батареи, алгоритмы которого полностью интегрируются в чип EBS. Датчик напрямую измеряет температуру, напряжение и ток батареи и по этим данным вычисляет ее емкость и состояние заряда, а также текущую и будущую производительность. Информация передается через LIN-интерфейс в вышестоящий блок управления энергоснабжением автомобиля, что позволяет оптимизировать состояние заряда батареи.

Ø  Новые датчики давления в шинах от Motorola

Motorola объявила о разработке нового поколения автомобильных датчиков для контроля давления за шинами, а также новой серии инерционных датчиков.
Приборы для контроля давления имеют оригинальный дизайн и монтируются в штатный вентиль колеса. Они обеспечены автономным питанием от поставляемых в комплекте батареек и могут легко устанавливаться на любой автомобиль.
Помимо датчиков эта система включает бортовой приемник, который принимает сигналы от датчиков и преобразует его в понятные для водителя данные.
Промышленное производство этих приборов будет налажено к 2008 году, когда в США начнут действовать новые требования по обязательному оснащению всех новых автомобилей системами контроля за давлением шин.
Помимо датчиков давления Motorola заявила к серийному выпуску системы инерционного контроля за движением. Они отслеживают изменение динамики автомобиля в зависимости от манипуляций водителя и в состоянии предупредить занос и опрокидывание машины.
Инерционные датчики Motorola предназначены для поставок на сборочные автозаводы в составе оригинальной системы ESP разработки этой фирмы. Motorola надеется на промышленные заказы автоконцернов на новую продукцию и намерена адаптировать ее к перспективным моделям 2006 года.

Ø  Композитная заслонка от Bosch:

Bosch начала производство первых в мире модулей дроссельной заслонки из композиционных материалов для бензиновых двигателей. Новое изделие весит на 25% меньше и более экономично в изготовлении, нежели традиционные модули из металла. К другим преимуществам новинки относятся: более точная регулировка угла открытия, упрощенная адаптация к разным двигателям и моделям автомобилей, а также как и повышение безопасности при ДТП: детали, изготовленные из композитов, под воздействием внезапного удара разбиваются на мелкие составные части.
В системе электронного управления положением дроссельной заслонки модуль дроссельной заслонки является главным элементом регулирования потребления воздуха двигателем и, таким образом, регулирования выходной мощности двигателя. На основе информации о положении педали газа блок управления двигателя вычисляет необходимый угол открытия дроссельной заслонки, угол опережения зажигания и количество впрыскиваемого топлива. По сигналу датчика положения дроссельной заслонки контролируется фактическое положение дроссельной заслонки и обеспечивается точное соблюдение заданного положения. "Оптимальная геометрия модуля позволяет обеспечить ещё более точный контроль малых объёмов воздуха, что особенно позитивно проявляется при работе двигателя на холостом ходу или с малой нагрузкой", отметил руководитель проекта Эльмар Хубер. К тому же, отпадает необходимость включения модуля дроссельной заслонки в контур циркуляции охлаждающей жидкости, так как низкая теплопроводность синтетического материала значительно снижает опасность обледенения.
Корпус и заслонка нового поколения модулей DV-E8 состоят из долговечного прочного стекловолокна укрепленного термопластиком, который обладает высокой термо- и износостойкостью. Конструкция обеспечивает легкую адаптацию к разным моделям двигателей и транспортных средств.

7) Список использованной литературы:

1) Ютт В.Е. Электрическое и электронное оборудование автомобилей –   М.Транспорт 1983г.

2) Како Н., Яманэ Я. Датчики и микро-ЭВМ. Л: Энергоатомиз дат, 1986г.

3)  У.Титце, К.Шенк. Полупроводниковая схемотехника. М: Мир, 1982г.

4)  П.Хоровиц, У.Хилл. Искусство схемотехники т.2, М: Мир, 1984г.

5)  Справочная книга радиолюбителя-конструктора. М: Радио и связь, 1990г.

6) Виглеб Г., Датчики: устройство и применение, 1989г.

7) Осипович Л.А., Датчики физических величин, 1979г.

8) Интернет порталы:

Ø  http://grachev.distudy.ru











Похожие работы на - Автомобильные датчики

 

Не нашли материал для своей работы?
Поможем написать уникальную работу
Без плагиата!
Без нейросетей!