Технология производства полимерных материалов

  • Вид работы:
    Другое
  • Предмет:
    Детали машин
  • Язык:
    Русский
    ,
    Формат файла:
    MS Word
    69,58 kb
  • Опубликовано:
    2010-04-23
Вы можете узнать стоимость помощи в написании студенческой работы.
Помощь в написании работы, которую точно примут!

Технология производства полимерных материалов

Министерство общего и профессионального образования Российской Федерации

Сибирский государственный технологический университет

Факультет механической технологии древесины

Кафедра технологии деревообработки













отчет

по лабораторным работам

 (ТД. 000000. 108. ПЗ)









Руководитель:

______________ Брацук В. В.

                 (подпись)

___________________________

                (оценка, дата)   

Разработал:

студент группы 44-1

______________ Иванов И. А.

                      (подпись)

 Содержание

1. Лабораторная работа № 1………………………………………………………       3

2. Лабораторная работа № 2………………………………………………………       4

3. Лабораторная работа № 3………………………………………………………       6

4. Лабораторная работа № 5………………………………………………………       8

5. Лабораторная работа № 6………………………………………………………       9

6. Лабораторная работа № 7………………………………………………………10

  

Лабораторная работа № 1

Определение вида полимерного материала

Цель работы: ознакомиться с классификацией пластмасс и приобрести навыки определения вида полимерного материала по классификационным признакам.

Таблица 1.1 – Классификация изделий из полимерных материалов

Вид изделия (рисунок)

Декоративные свойства и отличительные признаки изделия

Вид полимерного материала

Метод переработки в изделие

Непрозрачные и полупрозрачные изделия разнообразной окраски и формы

Поливинилхлорид

Литье под давлением, экструзия, компрессионное и литьевое прессование, выдувание, вакуум формование

Твердые непрозрачные изделия с шелковистой матовой поверхностью, окрашенные в различные цвета

Полипропилен ПП и БСМЭ

Литье под давлением, экструзия, компрессионное и литьевое прессование


Полупрозрачные твердые изделия, окрашенные в различные цвета

Полиэтилен низкого давления

Литье под давлением, компрессионное и литьевое прессование, экструзия, выдувание, пламенное напыление, сварка, вакуум формовка


 Лабораторная работа № 2

Определение твердости полимерных

наполненных материалов с помощью микротвердомера

Цель работы: ознакомиться со способами и приобрести навыки определения твердости полимерного материала с помощью микротвердо­мера.

Приборы и материалы:

- 3 испытуемых полимерных образца;

- груз весом 1 кг;

- микротвердомер с ценой деления 0,01 мм;

- секундомер.

Порядок выполнения работы

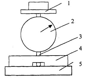
1.   Микротвердомер (рисунок 2.1) устанавливается на поверхности испытуемого материала таким образом, чтобы кончик измерительного стержня (индентор) диаметром 2,25 мм касался покрытия.



1 - чашка с грузом,

2 - индикатор,

3 - индентор,

4 - основание,

5 - подложка

 

Рисунок 2.1 - Принципиальная схема микротвердомера

 
 












2.   Шкала прибора фиксируется на отметке «ноль».

3.   На чашку 1 плавно, без толчков устанавливается груз весом 1кг, выдерживается в течение 90 с,  по шкале прибора определяется величина упругой деформации (в миллиметрах).

4.   После фиксирования эластической деформации снять груз и зафик­сировать величину остаточной (пластической) деформации.

Твердость как сопротивление материала деформированию и местному разрушению в МПа определяется по формуле:

                                                                                                           (2.1)

            где      Р – нагрузка, прикладываемая к индентору, равна 1 Н (100 кг);

                        R – радиус закругления сферы индентора, равный 1,125 мм;

                        h – глубина внедрения индентора, измеренная при нагрузке 1 Н, мм


Таблица 2.1 – результаты измерения твердости

Номер образца

Вид материала

Величина деформации, мм

Твердость, МПа

упругая

остаточная

1


0,440

0,350

0,289

2

ПВХ

0,6

0,4

11,82

3

ПВХ

0,11

0,9

6,434


Лабораторная работа № 3

Определение твердости полимерных

покрытий царапаньем

Цель работы: ознакомиться со способами и приобрести навыки определения твердости полимерного материала методом царапанья.

Приборы и материалы:

- три образца размером не менее 100*100 мм;

- гири массой 50 и 100 г;

- микротвердомер ПМТ-3 с ценой деления барабана микроскопа 0.81 мкм (рисунок 3.1).

 

1. Испытуемый образец 1 помещают на подставку прибора 2, ориен­тируя его так, чтобы царапанье производилось поперек печатного рисунка (а для защитно-декоративных покрытий - поперек волокон древесины).

2. Коромысло 4 уравновешивают вращением противовеса 5 так, что­бы острие иглы без нагрузки касалось испытуемой поверхности, но не оказывало на нее давления.

1-испытуемый образец;

2-игла;

3-груз;

4-коромысло;

5-противовес;

6-центр вращения коромысла;

7-подставка.

 

Рисунок 3.1 - Прибор    для   определения   твердости   полимерных покрытий царапаньем

 
 







            Коромысло приподнимают и нагружают грузом 3, после чего плавно опускают на поверхность образца.

Образец приводят в движение с равномерной скоростью (10±5) мм/с. чтобы образовалась царапина длиной от 50 до 60 мм. Ширину царапины измеряют на приборе ПМТ-3 предпочтительно в середине длины: на трех участках.

Ширину царапины измеряют последовательным совмещением нити винтового окуляра микрометра микроскопа с границами царапины по всей ее длине в поле зрения микроскопа (рисунок 4). Ширину царапины (В), в мкм, вычисляют по формуле:

                                                                                                 (3.1)

где L1 и L2 – показания окулярного микрометра для правой и левой границ царапины.

Величина твердости полимерного материала характеризуется шири­ной царапины.

Результаты измерений заносим в таблицу 3.1.

                        Таблица 3.1 – Результаты проведения испытаний

Номер образца

Вид материала

Ширина царапины, В, мкм

1


128

2

ПВХ

161,5

3

ПВХ

196


Лабораторная работа № 5

Определение осмоления рулонного облицовочного материала
на основе пропитанных бумаг

Цель работы: познакомиться с основными параметрами пленочных синтетических облицовочных материалов и приобрести навыки опреде­ления их осмоления.

Приборы и материалы:

·   образцы непропитанной и пропитанной текстурной бумаги размером 50×50 мм (два образца);

·   весы с точностью 0,001 г;

·   сушильный шкаф.

Проведение испытаний:

Для определения осмоления бумаги из непропитанной и пропитанной бумаги вырезают по два образца размером 50×50 мм. Образцы высушивают в термостате при температуре 160°С в течение 5 мин и взвешивают с точностью до 0,00 1 г.

Осмоление бумаги, %, вычисляется по формуле:

            где       - масса образца декоративной непропитанной бумаги, г;

                         - масса образца пленки, г.

           

                        Таблица 5.1 – Журнал наблюдений

Номер образца

Вид и плотность бумаги

Вес образца, г

1

Декоративная,

0,52

1,2

2

0,52

1,2


Лабораторная работа № 6

Определение    эластичности    рулонных и    кромочных облицовочных материалов

Эластичность  кромочного материала при изгибе определяют по ГОСТ 6806-73 на трех образцах длиной 400 мм и шириной 20 мм.

Цель работы: познакомиться с основными параметрами и при­обрести навыки определения эластичности пленочных синтетических облицовочных материалов.

Приборы и материалы:

·   три образца длиной 400 мм; шириной 20 мм;

·   стальные стержни разных диаметров.

Метод основан на определении минимального диаметра стержня, на котором изгибание испытуемого материала не вызывает механических разрушений и отслаивания лакокрасочной пленки.

Для определения эластичности кромочного пластика и рулонных об­лицовочных материалов с «финиш-эффектом» используют набор стальных или стеклянных стержней диаметром 40, 35, 30, 25, 20, 15мм.

Порядок выполнения

1.   Рулонный материал испытывают при температуре 20±2°С и отно­сительной влажности воздуха 65±5%.

2.   Образец накладывают на стержень наибольшего диаметра покры­тием наружу и плотно прижимают к стержню, плавно изгибая в течение 1-2 с на 180° вокруг стержня.  Если не происходит разрушения, произво­дят изгибание рулонного материала каждый раз в другом месте последова­тельно от стержня большего диаметра к меньшему до тех пор, пока не произойдет разрушение образца.

3.   Эластичность материала определяется минимальным диаметром стержня, на котором не произошло разрушение. Полученный результат сравнивается с допустимым значением, согласно техническим условиям на испытуемый материал.

4.   Делается вывод по результатам трех измерений.

Таблица 6.1 – Журнал наблюдений

Номер образца

Вид материала (бумаги)

Пропиточный состав

Эластичность, мм

1

Тип «С»

КФ-МТ

15

2

РПЛ

КФ-МТ

Все

3


КФ-МТ

Все


Лабораторная работа №7

Определение времени пенетрации

Цель работы: познакомиться с основными параметрами пленочных синтетических облицовочных материалов и приобрести навыки опреде­ления времени их   пенетрации.

Приборы и материалы:

·   чашка стеклянная лабораторная по ГОСТ 23932-79;

·   секундомер;

·   контролируемая бумага;

·   пропиточная смола (КФ-МТ).

Проведение испытаний

1.   Из двух листов отобранной пробы вырезать по образцу размером 50*50 мм.

2.   Приготовить пропиточный состав путем тщательного перемеши­вания смолы с другими, входящими в его состав, компонентами.

3.   Приготовленный пропиточный состав налить в чашку.

4.   На поверхность пропиточного состава положить образец бумаги сетчатой стороной вниз, при этом одновременно включить секундомер. Опускание образца на поверхность пропиточного состава производится так, чтобы не происходило попадания смолы на лицевую сторону образца бумаги.

5.   После того, как образец пропитается (площадь непропитанных участков не должна превышать 5%), секундомер выключают.

6.   Время пенетрации выражается средним арифметическим двух оп­ределений с округлением до 1с. Результаты замеров заносятся в журнал наблюдений, представленный в таблице 7.1.

Таблица У А - Журнал наблюдений

Номер образца

Вид (плотность) бумаги)

Пропиточный состав

Время пенетрации

одного

среднее

1

КФ-МТ

15,37

18

2

Тип С

КФ-МТ

20,93

 

Похожие работы на - Технология производства полимерных материалов

 

Не нашли материал для своей работы?
Поможем написать уникальную работу
Без плагиата!
Без нейросетей!