Гидротермическая обработка древесины
Министерство общего и профессионального образования Российской
Федерации
Сибирский государственный технологический
университет
Факультет Механической технологии древесины
Кафедра теплотехники
ЛАБОРАТОРНЫЕ РАБОТЫ
Цикл: гидротермическая обработка древесины
(ТТ. 000000. 108. ПЗ)
Руководитель:
________________Т. В. Ермолина
(подпись)
___________________________
(оценка,
дата)
Разработал:
студент группы 43-1
______________ Кузнецов С. С.
(подпись)
Содержание
Лабораторная
работа № 3 ……………………………………………………….3
Лабораторная
работа № 4 ....................................................................................
7
Лабораторная работа №3
Определение показателей качества сушки пиломатериалов
Согласно РТМ -85 [2] качество сушки пиломатериалов
оценивается показателями, приведенными в таблице 3.1.
Таблица 3.1 - Нормативные
показатели качества сушки пиломатериалов и заготовок
|
Показатели качества сушки
|
Категории качества сушки
|
|
I
|
II
|
III
|
0
|
|
Средняя конечная влажность
пиломатериалов или заготовок в
штабеле, %
|
7, 10**
|
7, 10, 15**
|
10, 15
|
|
|
при толщине пиломатериалов,
мм:
|
|
|
|
|
|
32 и менее;
|
|
|
|
16
|
|
38-50;
|
|
|
|
18
|
|
свыше 50
|
|
|
|
20
|
|
Перепад влажности по
толщине
пиломатериалов (заготовок),
%
при толщине, мм ;
|
не
более
|
не
более
|
не
более
|
не
контроли
руется
|
|
13-22;
|
1,5
|
2,0
|
2,5
|
|
|
25-40;
|
2,0
|
3,0
|
3,5
|
|
|
45-60;
|
2,5
|
3,5
|
4,0
|
|
|
70-90
|
3,0
|
4,0
|
5,0
|
|
|
Условный показатель
остаточ-
ных напряжений
(относительная
деформация зубцов силовой
сек-
ции), %
|
не
более
1,5
|
не
более
2,0
|
не
контроли
руется
|
не
контроли
руется
|
3.1. Цель работы
Изучение методики и приобретение практических навыков
определения некоторых показателей качества сушки пиломатериалов.
3.2. Содержание работы
1.
Освоение методики и определение
влажности древесины сушильно-весовым способом.
2.
Определение перепада влажности по
толщине древесного сортимента.
3.
Определение полных и остаточных
внутренних напряжений в пиломатериалах.
4.
Изучение требований к качеству
сушки пиломатериалов и определение категории качества сушки.
3.3. Оборудование, приборы, инструменты и материалы
Для определения качества сушки пиломатериалов
необходимо следующее: сушильный шкаф с терморегулятором, аналитические весы
первого класса; слесарные тиски, ножовка для распиливания древесины, нож, стамеска,
молоток, линейка или рулетка, шлифовальная бумага.
3.4 Последовательность выполнения работы
3.4.1. Из контрольной доски, на расстоянии не менее
трех толщин от торца, выпиливаем четыре секции (рисунок 3.1) и очищаем их от
опилок и заусенец шлифовальной бумагой и нумеруем. Каждая из секции предназначена
для определения одного из следующих показателей качества сушки:
·
конечной влажности;
·
перепада влажности по толщине
пиломатериала;
·
величины полных внутренних
напряжений в материале в момент взятия пробы;
·
остаточных напряжений.
Рисунок 3.1- Схема распиловки контрольной доски на
секции
3.4.2 Определение конечной влажности пиломатериалов
(заготовок). Предназначенную для определения конечной влажности секции сразу
после подготовки взвешиваем на аналитических весах с точностью до 0.1 г и
помещаем в сушильный шкаф с температурой 101...105 °С для высушивания до абсолютно сухого состояния. Массу секции до и
после высушивания заносим в таблицу 3.2.
Таблица 3.2 - Измерение конечной
влажности и перепада влажности но толщине контрольной доски на секции
|
Номер
|
Масса, г
|
Конечная влажность W, %
|
Перепад
влажности по толщине W, %
|
|
секции
|
полоски
|
до
высушивания, m1
|
после высушивания, m0
|
|
|
|
1
|
|
33,595
|
31,69
|
6,01
|
|
|
2
|
2.1
2.2
2.3
|
3,46
3,95
3,70
|
3,28
3,74
3,5
|
5,48
5,61
5,71
|
1,5
|
Влажность секции 1 и полосок
2.1, 2.2, 2.3 (%) вычисляем по формуле
(3.1)
где
m1 - масса
секции и полосок до высушивания;
m0 - масса секции и полосок в абсолютно сухом состоянии.
3.4.3 Определение перепада влажности, по толщине
пиломатериала. Для определения перепада влажности по толщине пиломатериала,
выпиленную
секцию необходимо раскроить так, как указано на рисунок 3.2. Для этого
используем нож и молоток. Сначала откалываем боковые грани секции, а затем
центральную часть раскалываем на равные полоски.
Полученные полоски нумеруем в порядке их положения в
секции, определяем массу, занося результаты в таблицу З.2, затем увязываем в
пучок и помещают в сушильный шкаф до получения абсолютно сухого состояния
древесины.
После высушивания определяем их массу и вычисляем
начальную влажность по формуле 3.1. Результаты взвешиваний и расчетов заносим
в таблицу 3.2.
Перепад
влажности по толщине секции определяем по формуле
(3.2)
где
W1 ,W3,W5 -
влажность соответствующих полосок.
3.4.4 Определение полных и остаточных внутренних
напряжений. Для установления характера полных напряжений в момент взятия пробы
необходимо выполнить раскрой секции, согласно схеме, приведенной на рисунке
3.3.
По форме изгиба зубцов гребенки определяем характер
напряжений в материале.
Для определения остаточных напряжений оставшуюся
(четвертую) секцию кладем в сушильный шкаф и выдерживаем при температуре 101...105
°С.
Об остаточных напряжениях судят по относительному
отклонении зубцов секции в вершине Т1 от исходного положения Т, приходящегося
на единицу длины секции 1. Это отклонение характеризуется отношением К,
которое вычисляют по формуле:
(3.3)
С
помощью линейки устанавливаем размеры Т, Т1 и вычисляем К, результаты записываем
в таблицу 3.3
Таблица 3.3 - Результаты
определения внутренних напряжений и цвета
пиломатериалов.
|
Характер напряжений в пиломатериале
|
Цвет пиломатериала после высушивания
|
Относительное отклонение
К,%
|
|
Растягивание во внутреннем слое и сжимание во
внутреннем
|
Видимых изменений не произошло
|
12,8
|
3.5. Выводы
В результате сушки образцов получены следующие
результаты:
1.
По средней конечной влажности –
1ая категория качества.
2.
По условным показателям остаточных
напряжений – 3я категория качества.
3.
По перепаду влажности по толщине –
1 категория качества.
Общий показатель качества – 3 категория качества.

ЛАБОРАТОРНАЯ РАБОТА N4
ИЗМЕРЕНИЕ ВЛАЖНОСТИ ДРЕВЕСИНЫ
4.1.
Цель работы
Изучение конструкции электровлагомеров, используемых
для измерения влажности пиломатериалов и шпона. Приобретение практических
навыков измерения влажности древесины сушильно-весовым способом и электровлагомерами.
Определение точности измерения влажности пиломатериалов электровлагомером.
4.2. Содержание работы
1.
Измерение электровлагомером
влажности пиломатериалов различных пород.
2.
Определение влажности исследуемых
пиломатериалов сушильно-весовым способом.
3.
Сравнение результатов выполненных
измерений.
4.3. Оборудование, приборы и материалы
·
Электровлагомер для измерения
влажности пиломатериалов ЭВ-2К.
·
Аналитические весы.
·
Сушильный шкаф.
·
Образцы пиломатериалов.
·
Ножовка.
·
Линейка.
4.4. Порядок проведения работы
Перед проведением измерений необходимо подготовить
электровлагомер к работе: выполнить прогрев прибора и настройку
его шкал.
выполнить разметку образца доски
согласно схеме, приведенной на рисунке 4.1. Разметка условно изображена штриховыми
линиями.
|
|
|
Рисунок
4.1 Схема разметки секций влажности и точек измерения влажности электровлагомером
|
|
Таблица 4.1- Результаты
измерения влажности электровлагомером ЭВ-2К
|
Порода
|
Номер
|
Показа-
ния прибора
|
Влажность древесины, %
|
|
с учетом поправки на породу
|
с учетом поправки на
температуру
|
среднее значение влажности
|
|
1
|
2
|
3
|
4
|
5
|
6
|
|
Сосна
|
1а
1б
2а
2б
|
19
21
19
18
|
19
21
19
18
|
18,86
20,87
18,86
17,87
|
19,86
18,37
|
Для установления истинного значения влажности
пиломатериала показания прибора должны быть скорректированы с учетом поправок
на по роду и температуру древесины.
Корректировку влажности пиломатериала с учетом
поправки на температуру выполняют по формуле:
(4.1)
где
- поправочный
коэффициент.
Среднее значение каждой секции вычисляем как среднее
арифметическое значение влажности, измеренное в двух точках данной секции, и
заносим в колонку 6, таблицы 4.1.
Для того чтобы установить точность определения
влажности пиломатериалов электровлагомером, определим влажность исследуемых
пиломатериалов весовым способом. Для этого из досок, у которых определялась
влажность, в тех местах, где производились замеры (точки 1 а. 1 б, 2 а, 2 б),
выпиливаем секции влажности. Промаркировав и взвесив их, помещаем их в
сушильный шкаф для высушивания до абсолютно сухого состояния.
Таблица 4.2 - Измерение влажности
пиломатериалов
|
Номер секции
|
Влажность, измеренная весовым способом, %
|
Средняя влажность секции, измеренная электровлагомером,
%
|
Разность измерений влажности влагомером и весовым
способом, %.
|
|
масса секций, г
|
W
|
|
сырой
|
абсолютно сухой
|
|
1
|
2
|
3
|
4
|
5
|
6
|
|
1
2
|
31,30
34,18
|
28,14
30,63
|
11,23
11,59
|
19,86
18,37
|
8,63
6,78
|
Результаты
производимых измерений и вычислений заносим в таблицу 4.2.
По разности измерений (X), вычисленной по формуле 4.3,
оцениваем точность измерений влажности электровлагомером.
Выводы
Априори известно, что весовой способ измерения
влажности дает более точные результаты.
Разная влажность получена потому, что влагомером мы
можем измерить влажность только на глубину иголок. Так же погрешность измерения
влагомером больше, чем погрешность измерения сушильно-весовым способом.
ЛАБОРАТОРНАЯ РАБОТА №5
ИЗМЕРЕНИЕ ВЛАЖНОСТИ ДРЕВЕСНЫХ ЧЕСТИЦ
5.1.
Цель работы
Изучить методику и приобрести
практические навыки по измерению влажности измельченной древесины. Изучить
физические закономерности процесса сушки древесины.
5.2
Содержание работы
1. Измерение влажности измельченной древесины
с использованием лабораторных весов модели ВЛВ - 100 г.
2. Исследование кинетики процесса сушки.
Построение графиков сушки и скорости сушки измельченной древесины.
3. Анализ результатов. Определение точки перехода от максимальной к падающей скорости
сушки. Определение продолжительности этих периодов.
4. Выводы по работе.
5.3
Оборудование, приборы, материалы
1. Весы лабораторные для определения
влажности измельченной древесины модели ВЛВ- 100г.
2. Секундомер.
3. Измельченная древесина, предназначенная
для изготовления древесностружечных плит.
|
Рисунок 5.1. Лабораторные
весы ВЛВ – 100 г.
|
|
Принцип работы на весах
заключается в определении массы навески в результате высушивания ее в сушильной
камере.
1.
Квадратные весы типа
ВЛКТ;
2.
Сушильная камера с
терморегулирующим устройством и контактным термометром;
3.
Тумблер для включения
весов;
4.
Ручка для грубой
настройки нулевой отметки шкалы с нулевой отметкой экрана;
5.
Ручка делительного
устройства;
6.
Ручка гиревого
механизма;
7.
Ручка точной настройки
шкалы;
8.
Тумблер включения
криптоновых ламп;
9.
Контактный термометр;
10.
Экран.
Влажность стружки определяется по формуле:
(5.1)
Таблица 5.1 - Изменение массы измельченной древесины
|
Продолжительность сушки, мин
|
Масса измельченной древесины, г
|
Влажность древесины, %.
|
|
0
|
2
|
66,6 %
|
|
2
|
4,75
|
|
4
|
1,55
|
|
6
|
1,41
|
|
8
|
1,3
|
|
10
|
1,25
|
|
12
|
1,22
|
|
14
|
1,2
|
|
16
|
1,2
|
|
18
|
1,2
|
Текущую
влажность подсчитывают по формуле:
(5.2)
где:
- масса
в начале каждого рассматриваемого периода;
- масса абсолютно сухой стружки.
Скорость
сушки определяется по формуле:
(5.3)
Таблица 5.2 - Изменение массы, влажности и скорости сушки
измельченной древесины
|
Результаты опыта
|
Расчетные величины
|
|
Продолжительность сушки,
t
|
Масса древесины в начале каждого периода
сушки, , г
|
Влажность древесины в начале каждого
периода,
|
Скорость сушки для каждого периода
сушки,
.
|
|
0
2
4
6
8
10
12
14
16
|
2
1,75
1,55
1,41
1,3
1,25
1,22
1,2
1,2
45,8
29,9
17,5
8,3
4,1
1,67
0
0
|
0
10,45
8
6,2
4,6
2,1
1,25
0,84
0
|
ЛАБОРАТОРНАЯ РАБОТА №6
ИЗМЕРЕНИЕ СКОРОСТИ ВОЗДУШНОГО ПОТОКА
В ряде случаев при проведении
камерной сушки пиломатериалов наряду с контролем параметров, характеризующих
состояние сушильного агента, необходимо учесть значения скоростей движения
сушильного агента через штабель и в воздуховодах. Эти параметры определяют
интенсивность процесса сушки и равномерность просыхания пиломатериалов по объему
штабеля.
6.1. Цель работы
Изучение приборов и методики
измерения скорости воздушного потока.
6.2. Содержание работы
Измерение скорости воздуха на
различном расстоянии от вентилятора двумя типами анемометров. Построение
графиков зависимости скорости воздушного потока от расстояния до вентилятора,
анализ результатов опытов.
6.3
Оборудование, приборы, инструменты
1. Вентилятор.
2. Анемометр чашечный МС-13.
3. Линейка.
4. Секундомер.
Таблица 6.1 - Результаты измерения скорости воздуха чашечным
анемометром
|
Расстоя- ние от вентиля-тора, мм
|
Номер опыта
|
Показ. счетчика анемометра
|
Разность показ. счетчика
|
Частота вращения ротора, об/с
|
Скорость воздуха в данной точке, м/с
|
Средняя скорость воздуха в точке, м/с
|
|
До замера
|
После замера
|
|
400
|
1
2
3
|
5764
6040
6305
|
6040
6305
6599
|
276
265
294
|
2,3
2,2
2,5
|
3
2,9
3,2
|
3,03
|
|
800
|
1
2
3
|
6599
6861
7122
|
6861
7122
7386
|
262
261
264
|
2,1
2,1
2,2
|
2,8
2,8
2,85
|
2,81
|
6.5 Выводы по работе
В результате проведения опытов, выявилась следующая
зависимость:
чем больше расстояние от вентилятора до анемометра,
тем меньше скорость вращения ротора, а следовательно ниже скорость воздуха.
ЛАБОРАТОРНАЯ РАБОТА №1
НАГРЕВАНИЕ И ОХЛАЖДЕНИЕ ДРЕВЕСНЫХ СОРТИМЕНТОВ
1.1.
Цель работы
Определение температуры в заданной точке
нагреваемых древесных сортиментов: пластины или параллелепипеда. Построение
экспериментальной и расчетной температурных кривых в зависимости от продолжительности
нагревания.
1.2. Оборудование, приборы, инструменты
1. Автоклав.
2. Хромель-копелевые термопары
(ТХК).
3. Многоточечный потенциометр
(ПСР-1).
4. Древесные сортименты.
5. Штангенциркуль и линейка.
6. Секундомер.
1.3. Краткое
описание лабораторной установки
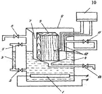
Лабораторная
установка для нагревания древесных сортиментов (рисунок 1.1) состоит из
автоклава, многоточечного потенциометра 10 и термопар 12. Для изучения
исследуемого процесса образцы 8 помещают в нагревательную камеру автоклава 7.
Камера обогревается котлом 4, оснащенным нагревательным элементом 1. Контроль
за уровнем воды в котле осуществляется с помощью шкалы на водомерном стекле 3,
При
разогреве котла из него необходимо удалить воздух. Для этого открывается
вентиль 6 . Подача пара из котла 4 в камеру прогрева 7 осуществляется с
помощью вентиля 11. Удаление конденсата, образующегося в процессе нагревания на
дне камеры, производится после опытов посредством открывания вентиля 1.
В рабочем положении ручки вентилей 6, 11
должны располагаться параллельно трубам, на которых они расположены.
|
Рисунок 1.1. Схема установки для нагревания древесных сортиментов
|
|

Таблица 1.1. Характеристика
образцов
|
Наименование параметра
|
Значение
|
|
Обр. №1
|
Обр. №2
|
|
1
|
2
|
3
|
1. Порода
2. Базисная плотность, кг/м2
3. Начальная влажность, %
4. Начальная температура,
ºС
5. Половина толщины
сортимента R1, м
6. Половина ширины
сортимента R2, м
7. Вид сортимента
8. Расстояние от
поверхности сортимента до термопары, м:
по толщине Х1
по ширине Х2
9. Безразмерная координата
Х1/R1
X2/R2
10. Направление основного
потока теплоты относительно годичных слоев
|
Сосна
400
8
24
0,021
0,075
пластина
0,021
0,075
1
1
┴
|
Сосна
400
8
24
0,037
0,68
параллелеп.
0,037
0,68
1
1
┴
|
|
Температура парогазовой
среды, ºС
|
98
|
Коэффициент
теплопроводности вычисляется по формуле:
(1.1)
где
- номинальное значение коэффициента
теплопроводности;
-
коэффициенты, учитывающие влияние плотности древесины и направление основного
потока теплоты.
Удельную
теплоемкость древесины определяют как среднее значение ее теплоемкостей при
и
:
(1.2)
Плотность
древесины вычисляют по формуле:
(1.3)
После чего определяем
температуропроводность древесины и критерий Фурье:
(1.4)
(1.5)
ЛАБОРАТОРНАЯ РАБОТА №2
ИЗУЧЕНИЕ СВОЙСТВ ВЛАЖНОГО ВОЗДУХА И
МЕТОДОВ КОНТРОЛЯ ЕГО ПАРАМЕТРОВ
2.1.
Цель работы
Изучение свойств воздуха как сушильного агента и приобретение
практических навыков по контролю параметров сушильного агента.
2.2. Оборудование,
приборы, инструменты
1. Переносной психрометр
Асмана
2. Дистанционный психрометр.
3. Установка для побуждения
циркуляции воздуха
4. Воздухонагреватель.
2.3.
Краткое описание лабораторной установки
Психрометр
Асмана состоит из двух датчиков температуры - ртутных термометров. Один датчик
сухой, другой смоченный.
У
смоченного датчика увлажненная ткань покрывает чувствительную (заполненною
ртутью) часть термометра. Прибор имеет устройство для побуждения циркуляции
воздуха. Устройство приводится в действие иди от пружины или от
электродвигателя.
Лабораторная установка для опытов с
дистанционным психрометром приведена на рисунок 2.1.
Дистанционный
психрометр (рисунок 2.1) состоит из датчиков температуры - двух термометров
сопротивления и регистрирующего прибора - автоматического уравновешенного моста
КСМ - 4. Чувствительная часть одного из термометров сопротивления (смоченного
термометра) покрыта влажной тканью. Увлажнение ткани осуществляется дистиллированной
водой из специальной ванночки.
Для побуждения движения воздуха и его
нагревания используется бытовой воздухонагреватель.
|
Рисунок 1.1. Схема лабораторной установки
|
|
1- термометр
сопротивления сухой; 2 — термометр сопротивления смоченный;
3 - автоматический
уравновешенный мост КСМ-4; 4 - поток теплого воздуха: 5 - сосуд с
дистиллированной водой; б - стеклянная трубка; 7 - ванночка, 8 - увлажняющая
ткань
.
Параметры
воздуха определяем по I-d диаграмме.
Таблица 2.1.
Параметры воздуха
|
Показания термометров,
°С
|
Параметры
воздуха, найденные по И - диаграмме
|
|
психрометрическая
разность
|
степень насыщенности,
%
|
влаго-содер-
жание, г/кг
|
теплосодержание,
кДж/кг
|
плотность,
кг/м
|
приведенный
удельный объем, м/кг
|
|
|
сухого
|
смоченного
|
|
|
Психрометр Асмана
|
|
|
24,4
|
18,2
|
6,2
|
50
|
12
|
60
|
1,15
|
0,875
|
|
|
Дистанционный психрометр
|
|
|
25
29
34
38
44
|
11,2
12
13
14
14,5
|
13,8
17
21
20
29,5
|
0,19
0,18
0,15
0,1
0,025
|
4
3
2
1
0
|
38
40
42
45
47
|
1,59
1,45
1,25
1,11
1,09
|
0,85
0,87
0,86
0,9
0,92
|
|
2.4.
Выводы
По результатам
проведенных экспериментов можно сделать вывод, что нагретый воздух обладает
большим сушильным потенциалом.